CN115476101A - Fixing device for welding joints with different diameters - Google Patents
Fixing device for welding joints with different diameters Download PDFInfo
- Publication number
- CN115476101A CN115476101A CN202211283915.9A CN202211283915A CN115476101A CN 115476101 A CN115476101 A CN 115476101A CN 202211283915 A CN202211283915 A CN 202211283915A CN 115476101 A CN115476101 A CN 115476101A
- Authority
- CN
- China
- Prior art keywords
- fixed mounting
- movable block
- spring
- fixing device
- plate
- Prior art date
- Legal status (The legal status is an assumption and is not a legal conclusion. Google has not performed a legal analysis and makes no representation as to the accuracy of the status listed.)
- Granted
Links
- 238000003466 welding Methods 0.000 title claims abstract description 35
- 230000007246 mechanism Effects 0.000 claims abstract description 20
- 238000001125 extrusion Methods 0.000 claims description 31
- 230000000149 penetrating effect Effects 0.000 claims 1
- 238000004021 metal welding Methods 0.000 abstract description 2
- 238000009423 ventilation Methods 0.000 description 45
- 238000010586 diagram Methods 0.000 description 6
- 238000000034 method Methods 0.000 description 6
- 239000003638 chemical reducing agent Substances 0.000 description 3
- 239000000428 dust Substances 0.000 description 3
- 230000008569 process Effects 0.000 description 2
- 238000007790 scraping Methods 0.000 description 2
- 229910000851 Alloy steel Inorganic materials 0.000 description 1
- 229910000975 Carbon steel Inorganic materials 0.000 description 1
- 230000009471 action Effects 0.000 description 1
- 235000013405 beer Nutrition 0.000 description 1
- 230000009286 beneficial effect Effects 0.000 description 1
- 235000013361 beverage Nutrition 0.000 description 1
- 239000010962 carbon steel Substances 0.000 description 1
- 238000010276 construction Methods 0.000 description 1
- 239000002537 cosmetic Substances 0.000 description 1
- 235000013365 dairy product Nutrition 0.000 description 1
- 239000003814 drug Substances 0.000 description 1
- 230000002708 enhancing effect Effects 0.000 description 1
- 235000013305 food Nutrition 0.000 description 1
- 239000000463 material Substances 0.000 description 1
- 239000010935 stainless steel Substances 0.000 description 1
- 229910001220 stainless steel Inorganic materials 0.000 description 1
- 239000000126 substance Substances 0.000 description 1
Images
Classifications
-
- B—PERFORMING OPERATIONS; TRANSPORTING
- B23—MACHINE TOOLS; METAL-WORKING NOT OTHERWISE PROVIDED FOR
- B23K—SOLDERING OR UNSOLDERING; WELDING; CLADDING OR PLATING BY SOLDERING OR WELDING; CUTTING BY APPLYING HEAT LOCALLY, e.g. FLAME CUTTING; WORKING BY LASER BEAM
- B23K37/00—Auxiliary devices or processes, not specially adapted for a procedure covered by only one of the other main groups of this subclass
- B23K37/04—Auxiliary devices or processes, not specially adapted for a procedure covered by only one of the other main groups of this subclass for holding or positioning work
- B23K37/0426—Fixtures for other work
- B23K37/0435—Clamps
- B23K37/0443—Jigs
-
- B—PERFORMING OPERATIONS; TRANSPORTING
- B08—CLEANING
- B08B—CLEANING IN GENERAL; PREVENTION OF FOULING IN GENERAL
- B08B1/00—Cleaning by methods involving the use of tools
- B08B1/10—Cleaning by methods involving the use of tools characterised by the type of cleaning tool
- B08B1/16—Rigid blades, e.g. scrapers; Flexible blades, e.g. wipers
- B08B1/165—Scrapers
-
- B—PERFORMING OPERATIONS; TRANSPORTING
- B23—MACHINE TOOLS; METAL-WORKING NOT OTHERWISE PROVIDED FOR
- B23K—SOLDERING OR UNSOLDERING; WELDING; CLADDING OR PLATING BY SOLDERING OR WELDING; CUTTING BY APPLYING HEAT LOCALLY, e.g. FLAME CUTTING; WORKING BY LASER BEAM
- B23K37/00—Auxiliary devices or processes, not specially adapted for a procedure covered by only one of the other main groups of this subclass
Landscapes
- Physics & Mathematics (AREA)
- Optics & Photonics (AREA)
- Engineering & Computer Science (AREA)
- Mechanical Engineering (AREA)
- Manipulator (AREA)
- Cleaning In General (AREA)
Abstract
本发明涉及金属焊接技术领域,具体的说是一种异径接头焊接用固定装置,括底座和固定机构,所述底座上部一侧安装有固定机构;所述固定机构包括移动电机,所述移动电机输出轴一端固定安装有移动柱,所述移动柱外侧壁滑动安装有挤压板,所述挤压板内部安装有第一绳索,所述第一绳索另一端固定安装有撑杆,所述撑杆一侧安装有活动块,所述活动块一侧固定安装有吸盘,所述活动块外侧围对称安装有两个橡胶板。活动块铰接在撑杆上,使得活动块可以在撑杆上转动,可以完全贴合的与异径接头内壁相接触,保证支撑面积,防止支撑面积较小而造成的异径接头变形,且保证了后续焊接作业的稳定性。
The invention relates to the technical field of metal welding, in particular to a fixing device for welding joints with different diameters, including a base and a fixing mechanism, and a fixing mechanism is installed on one side of the upper part of the base; the fixing mechanism includes a moving motor, and the moving One end of the output shaft of the motor is fixedly installed with a moving column, the outer wall of the moving column is slidably installed with an extruding plate, the inside of the extruding plate is installed with a first rope, and the other end of the first rope is fixedly installed with a strut. A movable block is installed on one side of the strut, and a suction cup is fixedly installed on one side of the movable block, and two rubber plates are symmetrically installed on the outer circumference of the movable block. The movable block is hinged on the support rod, so that the movable block can rotate on the support rod, and can completely fit in contact with the inner wall of the different-diameter joint to ensure the supporting area, prevent the deformation of the different-diameter joint caused by the small supporting area, and ensure To ensure the stability of subsequent welding operations.
Description
技术领域technical field
本发明涉及金属焊接技术领域,具体的说是一种异径接头焊接用固定装置。The invention relates to the technical field of metal welding, in particular to a fixing device for welding joints with different diameters.
背景技术Background technique
异径接头又称异径管,俗称大小头,化工管道配件之一,用于两种不同管径的连接,按照外观分及使用规范分为同心异径接头和偏心异径接头两种,按照材质可分类不锈钢、合金钢、碳钢等,按照连接形式分类有焊接异径接头、内丝异径接头、外丝异径接头等。Different-diameter joints are also called different-diameter pipes, commonly known as big and small heads, and are one of chemical pipeline fittings. They are used for the connection of two different pipe diameters. The material can be classified into stainless steel, alloy steel, carbon steel, etc. According to the connection form, there are welded reducer joints, inner wire reducer joints, outer wire reducer joints, etc.
异径接头用途十分广泛,主要用于乳品、食品、啤酒、饮料、制药、化妆品、汽车、造船等工业领域和民用建筑领域。Different diameter joints are widely used, mainly used in dairy products, food, beer, beverages, pharmaceuticals, cosmetics, automobiles, shipbuilding and other industrial fields and civil construction fields.
圆形通风管道变径时,需在两段不同直径的通风管道之间焊接异径接头(此处异径接头呈喇叭状)。焊接时,工作人员将通风管道和异径接头进行夹紧固定,再将拼接端相互靠近,然后进行焊接,固定通风管道时,现有夹具多为从外部夹持通风管道的端部,夹具难以贴合喇叭状的异径接头侧壁,这类工件难以被固定,夹具与喇叭状的异径接头的接触面积较小,可能导致夹持不稳定,不利于后续的焊接作业,且通风管道厚度较薄(例如:低压、中压通风管道的厚度约为0.5毫米,高压通风管道的厚度约为0.75毫米),外部夹持的夹具容易使通风管道被挤压变形,且通风管道的直径也偏大,外部夹持的夹具占地面积较大,对于长度较长的通风管道,夹持端部的夹持方式稳定性偏差,容易造成焊接晃动误差。When the circular ventilation pipe is changed in diameter, it is necessary to weld a different diameter joint between two sections of ventilation pipes with different diameters (here the different diameter joint is in the shape of a trumpet). During welding, the staff clamps and fixes the ventilation pipe and the different-diameter joint, then brings the spliced ends close to each other, and then performs welding. When fixing the ventilation pipe, most of the existing clamps are used to clamp the end of the ventilation pipe from the outside, and the fixture is difficult. It fits the side wall of the trumpet-shaped reducing joint. This kind of workpiece is difficult to be fixed. The contact area between the fixture and the trumpet-shaped reducing joint is small, which may lead to unstable clamping, which is not conducive to subsequent welding operations, and the thickness of the ventilation pipe Thinner (for example: the thickness of low-pressure and medium-pressure ventilation pipes is about 0.5 mm, and the thickness of high-pressure ventilation pipes is about 0.75 mm), the external clamps are easy to squeeze and deform the ventilation pipes, and the diameter of the ventilation pipes is also biased. Large, the external clamping fixture occupies a large area. For long-length ventilation pipes, the stability of the clamping method at the clamping end is deviated, which is likely to cause welding shaking errors.
发明内容Contents of the invention
为实现以上目的,本发明通过以下技术方案实现:To achieve the above object, the present invention is achieved through the following technical solutions:
本发明提出一种异径接头焊接用固定装置,包括底座和固定机构,所述底座上部一侧安装有固定机构;The invention proposes a fixing device for welding joints with different diameters, which includes a base and a fixing mechanism, and the fixing mechanism is installed on one side of the upper part of the base;
所述固定机构包括移动电机,所述移动电机输出轴一端固定安装有移动柱,所述移动柱外侧壁滑动安装有挤压板,所述挤压板内部安装有第一绳索的一端,所述第一绳索另一端固定安装有撑杆,所述撑杆一侧安装有活动块,所述活动块一侧固定安装有吸盘,所述活动块外侧围对称安装有两个橡胶板,两个所述橡胶板相同一端均固定安装有刮刀。The fixing mechanism includes a moving motor, one end of the output shaft of the moving motor is fixedly installed with a moving column, the outer wall of the moving column is slidably installed with an extruding plate, and one end of the first rope is installed inside the extruding plate. The other end of the first rope is fixedly installed with a strut, and a movable block is installed on one side of the strut, and a suction cup is fixedly installed on one side of the movable block, and two rubber plates are symmetrically installed on the outer circumference of the movable block. The same end of the rubber plate is fixedly equipped with a scraper.
进一步的,所述移动柱内部贯穿滑动安装有螺栓,所述螺栓外侧壁啮合转动安装有螺母。Further, bolts are slidably installed inside the moving column, and nuts are installed on the outer wall of the bolts for engagement and rotation.
进一步的,所述移动柱外侧壁固定安装有压力传感器,所述压力传感器置于螺栓靠近移动电机的一侧,所述压力传感器与螺栓之间的距离等于挤压板的宽度。Further, a pressure sensor is fixedly installed on the outer wall of the moving column, the pressure sensor is placed on the side of the bolt close to the moving motor, and the distance between the pressure sensor and the bolt is equal to the width of the extrusion plate.
进一步的,所述挤压板内部一侧均匀分布固定安装有三个第一弹簧的一端,所述第一弹簧另一端固定安装有滑动板,所述滑动板一侧固定安装有第一绳索,所述挤压板内部对称转动安装有橡胶块,两个所述橡胶块之间滑动安装有第一绳索,两个所述橡胶块互相远离一侧均固定安装有第二弹簧的一端,两个所述第二弹簧另一端均固定安装在挤压板内部一侧。Further, one end of three first springs is evenly distributed and fixedly installed on one side inside the extrusion plate, a sliding plate is fixedly installed on the other end of the first spring, and a first rope is fixedly installed on one side of the sliding plate, so A rubber block is mounted on the inside of the extrusion plate for symmetrical rotation, a first rope is slidably installed between the two rubber blocks, and one end of a second spring is fixedly installed on the side of the two rubber blocks away from each other. The other ends of the second springs are fixedly installed on one side of the extrusion plate.
进一步的,所述移动柱一端均匀分布铰接有三个撑杆,所述移动柱外侧壁均匀分布固定安装有三个定滑轮,三个所述撑杆内部共同活动安装有橡胶圈。Further, three struts are evenly distributed and hinged at one end of the moving column, three fixed pulleys are evenly distributed and fixedly installed on the outer wall of the moving column, and rubber rings are movably installed inside the three struts.
进一步的,所述撑杆一侧铰接有活动块,所述活动块一侧固定安装有吸盘,所述活动块两对称侧均固定安装有连接板,两个所述连接板互相远离一侧均固定安装有收纳槽,所述收纳槽内部一侧固定安装有第三弹簧的一端,所述第三弹簧另一端固定安装有橡胶板,所述橡胶板滑动安装在收纳槽内部,两个所述橡胶板底部相对侧两端均固定安装有第二绳索,置于两个所述橡胶板同一端的两个第二绳索端部下表面共同固定安装有U型杆,所述U型杆远离第二绳索的一端固定安装有挤压块,所述活动块两端均固定安装有固定外壳,所述固定外壳内部底部一侧固定安装有第五弹簧的一端,所述第五弹簧另一端固定安装在挤压块底部一侧,所述第五弹簧滑动套接在U型杆外侧壁。Further, a movable block is hinged on one side of the strut, a suction cup is fixedly installed on one side of the movable block, connecting plates are fixedly installed on both symmetrical sides of the movable block, and the two connecting plates are far away from each other. A storage tank is fixedly installed, one end of the third spring is fixedly installed on one side of the storage tank, and a rubber plate is fixedly installed on the other end of the third spring, and the rubber plate is slidably installed inside the storage tank. Both ends of the opposite sides of the bottom of the rubber plate are fixedly installed with second ropes, and the lower surfaces of the ends of the two second ropes placed at the same end of the two rubber plates are jointly fixed with a U-shaped bar, and the U-shaped bar is far away from the second rope. One end of the movable block is fixedly installed with an extruding block, both ends of the movable block are fixedly installed with a fixed shell, one end of the fifth spring is fixedly installed on one side of the inner bottom of the fixed shell, and the other end of the fifth spring is fixedly installed on the extrusion On one side of the bottom of the pressure block, the fifth spring is slidably sleeved on the outer wall of the U-shaped bar.
进一步的,三个所述活动块互相靠近一侧底部均固定安装有第四弹簧的一端,所述第四弹簧另一端均固定安装在距离最近的撑杆一侧。Further, one end of the fourth spring is fixedly installed on the bottom of the three movable blocks close to each other, and the other end of the fourth spring is fixedly installed on the side of the nearest strut.
进一步的,所述底座中部固定安装有辅助板,所述辅助板顶部为弧形。Further, an auxiliary board is fixedly installed in the middle of the base, and the top of the auxiliary board is arc-shaped.
进一步的,所述底座内部安装有调节机构,所述调节机构包括两个固定电机,所述底座两对称侧均固定安装有固定电机,所述固定电机输出轴一端固定安装有螺纹杆的一端,所述螺纹杆另一端转动安装在辅助板一侧,所述螺纹杆外侧壁啮合安装有移动架。Further, an adjustment mechanism is installed inside the base, and the adjustment mechanism includes two fixed motors, fixed motors are fixedly installed on both symmetrical sides of the base, and one end of the output shaft of the fixed motor is fixedly installed with one end of a threaded rod. The other end of the threaded rod is rotatably mounted on one side of the auxiliary plate, and the outer wall of the threaded rod is engaged with a moving frame.
本发明的有益效果如下:The beneficial effects of the present invention are as follows:
(1)本发明所述的一种异径接头焊接用固定装置,活动块铰接在撑杆上,使得活动块可以在撑杆上转动,可以完全贴合的与异径接头内壁相接触,保证支撑面积,防止支撑面积较小而造成的异径接头变形,且保证了后续焊接作业的稳定性;(1) In the fixing device for welding different-diameter joints according to the present invention, the movable block is hinged on the support bar, so that the movable block can rotate on the support bar, and can completely fit in contact with the inner wall of the different-diameter joint, ensuring The support area prevents the deformation of the different-diameter joint caused by the small support area, and ensures the stability of the subsequent welding operation;
三个撑杆转动张开,橡胶板带动刮刀贴合通风管道(或异径接头)内侧壁移动,刮去活动块正上方的通风管道(或异径接头)内侧壁的灰尘,然后吸盘接触挤压贴合通风管道(或异径接头)内侧壁,软质吸盘相对于现有技术中的刚性支撑,与通风管道(或异径接头)内侧壁的摩擦力更大,支撑更稳定,从通风管道(或异径接头)内侧壁进行支撑固定,更不易使通风管道(或异径接头)发生形变,刮刀提前刮去吸盘上方通风管道(或异径接头)内侧壁的灰尘,使得吸盘与通风管道(或异径接头)内侧壁吸附更加牢固,进一步增强支撑稳定性,使得通风管道(或异径接头)在焊接时减少错位滑动及晃动的可能,提高焊接质量;The three support rods rotate and open, and the rubber plate drives the scraper to move against the inner wall of the ventilation pipe (or different diameter joint), scraping off the dust on the inner wall of the ventilation pipe (or different diameter joint) directly above the movable block, and then the suction cup contacts and squeezes Press and fit the inner wall of the ventilation pipe (or joint with different diameters). Compared with the rigid support in the prior art, the soft suction cup has greater friction with the inner wall of the ventilation pipe (or joint with different diameters), and the support is more stable. The inner wall of the pipe (or different diameter joint) is supported and fixed, and it is not easy to deform the ventilation pipe (or different diameter joint). The inner wall of the pipe (or different-diameter joint) is more firmly adsorbed, further enhancing the support stability, so that the ventilation pipe (or different-diameter joint) reduces the possibility of misalignment, sliding and shaking during welding, and improves the welding quality;
启动两个移动电机,带动固定后的异径接头与通风管道同步转动,工作人员开始焊接,异径接头与通风管道同步转动使得焊接处始终处于固定位置,更加方便工作人员的焊接作业。Start two mobile motors to drive the fixed different diameter joints to rotate synchronously with the ventilation pipes, and the staff starts welding. The different diameter joints and the ventilation pipes rotate synchronously so that the welding place is always in a fixed position, which is more convenient for the staff to weld.
(2)本发明所述的一种异径接头焊接用固定装置,当通风管道内径较小时,撑杆张开幅度较小即可使得吸盘接触贴合通风管道(或异径接头)内壁,此时挤压板继续后移使得第一绳索力量增大,进而使得吸盘挤压通风管道(或异径接头)内侧壁的力变大,当第一绳索的拉力大于两个橡胶块对其的挤压、摩擦力时,会带动滑动板向橡胶块移动,即延长橡胶块到撑杆之间的第一绳索的长度,进而减小第一绳索的拉力,进而减防止吸盘过度挤压通风管道(或异径接头)内侧壁,防止通风管道(或异径接头)变形。(2) In the fixing device for welding different-diameter joints according to the present invention, when the inner diameter of the ventilation duct is small, the opening range of the struts is small so that the suction cup can contact and fit the inner wall of the ventilation duct (or the different-diameter joint). When the extrusion plate continues to move backward, the strength of the first rope increases, which in turn makes the force of the suction cup squeeze the inner wall of the ventilation pipe (or different diameter joint) larger. When the pulling force of the first rope is greater than that of the two rubber blocks When the pressure and friction are applied, the sliding plate will be driven to move towards the rubber block, that is, the length of the first rope between the rubber block and the strut will be extended, thereby reducing the tension of the first rope, thereby preventing the suction cup from excessively squeezing the ventilation duct ( or different diameter joints) inner wall to prevent deformation of ventilation pipes (or different diameter joints).
附图说明Description of drawings
下面结合附图和实施例对本发明进一步说明。The present invention will be further described below in conjunction with the accompanying drawings and embodiments.
图1为本发明提供的一种异径接头焊接用固定装置的整体结构示意图;Fig. 1 is a schematic diagram of the overall structure of a fixing device for welding a different-diameter joint provided by the present invention;
图2为本发明提供的一种异径接头焊接用固定装置的移动电机连接示意图;Fig. 2 is a schematic diagram of connection of a mobile motor of a fixing device for welding a different-diameter joint provided by the present invention;
图3为本发明提供的一种异径接头焊接用固定装置的挤压块连接示意图;Fig. 3 is a schematic diagram of extrusion block connection of a fixing device for welding different-diameter joints provided by the present invention;
图4为本发明提供的一种异径接头焊接用固定装置的第三弹簧连接示意图;Fig. 4 is a schematic diagram of the third spring connection of a fixing device for welding a different-diameter joint provided by the present invention;
图5为本发明提供的一种异径接头焊接用固定装置的吸盘连接示意图;Fig. 5 is a schematic diagram of suction cup connection of a fixing device for welding different diameter joints provided by the present invention;
图6为本发明提供的一种异径接头焊接用固定装置的挤压板内部结构示意图;Fig. 6 is a schematic diagram of the internal structure of the extruded plate of a fixing device for welding different-diameter joints provided by the present invention;
图7为图2的A处放大图;Figure 7 is an enlarged view of A in Figure 2;
图8为图3的B处放大图;Fig. 8 is an enlarged view at B of Fig. 3;
图9为图4的C处放大图;Fig. 9 is an enlarged view at C of Fig. 4;
图10为图6的D处放大图。FIG. 10 is an enlarged view of D in FIG. 6 .
图中:1、底座;2、固定机构;21、移动电机;22、移动柱;23、螺栓;24、螺母;25、压力传感器;26、挤压板;27、第一弹簧;28、滑动板;29、第一绳索;210、橡胶块;211、第二弹簧;212、定滑轮;213、撑杆;214、橡胶圈;215、活动块;216、吸盘;217、连接板;218、收纳槽;219、橡胶板;220、刮刀;221、第三弹簧;222、第二绳索;223、第四弹簧;224、U型杆;225、第五弹簧;226、挤压块;227、固定外壳;3、辅助板;4、调节机构;41、固定电机;42、螺纹杆;43、移动架。In the figure: 1, base; 2, fixing mechanism; 21, moving motor; 22, moving column; 23, bolt; 24, nut; 25, pressure sensor; 26, extrusion plate; 27, first spring; 28, sliding 29, the first rope; 210, the rubber block; 211, the second spring; 212, the fixed pulley; 213, the strut; 214, the rubber ring; 215, the movable block; 216, the sucker; 219, rubber plate; 220, scraper; 221, the third spring; 222, the second rope; 223, the fourth spring; 224, U-shaped bar; 225, the fifth spring; 226, extrusion block; 227, 3. Auxiliary plate; 4. Adjusting mechanism; 41. Fixed motor; 42. Threaded rod; 43. Moving frame.
具体实施方式detailed description
为使本发明实施例的目的、技术手段和优点更加清楚,对本发明实施例中的技术方案进行清楚、完整的描述,显然,所描述的实施例是本发明一部分实施例,而不是全部的实施例。基于本发明中的实施例,本领域普通技术人员在没有作出创造性劳动前提下所获得的所有其他实施例,都属于本发明保护的范围。In order to make the purpose, technical means and advantages of the embodiments of the present invention clearer, the technical solutions in the embodiments of the present invention are clearly and completely described. Obviously, the described embodiments are part of the embodiments of the present invention, not all of them. example. Based on the embodiments of the present invention, all other embodiments obtained by persons of ordinary skill in the art without creative efforts fall within the protection scope of the present invention.
为了更好的理解上述技术方案,下面将结合说明书附图以及具体的实施方式对上述技术方案进行详细的说明。In order to better understand the above-mentioned technical solution, the above-mentioned technical solution will be described in detail below in conjunction with the accompanying drawings and specific implementation methods.
如图1所示,本发明实施例提供一种异径接头焊接用固定装置,包括底座1和固定机构2,底座1上部一侧安装有固定机构2;As shown in Figure 1, an embodiment of the present invention provides a fixing device for welding different diameter joints, including a base 1 and a
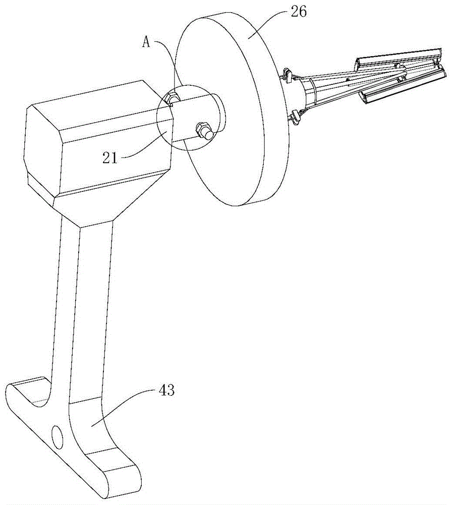
如图1、图5、图7、图9和图10所示,固定机构2包括移动电机21,移动电机21输出轴一端固定安装有移动柱22,移动柱22外侧壁滑动安装有挤压板26,挤压板26内部安装有第一绳索29的一端,第一绳索29另一端固定安装有撑杆213,撑杆213一侧安装有活动块215,活动块215一侧固定安装有吸盘216,用于贴附、支撑通风管道内侧壁,活动块215外侧围对称安装有两个橡胶板219,两个橡胶板219相同一端均固定安装有刮刀220,用于刮除吸盘216正上方的通风管道内侧壁灰尘。As shown in Fig. 1, Fig. 5, Fig. 7, Fig. 9 and Fig. 10, the fixed
如图2和图7所示,移动柱22内部贯穿滑动安装有螺栓23,螺栓23用于固定挤压板26的位置,螺栓23外侧壁啮合转动安装有螺母24。As shown in FIG. 2 and FIG. 7 ,
如图7所示,移动柱22外侧壁固定安装有压力传感器25,用于控制移动柱22的移动距离,压力传感器25置于螺栓23靠近移动电机21的一侧,压力传感器25与螺栓23之间的距离等于挤压板26的宽度,挤压板26挤压接触压力传感器25时,螺栓23刚好可以插入移动柱22中,以固定挤压板26的位置。As shown in Figure 7, a
如图10所示,挤压板26内部一侧均匀分布固定安装有三个第一弹簧27的一端,第一弹簧27另一端固定安装有滑动板28,第一弹簧27用于滑动板28的复位,滑动板28一侧固定安装有第一绳索29,挤压板26内部对称转动安装有橡胶块210,两个橡胶块210之间滑动安装有第一绳索29,两个橡胶块210互相远离一侧均固定安装有第二弹簧211的一端,第二弹簧211用于挤压橡胶块210,使得橡胶块210始终贴合挤压第一绳索29,增大橡胶块210与第一绳索29的摩擦力,两个第二弹簧211另一端均固定安装在挤压板26内部一侧。As shown in Figure 10, one end of three
如图6所示,移动柱22一端均匀分布铰接有三个撑杆213,移动柱22外侧壁均匀分布固定安装有三个定滑轮212,三个撑杆213内部共同活动安装有橡胶圈214,用于撑杆213的复位。As shown in Figure 6, three
如图3、图4、图5、图8和图9所示,撑杆213一侧铰接有活动块215,活动块215一侧固定安装有吸盘216,活动块215两对称侧均固定安装有连接板217,两个连接板217互相远离一侧均固定安装有收纳槽218,收纳槽218内部一侧固定安装有第三弹簧221的一端,第三弹簧221另一端固定安装有橡胶板219,第三弹簧221用于橡胶板219的复位,橡胶板219滑动安装在收纳槽218内部,两个所述橡胶板219底部相对侧两端均固定安装有第二绳索222,置于两个所述橡胶板219同一端的两个第二绳索222端部下表面共同固定安装有U型杆224,所述U型杆224远离第二绳索222的一端固定安装有挤压块226,活动块215两端均固定安装有固定外壳227,固定外壳227内部底部一侧固定安装有第五弹簧225的一端,用于U型杆224和挤压块226的复位,第五弹簧225另一端固定安装在挤压块226底部一侧,第五弹簧225滑动套接在U型杆224外侧壁。As shown in Figure 3, Figure 4, Figure 5, Figure 8 and Figure 9, a
如图6所示,三个活动块215互相靠近一侧底部均固定安装有第四弹簧223的一端,用于活动块215的复位,以及使活动块215在不工作时与撑杆213保持基本平行,防止活动块215转动过度使其一端翘起,影响使用,第四弹簧223另一端均固定安装在距离最近的撑杆213一侧。As shown in Figure 6, one end of the
如图1所示,底座1中部固定安装有辅助板3,辅助板3顶部为弧形。As shown in FIG. 1 , an auxiliary board 3 is fixedly installed in the middle of the base 1 , and the top of the auxiliary board 3 is arc-shaped.
如图1和图2所示,底座1内部安装有调节机构4,调节机构4包括两个固定电机41,底座1两对称侧均固定安装有固定电机41,固定电机41输出轴一端固定安装有螺纹杆42的一端,螺纹杆42另一端转动安装在辅助板3一侧,螺纹杆42外侧壁啮合安装有移动架43。As shown in Figures 1 and 2, an adjustment mechanism 4 is installed inside the base 1, the adjustment mechanism 4 includes two fixed motors 41, the two symmetrical sides of the base 1 are fixedly installed with fixed motors 41, and one end of the output shaft of the fixed motor 41 is fixedly installed with One end of the threaded rod 42 and the other end of the threaded rod 42 are rotatably mounted on one side of the auxiliary plate 3 , and the outer wall of the threaded rod 42 is engaged with a moving
具体工作方式:Specific working methods:
先焊接细通风管道与异径接头细端:以图1为例,工作人员从左至右将细通风管道一端和异径接头细端放置在辅助板3上,同时保持通风管道和异径接头保持水平,启动固定电机41,固定电机41转动带动螺纹杆42转动,从而带动两个移动架43相向移动,从而带动两个固定机构2分别接触细通风管道和异径接头粗端,使得细通风管道与异径接头细端接触抵紧;Weld the thin ventilation pipe and the thin end of the reducing joint first: Take Figure 1 as an example, the staff places one end of the thin ventilation pipe and the thin end of the reducing joint on the auxiliary plate 3 from left to right, while keeping the ventilation pipe and the reducing joint Keep the level, start the fixed motor 41, the rotation of the fixed motor 41 drives the threaded rod 42 to rotate, thereby driving the two moving
左侧的撑杆213先进入细通风管道内部,当挤压板26接触挤压通细风管道时,工作人员可松开细通风管道,挤压板26接触挤压细通风管道后被阻止前进,移动柱22继续向右侧移动,带动第一绳索29向右侧移动,两个第二弹簧211挤压橡胶块210卡紧第一绳索29,第一绳索29拉动三个撑杆213转动张开,从而带动三个活动块215、吸盘216、橡胶板219和刮刀220转动张开,位于上部的两个刮刀220左侧一端先接触细通风管道内侧壁,然后随着活动块215继续上升,刮刀220刀口一侧全部贴合在细通风管道内侧壁,随着三个撑杆213继续张开,两外侧的四个刮刀220刀口一侧全部贴合在细通风管道内侧壁,此时六个挤压块226尖端全部贴合在细通风管道内侧壁;The
右侧的撑杆213先进入异径接头粗端,挤压板26接触挤压异径接头粗端后被阻止前进,移动柱22继续向左侧移动,带动第一绳索29向左侧移动,两个第二弹簧211挤压橡胶块210卡紧第一绳索29,第一绳索29拉动三个撑杆213转动张开,从而带动三个活动块215、吸盘216、橡胶板219和刮刀220转动张开,位于上部的两个刮刀220一端先接触异径接头内侧壁,然后随着活动块215继续上升,刮刀220刀口一侧全部贴合在异径接头内侧壁,随着三个撑杆213继续张开,两外侧的四个刮刀220刀口一侧全部贴合在异径接头内侧壁,此时六个挤压块226尖端全部贴合在异径接头内侧壁;The
后续夹持过程,两者相同:三个撑杆213继续转动张开,挤压块226被细通风管道(或异径接头)内侧壁挤压进入固定外壳227内部,向下挤压U型杆224和第五弹簧225,U型杆224下移带动第二绳索222下移,从而带动橡胶板219下移进入收纳槽218并挤压第三弹簧221,橡胶板219带动刮刀220贴合细通风管道(或异径接头)内侧壁移动,刮去活动块215正上方的细通风管道(或异径接头)内侧壁的灰尘,然后吸盘216接触挤压贴合细通风管道(或异径接头)内侧壁,当挤压板26接触挤压压力传感器25时,固定电机41停止转动,工作人员将螺栓23插入移动柱22预留孔中,并拧上螺母24,锁定挤压板26的位置。The subsequent clamping process is the same: the three
当异径接头粗端与细通风管道都夹持完毕时,启动两个移动电机21,带动异径接头与通风管道转动,工作人员开始焊接。When the thick end of the different diameter joint and the thin air duct are all clamped, start two
焊接结束后,工作人员拔掉右侧螺栓23,右侧固定机构2松弛过程:右侧固定电机41反向转动带动右侧螺纹杆42反向转动,从而带动右侧移动架43反向移动,右侧挤压板26在第一绳索29的张力下向右侧运动,使得右侧吸盘216不再贴合异径接头,撑杆213在橡胶圈214的作用下复位,挤压块226在第五弹簧225的张力作用下复位,橡胶板219在第三弹簧221的张力下复位,活动块215在第四弹簧223的拉力作用下复位。After the welding is finished, the staff pulls out the
工作人员反向启动左侧的固定电机41,带动左侧螺纹杆42反向转动,从而带动左侧移动架43反向移动,带动焊接后的异径接头与细通风管道同步移动,使得异径接头粗端移动至辅助板3上,然后将粗通风管道放置在辅助板3上,进行异径接头粗端与粗通风管道的焊接作业。The staff reversely starts the fixed motor 41 on the left side, drives the left threaded rod 42 to rotate in the reverse direction, thereby drives the left moving
当通风管道(或异径接头)内径较小时,撑杆213张开幅度较小即可使得吸盘216接触贴合通风管道(或异径接头)内壁,此时挤压板26继续后移使得第一绳索29力量增大,进而使得吸盘216挤压通风管道(或异径接头)内侧壁的力变大,当第一绳索29的拉力大于两个橡胶块210对其的挤压、摩擦力时,会带动滑动板28向橡胶块210移动,即延长橡胶块210到撑杆213之间的第一绳索29的长度,进而减小第一绳索29的拉力,进而减防止吸盘216过度挤压通风管道(或异径接头)内侧壁,防止通风管道(或异径接头)变形。When the inner diameter of the ventilation pipe (or different-diameter joint) is small, the opening range of the
在本发明的描述中,需要理解的是,术语“中心”、“前”、“后”、“竖直”、“水平”、“顶”、“底”“内”、“外”等指示的方位或位置关系为基于附图所示的方位或位置关系,仅是为了便于描述本发明和简化描述,而不是指示或暗示所指的装置或元件必须具有特定的方位、以特定的方位构造和操作,因此不能理解为对本发明保护范围的限制。In describing the present invention, it is to be understood that the terms "center", "front", "rear", "vertical", "horizontal", "top", "bottom", "inner", "outer", etc. indicate The orientation or positional relationship is based on the orientation or positional relationship shown in the drawings, and is only for the convenience of describing the present invention and simplifying the description, rather than indicating or implying that the referred device or element must have a specific orientation or be configured in a specific orientation. and operation, and therefore cannot be construed as limiting the protection scope of the present invention.
以上显示和描述了本发明的基本原理、主要特征和优点。本行业的技术人员应该了解,本发明不受上述实施例的限制,上述实施例和说明书中描述的只是说明本发明的原理,在不脱离本发明精神和范围的前提下,本发明还会有各种变化和改进,这些变化和改进都落入要求保护的本发明范围内。本发明要求保护范围由所附的权利要求书及其等效物界定。The basic principles, main features and advantages of the present invention have been shown and described above. Those skilled in the industry should understand that the present invention is not limited by the above-mentioned embodiments. What are described in the above-mentioned embodiments and the description only illustrate the principle of the present invention. Without departing from the spirit and scope of the present invention, the present invention will also have Variations and improvements are possible, which fall within the scope of the claimed invention. The protection scope of the present invention is defined by the appended claims and their equivalents.
Claims (9)
Priority Applications (1)
| Application Number | Priority Date | Filing Date | Title |
|---|---|---|---|
| CN202211283915.9A CN115476101B (en) | 2022-10-20 | 2022-10-20 | Fixing device for reducing joint welding |
Applications Claiming Priority (1)
| Application Number | Priority Date | Filing Date | Title |
|---|---|---|---|
| CN202211283915.9A CN115476101B (en) | 2022-10-20 | 2022-10-20 | Fixing device for reducing joint welding |
Publications (2)
| Publication Number | Publication Date |
|---|---|
| CN115476101A true CN115476101A (en) | 2022-12-16 |
| CN115476101B CN115476101B (en) | 2024-12-31 |
Family
ID=84396682
Family Applications (1)
| Application Number | Title | Priority Date | Filing Date |
|---|---|---|---|
| CN202211283915.9A Active CN115476101B (en) | 2022-10-20 | 2022-10-20 | Fixing device for reducing joint welding |
Country Status (1)
| Country | Link |
|---|---|
| CN (1) | CN115476101B (en) |
Cited By (1)
| Publication number | Priority date | Publication date | Assignee | Title |
|---|---|---|---|---|
| CN116021018A (en) * | 2023-02-01 | 2023-04-28 | 河北亚都管道装备集团有限公司 | Steel reducing elbow hot-press forming die |
Citations (11)
| Publication number | Priority date | Publication date | Assignee | Title |
|---|---|---|---|---|
| US4483477A (en) * | 1982-07-06 | 1984-11-20 | Walter Eckold Gmbh & Co. | Clamping device for tubes to be welded together |
| KR20110034457A (en) * | 2009-09-28 | 2011-04-05 | 현대제철 주식회사 | Pipe welding support |
| CN209627186U (en) * | 2019-05-05 | 2019-11-12 | 江西星和精密科技有限公司 | A multifunctional fixture for precision motor casing processing |
| CN112518218A (en) * | 2020-11-20 | 2021-03-19 | 北京博创朔方科技有限公司 | Intelligent high-precision industrial welding system |
| CN214350604U (en) * | 2020-09-21 | 2021-10-08 | 四川商鼎建设有限公司 | A jig for welding steel pipe for steel structure building |
| CN215246835U (en) * | 2021-06-11 | 2021-12-21 | 洛阳宇信新材料科技有限公司 | Internal diameter adjusting type fixing device for aluminum buckle coil |
| WO2022000412A1 (en) * | 2020-07-02 | 2022-01-06 | 江苏新鼎新材料有限公司 | Aluminum sheet machining apparatus capable of implementing stable clamping and rotation |
| CN114161054A (en) * | 2021-11-30 | 2022-03-11 | 武汉金牛不锈钢管道科技有限公司 | A welding fixture for reducing elbows of stainless steel pipe fittings |
| CN114393362A (en) * | 2022-01-27 | 2022-04-26 | 江苏奥凯环保科技有限公司 | Dust removal filter bag skeleton processingequipment |
| CN114986059A (en) * | 2022-06-20 | 2022-09-02 | 山东奥扬新能源科技股份有限公司 | Bottle welding process is with butt joint mounting fixture |
| KR20220130965A (en) * | 2021-03-19 | 2022-09-27 | 삼성중공업 주식회사 | pipe fixture |
-
2022
- 2022-10-20 CN CN202211283915.9A patent/CN115476101B/en active Active
Patent Citations (11)
| Publication number | Priority date | Publication date | Assignee | Title |
|---|---|---|---|---|
| US4483477A (en) * | 1982-07-06 | 1984-11-20 | Walter Eckold Gmbh & Co. | Clamping device for tubes to be welded together |
| KR20110034457A (en) * | 2009-09-28 | 2011-04-05 | 현대제철 주식회사 | Pipe welding support |
| CN209627186U (en) * | 2019-05-05 | 2019-11-12 | 江西星和精密科技有限公司 | A multifunctional fixture for precision motor casing processing |
| WO2022000412A1 (en) * | 2020-07-02 | 2022-01-06 | 江苏新鼎新材料有限公司 | Aluminum sheet machining apparatus capable of implementing stable clamping and rotation |
| CN214350604U (en) * | 2020-09-21 | 2021-10-08 | 四川商鼎建设有限公司 | A jig for welding steel pipe for steel structure building |
| CN112518218A (en) * | 2020-11-20 | 2021-03-19 | 北京博创朔方科技有限公司 | Intelligent high-precision industrial welding system |
| KR20220130965A (en) * | 2021-03-19 | 2022-09-27 | 삼성중공업 주식회사 | pipe fixture |
| CN215246835U (en) * | 2021-06-11 | 2021-12-21 | 洛阳宇信新材料科技有限公司 | Internal diameter adjusting type fixing device for aluminum buckle coil |
| CN114161054A (en) * | 2021-11-30 | 2022-03-11 | 武汉金牛不锈钢管道科技有限公司 | A welding fixture for reducing elbows of stainless steel pipe fittings |
| CN114393362A (en) * | 2022-01-27 | 2022-04-26 | 江苏奥凯环保科技有限公司 | Dust removal filter bag skeleton processingequipment |
| CN114986059A (en) * | 2022-06-20 | 2022-09-02 | 山东奥扬新能源科技股份有限公司 | Bottle welding process is with butt joint mounting fixture |
Non-Patent Citations (1)
| Title |
|---|
| 韩道永;白云峰;王学平;: "空冷凝汽器排汽管道的制作与焊接", 管道技术与设备, no. 03, 15 May 2008 (2008-05-15), pages 50 - 52 * |
Cited By (2)
| Publication number | Priority date | Publication date | Assignee | Title |
|---|---|---|---|---|
| CN116021018A (en) * | 2023-02-01 | 2023-04-28 | 河北亚都管道装备集团有限公司 | Steel reducing elbow hot-press forming die |
| CN116021018B (en) * | 2023-02-01 | 2023-07-04 | 河北亚都管道装备集团有限公司 | Steel reducing elbow hot-press forming die |
Also Published As
| Publication number | Publication date |
|---|---|
| CN115476101B (en) | 2024-12-31 |
Similar Documents
| Publication | Publication Date | Title |
|---|---|---|
| CN208496576U (en) | A kind of steel pipe notch burr remover | |
| CN211192435U (en) | A kind of automatic argon arc welding equipment for double-station single-pressing pipe fittings | |
| CN211804921U (en) | Tissue clamping device for thin-wall part machining | |
| CN115476101A (en) | Fixing device for welding joints with different diameters | |
| CN211489155U (en) | Automatic pipe bender | |
| CN212042066U (en) | Weld leveling mechanism of welded pipe forming machine | |
| CN115824788A (en) | Fixing and clamping device for tensile test | |
| CN221890647U (en) | Adjustable aluminum profile straightener | |
| CN222556203U (en) | Electrical engineering winding device | |
| CN221640072U (en) | Pipeline welding clamping table | |
| CN219985670U (en) | Cleaning device based on hydraulic cylinder barrel is used | |
| CN215314463U (en) | Chromium-plated part cleaning device | |
| CN211102489U (en) | A scaffold for welding large-diameter steel pipes | |
| CN213104141U (en) | Pipe end expanding device for spiral submerged-arc welding pipe | |
| CN222095818U (en) | Clamping equipment for detecting cylindrical parts | |
| CN216138413U (en) | Positioning device for steel pipe welding | |
| CN212733859U (en) | Clamp assembly for pipe bender | |
| CN216973111U (en) | Ultrasonic detection device for bridge steel structure | |
| CN213091567U (en) | A unilateral ultrasonic crawling detection device | |
| CN219986715U (en) | Thin square tube welding forming device | |
| CN222902071U (en) | High-precision welded pipe outer wall cleaning device with adjusting function | |
| CN218916304U (en) | Brake disc psammitolite flatness detection device | |
| CN218192836U (en) | Cutting equipment with cooling function for welded pipe machining | |
| CN222212536U (en) | Petrochemical machinery pipeline intensity detection device | |
| CN214558747U (en) | Clamping device for welding special-shaped steel pipe |
Legal Events
| Date | Code | Title | Description |
|---|---|---|---|
| PB01 | Publication | ||
| PB01 | Publication | ||
| SE01 | Entry into force of request for substantive examination | ||
| SE01 | Entry into force of request for substantive examination | ||
| TA01 | Transfer of patent application right |
Effective date of registration: 20241129 Address after: Office Building 212, No. 47 Xinhu Street, Xishi District, Yingkou District, China (Liaoning) Pilot Free Trade Zone, Yingkou Area, Xishi District, Liaoning Province, 115004 Applicant after: Liaoning Pengchen Energy Technology Co.,Ltd. Country or region after: China Address before: 710,000 No. 18, Ximu City, Beilin District, Xi'an, Shaanxi Applicant before: Yu Dongming Country or region before: China |
|
| TA01 | Transfer of patent application right | ||
| GR01 | Patent grant | ||
| GR01 | Patent grant |
