CN115464025A - Stamping die for mechanical automation - Google Patents
Stamping die for mechanical automation Download PDFInfo
- Publication number
- CN115464025A CN115464025A CN202210993428.5A CN202210993428A CN115464025A CN 115464025 A CN115464025 A CN 115464025A CN 202210993428 A CN202210993428 A CN 202210993428A CN 115464025 A CN115464025 A CN 115464025A
- Authority
- CN
- China
- Prior art keywords
- stamping
- gear
- punching press
- platform
- transmission
- Prior art date
- Legal status (The legal status is an assumption and is not a legal conclusion. Google has not performed a legal analysis and makes no representation as to the accuracy of the status listed.)
- Withdrawn
Links
- 230000005540 biological transmission Effects 0.000 claims abstract description 58
- 238000004080 punching Methods 0.000 claims description 124
- 230000000694 effects Effects 0.000 claims description 6
- 230000003014 reinforcing effect Effects 0.000 claims description 6
- 235000017166 Bambusa arundinacea Nutrition 0.000 claims description 4
- 235000017491 Bambusa tulda Nutrition 0.000 claims description 4
- 241001330002 Bambuseae Species 0.000 claims description 4
- 235000015334 Phyllostachys viridis Nutrition 0.000 claims description 4
- 239000011425 bamboo Substances 0.000 claims description 4
- 238000000034 method Methods 0.000 description 11
- 238000010586 diagram Methods 0.000 description 2
- 238000004519 manufacturing process Methods 0.000 description 2
- 239000000463 material Substances 0.000 description 2
- 230000009286 beneficial effect Effects 0.000 description 1
- 230000007547 defect Effects 0.000 description 1
- 239000002184 metal Substances 0.000 description 1
- 229910052755 nonmetal Inorganic materials 0.000 description 1
- 239000011265 semifinished product Substances 0.000 description 1
Images
Classifications
-
- B—PERFORMING OPERATIONS; TRANSPORTING
- B21—MECHANICAL METAL-WORKING WITHOUT ESSENTIALLY REMOVING MATERIAL; PUNCHING METAL
- B21D—WORKING OR PROCESSING OF SHEET METAL OR METAL TUBES, RODS OR PROFILES WITHOUT ESSENTIALLY REMOVING MATERIAL; PUNCHING METAL
- B21D22/00—Shaping without cutting, by stamping, spinning, or deep-drawing
- B21D22/02—Stamping using rigid devices or tools
-
- B—PERFORMING OPERATIONS; TRANSPORTING
- B21—MECHANICAL METAL-WORKING WITHOUT ESSENTIALLY REMOVING MATERIAL; PUNCHING METAL
- B21D—WORKING OR PROCESSING OF SHEET METAL OR METAL TUBES, RODS OR PROFILES WITHOUT ESSENTIALLY REMOVING MATERIAL; PUNCHING METAL
- B21D37/00—Tools as parts of machines covered by this subclass
- B21D37/10—Die sets; Pillar guides
-
- B—PERFORMING OPERATIONS; TRANSPORTING
- B21—MECHANICAL METAL-WORKING WITHOUT ESSENTIALLY REMOVING MATERIAL; PUNCHING METAL
- B21D—WORKING OR PROCESSING OF SHEET METAL OR METAL TUBES, RODS OR PROFILES WITHOUT ESSENTIALLY REMOVING MATERIAL; PUNCHING METAL
- B21D43/00—Feeding, positioning or storing devices combined with, or arranged in, or specially adapted for use in connection with, apparatus for working or processing sheet metal, metal tubes or metal profiles; Associations therewith of cutting devices
- B21D43/02—Advancing work in relation to the stroke of the die or tool
- B21D43/04—Advancing work in relation to the stroke of the die or tool by means in mechanical engagement with the work
- B21D43/12—Advancing work in relation to the stroke of the die or tool by means in mechanical engagement with the work by chains or belts
-
- B—PERFORMING OPERATIONS; TRANSPORTING
- B21—MECHANICAL METAL-WORKING WITHOUT ESSENTIALLY REMOVING MATERIAL; PUNCHING METAL
- B21D—WORKING OR PROCESSING OF SHEET METAL OR METAL TUBES, RODS OR PROFILES WITHOUT ESSENTIALLY REMOVING MATERIAL; PUNCHING METAL
- B21D43/00—Feeding, positioning or storing devices combined with, or arranged in, or specially adapted for use in connection with, apparatus for working or processing sheet metal, metal tubes or metal profiles; Associations therewith of cutting devices
- B21D43/02—Advancing work in relation to the stroke of the die or tool
- B21D43/04—Advancing work in relation to the stroke of the die or tool by means in mechanical engagement with the work
- B21D43/14—Advancing work in relation to the stroke of the die or tool by means in mechanical engagement with the work by turning devices, e.g. turn-tables
-
- B—PERFORMING OPERATIONS; TRANSPORTING
- B21—MECHANICAL METAL-WORKING WITHOUT ESSENTIALLY REMOVING MATERIAL; PUNCHING METAL
- B21D—WORKING OR PROCESSING OF SHEET METAL OR METAL TUBES, RODS OR PROFILES WITHOUT ESSENTIALLY REMOVING MATERIAL; PUNCHING METAL
- B21D43/00—Feeding, positioning or storing devices combined with, or arranged in, or specially adapted for use in connection with, apparatus for working or processing sheet metal, metal tubes or metal profiles; Associations therewith of cutting devices
- B21D43/02—Advancing work in relation to the stroke of the die or tool
- B21D43/16—Advancing work in relation to the stroke of the die or tool by gravity, e.g. chutes
-
- B—PERFORMING OPERATIONS; TRANSPORTING
- B21—MECHANICAL METAL-WORKING WITHOUT ESSENTIALLY REMOVING MATERIAL; PUNCHING METAL
- B21D—WORKING OR PROCESSING OF SHEET METAL OR METAL TUBES, RODS OR PROFILES WITHOUT ESSENTIALLY REMOVING MATERIAL; PUNCHING METAL
- B21D43/00—Feeding, positioning or storing devices combined with, or arranged in, or specially adapted for use in connection with, apparatus for working or processing sheet metal, metal tubes or metal profiles; Associations therewith of cutting devices
- B21D43/20—Storage arrangements; Piling or unpiling
Landscapes
- Engineering & Computer Science (AREA)
- Mechanical Engineering (AREA)
- Perforating, Stamping-Out Or Severing By Means Other Than Cutting (AREA)
Abstract
The invention relates to a stamping die for mechanical automation, which comprises a transmission stamping plate and a fixed connecting plate fixed on one side edge of the transmission stamping plate, wherein a mounting plate is arranged on one side of the fixed connecting plate close to the transmission stamping plate, a stamping part for stamping is arranged in the mounting plate, a stamping die is arranged at the bottom of the stamping part, a plurality of groups of stamping tables capable of rotating along the transmission stamping plate are arranged on the transmission stamping plate, the local parts of the stamping tables are overlapped with the stamping dies, a conveying assembly for conveying stamping parts is arranged on one side of the stamping tables, a supporting block is arranged between the bottom of one end of the conveying assembly and the transmission stamping plate, and the other end of the conveying assembly is positioned above the stamping tables and is overlapped with the edges of the stamping tables.
Description
Technical Field
The invention relates to the technical field of mechanical stamping equipment, in particular to a stamping die for mechanical automation.
Background
Mechanical automation: automation refers to a process in which a machine or an apparatus automatically operates or controls according to a predetermined program or instruction without human intervention, and mechanical automation refers to a process in which a machine or an apparatus is automatically controlled by a mechanical means.
The stamping die is a special process equipment for processing materials (metal or nonmetal) into parts (or semi-finished products) in cold stamping processing, and is called a cold stamping die (commonly called a cold stamping die). Stamping-is a press working method in which a material is pressed at room temperature by means of a die mounted on a press to be separated or plastically deformed to obtain a desired part, and parts thereof are stamped in a mechanical automation process.
In the prior art, when mechanical parts are stamped, one stamping die only stamps one group of parts with the same specification, the parts are usually taken and collected through a manipulator after stamping, the parts cannot be automatically collected, the collection effect is influenced, and parts with different specifications cannot be stamped on multiple groups of parts during stamping, so that the stamping efficiency is reduced.
Disclosure of Invention
According to the defects in the prior art, the invention aims to provide the stamping die for mechanical automation, which can simultaneously stamp multiple mechanical set parts in the stamping process, replace and stamp the parts by controlling the rotation of the stamping table to stop in the stamping process, respectively collect the parts after the stamping is finished, conveniently convey the parts in the stamping process, improve the stamping efficiency and reduce the production cost.
The technical purpose of the invention is realized by the following technical scheme:
the utility model provides a stamping die for mechanical automation, includes transmission punching press board and fixes the fixed connection board at transmission punching press board one side, fixed connection board is close to transmission punching press board one side and installs the mounting panel, mounting panel internally mounted is in the stamping workpiece that is used for the punching press effect, the stamping die is installed to the stamping workpiece bottom, install the multiunit on the transmission punching press board and can follow its pivoted punching press platform, the punching press platform is local to coincide with the stamping die mutually, punching press platform one side is provided with the transport assembly who is used for carrying punching press spare part, install the supporting shoe between transport assembly one end bottom and the transmission punching press board, the transport assembly other end is located the punching press bench side, and coincides mutually with punching press platform edge department.
According to the technical scheme, the stamping part is arranged to drive the stamping die to move up and down, the stamping die moves up and down to be partially overlapped with the stamping table, parts in the stamping table are stamped, the parts with stamping are conveyed into the stamping table through the conveying assembly during conveying, and the positions of the parts are continuously moved through rotation of the stamping table, so that continuous stamping is realized.
The invention in a preferred example may be further configured to: the stamping platform is provided with four groups, namely a first stamping platform, a second stamping platform, a third stamping platform and a fourth stamping platform, wherein the first stamping platform, the second stamping platform, the third stamping platform and the fourth stamping platform are all arranged in a round shape, the quarter areas on the surfaces of the first stamping platform, the second stamping platform, the third stamping platform and the fourth stamping platform are overlapped with the bottom of a stamping die, the shapes of the four groups of stamping platforms are different, each group of stamping platforms is provided with four groups of stamping grooves, each stamping groove on each stamping platform is matched with the corresponding overlapped part of the stamping die, a stamping cavity is formed when the stamping grooves are overlapped with the stamping die, and the bottom of the stamping cavity is provided with a reinforcing sheet fixed to the top of a transmission stamping plate.
By adopting the technical scheme, the four groups of stamping tables and the four groups of stamping grooves are arranged, when the stamping die is used for stamping, four groups of mechanical parts are stamped simultaneously, and the stamping grooves are switched for stamping again after the stamping is finished, so that the stamping effect is greatly improved, and the transmission stamping plate can be effectively prevented from deforming during the stamping by arranging the reinforcing sheet.
The invention in a preferred example may be further configured to: first punching press bench bottom is installed and is used for driving its pivoted first gear, and second punching press bench bottom is installed and is used for driving its pivoted second gear, and third punching press bench bottom is installed and is used for driving its pivoted third gear, and fourth punching press bench bottom is installed and is used for driving its pivoted fourth gear, first gear, second gear third gear and fourth gear pass through the transmission shaft and are connected with transmission punching press board rotation, install on the transmission punching press board with first gear, second gear, third gear, fourth gear engaged with drive gear, the drive gear meshing is connected with the switching gear, drive gear is the same with the tooth number of first gear, second gear, third gear, fourth gear, drive gear's tooth number is four times of switching gear tooth number, the switching gear links to each other with the switching motor of installing on the transmission punching press board, the switching motor links to each other with the PLC controller.
By adopting the technical scheme, the PLC controller controls the switching motor to work, the switching motor rotates to drive the switching gear to rotate, the switching gear rotates to drive the transmission gear to rotate, the transmission gear rotates to drive the first gear, the second gear, the third gear and the fourth gear to rotate, the switching gear rotates for one circle, the transmission gear rotates for one quarter of a circle, the first gear, the second gear, the third gear and the fourth gear rotate for one quarter of a circle, and the stamping grooves are switched.
The present invention in a preferred example may be further configured to: the stamping part comprises an electric stamping motor and a connecting piece, the electric stamping motor which is positioned right above the stamping die is installed on the mounting plate, the electric stamping motor is connected with the stamping die through the connecting piece, and the electric stamping motor is connected with the PLC.
By adopting the technical scheme, the PLC controller is used for controlling the electric stamping motor to work, the electric stamping motor drives the stamping die to move up and down through the connecting piece, and the stamping die moves up and down to continuously stamp mechanical parts.
The present invention in a preferred example may be further configured to: the connecting piece includes the adapter sleeve and adjusts the pole and constitutes, adapter sleeve fixedly connected with press die, adjust the electronic punching machine of pole fixedly connected with, adjust the pole and pass through threaded connection with the adapter sleeve, it stretches out and draws back to adjust the pole through threaded connection inside the adapter sleeve.
By adopting the technical scheme, the height of the connecting piece is adjusted by rotating the connecting sleeve, and connecting the connecting sleeve with the overlapped part of the adjusting rod through threads.
The present invention in a preferred example may be further configured to: the conveying assembly comprises a conveying frame, a conveying motor and a conveying anti-skid belt, the conveying frame is installed at the top of the supporting block, a conveying groove is formed in the conveying frame, a driving roller is installed close to a feeding end in the conveying groove, a driven roller is installed at the other end of the conveying groove, the anti-skid conveying belt is sleeved on the surface of the driving roller and the driven roller, one end of the driving roller is far away from the conveying groove, and a dropping groove communicated with the driving roller is formed in the conveying groove, a punching table is arranged below the dropping groove, when the punching table is used for punching, the dropping groove is just coincided with the punching groove on the punching table, the driving roller is connected with the conveying motor installed on the conveying frame, and the conveying motor is in data connection with a PLC (programmable logic controller).
By adopting the technical scheme, the PLC controller is used for controlling the conveying motor to rotate, the conveying motor rotates to drive the driving roller to rotate, the driving roller rotates to drive the driven roller to rotate through conveying antiskid, the conveying antiskid belt conveys parts in the conveying groove, and the conveying parts fall into the stamping groove along the falling groove when moving to the falling groove.
The invention in a preferred example may be further configured to: the automatic stamping device is characterized in that a lifting baffle is installed on the transmission stamping plate, the lifting baffle coincides with a stamping groove when the stamping platform rotates, a lifting motor is installed at the bottom of the lifting baffle, the lifting motor is arranged below the transmission stamping plate, a pressure sensor is installed at the top of the lifting baffle, and the pressure sensor and the lifting motor are in data connection with a PLC (programmable logic controller).
By adopting the technical scheme, the part after being punched moves to the top of the lifting baffle plate when rotating along the punching table, the pressure sensor detects pressure information and transmits the pressure information to the PLC, the PLC detects the pressure information and controls the lifting motor to work, the lifting motor works to drive the lifting baffle plate to move downwards, and the lifting baffle plate moves downwards to enable the part after being punched to enter the collecting frame and fall into the collecting cylinder for collection.
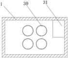
The present invention in a preferred example may be further configured to: the collecting frame is installed to transmission punching press board below, collect a side movable mounting of frame and have the movable cover, be fixed with the pulling peg on the movable cover, collect the inside collection section of thick bamboo that is located the stamping station below that is provided with of frame, the PLC controller is installed inside collecting the frame.
By adopting the technical scheme, the force is applied to the pulling bolt rod, the pulling bolt rod drives the movable cover to rotate along the collection frame, the collection frame is opened, and the collection cylinder in the collection frame is replaced.
In summary, the invention includes at least one of the following beneficial technical effects:
1. the invention can simultaneously punch parts of a plurality of mechanical sets in the punching process, the parts are replaced and punched by controlling the rotation of the punching table to stop in the punching process, and are respectively collected after the punching is finished, so that the parts are conveniently conveyed in the punching process, the punching efficiency is improved, and the production cost is reduced;
2. according to the invention, the conveying assembly is arranged to convey the parts to the dropping groove, and the dropping groove is arranged above the stamping table, so that the parts can fall into the stamping groove conveniently for stamping.
Drawings
FIG. 1 is a schematic diagram of the overall structure of a stamping die for mechanical automation according to the present invention;
FIG. 2 is an enlarged view of A of FIG. 1 of a press die for mechanical automation in accordance with the present invention;
FIG. 3 is a schematic diagram of a transfer assembly of a stamping die for mechanical automation in accordance with the present invention;
FIG. 4 is a top view of a drive ram plate of a stamping die for mechanical automation of the present invention;
FIG. 5 is a top view of a drive ram plate in a stamping die for mechanical automation in accordance with the present invention;
FIG. 6 is a top cross-sectional view of a drive ram plate in a press tool for mechanical automation of the present invention;
fig. 7 is a top cross-sectional view of a drive ram plate in a press tool for mechanical automation of the present invention.
In the figure, 1, a punching plate is driven; 2. a delivery assembly; 3. mounting a plate; 4. an electric stamping motor; 5. fixing the connecting plate; 6. pulling the bolt rod; 7. a collection rack; 8. a support block; 9. a movable cover; 10. a first stamping station; 11. a second stamping station; 12. a connecting member; 13. stamping a die; 14. a third stamping station; 15. a fourth stamping station; 16. a driven roller; 17. a conveying frame; 18. a drop tank; 19. conveying the antiskid belt; 20. a conveying trough; 21. a drive roll; 22. a conveying motor; 23. a second gear; 24. a third gear; 25. a fourth gear; 26. switching the motors; 27. a switching gear; 28. a first gear; 29. a reinforcing sheet; 30. a collection canister; 31. PLC controller, 32, lifting baffle; 33. a lifting motor; 34. a pressure sensor.
Detailed Description
The present invention will be described in further detail with reference to the accompanying drawings.
Example (b):
referring to fig. 1-7, the invention discloses a stamping die for mechanical automation, which comprises a transmission stamping plate 1 and a fixed connecting plate 5 fixed on one side of the transmission stamping plate 1, wherein a mounting plate 3 is installed on one side of the fixed connecting plate 5 close to the transmission stamping plate 1, a stamping part for stamping is installed in the mounting plate 3, a stamping die 13 is installed at the bottom of the stamping part, a plurality of groups of stamping tables capable of rotating along the stamping table are installed on the transmission stamping plate 1, part of the stamping tables is overlapped with the stamping die 13, a conveying assembly 2 for conveying stamping parts is arranged on one side of the stamping tables, a supporting block 8 is installed between the bottom of one end of the conveying assembly 2 and the transmission stamping plate 1, the other end of the conveying assembly 2 is positioned above the stamping tables and is overlapped with the edge of the stamping tables, the stamping parts are driven by the stamping parts to move up and down, the stamping die 13 moves up and down and is overlapped with part of the stamping tables, the parts are stamped by the conveying assembly 2, and the position of the stamping parts is continuously moved by the rotation of the stamping tables, so as to realize continuous stamping.
The punching tables are provided with four groups, namely a first punching table 10, a second punching table 11, a third punching table 14 and a fourth punching table 15, the first punching table 10, the second punching table 11, the third punching table 14 and the fourth punching table 15 are all arranged in a circular shape, quarter areas of the surfaces of the punching tables coincide with the bottoms of the punching dies 13, the shapes of the insides of the four groups of punching tables are different, each group of punching tables is provided with four groups of punching grooves, the punching grooves on each punching table are matched with the corresponding coinciding parts of the punching dies 13, punching cavities are formed when the punching grooves coincide with the punching dies 13, reinforcing sheets 29 fixed to the tops of the transmission punching plates 1 are arranged at the bottoms of the punching cavities, the four groups of punching tables and the four groups of punching grooves are arranged, when the punching dies 13 punch, four groups of mechanical parts are simultaneously punched, and the punching grooves are switched to punch again after punching is completed, so that the punching effect is greatly improved, and the transmission plates 1 can be effectively prevented from deforming during punching by the arrangement of the reinforcing sheets 29.
The bottom of the first punching platform 10 is provided with a first gear 28 for driving the first punching platform to rotate, the bottom of the second punching platform 11 is provided with a second gear 23 for driving the second punching platform to rotate, the bottom of the third punching platform 14 is provided with a third gear 24 for driving the third punching platform to rotate, the bottom of the fourth punching platform 15 is provided with a fourth gear 25 for driving the fourth punching platform to rotate, the first gear 28, the second gear 23, the third gear 24 and the fourth gear 25 are rotatably connected with the transmission punching plate 1 through transmission shafts, the transmission punching plate 1 is provided with transmission gears which are meshed with the first gear 28, the second gear 23, the third gear 24 and the fourth gear 25, the transmission gears are meshed with a switching gear 27, the transmission gears are the same as the first gear 28, the second gear 23, the third gear 24 and the fourth gear 25 in tooth number, the tooth number of the transmission gears is four times of the tooth number of the switching gear 27, the switching gear 27 is connected with a switching motor 26 arranged on the transmission punching plate 1, and the switching motor 26 is connected with a PLC 31.
The PLC 31 controls the switching motor 26 to work, the switching motor 26 rotates to drive the switching gear 27 to rotate, the switching gear 27 rotates to drive the transmission gear to rotate, the transmission gear rotates to drive the first gear 28, the second gear 23, the third gear 24 and the fourth gear 25 to rotate, the switching gear 27 rotates for one circle, the transmission gear rotates for one quarter of a circle, the first gear 28, the second gear 23, the third gear 24 and the fourth gear 25 rotate for one quarter of a circle, and the stamping grooves are switched.
The stamping part includes electronic stamping motor 4 and connecting piece 12, install the electronic stamping motor 4 that is located directly over the stamping die 13 on the mounting panel 3, electronic stamping motor 4 links to each other with stamping die 13 through connecting piece 12, electronic stamping motor 4 links to each other with PLC controller 31, PLC controller 31 controls electronic stamping motor 4 work, electronic stamping motor 4 work drives stamping die 13 through connecting piece 12 and reciprocates, stamping die 13 reciprocates and constantly punches to mechanical part, install collection frame 7 below transmission stamping plate 1, collect 7 a side movable mounting of frame and have movable cover 9, be fixed with pulling tie rod 6 on the movable cover 9, collect the inside collection section of thick bamboo 30 that is located the stamping table below that is provided with of frame 7, PLC controller 31 installs inside collection frame 7, through making power to pulling tie rod 6, pulling tie rod 6 drives movable cover 9 and rotates along collection frame 7, open collection frame 7, collect the inside collection section of thick bamboo 30 of frame 7 and change.
Connecting piece 12 includes the adapter sleeve and adjusts the pole constitution, adapter sleeve fixedly connected with press die 13, adjust pole fixedly connected with electric punching motor 4, adjust the pole and pass through threaded connection with the adapter sleeve, adjust the pole and stretch out and draw back through threaded connection inside the adapter sleeve, through rotating the adapter sleeve, the adapter sleeve passes through threaded connection and adjusts the coincidence part with adjusting the pole, highly adjust connecting piece 12.
The conveying assembly 2 comprises a conveying frame 17, a conveying motor 22 and an anti-slip conveying belt 19, the conveying frame 17 is installed at the top of the supporting block 8, a conveying groove 20 is formed in the conveying frame 17, a driving roller 21 is installed inside the conveying groove 20 close to the feeding end, a driven roller 16 is installed at the other end, the anti-slip conveying belt sleeved on the surface of the anti-slip conveying belt is arranged between the driving roller 21 and the driven roller 16, a dropping groove 18 communicated with the driving roller 21 is formed in one end, away from the driving roller 21, of the conveying groove 20, a punching table is arranged below the dropping groove 18, when the punching table punches, the dropping groove 18 is just overlapped with a punching groove on the punching table, the driving roller 21 is connected with the conveying motor 22 installed on the conveying frame 17, the conveying motor 22 is connected with a PLC (programmable logic controller) 31 in a data mode, the PLC controller 31 controls the conveying motor 22 to rotate, the conveying motor 22 rotates to drive the driving roller 21, the driving roller 21 rotates to drive the driven roller 16 through the anti-slip conveying belt 19, the anti-slip conveying belt 19 conveys parts in the conveying groove 20, when the conveying parts move to the dropping groove 18, and the dropping part moves to the dropping groove 18, and the inside of the punching groove.
Install lifting baffle 32 on transmission punching press board 1, lifting baffle 32 coincides with the punching press groove when punching press platform rotates, lifting motor 33 is installed to lifting baffle 32 bottom, lifting motor 33 sets up in transmission punching press board 1 below, pressure sensor 34 is installed at lifting baffle 32 top, pressure sensor 34 and lifting motor 33 and PLC controller 31 data connection, the part after the punching press finishes moves to lifting baffle 32 top when the punching press platform rotates, pressure sensor 34 detects pressure information, carry pressure information to PLC controller 31, PLC controller 31 detects pressure information, control lifting motor 33 work, lifting motor 33 work drives lifting baffle 32 downstream, lifting baffle 32 downstream makes the part after the punching press is accomplished get into inside collection frame 7, drop to collection section of tubes 30 inside and collect, PLC controller 31 model: AS228P.
The implementation principle of the above embodiment is as follows: when punching is performed, corresponding punching components are placed in the conveying groove 20, the PLC 31 controls the conveying motor 22 to rotate, the conveying motor 22 rotates to drive the driving roller 21 to rotate, the driving roller 21 rotates to drive the driven roller 16 to rotate through the conveying anti-skid belt 19, the conveying anti-skid belt 19 conveys the components in the conveying groove 20, when the conveying component moves to the position of the falling groove 18, the conveying component drops into the punching groove along the falling groove 18, the PLC 31 controls the switching motor 26 to work, the switching motor 26 rotates to drive the switching gear 27 to rotate, the switching gear 27 rotates to drive the transmission gear to rotate, the transmission gear rotates to drive the first gear 28, the second gear 23, the third gear 24 and the fourth gear 25 to rotate, the PLC controls the switching motor 26 to stop for 10 seconds after rotating for one circle, the switching gear 27 rotates for one quarter circle, the first gear 28, the second gear 23, the third gear 24 and the fourth gear 25 rotate for one quarter circle, the first punching table 10, the second punching table 11, the third punching table 14 and the fourth punching table 15 rotate at the same time, and the punching groove 15 is switched.
The PLC controller 31 controls the work of the electric stamping motor 4, the work of the electric stamping motor 4 drives the stamping die 13 to move up and down through the connecting piece 12, the stamping die 13 moves up and down to continuously stamp mechanical parts, after the stamping is finished, the PLC controls the switching motor 26 to rotate for a circle and then stop for 10s, the parts after the stamping are moved to the top of the lifting baffle 32 when rotating along the stamping table, the pressure sensor 34 detects pressure information, the pressure information is conveyed to the PLC controller 31, the PLC controller 31 detects the pressure information, the lifting motor 33 is controlled to work, the lifting motor 33 drives the lifting baffle 32 to move downwards, the lifting baffle 32 moves downwards to enable the parts after the stamping are finished to enter the collecting frame 7, the parts fall into the collecting barrel 30 to be collected, and the purpose of simultaneously stamping multiple groups of parts is achieved.
The embodiments of the present invention are preferred embodiments of the present invention, and the scope of the present invention is not limited by these embodiments, so: all equivalent changes made according to the structure, shape and principle of the invention are covered by the protection scope of the invention.
Claims (8)
1. The utility model provides a stamping die for mechanical automation which characterized in that: including transmission punching press board (1) and fix fixed connection board (5) at transmission punching press board (1) one side, fixed connection board (5) are close to transmission punching press board (1) one side and install mounting panel (3), mounting panel (3) internally mounted is in the stamping workpiece that is used for the punching press effect, stamping die (13) are installed to the stamping workpiece bottom, it can follow its pivoted punching press platform to install the multiunit on transmission punching press board (1), punching press platform part coincides mutually with stamping die (13), punching press platform one side is provided with transport subassembly (2) that are used for carrying the punching press spare part, install supporting shoe (8) between transport subassembly (2) one end bottom and transmission punching press board (1), and transport subassembly (2) other end is located punching press platform top, and coincides mutually with punching press platform edge department.
2. The stamping die for mechanical automation as set forth in claim 1, wherein: the stamping platform is provided with four groups, namely a first stamping platform (10), a second stamping platform (11), a third stamping platform (14) and a fourth stamping platform (15), wherein the first stamping platform (10), the second stamping platform (11), the third stamping platform (14) and the fourth stamping platform (15) are all arranged to be round, the surface quarter areas of the four groups of stamping platforms coincide with the bottom of a stamping die (13), the shapes of the inner parts of the four groups of stamping platforms are different, each group of stamping platforms are provided with four groups of stamping grooves, each stamping groove on each stamping platform is matched with the corresponding coincidence part of the stamping die (13), a stamping cavity is formed when the stamping grooves coincide with the stamping die (13), and the bottom of the stamping cavity is provided with a reinforcing sheet (29) fixed to the top of a transmission stamping plate (1).
3. The stamping die for mechanical automation as set forth in claim 2, wherein: first punching press platform (10) bottom is installed and is used for driving its pivoted first gear (28), and second punching press platform (11) bottom is installed and is used for driving its pivoted second gear (23), and third punching press platform (14) bottom is installed and is used for driving its pivoted third gear (24), and fourth punching press platform (15) bottom is installed and is used for driving its pivoted fourth gear (25), first gear (28), second gear (23) third gear (24) and fourth gear (25) are connected with transmission punching press board (1) rotation through the transmission shaft, install on transmission punching press board (1) and be connected with first gear (28), second gear (23), third gear (24), fourth gear (25) engaged with the drive gear, the drive gear meshing is connected with switching gear (27), drive gear is the same with first gear (28), second gear (23), third gear (24), fourth gear (25), and drive gear's number of teeth is switching gear (27), the drive gear is installed and is switched gear (27) and switch the number of teeth (26) and switch motor (26) and link to each other PLC control motor (26).
4. The stamping die for mechanical automation as set forth in claim 1, wherein: the stamping part comprises an electric stamping motor (4) and a connecting piece (12), the electric stamping motor (4) which is positioned over a stamping die (13) is installed on the mounting plate (3), the electric stamping motor (4) is connected with the stamping die (13) through the connecting piece (12), and the electric stamping motor (4) is connected with the PLC (programmable logic controller) (31).
5. The stamping die for mechanical automation as set forth in claim 4, wherein: the connecting piece (12) comprises a connecting sleeve and an adjusting rod, the connecting sleeve is fixedly connected with a stamping die (13), the adjusting rod is fixedly connected with an electric stamping motor (4), the adjusting rod is connected with the connecting sleeve through threads, and the adjusting rod is connected inside the connecting sleeve through threads and stretches out and draws back.
6. The stamping die for mechanical automation as set forth in claim 1, wherein: conveying assembly (2) include carriage (17), conveyor motor (22) and carry non-slip band (19), carriage (17) are installed at supporting shoe (8) top, carriage (17) inside has seted up conveyer trough (20), and conveyer trough (20) inside is close to the feed end and installs drive roll (21), and driven voller (16) are installed to the other end, is provided with the cover between drive roll (21) and the driven voller (16) and establishes its surperficial non-slip band, conveyer trough (20) inside keeps away from drive roll (21) one end and sets up rather than communicating groove (18) that drop, and the groove (18) below that drop is provided with the punching press platform, and when the punching press platform was when the punching press, the groove that drops (18) just coincides with the punching press groove on the punching press platform mutually, drive roll (21) link to each other with conveyor motor (22) of installing on carriage (17), conveyor motor (22) data connection has PLC controller (31).
7. The stamping die for mechanical automation as set forth in claim 1, wherein: install lifting baffle (32) on transmission punching press board (1), lifting baffle (32) coincide with the punching press groove when punching press platform rotates, elevator motor (33) are installed to lifting baffle (32) bottom, elevator motor (33) set up in transmission punching press board (1) below, pressure sensor (34) are installed at lifting baffle (32) top, pressure sensor (34) and elevator motor (33) and PLC controller (31) data connection.
8. The stamping die for mechanical automation as set forth in claim 1, wherein: the collecting frame (7) is installed to transmission punching press board (1) below, collect frame (7) one side movable mounting has movable cover (9), be fixed with pulling peg (6) on movable cover (9), collect frame (7) inside be provided with be located punching press platform below collection section of thick bamboo (30), PLC controller (31) are installed and are collected frame (7) inside.
Priority Applications (1)
| Application Number | Priority Date | Filing Date | Title |
|---|---|---|---|
| CN202210993428.5A CN115464025A (en) | 2022-08-18 | 2022-08-18 | Stamping die for mechanical automation |
Applications Claiming Priority (1)
| Application Number | Priority Date | Filing Date | Title |
|---|---|---|---|
| CN202210993428.5A CN115464025A (en) | 2022-08-18 | 2022-08-18 | Stamping die for mechanical automation |
Publications (1)
| Publication Number | Publication Date |
|---|---|
| CN115464025A true CN115464025A (en) | 2022-12-13 |
Family
ID=84365762
Family Applications (1)
| Application Number | Title | Priority Date | Filing Date |
|---|---|---|---|
| CN202210993428.5A Withdrawn CN115464025A (en) | 2022-08-18 | 2022-08-18 | Stamping die for mechanical automation |
Country Status (1)
| Country | Link |
|---|---|
| CN (1) | CN115464025A (en) |
Cited By (1)
| Publication number | Priority date | Publication date | Assignee | Title |
|---|---|---|---|---|
| CN117583458A (en) * | 2024-01-19 | 2024-02-23 | 四川洺杰电子产品有限公司 | A kind of transformer iron core stamping forming equipment and method |
-
2022
- 2022-08-18 CN CN202210993428.5A patent/CN115464025A/en not_active Withdrawn
Cited By (2)
| Publication number | Priority date | Publication date | Assignee | Title |
|---|---|---|---|---|
| CN117583458A (en) * | 2024-01-19 | 2024-02-23 | 四川洺杰电子产品有限公司 | A kind of transformer iron core stamping forming equipment and method |
| CN117583458B (en) * | 2024-01-19 | 2024-04-02 | 四川洺杰电子产品有限公司 | A kind of transformer iron core stamping forming equipment and method |
Similar Documents
| Publication | Publication Date | Title |
|---|---|---|
| CN201036799Y (en) | Automatic transferring mechanical arm | |
| CN201192711Y (en) | Automatic numerically-controlled lathe | |
| CN210549494U (en) | A sheet metal shearing and punching integrated production line | |
| CN111390008A (en) | Metal gasket stamping device for machining | |
| CN217393555U (en) | Efficient beat doffer | |
| CN110899488A (en) | Intelligent door plate processing production line | |
| CN110696334A (en) | Forming integrated machine | |
| CN110976628A (en) | Full-automatic stainless steel pull ring forming process and forming system thereof | |
| CN115464025A (en) | Stamping die for mechanical automation | |
| CN100509371C (en) | Full-automatic punch with theftproof aluminium cover | |
| CN107931352B (en) | An automated production line for paint brush iron shells | |
| CN214022841U (en) | Automatic production equipment for rear back plate of refrigerator | |
| CN112404251B (en) | A dual-slide robot loading and unloading stamping automatic production line | |
| CN113941667A (en) | Retaining ring automation line | |
| CN111760956B (en) | Automobile part punch forming device | |
| CN211304429U (en) | Intelligent door plate processing production line | |
| CN114700417A (en) | An automatic feeding stamping production line for guide rails | |
| CN210702015U (en) | Automatic synchronous clutch housing punching and carrying line | |
| CN221515876U (en) | Continuous stamping device of metal support | |
| CN109732364B (en) | Automatic stamping production line of electric pressure cooker | |
| CN113102680A (en) | Automatic conveying and stamping device after positive arrangement of high-strength bolts | |
| CN216705734U (en) | Retaining ring automation line | |
| CN219703269U (en) | Automatic forming equipment for electronic element | |
| CN213856751U (en) | Conveying device for punching machine tool and punching production line | |
| CN115041972B (en) | Automatic double-bottom stretching rim production line and process for cookware |
Legal Events
| Date | Code | Title | Description |
|---|---|---|---|
| PB01 | Publication | ||
| PB01 | Publication | ||
| SE01 | Entry into force of request for substantive examination | ||
| SE01 | Entry into force of request for substantive examination | ||
| WW01 | Invention patent application withdrawn after publication | ||
| WW01 | Invention patent application withdrawn after publication |
Application publication date: 20221213 |