CN115448006A - Two-way bag pouring machine - Google Patents
Two-way bag pouring machine Download PDFInfo
- Publication number
- CN115448006A CN115448006A CN202211138424.5A CN202211138424A CN115448006A CN 115448006 A CN115448006 A CN 115448006A CN 202211138424 A CN202211138424 A CN 202211138424A CN 115448006 A CN115448006 A CN 115448006A
- Authority
- CN
- China
- Prior art keywords
- bag
- support
- roller
- conveyor
- inverting
- Prior art date
- Legal status (The legal status is an assumption and is not a legal conclusion. Google has not performed a legal analysis and makes no representation as to the accuracy of the status listed.)
- Pending
Links
Images
Classifications
-
- B—PERFORMING OPERATIONS; TRANSPORTING
- B65—CONVEYING; PACKING; STORING; HANDLING THIN OR FILAMENTARY MATERIAL
- B65G—TRANSPORT OR STORAGE DEVICES, e.g. CONVEYORS FOR LOADING OR TIPPING, SHOP CONVEYOR SYSTEMS OR PNEUMATIC TUBE CONVEYORS
- B65G47/00—Article or material-handling devices associated with conveyors; Methods employing such devices
- B65G47/22—Devices influencing the relative position or the attitude of articles during transit by conveyors
- B65G47/24—Devices influencing the relative position or the attitude of articles during transit by conveyors orientating the articles
- B65G47/248—Devices influencing the relative position or the attitude of articles during transit by conveyors orientating the articles by turning over or inverting them
-
- B—PERFORMING OPERATIONS; TRANSPORTING
- B65—CONVEYING; PACKING; STORING; HANDLING THIN OR FILAMENTARY MATERIAL
- B65G—TRANSPORT OR STORAGE DEVICES, e.g. CONVEYORS FOR LOADING OR TIPPING, SHOP CONVEYOR SYSTEMS OR PNEUMATIC TUBE CONVEYORS
- B65G57/00—Stacking of articles
- B65G57/02—Stacking of articles by adding to the top of the stack
- B65G57/08—Stacking of articles by adding to the top of the stack articles being tilted or inverted prior to depositing
Landscapes
- Engineering & Computer Science (AREA)
- Mechanical Engineering (AREA)
- Attitude Control For Articles On Conveyors (AREA)
Abstract
本发明属于包装垛生产线的设备技术领域,涉及一种用于化工原料、饲料、食品等行业中的双向倒袋机,包括输送机支架,输送机安装于输送机支架上,以实现对料包的输送;所述输送机支架上还固定推包支座,推包支座上转动设置推包支架,以实现对输送机输送到位的料包进行推倒作业;其特征在于:所述推包支架包括转轴、左支架、右支架及连接架,所述转轴转动设置于推包支座的上部,左支架与右支架对称设置于转轴上,并随转轴同步转动,左支架与右支架之间通过连接架固定连接,连接架与驱动组件相连接;推包支座上对应于左支架与右支架的两侧分别固定挡袋辊组件。该倒袋机结构紧凑、节省空间、容易控制,能够实现双向倒袋的功能。
The invention belongs to the technical field of equipment for packaging and stacking production lines, and relates to a two-way bag dumping machine used in industries such as chemical raw materials, feed, and food, including a conveyor bracket, and the conveyor is installed on the conveyor bracket to realize the packaging of bags. The conveying of the conveyor; the push bag support is also fixed on the conveyor support, and the push bag support is rotated on the push bag support, so as to realize the pushing down operation of the material bag transported by the conveyor; it is characterized in that: the push bag support It includes a rotating shaft, a left bracket, a right bracket and a connecting frame. The rotating shaft is set on the upper part of the push bag support. The left bracket and the right bracket are symmetrically arranged on the rotating shaft and rotate synchronously with the rotating shaft. The connecting frame is fixedly connected, and the connecting frame is connected with the drive assembly; the two sides corresponding to the left bracket and the right bracket are respectively fixed with bag-stopping roller assemblies on the push bag support. The bag dumping machine has a compact structure, saves space, is easy to control, and can realize the function of two-way bag dumping.
Description
技术领域technical field
本发明属于包装垛生产线的设备技术领域,涉及一种用于化工原料、饲料、食品等行业中的双向倒袋机。The invention belongs to the technical field of equipment for packaging and stacking production lines, and relates to a two-way bag dumping machine used in industries such as chemical raw materials, feed, and food.
背景技术Background technique
在粉料和粒料全自动包装生产过程中,由于包装动作的要求,包装完的料袋是呈立式状态的,而料袋为了方便输送码垛则需要平躺式,所以包装完的料袋需经立袋输送机进入倒袋机,将料袋转换为平躺式,然后进行输送和码垛。In the production process of automatic packaging of powder and pellets, due to the requirements of the packaging action, the packaged material bag is in a vertical state, and the material bag needs to lie flat for the convenience of conveying and palletizing, so the packaged material bag The bag needs to enter the bag dumping machine through the vertical bag conveyor, convert the bag into a flat type, and then carry out conveying and palletizing.
目前市场上现有的倒袋机一般通过气缸的推动来实现倒袋动作,而气缸只能实现一个方向的推动,所以这样的倒袋机只有单向倒袋的功能。如需要实现双向倒袋的功能,往往只能采用两台倒袋机,每台负责一个方向,但这样整个生产线就加大了占地面积,增加了成本,在空间有限的情况下往往不能满足实际生产的需求。Existing bag-dumping machines currently on the market generally realize the bag-dumping action through the promotion of the cylinder, and the cylinder can only realize the promotion in one direction, so such bag-dumping machines only have the function of one-way bag-dumping. If it is necessary to realize the function of bag dumping in two directions, only two bag dumping machines can be used, each of which is responsible for one direction, but this will increase the floor area and cost of the entire production line, which cannot be satisfied in the case of limited space. actual production needs.
发明内容Contents of the invention
本发明针对上述问题,提供一种双向倒袋机,该倒袋机结构紧凑、节省空间、容易控制,能够实现双向倒袋的功能。Aiming at the above problems, the present invention provides a two-way bag emptying machine, which has a compact structure, saves space, is easy to control, and can realize the function of two-way bag emptying.
按照本发明的技术方案:一种双向倒袋机,包括输送机支架,输送机安装于输送机支架上,以实现对料包的输送;所述输送机支架上还固定推包支座,推包支座上转动设置推包支架,以实现对输送机输送到位的料包进行推倒作业;其特征在于:所述推包支架包括转轴、左支架、右支架及连接架,所述转轴转动设置于推包支座的上部,左支架与右支架对称设置于转轴上,并随转轴同步转动,左支架与右支架之间通过连接架固定连接,连接架与驱动组件相连接;According to the technical solution of the present invention: a two-way bag dumping machine includes a conveyor bracket, and the conveyor is installed on the conveyor bracket to realize the delivery of the material bag; The bag pushing bracket is rotated on the bag support to realize the push-down operation of the material bag transported by the conveyor; it is characterized in that: the pushing bag bracket includes a rotating shaft, a left bracket, a right bracket and a connecting frame, and the rotating shaft is set On the upper part of the push bag support, the left bracket and the right bracket are symmetrically arranged on the rotating shaft and rotate synchronously with the rotating shaft. The left bracket and the right bracket are fixedly connected by a connecting frame, and the connecting frame is connected to the drive assembly;
推包支座上对应于左支架与右支架的两侧分别固定挡袋辊组件,左支架、右支架分别与相对应的挡袋辊组件相配合以实现对输送机上输送到位的料包朝向相应方向推倒。The bag-stopping roller assembly is respectively fixed on the two sides corresponding to the left bracket and the right bracket on the pushing bag support. Direction pushed down.
作为本发明的进一步改进,所述挡袋辊组件包括倒袋辊上支架、倒袋辊中间架、倒袋辊下支架、倒袋辊,其中倒袋辊上支架安装在推包支座上,倒袋辊上支架的底部设有倒袋辊中间架,倒袋辊中间架能够相对倒袋辊上支架进行位置调节,实现对两个倒袋辊中间架的间距调节;As a further improvement of the present invention, the bag-stopping roller assembly includes an upper bracket for the bag-inverting roller, an intermediate frame for the bag-inverting roller, a lower bracket for the bag-inverting roller, and a bag-inverting roller, wherein the upper bracket for the bag-inverting roller is installed on the bag pushing support, The bottom of the upper bracket of the bag-inverting roller is provided with an intermediate frame of the bag-inverting roller. The intermediate frame of the bag-inverting roller can be adjusted relative to the upper bracket of the bag-inverting roller to realize the adjustment of the distance between the two intermediate frames of the bag-inverting roller;
倒袋辊下支架与倒袋辊中间架相连接,倒袋辊下支架能够相对于倒袋辊中间架进行竖直方向的位置调节,倒袋辊下支架的下部设有朝向内侧延伸的折弯部,倒袋辊转动设置于倒袋辊下支架的折弯部。The lower bracket of the bag-inverting roller is connected with the intermediate frame of the bag-inverting roller. The lower bracket of the bag-inverting roller can be adjusted in the vertical direction relative to the middle frame of the bag-inverting roller. part, the bag-inverting roller rotates and is arranged on the bending part of the lower support of the bag-inverting roller.
作为本发明的进一步改进,所述倒袋辊中间架的水平连接部设有水平调节槽,倒袋辊中间架通过水平调节槽与倒袋辊上支架锁紧连接;As a further improvement of the present invention, the horizontal connection part of the intermediate frame of the bag-inverting roller is provided with a horizontal adjustment groove, and the intermediate frame of the bag-inverting roller is locked and connected with the upper bracket of the bag-inverting roller through the horizontal adjustment groove;
所述倒袋辊中间架上设有竖直调节槽,倒袋辊中间架通过竖直调节槽与倒袋辊中间架的竖直连接部锁紧连接。The intermediate frame of the bag-inverting roller is provided with a vertical adjustment groove, and the intermediate frame of the bag-inverting roller is locked and connected with the vertical connection part of the intermediate frame of the bag-inverting roller through the vertical adjustment groove.
作为本发明的进一步改进,所述左支架、右支架两者下部朝向内侧弯折,在左支架与右支架两者的弯折部分别转动设置两根第一托辊。As a further improvement of the present invention, the lower parts of the left bracket and the right bracket are bent toward the inside, and two first rollers are respectively rotated at the bent parts of the left bracket and the right bracket.
作为本发明的进一步改进,所述输送机包括横梁,横梁的长度方向一端固定从动辊支板,横梁的长度方向另一端固定主动辊支板,从动辊安装于从动辊支板上,主动辊安装于主动辊支板上,皮带张紧于所述从动辊与主动辊上,主动辊由横梁侧部安装的主动辊电机驱动,横梁上对应于所述从动辊与主动辊之间还转动设置多根第二托辊,以托住皮带。As a further improvement of the present invention, the conveyor includes a beam, one end of the beam in the longitudinal direction is fixed with a driven roller support plate, the other end of the beam in the length direction is fixed with a driving roller support plate, and the driven roller is mounted on the driven roller support plate, The driving roller is installed on the supporting plate of the driving roller, and the belt is tensioned on the driven roller and the driving roller. The driving roller is driven by the driving roller motor installed on the side of the beam. A plurality of second rollers are also rotated to support the belt.
作为本发明的进一步改进,所述驱动组件包括电机支架,电机支架上安装推包支架电机,推包支架电机的输出端安装曲柄,曲柄与连杆一端相连,连杆另一端与推包支架的连接架转动连接。As a further improvement of the present invention, the drive assembly includes a motor bracket, on which a push bag bracket motor is installed, a crank is installed on the output end of the push bag bracket motor, the crank is connected to one end of the connecting rod, and the other end of the connecting rod is connected to the push bag bracket. The connecting frame is connected by rotation.
作为本发明的进一步改进,所述输送机的宽度方向两侧分别设置溜槽,以实现料包滑出。As a further improvement of the present invention, chutes are provided on both sides of the conveyor in the width direction, so as to realize the sliding out of the material bag.
本发明的技术效果在于:本发明双向倒袋机,通过电机来驱动推包支架,利用电机的正反转,使得推包支架正反向推动,从而在单机上实现双向倒袋的功能。该机器动作简单,易于调控,能融入于现有全自动化包装码垛系统中,可实现布局的多样化。同时双向倒袋机的占地面积和原倒袋机差不多,这样就能节省空间、优化布局和满足客户需求。双向倒袋机结构紧凑,使用电机驱动来替代原有的气缸驱动,大大增加了机器的寿命。The technical effect of the present invention is: the two-way bag-rewinding machine of the present invention drives the bag-pushing bracket through a motor, and utilizes the forward and reverse rotation of the motor to push the bag-pushing bracket forward and reversely, thereby realizing the function of bidirectional bag-rewinding on a single machine. The machine is simple in action and easy to control, and can be integrated into the existing fully automated packaging and palletizing system to achieve a variety of layouts. At the same time, the footprint of the two-way bag dumping machine is almost the same as that of the original bag dumping machine, which can save space, optimize the layout and meet customer needs. The two-way bag emptying machine has a compact structure, and uses a motor drive to replace the original cylinder drive, which greatly increases the life of the machine.
附图说明Description of drawings
图1为本发明的结构示意图。Fig. 1 is a structural schematic diagram of the present invention.
图2为输送机的结构示意图。Figure 2 is a schematic structural view of the conveyor.
图3为挡袋辊组件的结构示意图。Fig. 3 is a structural schematic diagram of the bag blocking roller assembly.
具体实施方式detailed description
下面结合附图对本发明的具体实施方式作进一步的说明。The specific embodiments of the present invention will be further described below in conjunction with the accompanying drawings.
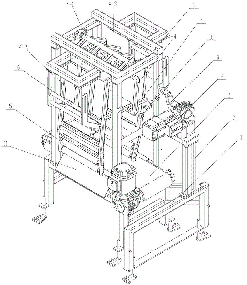
图1~3中,包括输送机支架1、输送机2、推包支座3、推包支架4、转轴4-1、左支架4-2、右支架4-3、连接架4-4、第一托辊5、挡袋辊组件6、倒袋辊上支架61、倒袋辊中间架62、倒袋辊下支架63、倒袋辊64、电机支架7、推包支架电机8、曲柄9、连杆10、溜槽11、横梁12、从动辊支板13、从动辊14、主动辊支板15、带座轴承16、主动辊17、主动辊电机18、皮带19、第二托辊20等。In Fig. 1~3, comprise conveyor bracket 1, conveyor 2,
如图1~3所示,本发明是一种双向倒袋机,在使用中能够实现料沿输送机2宽度方向两侧的任一方向将料包推倒,实现上述目的的技术方案包括输送机支架1,输送机支架1上安装输送机2,以实现输送料包的目的;同时在输送机支架1上还安装推包支座3,推包支座3上转动设置推包支架4以实现将输送到位的料包推倒的目的。As shown in Figures 1 to 3, the present invention is a two-way bag dumping machine. In use, the material bag can be pushed down along any direction on both sides of the width direction of the conveyor 2. The technical solution for achieving the above-mentioned purpose includes a conveyor Support 1, conveyor 2 is installed on the conveyor support 1, to realize the purpose of conveying material bag; Simultaneously on the conveyor support 1,
为了实现料包沿输送机2宽度方向任一方向推倒的目的,推包支架4包括转轴4-1、左支架4-2、右支架4-3、连接架4-4,其中转轴4-1转动设置于推包支座3上,左支架4-2与右支架4-3呈对称状固定连接于转轴4-1上,左支架4-2与右支架4-3之间通过连接架4-4固定连接,左支架4-2与右支架4-3之间形成料包推倒的进料工位,在自然状态下,左支架4-2与右支架4-3垂直悬吊于输送机2上方,以方便料包进料,可以理解的是,为了实现料包进料后的推倒作业,输送机支架1上还设置驱动组件,驱动组件用于驱动推包支架4左右摆动,以实现将料包朝向相应方向推倒的目的。进一步地,为了方便对料包的推倒作业,左支架4-2与右支架4-3两者的下部朝向内侧折弯,分别形成折弯部,在每个折弯部分别转动设置两根平行布置的第一托辊5,当左支架4-2、右支架4-3朝向一侧摆动时,第一托辊5能够将料包有效推倒,由于第一托辊5的平滑作用,第一托辊5在将料包推倒过程中,不会损伤料包。In order to realize the purpose that the material bag is pushed down in any direction along the width direction of the conveyor 2, the
可以理解的是,驱动组件包括电机支架7,电机支架7安装于输送机支架1上,电机支架7上安装有推包支架电机8,推包支架电机8的输出轴端安装曲柄9,曲柄9与连杆10的一端转动连接,连杆10的另一端与连接架4-4的连接轴转动连接。It can be understood that the drive assembly includes a
进一步,当第一托辊5在将料包推倒时,为了实现料包的可靠倾倒,在将料包推倒时,需要对料包的上部施加一个反方向的力,为此在推包支座3上对应于左支架4-2、右支架4-3一侧分别固定设置挡袋辊组件6,以实现挡袋辊组件6与推包支架4相配合,从而将料包顺利推倒。Further, when the
挡袋辊组件6包括倒袋辊上支架61、倒袋辊中间架62、倒袋辊下支架63、倒袋辊64,倒袋辊上支架61构造为矩形框架,矩形状的倒袋辊上支架61与推包支座3的上部固定连接,倒袋辊中间架62可调节连接于倒袋辊上支架61的底面,具体实践中,倒袋辊中间架62的上端水平连接部设置水平连接槽,并通过该水平连接槽与倒袋辊上支架61锁紧连接,倒袋辊中间架62的竖直连接部连接有倒袋辊下支架63,倒袋辊下支架63能够相对倒袋辊中间架62进行竖直方向的高度调节,为了实现倒袋辊下支架63沿竖直方向的高度调节,倒袋下支架63上设置竖直调节槽,倒袋下支架63通过竖直调节槽与倒袋辊中间架62锁紧连接,倒袋辊下支架63的下部朝向内侧弯折,并在倒袋辊下支架63的下部转动设置倒袋辊64,倒袋辊64与第一托辊5相配合,能够实现料包的可靠推倒作业。The bag
本发明中用于实现对料包进行输送的输送机2的具体结构包括横梁12,横梁12两端分别固定从动辊支板13、主动辊支板15,从动辊支板13上安装从动辊14,主动辊支板15上安装主动辊17,皮带19张紧于从动辊14与主动辊17上,并在横梁12上转动设置多根第二托辊20以实现对皮带19的支撑托起,主动辊17由横梁12侧部安装的主动辊电机18驱动运转。In the present invention, the specific structure of the conveyor 2 used to transport the material package includes a
为了方便实现皮带19上输送的料包的出料,在皮带19的宽度方向两侧分别设置倾斜布置的溜槽11。料包被推倒后,有溜槽11顺利滑出。In order to facilitate the discharge of the material bags conveyed on the
本发明的工作过程如下:包装完的料袋经立袋输送机到输送机2上,到达推包支架4中间时,推包支架电机8通过曲柄9、连杆10使推包支架4向左(右)摆动,带动立式料包移动,料包上部碰到挡袋辊单元6被挡住,料包下部由于推包支架4的推动前进,经溜槽11滑向接袋输送机,从而使之变为平躺式。由于推包支架电机8的控制,曲柄9能往复运动,可带动推包支架4左右摆动,从而实现双向倒袋。The working process of the present invention is as follows: the packaged material bag goes to the conveyor 2 through the vertical bag conveyor, and when it reaches the middle of the
可以理解的是,以上实施方式仅仅是为了说明本发明的原理而采用的示例性实施方式,然而本发明并不局限于此。对于本领域内的普通技术人员而言,在不脱离本发明的精神和实质的情况下,可以做出各种变型和改进,这些变型和改进也视为本发明的保护范围。It can be understood that, the above embodiments are only exemplary embodiments adopted for illustrating the principle of the present invention, but the present invention is not limited thereto. For those skilled in the art, various modifications and improvements can be made without departing from the spirit and essence of the present invention, and these modifications and improvements are also regarded as the protection scope of the present invention.
Claims (7)
Priority Applications (1)
| Application Number | Priority Date | Filing Date | Title |
|---|---|---|---|
| CN202211138424.5A CN115448006A (en) | 2022-09-19 | 2022-09-19 | Two-way bag pouring machine |
Applications Claiming Priority (1)
| Application Number | Priority Date | Filing Date | Title |
|---|---|---|---|
| CN202211138424.5A CN115448006A (en) | 2022-09-19 | 2022-09-19 | Two-way bag pouring machine |
Publications (1)
| Publication Number | Publication Date |
|---|---|
| CN115448006A true CN115448006A (en) | 2022-12-09 |
Family
ID=84305285
Family Applications (1)
| Application Number | Title | Priority Date | Filing Date |
|---|---|---|---|
| CN202211138424.5A Pending CN115448006A (en) | 2022-09-19 | 2022-09-19 | Two-way bag pouring machine |
Country Status (1)
| Country | Link |
|---|---|
| CN (1) | CN115448006A (en) |
Cited By (2)
| Publication number | Priority date | Publication date | Assignee | Title |
|---|---|---|---|---|
| CN116081254A (en) * | 2022-12-12 | 2023-05-09 | 佛山市金页盈信智能机械有限公司 | Book flat-laying device |
| CN116081254B (en) * | 2022-12-12 | 2026-01-30 | 佛山市金页盈信智能机械有限公司 | Book flattening device |
Citations (7)
| Publication number | Priority date | Publication date | Assignee | Title |
|---|---|---|---|---|
| US4718534A (en) * | 1986-08-15 | 1988-01-12 | Allen Fruit Co., Inc. | Collating conveyor for bagged products |
| CN1253903A (en) * | 1998-11-16 | 2000-05-24 | 保尔·沃特公司 | Material distributing equipment with rotary chute capable of changing oblique angle |
| CN202686875U (en) * | 2012-07-27 | 2013-01-23 | 哈尔滨博实自动化股份有限公司 | Device for emptying bag in double directions |
| CN203652708U (en) * | 2013-12-30 | 2014-06-18 | 上海沃迪自动化装备股份有限公司 | Linear material-bag removing mechanism for belt conveyer |
| CN104418062A (en) * | 2013-09-10 | 2015-03-18 | 无锡市新安太湖化工机械厂 | Right-angle bag inversion machine |
| CN107720220A (en) * | 2017-11-09 | 2018-02-23 | 苏州九鲤机电科技有限公司 | A kind of double-deck overturning conveyor |
| CN218344557U (en) * | 2022-09-19 | 2023-01-20 | 无锡力马化工机械有限公司 | Two-way bag pouring machine |
-
2022
- 2022-09-19 CN CN202211138424.5A patent/CN115448006A/en active Pending
Patent Citations (7)
| Publication number | Priority date | Publication date | Assignee | Title |
|---|---|---|---|---|
| US4718534A (en) * | 1986-08-15 | 1988-01-12 | Allen Fruit Co., Inc. | Collating conveyor for bagged products |
| CN1253903A (en) * | 1998-11-16 | 2000-05-24 | 保尔·沃特公司 | Material distributing equipment with rotary chute capable of changing oblique angle |
| CN202686875U (en) * | 2012-07-27 | 2013-01-23 | 哈尔滨博实自动化股份有限公司 | Device for emptying bag in double directions |
| CN104418062A (en) * | 2013-09-10 | 2015-03-18 | 无锡市新安太湖化工机械厂 | Right-angle bag inversion machine |
| CN203652708U (en) * | 2013-12-30 | 2014-06-18 | 上海沃迪自动化装备股份有限公司 | Linear material-bag removing mechanism for belt conveyer |
| CN107720220A (en) * | 2017-11-09 | 2018-02-23 | 苏州九鲤机电科技有限公司 | A kind of double-deck overturning conveyor |
| CN218344557U (en) * | 2022-09-19 | 2023-01-20 | 无锡力马化工机械有限公司 | Two-way bag pouring machine |
Cited By (2)
| Publication number | Priority date | Publication date | Assignee | Title |
|---|---|---|---|---|
| CN116081254A (en) * | 2022-12-12 | 2023-05-09 | 佛山市金页盈信智能机械有限公司 | Book flat-laying device |
| CN116081254B (en) * | 2022-12-12 | 2026-01-30 | 佛山市金页盈信智能机械有限公司 | Book flattening device |
Similar Documents
| Publication | Publication Date | Title |
|---|---|---|
| CN209554384U (en) | A kind of bagged articles entrucking head | |
| CN208683136U (en) | A kind of follow-on jumbo bag automatic packing apparatus suitable for fine powder material | |
| JP6109509B2 (en) | Article alignment supply device | |
| CN218344557U (en) | Two-way bag pouring machine | |
| CN115448006A (en) | Two-way bag pouring machine | |
| CN221643693U (en) | Conveyor for easy leveling of bagged feed | |
| CN211594135U (en) | Sorting and packaging production line | |
| CN219057675U (en) | Rice bag conveying mechanism | |
| CN219506328U (en) | Centralized building and packing station based on single swing arm machine | |
| CN217732028U (en) | Bagged fertilizer bag folding robot | |
| CN204588121U (en) | A kind of feeding device of stacker | |
| CN218925335U (en) | Workpiece feeding device | |
| JP2001151338A (en) | Fruit and vegetables aligning and carrying system | |
| CN116424658A (en) | Paper tray automatic packaging machine | |
| CN209618275U (en) | A kind of overturning of automatic vacuum packaging connects packet conveyer | |
| CN222081867U (en) | New type of bag stacking and dropping machine | |
| CN211167696U (en) | Bag feeding type packaging machine's transportation baling press constructs | |
| CN217866381U (en) | A goods sorting device for commodity circulation is carried | |
| CN111332825A (en) | Turn to transition structure | |
| CN207956984U (en) | an automatic rewinding machine | |
| CN206032834U (en) | A two -way paper structure for longmen stacking machine commodity circulation | |
| CN204999222U (en) | Supporting device suitable for narrow belt sorter | |
| CN219546039U (en) | Material box bearing device of backstop sorting machine and cargo sorting machine | |
| CN221164797U (en) | Combined chain transfer mechanism | |
| CN214986392U (en) | Paper-packaged fine dried noodle bagging machine |
Legal Events
| Date | Code | Title | Description |
|---|---|---|---|
| PB01 | Publication | ||
| PB01 | Publication | ||
| SE01 | Entry into force of request for substantive examination | ||
| SE01 | Entry into force of request for substantive examination |
