CN115445758A - Titanium ore screening and sorting system in zircalite - Google Patents
Titanium ore screening and sorting system in zircalite Download PDFInfo
- Publication number
- CN115445758A CN115445758A CN202211080012.0A CN202211080012A CN115445758A CN 115445758 A CN115445758 A CN 115445758A CN 202211080012 A CN202211080012 A CN 202211080012A CN 115445758 A CN115445758 A CN 115445758A
- Authority
- CN
- China
- Prior art keywords
- magnetic separator
- titanium
- ore
- screening
- discharge port
- Prior art date
- Legal status (The legal status is an assumption and is not a legal conclusion. Google has not performed a legal analysis and makes no representation as to the accuracy of the status listed.)
- Pending
Links
Images
Classifications
-
- B—PERFORMING OPERATIONS; TRANSPORTING
- B03—SEPARATION OF SOLID MATERIALS USING LIQUIDS OR USING PNEUMATIC TABLES OR JIGS; MAGNETIC OR ELECTROSTATIC SEPARATION OF SOLID MATERIALS FROM SOLID MATERIALS OR FLUIDS; SEPARATION BY HIGH-VOLTAGE ELECTRIC FIELDS
- B03B—SEPARATING SOLID MATERIALS USING LIQUIDS OR USING PNEUMATIC TABLES OR JIGS
- B03B7/00—Combinations of wet processes or apparatus with other processes or apparatus, e.g. for dressing ores or garbage
-
- B—PERFORMING OPERATIONS; TRANSPORTING
- B03—SEPARATION OF SOLID MATERIALS USING LIQUIDS OR USING PNEUMATIC TABLES OR JIGS; MAGNETIC OR ELECTROSTATIC SEPARATION OF SOLID MATERIALS FROM SOLID MATERIALS OR FLUIDS; SEPARATION BY HIGH-VOLTAGE ELECTRIC FIELDS
- B03B—SEPARATING SOLID MATERIALS USING LIQUIDS OR USING PNEUMATIC TABLES OR JIGS
- B03B9/00—General arrangement of separating plant, e.g. flow sheets
-
- B—PERFORMING OPERATIONS; TRANSPORTING
- B03—SEPARATION OF SOLID MATERIALS USING LIQUIDS OR USING PNEUMATIC TABLES OR JIGS; MAGNETIC OR ELECTROSTATIC SEPARATION OF SOLID MATERIALS FROM SOLID MATERIALS OR FLUIDS; SEPARATION BY HIGH-VOLTAGE ELECTRIC FIELDS
- B03C—MAGNETIC OR ELECTROSTATIC SEPARATION OF SOLID MATERIALS FROM SOLID MATERIALS OR FLUIDS; SEPARATION BY HIGH-VOLTAGE ELECTRIC FIELDS
- B03C1/00—Magnetic separation
- B03C1/02—Magnetic separation acting directly on the substance being separated
- B03C1/10—Magnetic separation acting directly on the substance being separated with cylindrical material carriers
-
- F—MECHANICAL ENGINEERING; LIGHTING; HEATING; WEAPONS; BLASTING
- F26—DRYING
- F26B—DRYING SOLID MATERIALS OR OBJECTS BY REMOVING LIQUID THEREFROM
- F26B23/00—Heating arrangements
- F26B23/02—Heating arrangements using combustion heating
-
- F—MECHANICAL ENGINEERING; LIGHTING; HEATING; WEAPONS; BLASTING
- F26—DRYING
- F26B—DRYING SOLID MATERIALS OR OBJECTS BY REMOVING LIQUID THEREFROM
- F26B25/00—Details of general application not covered by group F26B21/00 or F26B23/00
- F26B25/001—Handling, e.g. loading or unloading arrangements
- F26B25/002—Handling, e.g. loading or unloading arrangements for bulk goods
Landscapes
- Engineering & Computer Science (AREA)
- Mechanical Engineering (AREA)
- General Engineering & Computer Science (AREA)
- Chemical & Material Sciences (AREA)
- Combustion & Propulsion (AREA)
- Life Sciences & Earth Sciences (AREA)
- Sustainable Development (AREA)
- Manufacture And Refinement Of Metals (AREA)
Abstract
本发明涉及钛矿选矿技术领域,具体涉及一种锆钛矿中钛矿筛选分选系统,包括除杂除尘系统、除泥系统、湿选系统和干选系统;通过除杂振动筛的初步过滤除杂,同时能清除原料中的杂物,一次提升矿选精度,采用湿式磁选的工艺与干式磁选工艺结合的方式,湿式磁选工艺利用矿物是否具有磁性来实现锆中矿与钛中矿的筛分分离,之后干式磁选工艺利用矿物之间不同磁性吸附能力的强弱,以实现钛中矿物的分离筛选,通过优化筛选工艺,提升选矿指标,提高海滨砂矿中锆钛矿提纯分离时钛铁矿、金红石及铁精矿等多种矿料的筛分提纯精度;从而产生良好的经济效益。
The invention relates to the technical field of titanium ore beneficiation, in particular to a screening and sorting system for titanium ore in zirconium-titanium ore, including impurity and dust removal system, mud removal system, wet separation system and dry separation system; preliminary filtration through impurity removal vibrating screen Impurities can be removed, and impurities in raw materials can be removed at the same time, and the precision of ore separation can be improved at one time. The wet magnetic separation process is combined with the dry magnetic separation process. The wet magnetic separation process uses whether the minerals are magnetic to achieve zirconium and titanium. The screening and separation of middle ore, and then the dry magnetic separation process utilizes the strength of different magnetic adsorption capabilities between minerals to realize the separation and screening of minerals in titanium. The screening and purification accuracy of various mineral materials such as ilmenite, rutile and iron concentrate during ore purification and separation; thus producing good economic benefits.
Description
技术领域technical field
本发明涉及钛矿选矿技术领域,尤其是涉及一种锆钛矿中钛矿筛选分选系统。The invention relates to the technical field of titanium ore beneficiation, in particular to a screening and sorting system for titanium ore in zirconium-titanium ore.
背景技术Background technique
钛是一种重要的战略资源,在航空航天、原子能工业、精密铸造业等战略性新兴产业中占据重要地位;锆是一种稀有金属,具有惊人的抗腐蚀性能、极高的熔点、超高的硬度和强度等特性,锆资源的安全对我国战略性新兴产业的发展具有重要意义;目前具有工业意义的、分布最广、储量最大的锆矿物有锆英石,钛矿物为钛铁矿、金红石等。Titanium is an important strategic resource, which occupies an important position in strategic emerging industries such as aerospace, atomic energy industry, and precision casting industry; zirconium is a rare metal with amazing corrosion resistance, extremely high melting point, ultra-high The security of zirconium resources is of great significance to the development of my country's strategic emerging industries; at present, zircon is the most widely distributed and the largest reserves of zirconium minerals with industrial significance, and the titanium minerals are ilmenite, Rutile, etc.
海滨矿砂是我国矿产资源中一个非常重要的矿床,海滨砂矿床中一般都含有石英砂、锆英石、金红石、钛铁矿等多种矿物,统称之为锆钛矿,其是目前具有工业价值的锆矿物锆英石和钛铁矿的重要来源,根据各个矿石的特性,通常采用磁选的方式进行矿砂的预处理分选,若粗筛分选效果不佳,便会造成矿产资源的浪费;随着我国锆钛资源日益减少,生产成本高,分选设备的分选作业得到矿石精度的小幅度提升都会产生很大的经济利益;因此加强对此类锆钛矿资源的选矿技术研究具有重要理论意义和实际应用价值。Seaside mineral sand is a very important deposit in my country's mineral resources. Seashore placer deposits generally contain various minerals such as quartz sand, zircon, rutile, and ilmenite, collectively called zirconium-titanium ore, which is currently of industrial value. Zircon and ilmenite are important sources of zirconium minerals. According to the characteristics of each ore, magnetic separation is usually used for pretreatment and separation of ore sand. If the coarse screening effect is not good, it will cause a waste of mineral resources; As my country's zirconium-titanium resources are decreasing day by day and production costs are high, a small increase in ore precision in the sorting operation of sorting equipment will generate great economic benefits; therefore, it is important to strengthen the research on beneficiation technology for such zirconium-titanium resources. Theoretical significance and practical application value.
发明内容Contents of the invention
为了解决常规锆钛筛选工艺,选别指标第,成本不合算及造成资源浪费的问题,进一步提升海滨砂矿中锆钛矿提纯分离时钛铁矿、金红石及铁精矿等多种矿料的筛分提纯精度;本发明提供了一种锆钛矿中钛矿筛选分选系统。In order to solve the problems of the conventional zirconium-titanium screening process, the selection index is the highest, the cost is uneconomical and the waste of resources is caused, and the production of various mineral materials such as ilmenite, rutile and iron concentrate is further improved during the purification and separation of zirconium-titanium ore in seaside placer. Screening and purification accuracy; the invention provides a screening and sorting system for titanium ore in zirconium-titanium ore.
本发明的技术问题是通过以下技术方案实现的:一种锆钛矿中钛矿筛选分选系统,包括化浆池、除杂振动筛、第一湿式磁选机、过滤机、上料系统、第一传送带、回转干燥窑、冷却窑和干式磁选机组;所述化浆池的出料口连接除杂振动筛的入料口,所述除杂振动筛包括矿浆出料口;所述除杂振动筛的矿浆出料口连接第一湿式磁选机的进料口;所述第一湿式磁选机包括钛中矿出料口和锆中矿出料口;所述第一湿式磁选机的钛中矿出料口连接过滤机的进料口;所述过滤机的出料口连接上料系统,所述上料系统的出料口通过第一传送带连接回转干燥窑的进料口;所述回转干燥窑的出料口连接冷却窑的进料口;所述冷却窑的出料口连接干式磁选机组。The technical problem of the present invention is achieved by the following technical solutions: a screening and sorting system for titanium ore in zirconium-titanium ore, including a slurry tank, a vibrating screen for removing impurities, a first wet magnetic separator, a filter, a feeding system, The first conveyor belt, rotary drying kiln, cooling kiln and dry magnetic separation unit; the outlet of the slurry tank is connected to the inlet of the impurity removal vibrating screen, and the impurity removal vibrating screen includes an ore pulp outlet; The pulp discharge port of the impurity-removing vibrating screen is connected to the feed port of the first wet magnetic separator; the first wet magnetic separator includes a titanium medium ore discharge port and a zirconium medium ore discharge port; the first wet magnetic separator The titanium medium ore discharge port of the separator is connected to the feed port of the filter; the discharge port of the filter is connected to the feeding system, and the discharge port of the feeding system is connected to the feed of the rotary drying kiln through the first conveyor belt. mouth; the discharge port of the rotary drying kiln is connected to the feed port of the cooling kiln; the discharge port of the cooling kiln is connected to the dry magnetic separation unit.
通过使用以上技术方案,对锆钛矿的分选工艺包括除杂振动筛的初步过滤除杂,同时能清除原料中的杂物,一次提升矿选精度,采用湿式磁选的工艺与干式磁选工艺结合的方式,湿式磁选工艺利用矿物是否具有磁性来实现锆中矿与钛中矿的筛分分离,之后干式磁选工艺利用矿物之间不同磁性吸附能力的强弱,以实现矿物的分离筛选,通过优化筛选工艺,提升选矿指标,提高海滨砂矿中锆钛矿提纯分离时钛铁矿、金红石及铁精矿等多种矿料的筛分提纯精度;从而产生良好的经济效益。By using the above technical scheme, the separation process of zirconium-titanium includes preliminary filtration and impurity removal by vibrating screen for impurity removal, and at the same time, impurities in raw materials can be removed, and the precision of ore separation can be improved at one time. Wet magnetic separation technology and dry magnetic The wet magnetic separation process utilizes whether the minerals are magnetic to realize the screening and separation of zirconium and titanium ores, and then the dry magnetic separation process utilizes the strength of different magnetic adsorption capabilities between minerals to achieve mineral By optimizing the screening process, the beneficiation index is improved, and the screening and purification accuracy of ilmenite, rutile and iron concentrate and other mineral materials are improved during the purification and separation of zirconium-titanium ore in seaside placer; thus generating good economic benefits .
作为优选,所述第一湿式磁选机的锆中矿出料口连接有第二湿式磁选机;所述第二湿式磁选机包括锆中矿出料口和钛中矿出料口;所述第二湿式磁选机的钛中矿出料口连接过滤机。As a preference, the zirconium middling ore outlet of the first wet magnetic separator is connected with a second wet magnetic separator; the second wet magnetic separator includes a zirconium middling ore outlet and a titanium middling ore outlet; The titanium medium ore outlet of the second wet magnetic separator is connected with a filter.
通过使用以上技术方案,第一湿式磁选机的锆中矿出料口中会混合有部分钛中矿矿料,通过第二湿式磁选机对混合钛中矿的锆中矿矿料进行再次筛分分离,从而进一步对钛中矿矿料筛分提纯,降低混杂浪费的钛中矿矿料。By using the above technical scheme, the zirconium medium ore discharge port of the first wet magnetic separator will be mixed with some titanium medium ore minerals, and the zirconium medium ore mixed with titanium medium ore will be screened again by the second wet magnetic separator Separation, so as to further sieve and purify the titanium medium ore mineral material, and reduce the mixed and waste titanium medium ore mineral material.
作为优选,所述干式磁选机组包括第一干式磁选机和第二干式磁选机;所述第一干式磁选机的进料口连接冷却窑的出料口;所述第一干式磁选机包括铁精矿出料口、钛精矿出料口和混料出料口;所述第一干式磁选机的混料出料口连接第二干式磁选机。As a preference, the dry magnetic separation unit includes a first dry magnetic separator and a second dry magnetic separator; the feed port of the first dry magnetic separator is connected to the discharge port of the cooling kiln; the The first dry magnetic separator includes an iron ore concentrate outlet, a titanium concentrate outlet and a mixing outlet; the mixing outlet of the first dry magnetic separator is connected to the second dry magnetic separator machine.
通过使用以上技术方案,根据矿料磁力吸附能力的不同,第一干式磁选机用以筛分钛中矿,筛分出铁精矿与钛精矿和混合矿料;同时第二干式磁选机用以对混合矿料再次进行筛选,从而对各种混杂的矿料进行具体筛分,提升选矿精度。By using the above technical solutions, according to the difference in the magnetic adsorption capacity of mineral materials, the first dry-type magnetic separator is used to screen titanium medium ore, and to screen out iron concentrate, titanium concentrate and mixed mineral materials; at the same time, the second dry-type magnetic separator The magnetic separator is used to re-screen the mixed mineral materials, so as to specifically screen various mixed mineral materials and improve the beneficiation accuracy.
作为优选,所述除杂振动筛与第一湿式磁选机之间还设置有除泥系统;所述除泥系统包括除泥旋流器和沉降处理系统;所述除杂振动筛的矿浆出料口连接除泥旋流器的进料口;所述除泥旋流器包括矿浆出料口和泥浆出料口;所述除泥旋流器的矿浆出料口连接第一湿式磁选机的进料口;所述除泥旋流器的泥浆出料口连接沉降处理系统。As a preference, a desilter system is also provided between the impurity removal vibrating screen and the first wet magnetic separator; the desilter system includes a desilter cyclone and a settling treatment system; The feed port is connected to the feed port of the desilter cyclone; the desilter cyclone includes a pulp discharge port and a mud discharge port; the pulp discharge port of the desilter cyclone is connected to the first wet magnetic separator feed port; the mud discharge port of the desilter cyclone is connected to the sedimentation treatment system.
通过使用以上技术方案,除泥旋流器对矿浆表面吸附的泥浆进行筛分处理,以初步提升选矿的精度,初步除泥的矿浆在后续的干选工艺过程中,可以大大降低烘干筛选过程中的车间粉尘量,同时提高筛选后产品纯度。Through the use of the above technical solutions, the desilter cyclone screens the slurry adsorbed on the surface of the pulp to initially improve the accuracy of ore dressing. The preliminary desilted pulp can greatly reduce the drying and screening process in the subsequent dry separation process. The amount of dust in the workshop, while improving the purity of the product after screening.
作为优选,所述沉降处理系统包括浓密机和板状压滤机,所述除泥旋流器的泥浆出料口连接浓密机的进料口,所述浓密机包括清水口和底流口;所述浓密机的底流口连接板状压滤机。Preferably, the sedimentation treatment system includes a thickener and a plate filter press, the mud outlet of the desilter cyclone is connected to the feed port of the thickener, and the thickener includes a clear water port and an underflow port; the The underflow port of the thickener is connected with a plate filter press.
通过使用以上技术方案,浓密机对矿料中分选出来的泥浆和水进行分离,泥浆通过板状压滤机进行回收处理,清水部分收集再次进行重复利用。By using the above technical solutions, the thickener separates the mud and water separated from the mineral materials, the mud is recycled through the plate filter press, and the clean water is collected for reuse.
作为优选,还包括第二传送带,所述上料系统的出料口通过第二传送带连接冷却窑的进料口。Preferably, a second conveyor belt is also included, and the discharge port of the feeding system is connected to the feed port of the cooling kiln through the second conveyor belt.
通过以上技术方案,第二传送带将由上料系统上入的湿矿料掠过回转干燥窑进入冷却窑的进料口,第一传送带传送的湿料经过回转干燥窑形成高温度的干矿料;最后与冷却窑进料口处的湿矿料混合,从而对湿矿料利用干矿料的余温对湿矿料烘干,大大的降低了以天然气作为烘干能源的回转干燥窑的用量,节省了大量的能源消耗支出,改善了加工工艺,提高了设备处理产能的同时;降低了成本投入。Through the above technical scheme, the second conveyor belt passes the wet mineral material from the feeding system over the rotary drying kiln and enters the feeding port of the cooling kiln, and the wet material conveyed by the first conveyor belt passes through the rotary drying kiln to form high-temperature dry mineral material; Finally, it is mixed with the wet mineral material at the feed inlet of the cooling kiln, so that the wet mineral material can be dried by using the residual temperature of the dry mineral material, which greatly reduces the consumption of the rotary drying kiln that uses natural gas as the drying energy. It saves a lot of energy consumption expenses, improves the processing technology, increases the processing capacity of the equipment, and reduces the cost input.
作为优选,在所述冷却窑与第一干式磁选机之间还设置有破碎振动筛。Preferably, a crushing vibrating screen is also arranged between the cooling kiln and the first dry magnetic separator.
通过使用以上技术方案,在进行干选筛选工艺之前,对冷却窑中产出的矿料进行筛碎细沙化处理,粉碎凝固块,以保证后续的干式磁选机组的磁选效果,提高选矿纯度。By using the above technical scheme, before the dry separation and screening process, the ore produced in the cooling kiln is screened and finely sanded, and the solidified block is crushed to ensure the magnetic separation effect of the subsequent dry magnetic separation unit and improve the mineral processing. purity.
作为优选,还包括循环水系统,所述循环水系统分别管路连接化浆池与第一湿式磁选机。Preferably, a circulating water system is also included, and the circulating water system is respectively connected to the slurry tank and the first wet magnetic separator through pipelines.
通过使用以上技术方案,循环水系统为整个筛选分选系统提供不断的水循环,在湿式磁选工艺阶段有效的进行了水的循环利用,降低消耗。Through the use of the above technical solutions, the circulating water system provides continuous water circulation for the entire screening and sorting system, effectively recycles water in the wet magnetic separation process stage, and reduces consumption.
作为优选,所述第一湿式磁选机采用湿式永磁滚筒磁选机。Preferably, the first wet magnetic separator adopts a wet permanent magnet drum magnetic separator.
作为优选,所述干式磁选机组采用干式永磁筒式磁选机,所述干式永磁筒式磁选机的磁选筒为碳纤维筒。As a preference, the dry-type magnetic separation unit adopts a dry-type permanent magnetic drum magnetic separator, and the magnetic separation drum of the dry-type permanent magnetic drum magnetic separator is a carbon fiber drum.
通过使用以上技术方案,采用永磁磁选机代替电磁磁选机,可以减少电量的消耗,同时采用碳纤维筒的干式永磁筒式磁选机代替传统的金属铜材质的滚筒;可以避免在筛分过程中与磁性矿料的摩擦导致的发热问题,保证筛分效果。By using the above technical solutions, the use of permanent magnet magnetic separator instead of electromagnetic magnetic separator can reduce the power consumption, and at the same time, the dry type permanent magnet magnetic separator of carbon fiber drum can be used to replace the traditional metal copper drum; The heating problem caused by the friction with the magnetic mineral material during the screening process ensures the screening effect.
综上所述,本发明具有如下有益效果:In summary, the present invention has the following beneficial effects:
1.本发明的锆钛矿中钛矿筛选分选系统,对锆钛矿的分选工艺包括除杂振动筛的初步过滤除杂,同时能清除原料中的杂物,一次提升矿选精度,采用湿式磁选的工艺与干式磁选工艺结合的方式,湿式磁选工艺利用矿物是否具有磁性来实现锆中矿与钛中矿的筛分分离,之后干式磁选工艺利用矿物之间不同磁性吸附能力的强弱,以实现矿物的分离筛选,通过优化筛选工艺,提升选矿指标,提高海滨砂矿中锆钛矿提纯分离时钛铁矿、金红石及铁精矿等多种矿料的筛分提纯精度;从而产生良好的经济效益。1. The zirconium-titanium ore screening and sorting system of the present invention, the separation process of zirconium-titanium includes preliminary filtration and impurity removal of impurity-removing vibrating sieves, and can remove impurities in raw materials at the same time, improving the ore separation accuracy at one time, The combination of wet magnetic separation process and dry magnetic separation process is adopted. The wet magnetic separation process uses whether the minerals are magnetic to realize the screening and separation of zirconium and titanium medium ores. After that, the dry magnetic separation process utilizes the differences between minerals. The strength of magnetic adsorption capacity is used to realize the separation and screening of minerals. By optimizing the screening process, the beneficiation index is improved, and the screening of various mineral materials such as ilmenite, rutile and iron concentrate is improved during the purification and separation of zirconium-titanium in seaside placer. Sub-purification precision; resulting in good economic benefits.
2.本发明的筛选分选系统通过设置第二湿式磁选机对混合钛中矿的锆中矿矿料进行再次筛分分离,从而进一步对钛中矿矿料筛分提纯,降低混杂浪费的钛中矿矿料;同时,根据矿料磁力吸附能力的不同,在进行钛中矿干式筛选阶段,第一干式磁选机用以筛分钛中矿,筛分出铁精矿与钛精矿和混合矿料;同时第二干式磁选机用以对混合矿料再次进行筛选,从而对各种混杂的矿料进行具体筛分,进一步层层提升选矿精度。2. The screening and separation system of the present invention screens and separates the zirconium medium ore mineral material mixed with titanium medium ore by setting the second wet magnetic separator, thereby further screening and purifying the titanium medium ore mineral material, reducing the waste of mixing At the same time, according to the difference in the magnetic adsorption capacity of the ore, during the dry screening stage of the titanium medium ore, the first dry magnetic separator is used to screen the titanium medium ore, and to screen out the iron concentrate and titanium Concentrate and mixed mineral materials; at the same time, the second dry magnetic separator is used to screen the mixed mineral materials again, so as to carry out specific screening of various mixed mineral materials, and further improve the beneficiation precision layer by layer.
3.本发明的筛选分选系统增设除泥系统,除泥旋流器对矿浆表面吸附的泥浆进行筛分处理,以初步提升选矿的精度,初步除泥的矿浆在后续的干选工艺过程中,可以大大降低烘干筛选过程中的车间粉尘量,同时提高筛选后产品纯度。3. The screening and sorting system of the present invention is equipped with a desilting system, and the desilting cyclone screens the mud adsorbed on the surface of the pulp to initially improve the accuracy of ore dressing, and the preliminary desilted pulp is used in the subsequent dry separation process. , can greatly reduce the amount of dust in the workshop during the drying and screening process, and at the same time improve the purity of the product after screening.
4.本发明中增设的第二传送带将由上料系统上入的湿矿料掠过回转干燥窑进入冷却窑的进料口,第一传送带传送的湿料经过回转干燥窑形成高温度的干矿料;最后与冷却窑进料口处的湿矿料混合,从而对湿矿料利用干矿料的余温对湿矿料烘干,大大的降低了以天然气作为烘干能源的回转干燥窑的用量,节省了大量的能源消耗支出,改善了加工工艺,提高了设备处理产能的同时;降低了成本投入;产生巨大的经济效益。4. The second conveyor belt added in the present invention sweeps the wet ore from the feeding system over the rotary drying kiln and enters the feed port of the cooling kiln, and the wet material conveyed by the first conveyor belt passes through the rotary drying kiln to form high-temperature dry ore Finally, it is mixed with the wet mineral material at the feed inlet of the cooling kiln, so that the wet mineral material can be dried by the residual temperature of the dry mineral material, which greatly reduces the cost of the rotary drying kiln that uses natural gas as the drying energy. The dosage saves a lot of energy consumption expenses, improves the processing technology, increases the processing capacity of the equipment, reduces the cost input, and produces huge economic benefits.
附图说明Description of drawings
图1为实施例1的筛选分选系统图;Fig. 1 is the screening and sorting system figure of embodiment 1;
图2为本发明的矿料筛选分选系统图;Fig. 2 is the mineral material screening sorting system figure of the present invention;
图3为增设循环水系统的筛选分选系统图。Figure 3 is a diagram of the screening and sorting system with the addition of a circulating water system.
附图标记说明:Explanation of reference signs:
1、化浆池;2、除杂振动筛;3、第一湿式磁选机;4、过滤机;5、上料系统;6、第一传送带;7、回转干燥窑;8、冷却窑;9、干式磁选机组;91、第一干式磁选机;92、第二干式磁选机;10、第二湿式磁选机;11、除泥系统;111、除泥旋流器;112、沉降处理系统;1121、浓密机;1122、板状压滤机;12、第二传送带;13、破碎振动筛;14、循环水系统。1. Pulp tank; 2. Impurity removal vibrating screen; 3. The first wet magnetic separator; 4. Filter; 5. Feeding system; 6. The first conveyor belt; 7. Rotary drying kiln; 8. Cooling kiln; 9. Dry magnetic separator; 91. First dry magnetic separator; 92. Second dry magnetic separator; 10. Second wet magnetic separator; 11. Desilter system; 111. Desilter cyclone ; 112, sedimentation treatment system; 1121, thickener; 1122, plate filter press; 12, the second conveyor belt; 13, crushing vibrating screen; 14, circulating water system.
具体实施方式detailed description
为了能够更清楚地理解本发明的上述目的、特征和优点,下面结合附图和实施例对本发明做进一步说明。In order to more clearly understand the above objects, features and advantages of the present invention, the present invention will be further described below in conjunction with the accompanying drawings and embodiments.
在下面的描述中阐述了很多具体细节以便于充分理解本发明,但是,本发明还可以采用不同于在此描述的其他方式来实施,因此,本发明并不限于下面公开说明书的具体实施例的限制。In the following description, many specific details are set forth in order to fully understand the present invention. However, the present invention can also be implemented in other ways than described here. Therefore, the present invention is not limited to the specific embodiments disclosed below. limit.
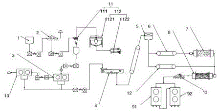
实施例1:本发明公开了一种锆钛矿中钛矿筛选分选系统,如图1所示,包括化浆池1、除杂振动筛2、第一湿式磁选机3、过滤机4、上料系统5、第一传送带6、回转干燥窑7、冷却窑8和干式磁选机组9;Embodiment 1: The present invention discloses a screening and sorting system for titanium ore in zirconium-titanium ore, as shown in FIG. , feeding system 5, first conveyor belt 6, rotary drying kiln 7, cooling kiln 8 and dry magnetic separation unit 9;
首先,为锆钛矿砂浆料上料除杂阶段:在化浆池1处将锆钛矿砂原料与水按照一定的比例化浆,通常锆钛矿砂原料的比例为5%,水的比例为95%在化浆池1中混合,化浆池1的出料口通过管路连接除杂振动筛2的入料口,锆钛矿砂浆料通过泵实现动力运输,除杂振动筛2对锆钛矿矿浆中的碎石和枝叶等杂质进行筛分处理;除杂振动筛2包括矿浆出料口;除杂振动筛2的矿浆出料口连接第一湿式磁选机3的进料口,将除杂筛分后的锆钛矿浆料运送至第一湿式磁选机3进行湿选工艺。First of all, the stage of feeding zirconium-titanium sand slurry and removing impurities: in slurry tank 1, the zirconium-titanium ore raw material and water are slurryed according to a certain ratio, usually the ratio of zirconium-titanium ore sand raw material is 5%, and the ratio of water is 95% % is mixed in the slurry tank 1, the outlet of the slurry tank 1 is connected to the inlet of the impurity removal vibrating screen 2 through a pipeline, the zirconium-titanium ore sand slurry is powered by a pump, and the impurity removal vibrating screen 2 pairs zirconium titanium Impurities such as crushed stones and branches and leaves in the ore pulp are screened; the impurity removal vibrating screen 2 includes an ore pulp discharge port; The zirconium-titanium slurry after impurity removal and screening is transported to the first wet magnetic separator 3 for wet separation process.
锆钛矿的湿选脱水工艺:第一湿式磁选机3采用湿式永磁滚筒磁选机,永磁磁选机不耗电,节约能源,降低成本投入,且选矿效果稳定;第一湿式磁选机3包括钛中矿出料口和锆中矿出料口;锆钛矿浆料进入第一湿式磁选机3后会被第一次筛分出锆中矿和钛中矿,钛中矿为磁性矿料,锆中矿为非磁性矿料;第一湿式磁选机3筛分出的钛中矿从钛中矿出料口中筛分出,后被运输至过滤机4的进料口,过滤机4将第一湿式磁选机3筛分出的钛中矿浆料脱水处理,形成含水量在5%左右的钛中矿,从而由过滤机4的出料口被传送带运输至上料系统5等待干选工艺。Wet separation and dehydration process of zirconium-titanium ore: the first wet magnetic separator 3 adopts a wet permanent magnetic drum magnetic separator, the permanent magnetic magnetic separator does not consume power, saves energy, reduces cost input, and has a stable beneficiation effect; the first wet magnetic separator Separator 3 includes titanium medium ore discharge port and zirconium medium ore discharge port; after zirconium titanium ore slurry enters the first wet magnetic separator 3, zirconium medium ore and titanium medium ore will be screened out for the first time, titanium medium ore The ore is a magnetic mineral material, and the zirconium medium ore is a non-magnetic mineral material; the titanium medium ore screened out by the first wet magnetic separator 3 is screened out from the titanium medium ore discharge port, and then transported to the feed of the filter 4 The filter 4 dehydrates the titanium medium ore slurry screened out by the first wet magnetic separator 3 to form titanium medium ore with a water content of about 5%, so that it is transported by the conveyor belt from the discharge port of the filter 4 to the upper The material system 5 waits for the dry selection process.
钛中矿的干选工艺:上料系统5包括钛中矿的存储车间和上料平台,上料系统5并不限于存储车间及上料平台,只是作为脱水处理后的钛中矿存储和运输使用,也可以直接将脱水后的矿料运输至下一步工序;上料系统5的钛中矿来自于经过过滤机4脱水后的钛中矿矿料,钛中矿由上料系统5的出料口通过第一传送带6连接回转干燥窑7的进料口;回转干燥窑7用于将脱水后的钛中矿进行烘干干燥处理,形成干燥的钛中矿矿料;回转干燥窑7的对矿料烘干的能源来源通常为天然气或其他能源供给用以烘干;由回转干燥窑7的出料口出来的钛中矿矿料温度较高,在90℃左右;无法直接用以干选,回转干燥窑7的出料口连接冷却窑8的进料口;冷却窑8将由回转干燥窑7烘干后的钛中矿进行冷却处理,进而冷却窑8的出料口连接干式磁选机组9,将干燥并冷却后的钛中矿矿料运送至干式磁选机组9进行矿料细分筛选。Dry separation process of titanium middlings: the feeding system 5 includes the storage workshop and feeding platform of titanium middlings, and the feeding system 5 is not limited to the storage workshop and loading platform, but only used for storage and transportation of dehydrated titanium middlings use, and the dehydrated mineral material can also be directly transported to the next step; the titanium medium ore of the feeding system 5 comes from the titanium medium ore mineral material dehydrated by the filter 4, and the titanium medium ore is discharged from the feeding system 5 The feed port is connected to the feed port of the rotary drying kiln 7 through the first conveyor belt 6; the rotary drying kiln 7 is used to dry and dry the dehydrated titanium medium ore to form dry titanium medium ore mineral material; the rotary drying kiln 7 The energy source for drying the mineral material is usually natural gas or other energy supply for drying; the titanium medium ore mineral material coming out of the outlet of the rotary drying kiln 7 has a relatively high temperature, about 90 °C; it cannot be directly used for drying. Select, the discharge port of rotary drying kiln 7 is connected with the feed port of cooling kiln 8; Cooling kiln 8 will carry out cooling treatment to the titanium medium ore after drying by rotary drying kiln 7, and then the discharge port of cooling kiln 8 is connected dry magnetic The separation unit 9 transports the dried and cooled titanium middling ore to the dry magnetic separation unit 9 for subdivision and screening of the mineral materials.
实施例2:相对于实施例1,本实施例所做的进一步改进在于;Embodiment 2: Compared with Embodiment 1, the further improvement of this embodiment lies in;
如图2所示,在锆钛矿的湿选脱水工艺中,第一湿式磁选机3的锆中矿出料口处还通过管路连接有第二湿式磁选机10;经过第一湿式磁选机3筛分出的锆中矿矿料中在一次筛选后还夹杂含有部分的钛中矿,通过第二湿式磁选机10进行筛选,提升锆中矿与钛中矿的筛分纯度;第二湿式磁选机10与第一湿式磁选机3结构一致,第二湿式磁选机10具有锆中矿出料口和钛中矿出料口,经过第二湿式磁选机10筛分出的钛中矿矿料在钛中矿出料口处运输至过滤机4中脱水处理,进而运输至上料系统5;而二次筛分后的锆中矿矿料进入锆中矿筛选工艺中去。第二湿式磁选机10之后还可以进而串联更多的湿式磁选机,并不局限于一组第二湿式磁选机10的限制。通过使用以上技术方案,对锆钛矿浆料多次提纯分离锆中矿与钛中矿,提升筛分精度。As shown in Figure 2, in the wet separation and dehydration process of zirconium-titanium ore, the zirconium medium ore discharge port of the first wet magnetic separator 3 is also connected with the second wet
在钛中矿的干选工艺中,其中,干式磁选机组9包括第一干式磁选机91和第二干式磁选机92;干式磁选机组9采用干式永磁筒式磁选机,干式永磁筒式磁选机的磁选筒为碳纤维滚筒,碳纤维滚筒区别于传统的铜材料制成的磁选滚筒,其既保证了筒体本身材质的硬度需求,更重要的是,碳纤维滚筒不会在钛中矿筛选过程中发热,导致磁选的效果降低,第一干式磁选机91的进料口连接冷却窑8的出料口;第一干式磁选机91包括铁精矿出料口、钛精矿出料口和混料出料口;冷却窑8出料口处产出的冷却后的钛中矿矿料温度已经达到干选温度要求,根据钛中矿矿料中各种矿料的磁性不同;第一干式磁选机91将钛中矿矿料分选出铁精矿、钛精矿和混合矿料;分选出的铁精矿和钛精矿通过运输带运输存储;剩余混合矿料由第一干式磁选机91的混料出料口连接第二干式磁选机92,通过第二干式磁选机92再次进行筛分工作,分出钛精矿、石榴石中矿和锆中矿等矿料,同时,由冷却窑8的出料口出来的钛中矿矿料也可直接进入第二干式磁选机92的入口,直接进行矿料筛分工作。In the dry separation process of titanium medium ore, the dry magnetic separation unit 9 includes a first dry
通过设置的第二湿式磁选机10优化锆钛矿中锆中矿与钛中矿的湿法磁选分离工艺过程,提升钛中矿与锆中矿各自筛选后的纯度,通过设置的第一干式磁选机91和第二干式磁选机92,优化钛中矿的筛选分选工艺过程,提高筛选后的锆中矿、钛精矿和铁精矿等多种矿料的筛选后的纯度,从而产生巨大的经济效益。Optimize the wet magnetic separation process of zirconium ore and titanium medium ore in zirconium-titanium ore through the second wet
实施例3:相较于实施例1或实施例2的技术方案,本实施例做的进一步改进在于:Embodiment 3: Compared with the technical solution of Embodiment 1 or Embodiment 2, the further improvement of this embodiment lies in:
如图2所示,在除杂振动筛2与第一湿式磁选机3之间还增设有除泥系统11;除泥系统11包括除泥旋流器111和沉降处理系统112;除杂振动筛2将由矿浆出料口筛分除杂后的锆钛矿浆料运输进除泥旋流器111的进料口;除泥旋流器111的作用在于实现锆钛矿浆料夹杂含有的尘土泥浆分离筛选出来,对锆钛矿浆料进行筛洗降低尘土量;除泥旋流器111包括矿浆出料口和泥浆出料口;除泥旋流器111的矿浆出料口连接第一湿式磁选机3的进料口;由除泥旋流器111中的矿浆出料口出来的为筛选出泥浆后的锆钛矿浆料,进入湿法筛选工艺;而除泥旋流器111的泥浆出料口流出的尘土泥浆被运输至沉降处理系统112;沉降处理系统112包括浓密机1121和板状压滤机1122,除泥旋流器111的泥浆出料口连接浓密机1121的进料口,浓密机1121的作用为将尘土泥浆进行沉降处理,浓密机1121包括清水口和底流口;尘土泥浆在沉降后,沉降后上层的清液会从浓密机1121的清水口流出,而泥浆沉降至浓密机1121的底流口,运送至板状压滤机1122进行处理。As shown in Figure 2, a
其中在冷却窑8与第一干式磁选机91之间还设置有破碎振动筛13,在进行干选筛选工艺之前,对冷却窑8中产出的矿料进行筛碎细沙化处理,粉碎凝固块,以保证后续的干式磁选机组9的磁选效果,提高选矿纯度。Wherein between the cooling kiln 8 and the first dry
通过在筛选分选系统中增设的除泥系统11,对锆钛矿在进行分选工序前进行除泥和除尘处理,有效提高了后续中需要筛分出来的矿料的筛选后的纯度,降低了矿料中的尘土度,提高纯度后的矿料更具有经济价值,同时,除泥系统11大大降低了矿料中的尘土含量后,在后续的干选工艺中可以极大程度上降低车间内尘土、粉尘的含量,从而使生产车间内的环境得到改善和降低对车间内工作人员的危害。By adding the
实施例4:相对于实施例1、实施例2和实施例3,本实施例的技术方案对筛选分选系统的进一步改进之处在于:Embodiment 4: Compared with Embodiment 1, Embodiment 2 and Embodiment 3, the further improvement of the technical solution of this embodiment to the screening and sorting system lies in:
如图2所示,在上料系统5的出料口处还增设第二传送带12,上料系统5的出料口还连通第二传送带12,第二传送带12将由上料系统5供给的钛中矿湿料直接传送至冷却窑8的进料口;其原理为:由上料系统5供给的钛中矿矿料是经由过滤机4脱水得来的,过滤机4脱水后其钛中矿矿料中还含有一定的水分,通常为5%左右,上料系统5的出料口分别将矿料传送至第一传送带6和第二传送带12;第一传送带6上的钛中矿矿料经回转干燥窑7烘干处理,从而得到干燥的钛中矿矿料,温度大概为90℃左右,不满足干式筛分温度要求,而第二传送带12上的有湿度的钛中矿矿料在进入冷却窑8之前与被干燥过后的钛中矿矿料混合,利用干燥后的钛中矿矿料的余温将有湿度的钛中矿矿料烘干,由于回转干燥窑7烘干需要的热量需要烧天然气获得,第二传送带12的设计可以节省一部分钛中矿湿矿料的烘干成本,一吨矿料的烘干大约需要投入八个立方左右的天然气,大大降低了天然气的使用量,降低成本投入,同时可以提升产能。As shown in Figure 2, a
实施例5:本实施例与实施例1、实施例2和实施例3的筛选分选过程相比,如图1-图3所示,在湿法磁选工艺阶段还包含有循环水系统14,循环水系统14实现整个湿法磁选工艺阶段的水量供给与循环,循环水系统14分别管路连接化浆池1与第一湿式磁选机3,循环水系统14通过管路连接化浆池11,将锆钛矿矿砂与水按一定比例混合,形成锆钛矿砂浆进行湿法磁选工艺,循环水系统14分别管路连接至除杂振动筛2、第一湿式磁选及3和第二湿式磁选机10;用以提供补充磁选过程用水,同时在浓密机1121、过滤机4和磁选机等设备上都连通有回水管路至循环水系统,从而形成整个湿法磁选阶段的水循环。Embodiment 5: Compared with the screening and sorting process of Embodiment 1, Embodiment 2 and Embodiment 3 in this embodiment, as shown in Figures 1-3, a circulating water system 14 is also included in the wet magnetic separation process stage , the circulating water system 14 realizes the water supply and circulation in the whole wet magnetic separation process stage, the circulating water system 14 is respectively connected with the slurry tank 1 and the first wet magnetic separator 3 by pipelines, and the circulating water system 14 is connected with the slurry through the pipeline In the
以上所述,仅是本发明的较佳实施例而已,并非是对本发明作其他形式的限制,任何熟悉本专业的技术人员可能利用上述揭示的技术内容加以变更或改型为等同变化的等效实施例应用于其他领域,但是凡是未脱离本发明技术方案内容,依据本发明的技术实质对以上实施例所作的任何简单修改、等同变化,仍属于本发明技术方案的保护范围。The above is only a preferred embodiment of the present invention, and is not intended to limit the present invention to other forms. Any skilled person who is familiar with this profession may use the technical content disclosed above to change or modify the equivalent of the equivalent change. The embodiments are applied to other fields, but any simple modification or equivalent change made to the above embodiments according to the technical essence of the present invention still belongs to the protection scope of the technical solutions of the present invention, as long as they do not depart from the content of the technical solutions of the present invention.
Claims (10)
Priority Applications (1)
| Application Number | Priority Date | Filing Date | Title |
|---|---|---|---|
| CN202211080012.0A CN115445758A (en) | 2022-09-05 | 2022-09-05 | Titanium ore screening and sorting system in zircalite |
Applications Claiming Priority (1)
| Application Number | Priority Date | Filing Date | Title |
|---|---|---|---|
| CN202211080012.0A CN115445758A (en) | 2022-09-05 | 2022-09-05 | Titanium ore screening and sorting system in zircalite |
Publications (1)
| Publication Number | Publication Date |
|---|---|
| CN115445758A true CN115445758A (en) | 2022-12-09 |
Family
ID=84303853
Family Applications (1)
| Application Number | Title | Priority Date | Filing Date |
|---|---|---|---|
| CN202211080012.0A Pending CN115445758A (en) | 2022-09-05 | 2022-09-05 | Titanium ore screening and sorting system in zircalite |
Country Status (1)
| Country | Link |
|---|---|
| CN (1) | CN115445758A (en) |
Cited By (1)
| Publication number | Priority date | Publication date | Assignee | Title |
|---|---|---|---|---|
| CN117483104A (en) * | 2023-11-20 | 2024-02-02 | 江苏域潇锆钛矿业有限公司 | Real-time monitoring type multistage magnetic separation device for perovskite and magnetic separation method thereof |
Citations (5)
| Publication number | Priority date | Publication date | Assignee | Title |
|---|---|---|---|---|
| CN102585867A (en) * | 2012-03-08 | 2012-07-18 | 无锡亿恩科技股份有限公司 | System for conditioning through coking charge coal humidity difference |
| CN109647609A (en) * | 2019-01-14 | 2019-04-19 | 乌拉特中旗毅腾矿业有限责任公司 | A kind of raw coal initial stage cleaning treatment technique |
| CN211026695U (en) * | 2019-11-08 | 2020-07-17 | 广东粤桥新材料科技有限公司 | Titanium zirconium placer is washed ore deposit in succession and is desliming, edulcoration device |
| CN112517229A (en) * | 2020-11-18 | 2021-03-19 | 广东粤桥新材料科技有限公司 | Beneficiation system and beneficiation method for seaside titanium zirconium placer |
| CN113751196A (en) * | 2021-09-01 | 2021-12-07 | 广东粤桥新材料科技有限公司 | Beneficiation method for recovering monazite from seaside titanium zircon sand |
-
2022
- 2022-09-05 CN CN202211080012.0A patent/CN115445758A/en active Pending
Patent Citations (5)
| Publication number | Priority date | Publication date | Assignee | Title |
|---|---|---|---|---|
| CN102585867A (en) * | 2012-03-08 | 2012-07-18 | 无锡亿恩科技股份有限公司 | System for conditioning through coking charge coal humidity difference |
| CN109647609A (en) * | 2019-01-14 | 2019-04-19 | 乌拉特中旗毅腾矿业有限责任公司 | A kind of raw coal initial stage cleaning treatment technique |
| CN211026695U (en) * | 2019-11-08 | 2020-07-17 | 广东粤桥新材料科技有限公司 | Titanium zirconium placer is washed ore deposit in succession and is desliming, edulcoration device |
| CN112517229A (en) * | 2020-11-18 | 2021-03-19 | 广东粤桥新材料科技有限公司 | Beneficiation system and beneficiation method for seaside titanium zirconium placer |
| CN113751196A (en) * | 2021-09-01 | 2021-12-07 | 广东粤桥新材料科技有限公司 | Beneficiation method for recovering monazite from seaside titanium zircon sand |
Cited By (2)
| Publication number | Priority date | Publication date | Assignee | Title |
|---|---|---|---|---|
| CN117483104A (en) * | 2023-11-20 | 2024-02-02 | 江苏域潇锆钛矿业有限公司 | Real-time monitoring type multistage magnetic separation device for perovskite and magnetic separation method thereof |
| CN117483104B (en) * | 2023-11-20 | 2024-09-03 | 江苏域潇锆钛矿业有限公司 | Real-time monitoring type multistage magnetic separation device for perovskite and magnetic separation method thereof |
Similar Documents
| Publication | Publication Date | Title |
|---|---|---|
| CN105597915B (en) | The wide dual Jie's whole coarse slime separating process of grade can be achieved in one kind | |
| CN102500596B (en) | Red mud harmless comprehensive recycling technology suitable for Bayer process | |
| CN110201791B (en) | Comprehensive utilization method of sandy kaolin tailings containing tourmaline, muscovite and quartz sand | |
| CN101693928B (en) | Method for purifying primarily selected slag steel | |
| CN101318159B (en) | Process for recycling Anshan type lean octahedral iron ore mine tailing | |
| CN111644264B (en) | A heavy-magnetic combined separation process for gasification slag | |
| CN110328047B (en) | Method for preparing ceramic raw material from granite stone sawn mud stone powder | |
| CN113751183B (en) | Method for recycling carbon residue from gasified black water fine slag and reducing calcium and magnesium in tailings | |
| CN103230832B (en) | Mineral processing method for recovering fine-grained iron from iron oxide ore strong magnetic separation tailings | |
| CN108380379A (en) | A kind of low-grade magnetic mirror iron ore efficient and environment-friendly type beneficiation method | |
| CN106216082A (en) | Low-grade Anshan type iron mine composite ore ore-dressing technique | |
| CN110038719A (en) | A kind of beneficiation method of electrical stone ore comprehensive utilization | |
| CN106311438A (en) | Low-grade Anshan magnetite beneficiation process | |
| CN105381866A (en) | Beneficiation method for extracting iron and carbon from blast furnace bag dust | |
| CN105665133B (en) | A kind of comprehensive reutilization method of stone material tailing resource | |
| CN214021353U (en) | Gravity-flotation combined separation system for refractory fluorite ores | |
| CN115430517A (en) | Anshan type maghemite sectional grinding, heavy-magnetic process flow | |
| CN114308375A (en) | A kind of gold tailings resource utilization and harmless disposal method | |
| CN100430145C (en) | Method for magnetic separating of aluminum and iron in high iron bauxite | |
| CN115445758A (en) | Titanium ore screening and sorting system in zircalite | |
| CN109847923B (en) | Recovery process of extremely-poor weathered primary ilmenite | |
| CN103252286B (en) | Method for using dense medium to sort coal-series kaolinite rocks in gangues | |
| CN204544408U (en) | Iron ore of low ore grade ore-dressing plant | |
| CN117619554A (en) | An ore dressing process for recovering iron from magnetite tailings | |
| CN209989272U (en) | A system for preparing magnesia from low-grade magnesite |
Legal Events
| Date | Code | Title | Description |
|---|---|---|---|
| PB01 | Publication | ||
| PB01 | Publication | ||
| SE01 | Entry into force of request for substantive examination | ||
| SE01 | Entry into force of request for substantive examination | ||
| RJ01 | Rejection of invention patent application after publication |
Application publication date: 20221209 |
|
| RJ01 | Rejection of invention patent application after publication |
