CN115445278A - Urban sewage treatment equipment capable of avoiding blockage - Google Patents
Urban sewage treatment equipment capable of avoiding blockage Download PDFInfo
- Publication number
- CN115445278A CN115445278A CN202211251202.4A CN202211251202A CN115445278A CN 115445278 A CN115445278 A CN 115445278A CN 202211251202 A CN202211251202 A CN 202211251202A CN 115445278 A CN115445278 A CN 115445278A
- Authority
- CN
- China
- Prior art keywords
- umbrella
- filter screen
- box
- vibration
- blow
- Prior art date
- Legal status (The legal status is an assumption and is not a legal conclusion. Google has not performed a legal analysis and makes no representation as to the accuracy of the status listed.)
- Pending
Links
- 239000010865 sewage Substances 0.000 title claims abstract description 81
- 230000005540 biological transmission Effects 0.000 claims abstract description 23
- 238000001914 filtration Methods 0.000 claims abstract description 13
- 238000007789 sealing Methods 0.000 claims abstract description 8
- XLYOFNOQVPJJNP-UHFFFAOYSA-N water Substances O XLYOFNOQVPJJNP-UHFFFAOYSA-N 0.000 claims description 26
- 238000000746 purification Methods 0.000 claims description 8
- 238000000034 method Methods 0.000 claims description 4
- 230000000694 effects Effects 0.000 claims description 3
- 239000008213 purified water Substances 0.000 claims description 3
- 238000004140 cleaning Methods 0.000 abstract description 5
- 239000002351 wastewater Substances 0.000 description 7
- 238000010586 diagram Methods 0.000 description 4
- 239000005416 organic matter Substances 0.000 description 3
- 230000007774 longterm Effects 0.000 description 2
- 238000012986 modification Methods 0.000 description 2
- 230000004048 modification Effects 0.000 description 2
- 241000894006 Bacteria Species 0.000 description 1
- 208000035473 Communicable disease Diseases 0.000 description 1
- XSQUKJJJFZCRTK-UHFFFAOYSA-N Urea Chemical compound NC(N)=O XSQUKJJJFZCRTK-UHFFFAOYSA-N 0.000 description 1
- 241000700605 Viruses Species 0.000 description 1
- XKMRRTOUMJRJIA-UHFFFAOYSA-N ammonia nh3 Chemical compound N.N XKMRRTOUMJRJIA-UHFFFAOYSA-N 0.000 description 1
- 238000003287 bathing Methods 0.000 description 1
- 230000009286 beneficial effect Effects 0.000 description 1
- 239000004202 carbamide Substances 0.000 description 1
- 235000014633 carbohydrates Nutrition 0.000 description 1
- 150000001720 carbohydrates Chemical class 0.000 description 1
- 235000013601 eggs Nutrition 0.000 description 1
- 238000005516 engineering process Methods 0.000 description 1
- 239000003344 environmental pollutant Substances 0.000 description 1
- DNJIEGIFACGWOD-UHFFFAOYSA-N ethanethiol Chemical compound CCS DNJIEGIFACGWOD-UHFFFAOYSA-N 0.000 description 1
- 208000015181 infectious disease Diseases 0.000 description 1
- 230000002458 infectious effect Effects 0.000 description 1
- 238000009434 installation Methods 0.000 description 1
- 230000000968 intestinal effect Effects 0.000 description 1
- 244000000010 microbial pathogen Species 0.000 description 1
- 235000015097 nutrients Nutrition 0.000 description 1
- 244000045947 parasite Species 0.000 description 1
- 244000052769 pathogen Species 0.000 description 1
- 231100000719 pollutant Toxicity 0.000 description 1
- 102000004169 proteins and genes Human genes 0.000 description 1
- 108090000623 proteins and genes Proteins 0.000 description 1
- 230000032258 transport Effects 0.000 description 1
- 238000005406 washing Methods 0.000 description 1
Images
Classifications
-
- B—PERFORMING OPERATIONS; TRANSPORTING
- B01—PHYSICAL OR CHEMICAL PROCESSES OR APPARATUS IN GENERAL
- B01D—SEPARATION
- B01D29/00—Filters with filtering elements stationary during filtration, e.g. pressure or suction filters, not covered by groups B01D24/00 - B01D27/00; Filtering elements therefor
- B01D29/11—Filters with filtering elements stationary during filtration, e.g. pressure or suction filters, not covered by groups B01D24/00 - B01D27/00; Filtering elements therefor with bag, cage, hose, tube, sleeve or like filtering elements
- B01D29/31—Self-supporting filtering elements
- B01D29/35—Self-supporting filtering elements arranged for outward flow filtration
-
- B—PERFORMING OPERATIONS; TRANSPORTING
- B01—PHYSICAL OR CHEMICAL PROCESSES OR APPARATUS IN GENERAL
- B01D—SEPARATION
- B01D29/00—Filters with filtering elements stationary during filtration, e.g. pressure or suction filters, not covered by groups B01D24/00 - B01D27/00; Filtering elements therefor
- B01D29/62—Regenerating the filter material in the filter
- B01D29/70—Regenerating the filter material in the filter by forces created by movement of the filter element
- B01D29/72—Regenerating the filter material in the filter by forces created by movement of the filter element involving vibrations
-
- B—PERFORMING OPERATIONS; TRANSPORTING
- B01—PHYSICAL OR CHEMICAL PROCESSES OR APPARATUS IN GENERAL
- B01D—SEPARATION
- B01D29/00—Filters with filtering elements stationary during filtration, e.g. pressure or suction filters, not covered by groups B01D24/00 - B01D27/00; Filtering elements therefor
- B01D29/88—Filters with filtering elements stationary during filtration, e.g. pressure or suction filters, not covered by groups B01D24/00 - B01D27/00; Filtering elements therefor having feed or discharge devices
- B01D29/94—Filters with filtering elements stationary during filtration, e.g. pressure or suction filters, not covered by groups B01D24/00 - B01D27/00; Filtering elements therefor having feed or discharge devices for discharging the filter cake, e.g. chutes
Landscapes
- Chemical & Material Sciences (AREA)
- Chemical Kinetics & Catalysis (AREA)
- Filtration Of Liquid (AREA)
Abstract
本发明公开了一种避免堵塞的城市污水处理设备,包括:处理箱,所述处理箱的内部安装有伞型过滤网,且伞型过滤网与处理箱活动连接,所述伞型过滤网的外壁上套装有两组密封圈,且密封圈皆与处理箱滑动连接,所述震动箱皆安装在处理箱的外壁上,且两组震动箱对称安装,并且两组震动箱皆位于伞型过滤网的两侧,所述传动块为两组,且传动块皆安装在震动箱的内部,且传动块的顶端皆延伸至震动箱的外部,所述传动块的顶端皆安装有震动块,所述震动块的顶端皆安装有环型架。本发明不仅实现了城市污水处理设备对滤网震动式过滤,加快了滤网表面污物的脱落,而且防止了滤网发生堵塞,提高了污物清理时的便利性。
The invention discloses an urban sewage treatment device for avoiding clogging, comprising: a treatment box, an umbrella-shaped filter screen is installed inside the treatment box, and the umbrella-shaped filter screen is movably connected with the treatment box, and the umbrella-shaped filter screen is There are two sets of sealing rings on the outer wall, and the sealing rings are slidingly connected with the treatment box. The vibration boxes are installed on the outer wall of the treatment box, and the two sets of vibration boxes are installed symmetrically, and the two sets of vibration boxes are located in the umbrella filter On both sides of the net, the transmission blocks are two groups, and the transmission blocks are installed inside the vibration box, and the tops of the transmission blocks extend to the outside of the vibration box, and the tops of the transmission blocks are all equipped with vibration blocks, so A ring frame is installed on the top of the vibrating block. The invention not only realizes the vibrating filtering of the filter screen by the urban sewage treatment equipment, accelerates the shedding of dirt on the surface of the filter screen, but also prevents the filter screen from being clogged, and improves the convenience of cleaning the dirt.
Description
技术领域technical field
本发明涉及城市污水处理设备技术领域,具体为一种避免堵塞的城市污水处理设备。The invention relates to the technical field of urban sewage treatment equipment, in particular to urban sewage treatment equipment that avoids clogging.
背景技术Background technique
生活污水是居民日常生活中排出的废水,主要来源于居住建筑和公共建筑,如住宅、机关、学校、医院、商店、公共场所及工业企业卫生间等。生活污水所含的污染物主要是有机物(如蛋白质、碳水化合物、脂肪、尿素、氨氮等) 和大量病原微生物(如寄生虫卵和肠道传染病毒等)。存在于生活污水中的有机物极不稳定,容易腐化而产生恶臭。细菌和病原体以生活污水中有机物为营养而大量繁殖,可导致传染病蔓延流行。因此,生活污水排放前必须进行处理。Domestic sewage is the wastewater discharged from residents' daily life, mainly from residential buildings and public buildings, such as residences, institutions, schools, hospitals, shops, public places and industrial enterprise toilets. The pollutants contained in domestic sewage are mainly organic matter (such as protein, carbohydrates, fat, urea, ammonia nitrogen, etc.) and a large number of pathogenic microorganisms (such as parasite eggs and intestinal infectious viruses, etc.). The organic matter present in domestic sewage is extremely unstable and easily rots to produce stench. Bacteria and pathogens reproduce in large numbers using organic matter in domestic sewage as nutrients, which can lead to the spread of infectious diseases. Therefore, domestic sewage must be treated before discharge.
随城市的发展,人口的急增,导致城市用水量剧增,进而出现了大量的城市污水,生活污水主要来源于人们的日常生活,包括冲洗废水、洗浴废水、厨房废水等,这类废水属于轻度污染污水,如果直接排放,不仅会浪费水资源,还会对环境造成污染,因此,应使用适当的设备来处理,避免堵塞的城市污水处理设备在城市污水处理中有着重要的应用。城市污水处理设备在对污水过滤净化时,1.由于污水中含有大量的颗粒污物,当滤网长时间过滤使用时极易发生堵塞,需要工作人员对滤网进行定期的清理,不利于对污水长时间高效的过滤;2.滤网对城市污水过滤时,污物粘附在滤网的内表面上,此时需要工作人员进行拆卸设备清除污物,此方式大大的增加了污物清理时的便利性,不利于对污物进行自动便捷的排出清除。With the development of the city, the rapid increase of the population has led to a sharp increase in urban water consumption, and a large amount of urban sewage has emerged. The domestic sewage mainly comes from people's daily life, including washing wastewater, bathing wastewater, kitchen wastewater, etc. This type of wastewater belongs to Slightly polluted sewage, if discharged directly, will not only waste water resources, but also pollute the environment. Therefore, appropriate equipment should be used for treatment, and urban sewage treatment equipment that avoids clogging has an important application in urban sewage treatment. When urban sewage treatment equipment is filtering and purifying sewage, 1. Due to the large amount of particulate dirt in the sewage, when the filter screen is used for long-term filtration, it is easy to be blocked. It is necessary for the staff to clean the filter screen regularly, which is not conducive to the Long-term efficient filtration of sewage; 2. When the filter screen filters urban sewage, the dirt adheres to the inner surface of the filter screen. At this time, the staff needs to disassemble the equipment to remove the dirt. This method greatly increases the dirt cleaning The convenience of time is not conducive to the automatic and convenient discharge and removal of dirt.
发明内容Contents of the invention
本发明的目的在于提供一种避免堵塞的城市污水处理设备,以解决上述背景技术中提出城市污水处理设备不便于对滤网震动式过滤,加快了滤网表面污物的脱落,提高污物清理时的便利性的问题。The object of the present invention is to provide a kind of urban sewage treatment equipment that avoids clogging, to solve the problem that the urban sewage treatment equipment in the above background technology is not convenient for vibrating filtering of the filter screen, which speeds up the shedding of dirt on the surface of the filter screen and improves the cleaning of dirt. The question of convenience.
为实现上述目的,本发明提供如下技术方案:一种避免堵塞的城市污水处理设备,包括:处理箱,所述处理箱的内部安装有伞型过滤网,且伞型过滤网与处理箱活动连接,所述伞型过滤网的外壁上套装有两组密封圈,且密封圈皆与处理箱滑动连接,所述震动箱皆安装在处理箱的外壁上,且两组震动箱对称安装,并且两组震动箱皆位于伞型过滤网的两侧,所述传动块为两组,且传动块皆安装在震动箱的内部,且传动块的顶端皆延伸至震动箱的外部,所述传动块的顶端皆安装有震动块,所述震动块的顶端皆安装有环型架,且环型架皆与伞型过滤网固定连接,所述第一旋转驱动件为两组,且第一旋转驱动件皆安装在震动箱的内部,所述第一旋转驱动件的输出端皆安装有齿轮,所述齿轮一侧的震动箱内部皆安装有齿盘,所述齿盘的外壁上皆安装有驱动臂,所述驱动臂的外壁上皆安装有摆臂,所述传动块的底端皆安装有驱动板,所述驱动板的底端皆与摆臂活动连接,所述驱动板的内部对称安装有限位杆,且限位杆的两端皆与震动箱相连接。In order to achieve the above object, the present invention provides the following technical solutions: a kind of urban sewage treatment equipment that avoids clogging, comprising: a treatment box, an umbrella filter is installed inside the treatment box, and the umbrella filter is movably connected with the treatment box , two sets of sealing rings are set on the outer wall of the umbrella filter, and the sealing rings are all slidably connected with the processing box, the vibration boxes are all installed on the outer wall of the processing box, and the two sets of vibration boxes are installed symmetrically, and the two The two sets of vibration boxes are located on both sides of the umbrella-shaped filter screen. The transmission blocks are two groups, and the transmission blocks are installed inside the vibration box, and the tops of the transmission blocks extend to the outside of the vibration box. Vibration blocks are installed on the top, and ring frames are installed on the top of the vibration blocks, and the ring frames are fixedly connected with the umbrella-shaped filter screen, the first rotary drive parts are two groups, and the first rotary drive parts All are installed inside the vibration box, gears are installed on the output end of the first rotary drive member, toothed plates are installed inside the vibration box on one side of the gears, and driving arms are installed on the outer walls of the toothed plates. , the outer wall of the drive arm is equipped with a swing arm, the bottom end of the transmission block is equipped with a drive plate, the bottom end of the drive plate is movably connected with the swing arm, and the internal symmetrical installation of the drive plate is limited. Position bar, and both ends of the limit bar are connected with the vibration box.
优选的,所述伞型过滤网下方的处理箱底端安装有转接套,所述转接套的底端安装有排污箱,所述排污箱的底端安装有第二旋转驱动件。Preferably, an adapter sleeve is installed at the bottom of the treatment box below the umbrella filter, a sewage discharge box is installed at the bottom of the adapter sleeve, and a second rotary drive member is installed at the bottom of the sewage discharge box.
优选的,所述第二旋转驱动件上方的排污箱内部安装有螺旋叶,所述排污箱的外壁上安装有排污管,所述排污管远离排污箱的一端皆安装有排污阀。Preferably, a screw blade is installed inside the blowdown box above the second rotating drive member, a blowdown pipe is installed on the outer wall of the blowdown box, and a blowdown valve is installed at the end of the blowdown pipe away from the blowdown box.
优选的,所述处理箱的顶端对称安装有进水管,且进水管的底端皆延伸至伞型过滤网的内部,所述伞型过滤网一侧的处理箱内部设有净化室,所述处理箱的外壁上对称安装有出水管,且出水管的一端皆延伸至净化室的内部。Preferably, a water inlet pipe is installed symmetrically on the top of the treatment box, and the bottom ends of the water inlet pipes all extend to the inside of the umbrella-shaped filter screen, and a clean room is provided inside the treatment box on one side of the umbrella-shaped filter screen. A water outlet pipe is symmetrically installed on the outer wall of the treatment box, and one end of the water outlet pipe extends to the inside of the clean room.
优选的,所述处理箱的底端安装有集污箱,所述集污箱的底端安装有泄水阀。Preferably, a sewage collection box is installed at the bottom of the treatment box, and a drain valve is installed at the bottom of the sewage collection box.
优选的,所述震动箱的外壁上安装有控制面板,所述控制面板的输出端与第一旋转驱动件、第二旋转驱动件的输入端电性连接。Preferably, a control panel is installed on the outer wall of the vibrating box, and the output end of the control panel is electrically connected to the input ends of the first rotary driver and the second rotary driver.
该设备的控制方法包括以下步骤:The control method of the device includes the following steps:
①城市污水由进水管进入伞型过滤网的内部,由伞型过滤网对污水进行过滤,污物遗留在伞型过滤网的内壁上,净化后的水进入净化室的内部,由出水管(23)进行输出;①Urban sewage enters the inside of the umbrella-shaped filter from the water inlet pipe, and the sewage is filtered by the umbrella-shaped filter. 23) output;
②当伞型过滤网长时间过滤后,污物极易粘附在伞型过滤网的网孔上,操作控制面板打开第一旋转驱动件,由第一旋转驱动件驱动齿轮旋转,在震动箱的支撑下,由齿轮驱动齿盘旋转,由齿盘驱动驱动臂摆动,由驱动臂驱动摆臂摆动,由摆臂驱动驱动板上下移动,驱动板在震动箱的内部滑动,限位杆对驱动板进行滑动支撑,由驱动板驱动传动块和震动块进行震动,由震动块驱动环型架和伞型过滤网进行震动,来加快伞型过滤网表面的污物脱落,来防止伞型过滤网发生堵塞,来提高伞型过滤网的过滤效果;②When the umbrella filter has been filtered for a long time, the dirt is easily adhered to the mesh of the umbrella filter. The operation control panel opens the first rotary drive, and the first rotary drive drives the gear to rotate. Under the support of the gear, the tooth plate is driven to rotate, the tooth plate drives the drive arm to swing, the drive arm drives the swing arm to swing, the swing arm drives the drive plate to move up and down, the drive plate slides inside the vibration box, and the limit rod drives The plate is supported by sliding, the drive plate drives the transmission block and the vibration block to vibrate, and the vibration block drives the ring frame and the umbrella filter to vibrate to speed up the falling off of the dirt on the surface of the umbrella filter and prevent the umbrella filter Blockage occurs to improve the filtering effect of the umbrella filter;
③通过伞型过滤网过滤后污物粘附在表面,在震动的驱动下,污物进入转接套的内部,操作控制面板打开第二旋转驱动件,由第二旋转驱动件驱动螺旋叶旋转,由螺旋叶对排污箱内部的污物进行输送,污物进入排污管的内部,由排污阀进行排出,再通过净化室内部的水源进入出水管的内部,净化室的部分水源进入集污箱的内部,由泄水阀进行排出,来完成城市污水处理设备的使用工作。③After filtering through the umbrella filter, the dirt adheres to the surface. Driven by the vibration, the dirt enters the inside of the adapter sleeve. The second rotary drive is opened by operating the control panel, and the second rotary drive drives the spiral blade to rotate. , the sewage inside the sewage tank is conveyed by the spiral blade, the sewage enters the interior of the sewage pipe, is discharged by the sewage valve, and then enters the interior of the outlet pipe through the water source inside the purification room, and part of the water source in the purification room enters the sewage collection box The interior of the waste water is discharged by the drain valve to complete the use of urban sewage treatment equipment.
与现有技术相比,本发明的有益效果是:该城市污水处理设备不仅实现了城市污水处理设备对滤网震动式过滤,加快了滤网表面污物的脱落,而且防止了滤网发生堵塞,提高了污物清理时的便利性;通过由第一旋转驱动件驱动齿轮旋转,由摆臂驱动驱动板上下移动,驱动板在震动箱的内部滑动,由震动块驱动环型架和伞型过滤网进行震动,来加快伞型过滤网表面的污物脱落,来防止伞型过滤网发生堵塞,实现了城市污水处理设备对滤网震动式过滤,加快了滤网表面污物的脱落,防止了滤网发生堵塞,方便了后续的污水处理。Compared with the prior art, the beneficial effect of the present invention is that the urban sewage treatment equipment not only realizes the vibratory filtration of the filter screen by the urban sewage treatment equipment, accelerates the shedding of dirt on the surface of the filter screen, but also prevents the filter screen from being clogged , which improves the convenience of dirt cleaning; through the rotation of the gear driven by the first rotary drive member, the swing arm drives the drive plate to move up and down, the drive plate slides inside the vibration box, and the ring frame and the umbrella are driven by the vibration block The filter screen vibrates to speed up the shedding of the dirt on the surface of the umbrella filter to prevent the clogging of the umbrella filter. It prevents the filter screen from clogging and facilitates the subsequent sewage treatment.
附图说明Description of drawings
图1为本发明的正视结构示意图;Fig. 1 is the front structural schematic diagram of the present invention;
图2为本发明的震动箱正视剖面结构示意图;Fig. 2 is the schematic diagram of the front view sectional structure of the vibrating box of the present invention;
图3为本发明的伞型过滤网正视剖面结构示意图;Fig. 3 is the front view sectional structure schematic diagram of umbrella filter net of the present invention;
图4为本发明的环型架俯视剖面结构示意图;Fig. 4 is the top view sectional structure schematic diagram of ring frame of the present invention;
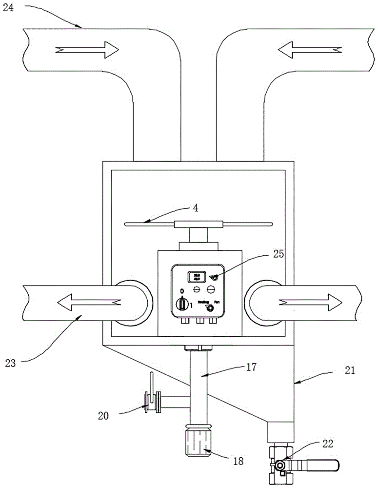
图中:1、处理箱;2、伞型过滤网;3、密封圈;4、环型架;5、震动块;6、传动块;7、驱动板;8、摆臂;9、齿盘;10、驱动臂;11、齿轮;12、第一旋转驱动件;13、限位杆;14、震动箱;15、净化室;16、螺旋叶;17、排污箱;18、第二旋转驱动件;19、排污管;20、排污阀;21、集污箱;22、泄水阀;23、出水管;24、进水管;25、控制面板;26、转接套。In the figure: 1. Treatment box; 2. Umbrella filter; 3. Seal ring; 4. Ring frame; 5. Vibration block; 6. Transmission block; 7. Drive plate; 8. Swing arm; ; 10, driving arm; 11, gear; 12, the first rotary drive member; 13, limit rod; 14, vibration box; 15, clean room; 16, spiral blade; 17, sewage box; 19. Sewage pipe; 20. Sewage valve; 21. Sewage collection tank; 22. Drain valve; 23. Outlet pipe; 24. Inlet pipe; 25. Control panel; 26. Adapter sleeve.
具体实施方式detailed description
下面将结合本发明实施例中的附图,对本发明实施例中的技术方案进行清楚、完整地描述。基于本发明中的实施例,本领域普通技术人员在没有做出创造性劳动前提下所获得的所有其他实施例,都属于本发明保护的范围。The following will clearly and completely describe the technical solutions in the embodiments of the present invention with reference to the drawings in the embodiments of the present invention. Based on the embodiments of the present invention, all other embodiments obtained by persons of ordinary skill in the art without making creative efforts belong to the protection scope of the present invention.
请参阅图1-4,本发明提供的一种实施例:一种避免堵塞的城市污水处理设备,包括:处理箱1,处理箱1的内部安装有伞型过滤网2,且伞型过滤网2与处理箱1活动连接,伞型过滤网2的外壁上套装有两组密封圈3,且密封圈3皆与处理箱1滑动连接;Please refer to Fig. 1-4, a kind of embodiment that the present invention provides: a kind of urban sewage treatment equipment that avoids clogging, comprises:
震动箱14皆安装在处理箱1的外壁上,且两组震动箱14对称安装,并且两组震动箱14皆位于伞型过滤网2的两侧;The
传动块6为两组,且传动块6皆安装在震动箱14的内部,且传动块6的顶端皆延伸至震动箱14的外部,传动块6与震动箱14滑动连接,传动块6的顶端皆安装有震动块5,震动块5的顶端皆安装有环型架4,且环型架4皆与伞型过滤网2固定连接;The
第一旋转驱动件12为两组,且第一旋转驱动件12皆安装在震动箱14的内部,第一旋转驱动件12起到动力驱动的作用,第一旋转驱动件12的输出端皆安装有齿轮11,齿轮11一侧的震动箱14内部皆安装有齿盘9,齿轮11与齿盘9相互啮合,齿盘9的外壁上皆安装有驱动臂10;The first
驱动臂10与齿盘9固定连接,驱动臂10的外壁上皆安装有摆臂8,摆臂8与驱动臂10活动连接,传动块6的底端皆安装有驱动板7,驱动板7的底端皆与摆臂8活动连接,驱动板7的内部对称安装有限位杆13,且限位杆13的两端皆与震动箱14相连接,限位杆13与驱动板7滑动连接;The drive arm 10 is fixedly connected with the gear plate 9, and the outer wall of the drive arm 10 is equipped with a
使用时,通过城市污水由进水管24进入伞型过滤网2的内部,由伞型过滤网2对污水进行过滤,污物遗留在伞型过滤网2的内壁上,净化后的水进入净化室15的内部,由出水管23进行输出,当伞型过滤网2长时间过滤后,污物极易粘附在伞型过滤网2的网孔上,操作控制面板25打开第一旋转驱动件12,由第一旋转驱动件12驱动齿轮11旋转,在震动箱14的支撑下,由齿轮11驱动齿盘9旋转,由齿盘9驱动驱动臂10摆动,由驱动臂10驱动摆臂8摆动,由摆臂8驱动驱动板7上下移动,驱动板7在震动箱14的内部滑动,限位杆13对驱动板7进行滑动支撑,由驱动板7驱动传动块6和震动块5进行震动,由震动块5驱动环型架4和伞型过滤网2进行震动,来加快伞型过滤网2表面的污物脱落,来防止伞型过滤网2发生堵塞,来提高伞型过滤网2的过滤效果,实现了城市污水处理设备对滤网震动式过滤,加快了滤网表面污物的脱落,防止了滤网发生堵塞,方便了后续的污水处理;During use, urban sewage enters the inside of the
伞型过滤网2下方的处理箱1底端安装有转接套26,转接套26的底端安装有排污箱17,排污箱17的底端安装有第二旋转驱动件18,第二旋转驱动件18起到动力驱动的作用,第二旋转驱动件18上方的排污箱17内部安装有螺旋叶16,排污箱17的外壁上安装有排污管19,排污管19延伸至排污箱17的内部,排污管19远离排污箱17的一端皆安装有排污阀20;The bottom end of the
使用时,通过伞型过滤网2过滤后污物粘附在表面,在震动的驱动下,污物进入转接套26的内部,操作控制面板25打开第二旋转驱动件18,由第二旋转驱动件18驱动螺旋叶16旋转,由螺旋叶16对排污箱17内部的污物进行输送,污物进入排污管19的内部,由排污阀20进行排出,实现了城市污水处理设备对污物便捷的过滤排出,提高了污物清理时的便利性;When in use, the dirt adheres to the surface after being filtered through the umbrella-shaped
处理箱1的顶端对称安装有进水管24,且进水管24的底端皆延伸至伞型过滤网2的内部,伞型过滤网2一侧的处理箱1内部设有净化室15,处理箱1的外壁上对称安装有出水管23,且出水管23的一端皆延伸至净化室15的内部,处理箱1的底端安装有集污箱21,集污箱21与净化室15相同,集污箱21的底端安装有泄水阀22,震动箱14的外壁上安装有控制面板25,控制面板25的输出端与第一旋转驱动件12、第二旋转驱动件18的输入端电性连接;The top of the
使用时,通过净化室15内部的水源进入出水管23的内部,净化室15的部分水源进入集污箱21的内部,由泄水阀22进行排出,实现了城市污水处理设备对水源便捷的排出使用。When in use, the water source inside the
本申请实施例在使用时:外接电源,城市污水由进水管24进入伞型过滤网2的内部,由伞型过滤网2对污水进行过滤,污物遗留在伞型过滤网2的内壁上,净化后的水进入净化室15的内部,由出水管23进行输出,当伞型过滤网2长时间过滤后,污物极易粘附在伞型过滤网2的网孔上,操作控制面板25打开第一旋转驱动件12,由第一旋转驱动件12驱动齿轮11旋转,在震动箱14的支撑下,由齿轮11驱动齿盘9旋转,由齿盘9驱动驱动臂10摆动,由驱动臂10驱动摆臂8摆动,由摆臂8驱动驱动板7上下移动,驱动板7在震动箱14的内部滑动,限位杆13对驱动板7进行滑动支撑,由驱动板7驱动传动块6和震动块5进行震动,由震动块5驱动环型架4和伞型过滤网2进行震动,来加快伞型过滤网2表面的污物脱落,来防止伞型过滤网2发生堵塞,来提高伞型过滤网2的过滤效果,之后通过伞型过滤网2过滤后污物粘附在表面,在震动的驱动下,污物进入转接套26的内部,操作控制面板25打开第二旋转驱动件18,由第二旋转驱动件18驱动螺旋叶16旋转,由螺旋叶16对排污箱17内部的污物进行输送,污物进入排污管19的内部,由排污阀20进行排出,再通过净化室15内部的水源进入出水管23的内部,净化室15的部分水源进入集污箱21的内部,由泄水阀22进行排出,来完成城市污水处理设备的使用工作。The embodiment of the present application is in use: external power supply, urban sewage enters the inside of the
显然,上述所描述的实施例仅仅是本发明一部分的实施例,而不是全部的实施例。基于本发明中的实施例,本领域普通技术人员在没有做出创造性劳动前提下所获得的所有其他实施例,都应当属于本发明保护的范围。Apparently, the above-described embodiments are only part of the embodiments of the present invention, not all of them. Based on the embodiments of the present invention, all other embodiments obtained by persons of ordinary skill in the art without making creative efforts shall fall within the protection scope of the present invention.
需要注意的是,这里所使用的术语仅是为了描述具体实施方式,而非意图限制根据本申请的示例性实施方式。如在这里所使用的,除非上下文另外明确指出,否则单数形式也意图包括复数形式,此外,还应当理解的是,当在本说明书中使用术语“包含”和/或“包括”时,其指明存在特征、步骤、工作、器件、组件和/或它们的组合。It should be noted that the terminology used here is only for describing specific implementations, and is not intended to limit the exemplary implementations according to the present application. As used herein, unless the context clearly dictates otherwise, the singular is intended to include the plural, and it should also be understood that when the terms "comprising" and/or "comprising" are used in this specification, they mean There are features, steps, operations, means, components and/or combinations thereof.
需要说明的是,本申请的说明书和权利要求书及上述附图中的术语“第一”、“第二”等是用于区别类似的对象,而不必用于描述特定的顺序或先后次序。应该理解这样使用的数据在适当情况下可以互换,以便这里描述的本申请的实施方式能够以除了在这里图示或描述的那些以外的顺序实施。It should be noted that the terms "first" and "second" in the description and claims of the present application and the above drawings are used to distinguish similar objects, but not necessarily used to describe a specific sequence or sequence. It is to be understood that the data so used are interchangeable under appropriate circumstances such that the embodiments of the application described herein can be practiced in sequences other than those illustrated or described herein.
以上仅为本发明的优选实施例而已,并不用于限制本发明,对于本领域的技术人员来说,本发明可以有各种更改和变化。凡在本发明的精神和原则之内,所作的任何修改、等同替换、改进等,均应包含在本发明的保护范围之内。The above are only preferred embodiments of the present invention, and are not intended to limit the present invention. For those skilled in the art, the present invention may have various modifications and changes. Any modifications, equivalent replacements, improvements, etc. made within the spirit and principles of the present invention shall be included within the protection scope of the present invention.
Claims (7)
Priority Applications (1)
| Application Number | Priority Date | Filing Date | Title |
|---|---|---|---|
| CN202211251202.4A CN115445278A (en) | 2022-10-13 | 2022-10-13 | Urban sewage treatment equipment capable of avoiding blockage |
Applications Claiming Priority (1)
| Application Number | Priority Date | Filing Date | Title |
|---|---|---|---|
| CN202211251202.4A CN115445278A (en) | 2022-10-13 | 2022-10-13 | Urban sewage treatment equipment capable of avoiding blockage |
Publications (1)
| Publication Number | Publication Date |
|---|---|
| CN115445278A true CN115445278A (en) | 2022-12-09 |
Family
ID=84308024
Family Applications (1)
| Application Number | Title | Priority Date | Filing Date |
|---|---|---|---|
| CN202211251202.4A Pending CN115445278A (en) | 2022-10-13 | 2022-10-13 | Urban sewage treatment equipment capable of avoiding blockage |
Country Status (1)
| Country | Link |
|---|---|
| CN (1) | CN115445278A (en) |
Citations (7)
| Publication number | Priority date | Publication date | Assignee | Title |
|---|---|---|---|---|
| CN110923909A (en) * | 2019-12-30 | 2020-03-27 | 江苏友诚数控科技有限公司 | Parallel beating-up and weft insertion mechanism |
| CN211258949U (en) * | 2019-12-28 | 2020-08-14 | 濮阳市迪亚石化机械有限公司 | Plunger pump with high-efficient filter equipment |
| CN213790254U (en) * | 2020-11-19 | 2021-07-27 | 周小娟 | Kitchen garbage sewage removes gred filter equipment fast |
| CN213823689U (en) * | 2020-11-27 | 2021-07-30 | 佛山市艾科达环保设备制造有限公司 | Sewage treatment equipment with filter plate cleaning function |
| WO2021201579A1 (en) * | 2020-04-01 | 2021-10-07 | 주식회사 로덱 | Filtering apparatus for lens polishing wastewater and system for reducing polishing wastewater |
| CN216497849U (en) * | 2021-12-10 | 2022-05-13 | 南京普宁船舶设计有限公司 | Sewage treatment equipment for overwater service area |
| CN218740543U (en) * | 2022-10-13 | 2023-03-28 | 广西科学院 | Urban sewage treatment equipment capable of avoiding blockage |
-
2022
- 2022-10-13 CN CN202211251202.4A patent/CN115445278A/en active Pending
Patent Citations (7)
| Publication number | Priority date | Publication date | Assignee | Title |
|---|---|---|---|---|
| CN211258949U (en) * | 2019-12-28 | 2020-08-14 | 濮阳市迪亚石化机械有限公司 | Plunger pump with high-efficient filter equipment |
| CN110923909A (en) * | 2019-12-30 | 2020-03-27 | 江苏友诚数控科技有限公司 | Parallel beating-up and weft insertion mechanism |
| WO2021201579A1 (en) * | 2020-04-01 | 2021-10-07 | 주식회사 로덱 | Filtering apparatus for lens polishing wastewater and system for reducing polishing wastewater |
| CN213790254U (en) * | 2020-11-19 | 2021-07-27 | 周小娟 | Kitchen garbage sewage removes gred filter equipment fast |
| CN213823689U (en) * | 2020-11-27 | 2021-07-30 | 佛山市艾科达环保设备制造有限公司 | Sewage treatment equipment with filter plate cleaning function |
| CN216497849U (en) * | 2021-12-10 | 2022-05-13 | 南京普宁船舶设计有限公司 | Sewage treatment equipment for overwater service area |
| CN218740543U (en) * | 2022-10-13 | 2023-03-28 | 广西科学院 | Urban sewage treatment equipment capable of avoiding blockage |
Similar Documents
| Publication | Publication Date | Title |
|---|---|---|
| CN110686334B (en) | Industrial production air purification equipment | |
| CN109364563B (en) | Domestic sewage filter equipment is used to environmental protection | |
| CN108147571A (en) | A diversion type double domestic sewage purification treatment device | |
| CN210766992U (en) | Sponge urban rainwater collection device | |
| CN218740543U (en) | Urban sewage treatment equipment capable of avoiding blockage | |
| CN208087331U (en) | A kind of sewage purifying and treating device with clearing function | |
| CN111498925A (en) | Sewage purification treatment device | |
| CN115445278A (en) | Urban sewage treatment equipment capable of avoiding blockage | |
| CN101224911A (en) | Fish pond circulating water multifunctional solid dirt separator | |
| CN211551868U (en) | Industrial production air purification equipment | |
| CN210699130U (en) | A high-efficiency sewage processor | |
| CN109607639A (en) | A kind of sewage purifying and treating device of municipal sewage pipe network | |
| CN210287032U (en) | Urban sewage treatment equipment | |
| CN221084887U (en) | Industrial wastewater purifying treatment device | |
| CN218202473U (en) | Municipal administration sewage integration treatment facility | |
| CN207276375U (en) | A kind of efficient domestic sewage purification device | |
| CN118145846A (en) | A kind of aquaculture wastewater ecological treatment device | |
| CN211595243U (en) | A waste water utilization device for a water purification system | |
| CN221759658U (en) | A multi-stage purification tank for producing urban sewage | |
| CN208586153U (en) | A kind of blowdown environment protecting power economizer | |
| CN216366083U (en) | Pollution discharge sterilization device of negative pressure suction system for oral medical treatment | |
| CN218516202U (en) | Domestic sewage solid-liquid separation equipment | |
| CN219792728U (en) | An integrated urban domestic sewage treatment device | |
| CN223628258U (en) | Waste water treatment dross removal mechanism | |
| CN221739997U (en) | Ultrafiltration membrane assembly for filtering wastewater |
Legal Events
| Date | Code | Title | Description |
|---|---|---|---|
| PB01 | Publication | ||
| PB01 | Publication | ||
| SE01 | Entry into force of request for substantive examination | ||
| SE01 | Entry into force of request for substantive examination | ||
| RJ01 | Rejection of invention patent application after publication |
Application publication date: 20221209 |
|
| RJ01 | Rejection of invention patent application after publication |
