CN115430791A - T beam web reinforcement skeleton processing equipment - Google Patents
T beam web reinforcement skeleton processing equipment Download PDFInfo
- Publication number
- CN115430791A CN115430791A CN202210919692.4A CN202210919692A CN115430791A CN 115430791 A CN115430791 A CN 115430791A CN 202210919692 A CN202210919692 A CN 202210919692A CN 115430791 A CN115430791 A CN 115430791A
- Authority
- CN
- China
- Prior art keywords
- long
- rib
- code material
- reinforcement
- processing equipment
- Prior art date
- Legal status (The legal status is an assumption and is not a legal conclusion. Google has not performed a legal analysis and makes no representation as to the accuracy of the status listed.)
- Granted
Links
Images
Classifications
-
- B—PERFORMING OPERATIONS; TRANSPORTING
- B21—MECHANICAL METAL-WORKING WITHOUT ESSENTIALLY REMOVING MATERIAL; PUNCHING METAL
- B21F—WORKING OR PROCESSING OF METAL WIRE
- B21F27/00—Making wire network, i.e. wire nets
- B21F27/08—Making wire network, i.e. wire nets with additional connecting elements or material at crossings
- B21F27/10—Making wire network, i.e. wire nets with additional connecting elements or material at crossings with soldered or welded crossings
-
- B—PERFORMING OPERATIONS; TRANSPORTING
- B21—MECHANICAL METAL-WORKING WITHOUT ESSENTIALLY REMOVING MATERIAL; PUNCHING METAL
- B21F—WORKING OR PROCESSING OF METAL WIRE
- B21F23/00—Feeding wire in wire-working machines or apparatus
- B21F23/005—Feeding discrete lengths of wire or rod
-
- B—PERFORMING OPERATIONS; TRANSPORTING
- B21—MECHANICAL METAL-WORKING WITHOUT ESSENTIALLY REMOVING MATERIAL; PUNCHING METAL
- B21F—WORKING OR PROCESSING OF METAL WIRE
- B21F27/00—Making wire network, i.e. wire nets
- B21F27/12—Making special types or portions of network by methods or means specially adapted therefor
-
- B—PERFORMING OPERATIONS; TRANSPORTING
- B23—MACHINE TOOLS; METAL-WORKING NOT OTHERWISE PROVIDED FOR
- B23K—SOLDERING OR UNSOLDERING; WELDING; CLADDING OR PLATING BY SOLDERING OR WELDING; CUTTING BY APPLYING HEAT LOCALLY, e.g. FLAME CUTTING; WORKING BY LASER BEAM
- B23K37/00—Auxiliary devices or processes, not specially adapted for a procedure covered by only one of the other main groups of this subclass
- B23K37/04—Auxiliary devices or processes, not specially adapted for a procedure covered by only one of the other main groups of this subclass for holding or positioning work
- B23K37/0426—Fixtures for other work
- B23K37/0435—Clamps
- B23K37/0443—Jigs
-
- B—PERFORMING OPERATIONS; TRANSPORTING
- B23—MACHINE TOOLS; METAL-WORKING NOT OTHERWISE PROVIDED FOR
- B23K—SOLDERING OR UNSOLDERING; WELDING; CLADDING OR PLATING BY SOLDERING OR WELDING; CUTTING BY APPLYING HEAT LOCALLY, e.g. FLAME CUTTING; WORKING BY LASER BEAM
- B23K37/00—Auxiliary devices or processes, not specially adapted for a procedure covered by only one of the other main groups of this subclass
- B23K37/04—Auxiliary devices or processes, not specially adapted for a procedure covered by only one of the other main groups of this subclass for holding or positioning work
- B23K37/0461—Welding tables
Landscapes
- Engineering & Computer Science (AREA)
- Mechanical Engineering (AREA)
- Physics & Mathematics (AREA)
- Optics & Photonics (AREA)
- Reinforcement Elements For Buildings (AREA)
- Load-Engaging Elements For Cranes (AREA)
Abstract
本发明属于盖梁制造技术领域,公开了一种T梁腹板钢筋骨架加工设备,包括:骨架台架,用于放置箍筋;通长筋接料架,用于承接通长筋;第一码料机构,驱动连接有夹紧机构,所述第一码料机构能驱动所述夹紧机构沿横向和纵向移动,所述夹紧机构用于夹紧所述通长筋;第二码料机构,驱动连接有扶筋机构,所述第二码料机构能驱动所述扶筋机构沿横向和纵向移动,所述扶筋机构用于支撑所述通长筋;第三码料机构,驱动连接有焊接机构,所述第三码料机构能驱动所述焊接机构沿横向和纵向移动,所述焊接机构用于焊接所述通长筋于所述箍筋上。本发明实现了通长筋的自动焊接,提高了自动化程度以及加工效率,降低了劳动强度。
The invention belongs to the technical field of cover beam manufacturing, and discloses a T-beam web reinforcement skeleton processing equipment, comprising: a skeleton stand, used for placing stirrups; a connecting frame for connecting long tendons, used for connecting long tendons; The code material mechanism is driven and connected with a clamping mechanism, the first code material mechanism can drive the clamp mechanism to move horizontally and vertically, and the clamp mechanism is used to clamp the long rib; the second code material Mechanism, the drive is connected with a reinforcement mechanism, and the second code material mechanism can drive the reinforcement mechanism to move horizontally and vertically, and the reinforcement mechanism is used to support the long rib; the third code material mechanism drives A welding mechanism is connected, the third loading mechanism can drive the welding mechanism to move horizontally and vertically, and the welding mechanism is used for welding the long bar on the stirrup. The invention realizes the automatic welding of long ribs, improves the degree of automation and processing efficiency, and reduces labor intensity.
Description
技术领域technical field
本发明涉及盖梁制造技术领域,尤其涉及一种T梁腹板钢筋骨架加工设备。The invention relates to the technical field of cap beam manufacturing, in particular to a T-beam web reinforcement skeleton processing equipment.
背景技术Background technique
如图1和图2所示,T梁腹板钢筋骨架包括箍筋100以及通长筋200,其中箍筋100由底部钢筋1001、马蹄筋1002以及长箍筋1003构成,多组马蹄筋1002和长箍筋1003分别间隔且竖直放置,底部钢筋1001依次铺设在马蹄筋1002和长箍筋1003的底部,通过焊接形成箍筋100,通长筋200设有多个并固定在马蹄筋1002和长箍筋1003的侧面。As shown in Figures 1 and 2, the T-beam web reinforcement skeleton includes
现有T梁腹板钢筋骨架的通长筋200,通常是人工对通长筋200进行单独加工,然后多人同步将上述通长筋200搬运到工位上,再逐一码放和绑扎,以备后续加工。但是由于工作区域分散,导致劳动强度大,生产效率低,不利于安全生产和施工。The
发明内容Contents of the invention
本发明的目的在于提供一种T梁腹板钢筋骨架加工设备,能够自动进行通长筋的焊接,提高了自动化程度以及加工效率,降低了劳动强度。The object of the present invention is to provide a T-beam web steel frame processing equipment, which can automatically weld the long bars, improves the degree of automation and processing efficiency, and reduces labor intensity.
为达此目的,本发明采用以下技术方案:For reaching this purpose, the present invention adopts following technical scheme:
一种T梁腹板钢筋骨架加工设备,包括:A T-beam web reinforcement skeleton processing equipment, comprising:
骨架台架,用于放置箍筋;Skeleton bench for placing stirrups;
通长筋接料架,用于承接通长筋;The connecting rack for long ribs is used for receiving long ribs;
第一码料机构,驱动连接有夹紧机构,所述第一码料机构能驱动所述夹紧机构沿横向和纵向移动,所述夹紧机构用于夹紧所述通长筋;The first coding mechanism is drivingly connected with a clamping mechanism, the first coding mechanism can drive the clamping mechanism to move horizontally and vertically, and the clamping mechanism is used to clamp the long rib;
第二码料机构,驱动连接有扶筋机构,所述第二码料机构能驱动所述扶筋机构沿横向和纵向移动,所述扶筋机构用于支撑所述通长筋;The second code material mechanism is driven and connected with a reinforcement mechanism, and the second code material mechanism can drive the reinforcement mechanism to move horizontally and vertically, and the reinforcement mechanism is used to support the long reinforcement;
第三码料机构,驱动连接有焊接机构,所述第三码料机构能驱动所述焊接机构沿横向和纵向移动,所述焊接机构用于焊接所述通长筋于所述箍筋上。The third coding mechanism is drivingly connected with a welding mechanism, the third coding mechanism can drive the welding mechanism to move horizontally and vertically, and the welding mechanism is used to weld the long bar on the stirrup.
作为优选,所述第一码料机构、所述第二码料机构以及所述第三码料机构均包括立柱,固定于所述立柱上的第一驱动件,由所述第一驱动件驱动沿所述立柱纵向移动的支座,安装于所述支座上的第二驱动件,由所述第二驱动件驱动横向移动的移动架。As a preference, the first coding mechanism, the second coding mechanism and the third coding mechanism all include a column, and the first driving member fixed on the column is driven by the first driving member A support that moves longitudinally along the column, a second driving member installed on the support, and a moving frame that moves laterally is driven by the second driving member.
作为优选,还包括第四码料机构,所述第四码料机构驱动连接有穿筋轮机构,所述第四码料机构能驱动所述穿筋轮机构沿横向和纵向移动,所述穿筋轮机构用于支撑所述通长筋。Preferably, it also includes a fourth code material mechanism, the fourth code material mechanism is driven and connected with a bead threading wheel mechanism, and the fourth code material mechanism can drive the bead threading wheel mechanism to move horizontally and vertically, and the thread threading wheel mechanism can move horizontally and vertically. The tendon wheel mechanism is used to support the long ribs.
作为优选,所述第四码料机构的结构与所述第一码料机构的结构相同。Preferably, the structure of the fourth coding mechanism is the same as that of the first coding mechanism.
作为优选,所述穿筋轮机构包括固定于所述第四码料机构上的穿筋轮固定座,沿横向转动设置于所述穿筋轮固定座上的第一穿筋轮,以及沿纵向转动设置于所述穿筋轮固定座上的两个第二穿筋轮,两个所述第二穿筋轮之间形成供所述通长筋通过的间隙,所述通长筋由所述第一穿筋轮支撑并由两个所述第二穿筋轮限位。As a preference, the threading wheel mechanism includes a threading wheel fixing seat fixed on the fourth code material mechanism, a first threading wheel arranged on the threading wheel fixing seat along the lateral rotation, and a longitudinal direction Rotate the two second threading wheels that are arranged on the fixed seat of the threading wheel, and form a gap for the passage of the long ribs between the two second wheel, and the long ribs are formed by the The first threading wheel is supported and limited by the two second threading wheels.
作为优选,所述夹紧机构包括安装于所述第一码料机构上的夹紧安装座,转动连接于所述夹紧安装座上的第一伸缩气缸,一端转动连接于所述第一伸缩气缸的输出端的第一活动夹爪,固定安装于所述第一码料机构上的第一固定夹爪,所述第一固定夹爪的一端转动连接于所述第一活动夹爪的中部,所述第一伸缩气缸能够驱动所述第一活动夹爪转动并与所述第一固定夹爪配合夹紧所述通长筋。Preferably, the clamping mechanism includes a clamping mounting seat installed on the first coding mechanism, a first telescopic cylinder that is rotatably connected to the clamping mounting seat, and one end is rotatably connected to the first telescopic cylinder. The first movable jaw at the output end of the cylinder is fixedly mounted on the first fixed jaw on the first coding mechanism, and one end of the first fixed jaw is rotatably connected to the middle part of the first movable jaw, The first telescopic cylinder can drive the first movable jaw to rotate and cooperate with the first fixed jaw to clamp the long rib.
作为优选,所述扶筋机构包括安装于所述第二码料机构上的扶筋安装座,转动连接于所述扶筋安装座上的第二伸缩气缸,一端转动连接于所述第二伸缩气缸的输出端的第二活动夹爪,固定安装于所述第二码料机构上的第二固定夹爪,所述第二固定夹爪的一端转动连接于所述第二活动夹爪的中部,所述第二伸缩气缸能驱动所述第二活动夹爪向所述第二固定夹爪转动,以使所述第二活动夹爪与所述第二固定夹爪配合形成供所述通长筋通过的支撑孔,所述支撑孔直径大于所述通长筋的直径。Preferably, the reinforcing bar mechanism includes a reinforcing bar mounting seat installed on the second coding mechanism, a second telescopic cylinder rotatably connected to the reinforcing bar mounting seat, and one end of which is rotatably connected to the second telescopic The second movable jaw at the output end of the cylinder is fixedly installed on the second fixed jaw on the second coding mechanism, and one end of the second fixed jaw is rotatably connected to the middle part of the second movable jaw, The second telescopic cylinder can drive the second movable jaw to rotate toward the second fixed jaw, so that the second movable jaw cooperates with the second fixed jaw to form a joint for the long rib The diameter of the support hole is larger than the diameter of the long rib.
作为优选,还包括布料轨道,所述布料轨道设置于所述通长筋接料架的一侧,所述第一码料机构、所述第二码料机构、所述第三码料机构以及所述第四码料机构置于所述布料轨道上且能沿所述布料轨道滑动。Preferably, it also includes a cloth track, the cloth track is arranged on one side of the long rib material receiving frame, the first code material mechanism, the second code material mechanism, the third code material mechanism and The fourth coding mechanism is placed on the cloth track and can slide along the cloth track.
作为优选,所述通长筋接料架、所述第一码料机构、所述第二码料机构、所述第三码料机构、所述第四码料机构以及所述布料轨道设置有两组且对称设置于所述骨架台架两侧。As a preference, the long rib material receiving frame, the first code material mechanism, the second code material mechanism, the third code material mechanism, the fourth code material mechanism and the cloth track are provided with Two groups are arranged symmetrically on both sides of the skeleton platform.
作为优选,还包括了调直剪切机构,所述调直剪切机构设置于所述通长筋接料架一端,用于对钢筋矫直并剪切,以形成所述通长筋。Preferably, a straightening and shearing mechanism is also included, the straightening and shearing mechanism is arranged at one end of the long bar material receiving frame, and is used for straightening and cutting steel bars to form the long bar.
本发明的有益效果:本发明通过夹紧机构夹紧通长筋,并通过扶筋机构支撑通长筋,随后通过第一码料机构带动夹紧机构,第二码料机构带动扶筋机构,以使得通长筋移动至箍筋对应位置,随后通过第三码料机构带动焊接机构,对通长筋和箍筋进行焊接,实现了通长筋的自动焊接,提高了自动化程度以及加工效率,降低了劳动强度。Beneficial effects of the present invention: the present invention clamps the long tendons through the clamping mechanism, supports the long tendons through the tendon supporting mechanism, and then drives the clamping mechanism through the first yarding mechanism, and drives the tendon supporting mechanism through the second yarding mechanism, In order to move the long ribs to the corresponding position of the stirrups, and then drive the welding mechanism through the third code material mechanism to weld the long ribs and stirrups, realize the automatic welding of the long ribs, improve the degree of automation and processing efficiency, Reduced labor intensity.
附图说明Description of drawings
图1是本发明提供的T梁腹板钢筋骨架的主视图;Fig. 1 is the front view of the T beam web reinforcement skeleton provided by the present invention;
图2是本发明提供的T梁腹板钢筋骨架的侧视图;Fig. 2 is the side view of the T beam web reinforcing bar skeleton provided by the present invention;
图3是本发明提供的T梁腹板钢筋骨架加工设备的主视图;Fig. 3 is the front view of the T-beam web reinforcement framework processing equipment provided by the present invention;
图4是本发明提供的T梁腹板钢筋骨架加工设备的俯视图;Fig. 4 is the top view of the T beam web reinforcement framework processing equipment provided by the present invention;
图5是本发明图3的A处放大示意图;Fig. 5 is an enlarged schematic diagram of A place of Fig. 3 of the present invention;
图6是本发明提供的夹紧机构的结构示意图;Fig. 6 is a schematic structural view of the clamping mechanism provided by the present invention;
图7是本发明提供的扶筋机构的结构示意图;Fig. 7 is a schematic structural view of the reinforcement mechanism provided by the present invention;
图8是本发明提供的穿筋轮机构的主视图;Fig. 8 is the front view of the rib-threading wheel mechanism provided by the present invention;
图9是本发明提供的穿筋轮机构的俯视图。Fig. 9 is a top view of the rib-threading wheel mechanism provided by the present invention.
图中:In the picture:
1、骨架台架;2、通长筋接料架;3、第一码料机构;31、立柱;32、第一驱动件;33、支座;34、第二驱动件;35、移动架;36、底座;37、驱动电机;38、驱动齿轮;4、夹紧机构;41、夹紧安装座;42、第一伸缩气缸;43、第一活动夹爪;44、第一固定夹爪;5、第二码料机构;6、扶筋机构;61、扶筋安装座;62、第二伸缩气缸;63、第二活动夹爪;64、第二固定夹爪;7、第三码料机构;8、第四码料机构;9、穿筋轮机构;91、穿筋轮固定座;92、第一穿筋轮;93、第二穿筋轮;10、布料轨道;101、驱动齿条;20、调直剪切机构;1. Skeleton platform; 2. Long rib receiving frame; 3. The first yarding mechanism; 31. Column; 32. The first driving part; 33. Support; 34. The second driving part; 35. Moving frame ; 36, base; 37, driving motor; 38, driving gear; 4, clamping mechanism; 41, clamping mount; 42, the first telescopic cylinder; 43, the first movable jaw; 44, the first fixed jaw ;5, the second code material mechanism; 6, the reinforcement mechanism; 61, the reinforcement mounting seat; 62, the second telescopic cylinder; 63, the second movable jaw; 64, the second fixed jaw; 7, the third code Material mechanism; 8, the fourth code material mechanism; 9, rib-threading wheel mechanism; 91, rib-threading wheel fixing seat; 92, the first rib-threading wheel; 93, the second rib-threading wheel; 10, cloth track; 101, drive Rack; 20. Straightening and shearing mechanism;
100、箍筋;1001、底部钢筋;1002、马蹄筋;1003、长箍筋;200、通长筋。100, stirrups; 1001, bottom steel bars; 1002, horseshoe bars; 1003, long stirrups; 200, long bars.
具体实施方式detailed description
下面结合附图和实施例对本发明作进一步的详细说明。可以理解的是,此处所描述的具体实施例仅仅用于解释本发明,而非对本发明的限定。另外还需要说明的是,为了便于描述,附图中仅示出了与本发明相关的部分而非全部结构。The present invention will be further described in detail below in conjunction with the accompanying drawings and embodiments. It should be understood that the specific embodiments described here are only used to explain the present invention, but not to limit the present invention. In addition, it should be noted that, for the convenience of description, only some structures related to the present invention are shown in the drawings but not all structures.
在本发明的描述中,除非另有明确的规定和限定,术语“相连”、“连接”、“固定”应做广义理解,例如,可以是固定连接,也可以是可拆卸连接,或成一体;可以是机械连接,也可以是电连接;可以是直接相连,也可以通过中间媒介间接相连,可以是两个元件内部的连通或两个元件的相互作用关系。对于本领域的普通技术人员而言,可以具体情况理解上述术语在本发明中的具体含义。In the description of the present invention, unless otherwise clearly specified and limited, the terms "connected", "connected" and "fixed" should be understood in a broad sense, for example, it can be a fixed connection, a detachable connection, or an integrated ; It can be a mechanical connection or an electrical connection; it can be a direct connection or an indirect connection through an intermediary, and it can be the internal communication of two components or the interaction relationship between two components. Those of ordinary skill in the art can understand the specific meanings of the above terms in the present invention in specific situations.
在本发明中,除非另有明确的规定和限定,第一特征在第二特征之“上”或之“下”可以包括第一和第二特征直接接触,也可以包括第一和第二特征不是直接接触而是通过它们之间的另外的特征接触。而且,第一特征在第二特征“之上”、“上方”和“上面”包括第一特征在第二特征正上方和斜上方,或仅仅表示第一特征水平高度高于第二特征。第一特征在第二特征“之下”、“下方”和“下面”包括第一特征在第二特征正下方和斜下方,或仅仅表示第一特征水平高度小于第二特征。In the present invention, unless otherwise clearly specified and limited, a first feature being "on" or "under" a second feature may include direct contact between the first and second features, and may also include the first and second features Not in direct contact but through another characteristic contact between them. Moreover, "above", "above" and "above" the first feature on the second feature include that the first feature is directly above and obliquely above the second feature, or simply means that the first feature is higher in level than the second feature. "Below", "under" and "under" the first feature to the second feature include that the first feature is directly below and obliquely below the second feature, or simply means that the first feature is less horizontally than the second feature.
在本实施例的描述中,术语“上”、“下”、“右”、等方位或位置关系为基于附图所示的方位或位置关系,仅是为了便于描述和简化操作,而不是指示或暗示所指的装置或元件必须具有特定的方位、以特定的方位构造和操作,因此不能理解为对本发明的限制。此外,术语“第一”、“第二”仅仅用于在描述上加以区分,并没有特殊的含义。In the description of this embodiment, the terms "up", "down", "right", and other orientations or positional relationships are based on the orientations or positional relationships shown in the drawings, and are only for the convenience of description and simplification of operations, rather than indicating Or imply that the device or element referred to must have a specific orientation, be constructed and operate in a specific orientation, and therefore should not be construed as limiting the invention. In addition, the terms "first" and "second" are only used to distinguish in description, and have no special meaning.
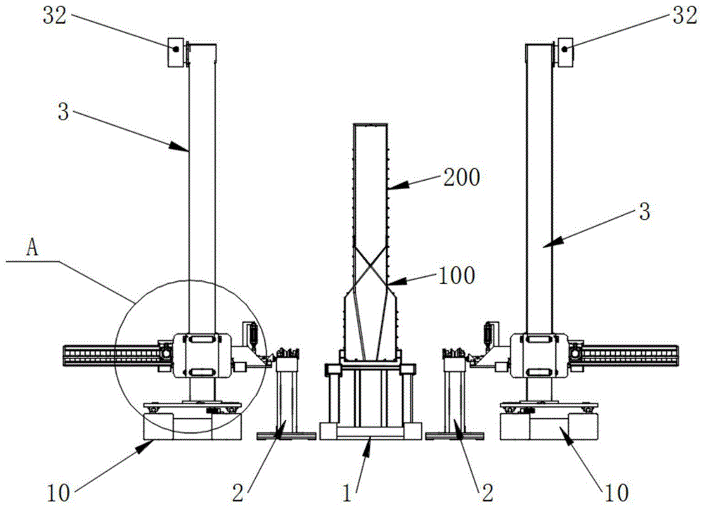
本发明提供一种T梁腹板钢筋骨架加工设备,能够实现通长筋200的自动焊接,提高了自动化程度以及加工效率,降低了劳动强度。如图3和图4所示,该T梁腹板钢筋骨架加工设备包括骨架台架1、通长筋接料架2、第一码料机构3、夹紧机构4、第二码料机构5、扶筋机构6、第三码料机构7以及焊接机构,其中骨架台架1设置于中间,用来放置形成T梁腹板钢筋骨架的箍筋。通长筋接料架2设置于骨架台架1的一侧,用于承接T梁腹板钢筋骨架的通长筋200。上述第一码料机构3设置于通长筋接料架2的一侧,用于驱动夹紧机构4移动至通长筋200处,以夹紧通长筋200。第二码料机构5设置于通长筋接料架2的一侧,用于驱动扶筋机构6移动至通长筋200处,以支撑通长筋200。第三码料机构7设置于通长筋接料架2的一侧,用于驱动焊接机构移动至通长筋200处,以将通长筋200焊接于箍筋上。The invention provides a T-beam web reinforcement frame processing equipment, which can realize the automatic welding of the
本实施例中,上述通长筋接料架2的上端设置有多个可转动的辊轮,该辊轮用于支撑通长筋200,使得通长筋200的输送更加顺畅。In this embodiment, a plurality of rotatable rollers are arranged on the upper end of the above-mentioned long rib
本实施例中,如图5所示,上述第一码料机构3、第二码料机构5以及第三码料机构7的结构相同,均包括立柱31、第一驱动件32、支座33、第二驱动件34以及移动架35,其中立柱31沿纵向设置,其顶端处设有第一驱动件32,该第一驱动件32能够驱动支座33沿立柱31纵向移动。支座33上安装上述第二驱动件34,第二驱动件34能够驱动移动架35横向移动,上述夹紧机构4、扶筋机构6以及焊接机构分别固定于各自对应的移动架35上。In this embodiment, as shown in Figure 5, the above-mentioned
可选地,上述第一驱动件32可以是电机,通过电机带动链条来实现支座33的纵向移动。且为了更好的实现支座33的移动,可以在立柱31上设置滑轨,支座33上设置滑块,以使得支座33纵向移动更加平稳。上述第二驱动件34也可以是电机,此时可以电机输出端固定齿轮,移动架35固定一横向设置的齿条,通过齿轮和齿条的啮合,实现移动架35的横向移动。Optionally, the above-mentioned first driving
本实施例中,可参照图6,上述夹紧机构4包括安装于第一码料机构3的移动架35上的夹紧安装座41,转动连接于夹紧安装座41上的第一伸缩气缸42,一端转动连接于第一伸缩气缸42的输出端的第一活动夹爪43,固定安装于移动架35上的第一固定夹爪44,该第一固定夹爪44的一端转动连接于第一活动夹爪43的中部,第一伸缩气缸42能够驱动第一活动夹爪43转动以相对于第一固定夹爪44打开或闭合,进而在与第一固定夹爪44配合闭合时夹紧通长筋200。本实施例的上述夹紧机构4,通过第一伸缩气缸42驱动,使得其夹紧效果更好。In this embodiment, referring to FIG. 6, the above-mentioned
如图7所示,上述扶筋机构6包括安装于第二码料机构5的移动架35上的扶筋安装座61,转动连接于扶筋安装座61上的第二伸缩气缸62,一端转动连接于第二伸缩气缸62的输出端的第二活动夹爪63,固定安装于移动架35上的第二固定夹爪64,所述第二固定夹爪64的一端转动连接于第二活动夹爪63的中部,第二伸缩气缸62能驱动第二活动夹爪63向第二固定夹爪64转动,以使第二活动夹爪63与第二固定夹爪64配合形成供通长筋200通过的支撑孔,该支撑孔直径大于通长筋200的直径,能够更好的对通长筋200起到支撑作用。As shown in Figure 7, the above-mentioned
本实施例中,优选地,上述第三码料机构7设置于第一码料机构3和第二码料机构5之间,以使得焊接机构设置于夹紧机构4和扶筋机构6之间,且通长筋200先由夹紧机构4夹紧后,随后扶筋机构6的第二活动夹爪63与第二固定夹爪64配合形成支撑孔,以对通长筋200进行支撑。In this embodiment, preferably, the above-mentioned
可参照图3和图4,本实施例的T梁腹板钢筋骨架加工设备还包括有布料轨道10,该布料轨道10设置于通长筋接料架2的一侧,具体是远离骨架台架1的一侧。上述第一码料机构3、第二码料机构5、第三码料机构7均置于布料轨道10上且能沿布料轨道10滑动。可以理解的是,第一码料机构3、第二码料机构5和第三码料机构7在布料轨道10上的滑动可以是通过电机以及齿轮齿条的方式,也可以是其他驱动方式,本实施例不对其进行限定。可选地,本实施例中,是在第一码料机构3、第二码料机构5和第三码料机构7的底部设置底座36,并且底座36上设有驱动电机37,驱动电机37固接有驱动齿轮38,驱动齿轮38啮合有固定于布料轨道10上的驱动齿条101,同时在底座36上设有滑轨,在布料轨道10上设有滑块,滑块滑动于滑轨内。通过该结构,能够实现第一码料机构3、第二码料机构5和第三码料机构7在布料轨道10上的滑动。With reference to Fig. 3 and Fig. 4, the T-beam web reinforcement frame processing equipment of this embodiment also includes a
本实施例中,优选地,如图4所示,在上述布料轨道10上还滑动设置有第四码料机构8,该第四码料机构8的结构与上述第一码料机构3的结构相同,且该第四码料机构8设置于第二码料机构5远离第三码料机构7的一侧。In this embodiment, preferably, as shown in Figure 4, a fourth
上述第四码料机构8驱动连接有穿筋轮机构9,第四码料机构8能驱动穿筋轮机构9沿横向和纵向移动,该穿筋轮机构9用于进一步支撑通长筋200。可选地,如图8和图9所示,穿筋轮机构9包括固定于第四码料机构8的移动架35上的穿筋轮固定座91,沿横向转动设置于穿筋轮固定座91上的第一穿筋轮92,以及沿纵向转动设置于穿筋轮固定座91上的两个第二穿筋轮93,两个第二穿筋轮93之间形成供通长筋200通过的间隙,通长筋200由第一穿筋轮92支撑并由两个第二穿筋轮93限位。而且通过第一穿筋轮92和第二穿筋轮93转动设置的结构,能够使得通长筋200的移动更加顺畅,且能够避免通长筋200移动过程中发生左右窜动。The above-mentioned
本实施例中,T梁腹板钢筋骨架加工设备还包括调直剪切机构20,该调直剪切机构20设置于通长筋接料架2一端,用于对钢筋矫直并剪切,以形成通长筋200。In this embodiment, the T-beam web reinforcement frame processing equipment also includes a straightening and
本实施例的上述T梁腹板钢筋骨架加工设备在使用时,首先由调直剪切机构20对钢筋进行矫直,并根据预设长度将矫直的钢筋剪切,形成通长筋200,此时通长筋200会被输送至通长筋接料架2的辊轮上,随后由第一码料机构3驱动夹紧机构4移动至通长筋200处,并夹紧通长筋200的一端。然后移动第三码料机构7至通长筋200的后端位置,移动第四码料机构8至通长筋200的中间或者后半段位置,并且第三码料机构7驱动扶筋机构6套住并支撑通长筋200,第四码料机构8驱动穿筋轮机构9支撑通长筋200。随后第一码料机构3驱动夹紧机构4,以带动通长筋200的端部移动至箍筋的对应焊接位置,第二码料机构5驱动扶筋机构6移动、第四码料机构8以及穿筋轮机构9移动,以将通长筋200逐渐捋平。在此过程中,第三码料机构7驱动焊接机构对通长筋200与每个箍筋进行焊接固定。随后循环上述过程,使得多根通长筋200焊接于箍筋上。When the above-mentioned T-beam web steel frame processing equipment of the present embodiment is in use, the steel bar is first straightened by the straightening and
本实施例中,优选地,上述通长筋接料架2、第一码料机构3、第二码料机构5、第三码料机构7、第四码料机构8以及布料轨道10设置有两组且对称设置于骨架台架1两侧。能够实现两侧通长钢筋的同步安装,提高T梁腹板钢筋骨架的加工效率。In this embodiment, preferably, the above-mentioned long rib
显然,本发明的上述实施例仅仅是为了清楚说明本发明所作的举例,而并非是对本发明的实施方式的限定。对于所属领域的普通技术人员来说,能够进行各种明显的变化、重新调整和替代而不会脱离本发明的保护范围。这里无需也无法对所有的实施方式予以穷举。凡在本发明的精神和原则之内所作的任何修改、等同替换和改进等,均应包含在本发明权利要求的保护范围之内。Apparently, the above-mentioned embodiments of the present invention are only examples for clearly illustrating the present invention, rather than limiting the implementation of the present invention. Various obvious changes, readjustments, and substitutions will occur to those skilled in the art without departing from the scope of the present invention. It is not necessary and impossible to exhaustively list all the implementation manners here. All modifications, equivalent replacements and improvements made within the spirit and principles of the present invention shall be included within the protection scope of the claims of the present invention.
Claims (10)
Priority Applications (1)
| Application Number | Priority Date | Filing Date | Title |
|---|---|---|---|
| CN202210919692.4A CN115430791B (en) | 2022-08-02 | 2022-08-02 | T beam web steel reinforcement skeleton processing equipment |
Applications Claiming Priority (1)
| Application Number | Priority Date | Filing Date | Title |
|---|---|---|---|
| CN202210919692.4A CN115430791B (en) | 2022-08-02 | 2022-08-02 | T beam web steel reinforcement skeleton processing equipment |
Publications (2)
| Publication Number | Publication Date |
|---|---|
| CN115430791A true CN115430791A (en) | 2022-12-06 |
| CN115430791B CN115430791B (en) | 2025-12-09 |
Family
ID=84241869
Family Applications (1)
| Application Number | Title | Priority Date | Filing Date |
|---|---|---|---|
| CN202210919692.4A Active CN115430791B (en) | 2022-08-02 | 2022-08-02 | T beam web steel reinforcement skeleton processing equipment |
Country Status (1)
| Country | Link |
|---|---|
| CN (1) | CN115430791B (en) |
Cited By (1)
| Publication number | Priority date | Publication date | Assignee | Title |
|---|---|---|---|---|
| CN118848186A (en) * | 2024-09-29 | 2024-10-29 | 中铁四局集团有限公司 | T-beam web longitudinal reinforcement installation welding equipment and use method |
Citations (7)
| Publication number | Priority date | Publication date | Assignee | Title |
|---|---|---|---|---|
| CN106181178A (en) * | 2016-08-16 | 2016-12-07 | 建科机械(天津)股份有限公司 | A kind of steel reinforcement cage main muscle Automatic-clamping feed arrangement |
| US20170008065A1 (en) * | 2014-04-01 | 2017-01-12 | Antonios Anagnostopoulos | Systems and processes for feeding longitudinal wires or rods to mesh producing machines |
| WO2020187378A1 (en) * | 2019-03-19 | 2020-09-24 | German Machine Technics Aps | Assembly machine and a method for manufacturing reinforcement structures |
| CN112605564A (en) * | 2020-11-17 | 2021-04-06 | 建科机械(天津)股份有限公司 | Numerical control reinforcing cage forming machine |
| CN113042662A (en) * | 2021-04-20 | 2021-06-29 | 中国建筑第八工程局有限公司 | Steel reinforcement framework forming system for large box girder |
| CN113996736A (en) * | 2021-10-25 | 2022-02-01 | 建科机械(天津)股份有限公司 | T-beam web reinforcement framework forming device and processing method |
| CN218395749U (en) * | 2022-08-02 | 2023-01-31 | 建科机械(天津)股份有限公司 | T beam web steel reinforcement framework forming equipment |
-
2022
- 2022-08-02 CN CN202210919692.4A patent/CN115430791B/en active Active
Patent Citations (7)
| Publication number | Priority date | Publication date | Assignee | Title |
|---|---|---|---|---|
| US20170008065A1 (en) * | 2014-04-01 | 2017-01-12 | Antonios Anagnostopoulos | Systems and processes for feeding longitudinal wires or rods to mesh producing machines |
| CN106181178A (en) * | 2016-08-16 | 2016-12-07 | 建科机械(天津)股份有限公司 | A kind of steel reinforcement cage main muscle Automatic-clamping feed arrangement |
| WO2020187378A1 (en) * | 2019-03-19 | 2020-09-24 | German Machine Technics Aps | Assembly machine and a method for manufacturing reinforcement structures |
| CN112605564A (en) * | 2020-11-17 | 2021-04-06 | 建科机械(天津)股份有限公司 | Numerical control reinforcing cage forming machine |
| CN113042662A (en) * | 2021-04-20 | 2021-06-29 | 中国建筑第八工程局有限公司 | Steel reinforcement framework forming system for large box girder |
| CN113996736A (en) * | 2021-10-25 | 2022-02-01 | 建科机械(天津)股份有限公司 | T-beam web reinforcement framework forming device and processing method |
| CN218395749U (en) * | 2022-08-02 | 2023-01-31 | 建科机械(天津)股份有限公司 | T beam web steel reinforcement framework forming equipment |
Cited By (2)
| Publication number | Priority date | Publication date | Assignee | Title |
|---|---|---|---|---|
| CN118848186A (en) * | 2024-09-29 | 2024-10-29 | 中铁四局集团有限公司 | T-beam web longitudinal reinforcement installation welding equipment and use method |
| CN118848186B (en) * | 2024-09-29 | 2024-12-20 | 中铁四局集团有限公司 | T-beam web longitudinal reinforcement installation welding equipment and use method |
Also Published As
| Publication number | Publication date |
|---|---|
| CN115430791B (en) | 2025-12-09 |
Similar Documents
| Publication | Publication Date | Title |
|---|---|---|
| CN108756251A (en) | A kind of reinforced mesh binding machine | |
| CN218395749U (en) | T beam web steel reinforcement framework forming equipment | |
| CN101396715A (en) | Bidirectional movement vertical type steel-bar automatic bending machine | |
| CN110722365B (en) | Positioning net welding production line | |
| CN111993570A (en) | A vertical automatic binding system for prefabricated steel skeleton | |
| CN110860848B (en) | An H-beam turning machine | |
| CN115430791A (en) | T beam web reinforcement skeleton processing equipment | |
| CN205927572U (en) | On --spot assembly welding equipment is restrainted to chapped pipe | |
| CN205733501U (en) | A kind of Vertical Steel structure automatic soldering device | |
| CN209902571U (en) | Suspension pipe welding device | |
| CN216829352U (en) | Aluminium alloy welding machine is used in door and window production | |
| CN108465925B (en) | Adjustable welding mechanism and steel belt welding robot | |
| CN109423930B (en) | Comprehensive operation device for welding steel rail line | |
| CN216264542U (en) | Tower column forming system | |
| CN115070327B (en) | Mining structural part welding positioning device | |
| CN211688069U (en) | An H-beam suspension conveyor | |
| CN218395692U (en) | Stirrup automation line | |
| CN209223285U (en) | A kind of rail mounted Profile cut-off machine | |
| CN106216865A (en) | The on-the-spot general assembly welding equipment of profile iron tube bank | |
| CN216990554U (en) | Inlay layering welding process helping hand arm | |
| CN212734587U (en) | Movable displacement type submerged-arc welding device for large box beam | |
| CN213865120U (en) | Steel bar truss handling device | |
| CN211589109U (en) | H-shaped steel turnover machine | |
| CN211052805U (en) | An automatic welding machine for multiple nuts on a plane | |
| CN207452603U (en) | Synthetic job device is welded on a kind of rail line |
Legal Events
| Date | Code | Title | Description |
|---|---|---|---|
| PB01 | Publication | ||
| PB01 | Publication | ||
| SE01 | Entry into force of request for substantive examination | ||
| SE01 | Entry into force of request for substantive examination | ||
| CB02 | Change of applicant information | ||
| CB02 | Change of applicant information |
Country or region after: China Address after: 300408 No.7, Wuwei Road, Lugang logistics equipment Industrial Park, Beichen District, Tianjin Applicant after: Jianke Intelligent Equipment Manufacturing (Tianjin) Co.,Ltd. Address before: 300408 No.7, Wuwei Road, Lugang logistics equipment Industrial Park, Beichen District, Tianjin Applicant before: TJK MACHINERY (TIANJIN) Co.,Ltd. Country or region before: China |
|
| GR01 | Patent grant | ||
| GR01 | Patent grant |
