CN115402829A - Winder suitable for non-woven water distribution thorn production line - Google Patents
Winder suitable for non-woven water distribution thorn production line Download PDFInfo
- Publication number
- CN115402829A CN115402829A CN202210867006.3A CN202210867006A CN115402829A CN 115402829 A CN115402829 A CN 115402829A CN 202210867006 A CN202210867006 A CN 202210867006A CN 115402829 A CN115402829 A CN 115402829A
- Authority
- CN
- China
- Prior art keywords
- shaft
- arm
- plate
- winding
- station
- Prior art date
- Legal status (The legal status is an assumption and is not a legal conclusion. Google has not performed a legal analysis and makes no representation as to the accuracy of the status listed.)
- Granted
Links
Images
Classifications
-
- B—PERFORMING OPERATIONS; TRANSPORTING
- B65—CONVEYING; PACKING; STORING; HANDLING THIN OR FILAMENTARY MATERIAL
- B65H—HANDLING THIN OR FILAMENTARY MATERIAL, e.g. SHEETS, WEBS, CABLES
- B65H18/00—Winding webs
- B65H18/08—Web-winding mechanisms
- B65H18/10—Mechanisms in which power is applied to web-roll spindle
-
- B—PERFORMING OPERATIONS; TRANSPORTING
- B65—CONVEYING; PACKING; STORING; HANDLING THIN OR FILAMENTARY MATERIAL
- B65H—HANDLING THIN OR FILAMENTARY MATERIAL, e.g. SHEETS, WEBS, CABLES
- B65H18/00—Winding webs
- B65H18/02—Supporting web roll
-
- B—PERFORMING OPERATIONS; TRANSPORTING
- B65—CONVEYING; PACKING; STORING; HANDLING THIN OR FILAMENTARY MATERIAL
- B65H—HANDLING THIN OR FILAMENTARY MATERIAL, e.g. SHEETS, WEBS, CABLES
- B65H19/00—Changing the web roll
- B65H19/22—Changing the web roll in winding mechanisms or in connection with winding operations
- B65H19/26—Cutting-off the web running to the wound web roll
-
- B—PERFORMING OPERATIONS; TRANSPORTING
- B65—CONVEYING; PACKING; STORING; HANDLING THIN OR FILAMENTARY MATERIAL
- B65H—HANDLING THIN OR FILAMENTARY MATERIAL, e.g. SHEETS, WEBS, CABLES
- B65H19/00—Changing the web roll
- B65H19/22—Changing the web roll in winding mechanisms or in connection with winding operations
- B65H19/30—Lifting, transporting, or removing the web roll; Inserting core
-
- B—PERFORMING OPERATIONS; TRANSPORTING
- B65—CONVEYING; PACKING; STORING; HANDLING THIN OR FILAMENTARY MATERIAL
- B65H—HANDLING THIN OR FILAMENTARY MATERIAL, e.g. SHEETS, WEBS, CABLES
- B65H23/00—Registering, tensioning, smoothing or guiding webs
- B65H23/04—Registering, tensioning, smoothing or guiding webs longitudinally
- B65H23/26—Registering, tensioning, smoothing or guiding webs longitudinally by transverse stationary or adjustable bars or rollers
-
- B—PERFORMING OPERATIONS; TRANSPORTING
- B65—CONVEYING; PACKING; STORING; HANDLING THIN OR FILAMENTARY MATERIAL
- B65H—HANDLING THIN OR FILAMENTARY MATERIAL, e.g. SHEETS, WEBS, CABLES
- B65H26/00—Warning or safety devices, e.g. automatic fault detectors, stop-motions, for web-advancing mechanisms
- B65H26/02—Warning or safety devices, e.g. automatic fault detectors, stop-motions, for web-advancing mechanisms responsive to presence of irregularities in running webs
- B65H26/04—Warning or safety devices, e.g. automatic fault detectors, stop-motions, for web-advancing mechanisms responsive to presence of irregularities in running webs for variation in tension
Landscapes
- Replacement Of Web Rolls (AREA)
Abstract
本发明公开了一种适用于非织造布水刺生产线的卷绕机,涉及非织造机械技术领域,包括机架,所述机架上依次设置有备用轴储存工位、卷绕工位和成品工位,所述备用轴储存工位和卷绕工位之间设有搬运装置;所述搬运装置包括支撑轴和第二驱动部件,所述支撑轴两端固接有一转移臂;所述机架的卷绕工位上设有主动卷绕装置,所述主动卷绕装置包括主动卷绕轴和第三减速电机;所述主动卷绕轴两端设有支撑臂,所述机架上设第四驱动部件,两个所述的支撑臂之间设有横切部件;所述主动卷绕轴两端设有翻转机械臂,所述机架上设有第五驱动部件。本卷绕机能够提前储备多根卷布轴,卷布轴从储备工位到生产工位实现了全自动化,在高速生产情况下保证生产的连续性。
The invention discloses a winding machine suitable for a nonwoven fabric spunlace production line, relates to the technical field of nonwoven machinery, and includes a frame, on which a spare shaft storage station, a winding station and a finished product are sequentially arranged. station, a handling device is provided between the spare shaft storage station and the winding station; the handling device includes a support shaft and a second driving part, and a transfer arm is fixedly connected to both ends of the support shaft; the machine An active winding device is provided on the winding station of the frame, and the active winding device includes an active winding shaft and a third reduction motor; two ends of the active winding shaft are provided with support arms, and the frame is provided with For the fourth driving part, a cross-cutting part is arranged between the two supporting arms; flipping mechanical arms are arranged at both ends of the active winding shaft, and a fifth driving part is arranged on the frame. The winding machine can store multiple cloth winding shafts in advance, and the cloth winding shafts are fully automated from the storage station to the production station, ensuring the continuity of production under high-speed production conditions.
Description
技术领域technical field
本发明涉及非织造机械的技术领域,具体涉及一种适用于非织造布水刺生产线的卷绕机。The invention relates to the technical field of nonwoven machinery, in particular to a winding machine suitable for a nonwoven fabric spunlace production line.
背景技术Background technique
非织造布由于工艺流程短、投资少、见效快、占地面积小等特点,在市场所占比重越来越大,非织造布产品的市场需求推动了非织造布机械的发展。非织造布在连续的生产过程中,由前道工序生产成形的非织造布需经卷绕机的分切和卷绕,成为具有一定形状的成卷非织造布,再经过后置加湿、加热及定型等后处理,即可成为具有良好弹性、韧性和柔性等的工业成品。非织造布的品质逐步提高,非织造设备的速度不断提高,促使非织造布卷绕机飞速发展。Due to the characteristics of short process flow, less investment, quick results, and small footprint, non-woven fabrics account for an increasing proportion of the market. The market demand for non-woven fabric products promotes the development of non-woven fabric machinery. In the continuous production process of non-woven fabrics, the non-woven fabrics formed by the previous process need to be cut and wound by the winding machine to become rolls of non-woven fabrics with a certain shape, and then humidified and heated after And post-processing such as shaping, it can become an industrial product with good elasticity, toughness and flexibility. The quality of non-woven fabrics is gradually improving, and the speed of non-woven equipment is continuously increasing, which promotes the rapid development of non-woven fabric winding machines.
非织造布水刺生产线中的卷绕机就是实现对已定型的非织造布进行定宽、定长卷绕的设备,其是非织造布水刺生产线中机构最多、动作最复杂的机器之一。非织造布水刺生产线是一个高效率的连续运行系统,然而目前卷绕机不具备自动换卷的功能,工作效率较低,且自动化程序不高。The winding machine in the nonwoven spunlace production line is the equipment that realizes the fixed width and fixed length winding of the shaped nonwoven fabric. It is one of the machines with the most mechanisms and the most complicated actions in the nonwoven spunlace production line. The nonwoven spunlace production line is a high-efficiency continuous operation system. However, the current winding machine does not have the function of automatic roll change, the work efficiency is low, and the automation program is not high.
发明内容Contents of the invention
本发明就是为了克服上述现有技术存在的缺点,提供一种适用于非织造布水刺生产线的卷绕机,本发明的卷绕机能够提前储备多根卷布轴,卷布轴从储备工位到生产工位实现了全自动化,该机器能保持布面的风格不被破坏,在高速生产的情况下保证了生产的连续性。The present invention aims at overcoming the above-mentioned shortcomings in the prior art, and provides a winding machine suitable for a nonwoven spunlace production line. The machine is fully automated from the production station to the production station. The machine can keep the style of the cloth surface from being damaged, and guarantee the continuity of production under the condition of high-speed production.
本发明解决其技术问题所采取的技术方案是:The technical scheme that the present invention solves its technical problem to take is:
一种适用于非织造布水刺生产线的卷绕机,包括机架,所述的机架上从左往右依次设置有备用轴储存工位、卷绕工位和成品工位,所述的备用轴储存工位和卷绕工位之间设置有搬运装置;A winding machine suitable for a nonwoven spunlace production line, including a frame, on which a spare shaft storage station, a winding station and a finished product station are sequentially arranged from left to right. There is a handling device between the spare shaft storage station and the winding station;
所述机架包括两个结构相同且对称布置的立板,且所述的立板上位于所述的备用轴储存工位和卷绕工位之间设置有一斜面;The frame includes two vertical plates with the same structure and arranged symmetrically, and the vertical plate is provided with a slope between the spare shaft storage station and the winding station;
所述的搬运装置包括与立板转动连接的支撑轴和用于驱动所述支撑轴转动的第二驱动部件,所述支撑轴的两端位于所述立板的外侧分别固定连接有一转移臂;The handling device includes a support shaft rotatably connected to the vertical plate and a second drive component for driving the support shaft to rotate, and the two ends of the support shaft are respectively fixedly connected to a transfer arm on the outside of the vertical plate;
所述机架的卷绕工位上设置有主动卷绕装置,所述主动卷绕装置包括与所述的立板转动连接的主动卷绕轴和用于驱动所述的主动卷绕轴转动的第三减速电机;The winding station of the frame is provided with an active winding device, and the active winding device includes an active winding shaft that is rotatably connected to the vertical plate and a drive for driving the rotation of the active winding shaft. The third reduction motor;
所述的主动卷绕轴的两端位于所述立板的内侧转动设置有支撑臂,所述的机架上设置有用于驱动所述支撑臂相对主动卷绕轴转动的第四驱动部件,两个所述的支撑臂之间设置有横切部件;The two ends of the active winding shaft are located on the inner side of the vertical plate and are provided with support arms for rotation, and the frame is provided with a fourth driving component for driving the support arm to rotate relative to the active winding shaft. A cross-cutting part is arranged between the support arms;
所述主动卷绕轴的两端位于所述立板的外侧转动设置有翻转机械臂,所述的机架上设置有用于驱动所述的翻转机械臂相对于主动卷绕轴转动的第五驱动部件;The two ends of the active winding shaft are located on the outer side of the vertical plate to rotate and are provided with an overturning mechanical arm, and the frame is provided with a fifth drive for driving the overturning mechanical arm to rotate relative to the active winding shaft. part;
所述的翻转机械臂包括固定板、与所述的固定板滑动连接的滑动板和用于驱动所述滑动板滑动的定位气缸,所述的滑动板上设置有用于夹紧卷布轴的夹紧机构。The overturning mechanical arm includes a fixed plate, a sliding plate slidably connected to the fixed plate, and a positioning cylinder for driving the sliding plate to slide, and a clamp for clamping the cloth winding shaft is arranged on the sliding plate. tight body.
进一步地,所述的夹紧机构包括设置于所述滑动板上的夹紧缺口和中部与所述滑动板铰接的锁紧臂,所述夹紧缺口的开口端的两侧分别设置有夹紧轮,所述锁紧臂的一端设置有夹紧轮,所述锁紧臂的另一端与锁紧气缸相连,当所述锁紧气缸的活塞杆伸出时,三个所述的夹紧轮呈三角形布置,并对卷布轴形成夹紧。Further, the clamping mechanism includes a clamping notch arranged on the sliding plate and a locking arm whose middle part is hinged to the sliding plate, and the two sides of the opening end of the clamping notch are respectively provided with clamping wheels , one end of the locking arm is provided with a clamping wheel, the other end of the locking arm is connected with the locking cylinder, when the piston rod of the locking cylinder is stretched out, the three clamping wheels are Arranged in a triangle and form a clamp on the cloth winding shaft.
进一步地,所述机架的成品工位上设置有一次推卷装置,所述一次推卷装置包括对称设置在所述立板内侧面上的一次推手部件,所述的一次推手部件包括与所述的立板滑动连接的推板和用于驱动所述推板的第一推卷气缸,所述推板上端的左、右两侧分别设置有中部与所述推板铰接的第一挡臂和和下端与所述推板铰接的第二挡臂,所述第一挡臂的下端和推板之间设置有第一拉簧,所述的第二挡臂上设置有第一滚轮,所述的立板上设置有右端呈向下弯曲的弧形结构的导向板,且所述第一滚轮在所述第二挡臂的自身重力的作用下压紧在所述的导向板上。Further, the finished product station of the frame is provided with a primary push-roll device, the primary push-roll device includes a primary push hand part symmetrically arranged on the inner side of the vertical plate, and the primary push hand part includes the same The push plate slidably connected to the above-mentioned vertical plate and the first rolling cylinder used to drive the push plate, the left and right sides of the top of the push plate are respectively provided with a first stop arm whose middle part is hinged with the push plate And the second stop arm whose lower end is hinged with the push plate, a first extension spring is arranged between the lower end of the first stop arm and the push plate, and a first roller is arranged on the second stop arm, so A guide plate with a downwardly curved right end is provided on the vertical plate, and the first roller is pressed against the guide plate under the action of the self-gravity of the second blocking arm.
进一步地,所述的立板上位于所述推板的右侧设置有第八链轮,两个所述的立板之间位于所述推板的左侧转动设置有第四同步轴,所述的第四同步轴上设置有与所述的第八链轮一一对应的第七链轮,所述的第七链轮和对应的第八链轮之间设置有同步链,所述的推板与所述的同步链相连接。Further, an eighth sprocket is arranged on the right side of the push plate on the vertical plate, and a fourth synchronous shaft is arranged between the two vertical plates on the left side of the push plate, so that A seventh sprocket corresponding to the eighth sprocket is arranged on the fourth synchronous shaft, and a synchronous chain is arranged between the seventh sprocket and the corresponding eighth sprocket. The push plate is connected with the synchronization chain.
进一步地,所述机架的成品工位上位于所述一次推卷装置的右侧设置有二次推卷装置,所述二次推卷装置包括铰接设置于所述立板外侧面上的推卷臂,且所述推卷臂的中部与所述的立板相铰接,所述的立板和推卷臂之间设置有用于驱动所述的推卷臂摆动的第二推卷气缸,当所述的第二推卷气缸处于伸出状态时,所述推卷臂的右端部位于所述立板的上方,当所述的第二推卷气缸处于缩回状态时,所述推卷臂的右端位于所述立板的下方。Further, on the finished product station of the frame, a secondary rolling device is provided on the right side of the primary rolling device, and the secondary rolling device includes a pusher hingedly arranged on the outer surface of the vertical plate. and the middle part of the push-roll arm is hinged to the vertical plate, and a second push-roll cylinder for driving the swing of the push-roll arm is arranged between the vertical plate and the push-roll arm. When the second push-roll cylinder is in the extended state, the right end of the push-roll arm is located above the vertical plate; when the second push-roll cylinder is in the retracted state, the push-roll arm The right end of is positioned at the below of described riser.
进一步地,所述的搬运装置和卷绕工位之间设置有预加速装置,所述的预加速装置包括设置于一侧立板上的预加速电机和减速机,所述减速机的动力输出轴上设置有摩擦轮,所述减速机下方固定连接有摆臂,且所述摆臂的另一端与固定在所述立板上的摆臂支撑板铰接,所述减速机的下方设置有用于驱动所述的减速机上下摆动的第一气缸。Further, a pre-acceleration device is provided between the conveying device and the winding station, and the pre-acceleration device includes a pre-acceleration motor and a reducer arranged on one vertical plate, and the power output of the reducer is A friction wheel is arranged on the shaft, a swing arm is fixedly connected to the lower part of the reducer, and the other end of the swing arm is hinged to the swing arm support plate fixed on the vertical plate, and the lower part of the reducer is provided with a The first cylinder that drives the described speed reducer to swing up and down.
进一步地,另一侧所述的立板上设置有一端与所述的立板相铰接的限位臂,且所述的立板上设置有用于驱动所述的限位臂上下摆动的第二气缸,当所述的第二气缸处于伸出状态时,待加速的卷布轴被限制在限位臂和所述立板的斜面之间。Further, the vertical plate on the other side is provided with a limiting arm whose end is hinged to the vertical plate, and the vertical plate is provided with a second arm for driving the limiting arm to swing up and down. cylinder, when the second cylinder is in the extended state, the cloth winding shaft to be accelerated is limited between the limit arm and the slope of the vertical plate.
进一步地,所述的机架上位于所述备用轴储存工位的左侧设置有导布辊,所述导布辊包括竖直布置的第一导布辊和第二导布辊,所述预加速工位下方设置有导向辊,所述的导向辊上设置有张力传感器。Further, a cloth guide roller is arranged on the left side of the spare shaft storage station on the frame, and the cloth guide roller includes a vertically arranged first cloth guide roller and a second cloth guide roller. A guide roller is arranged below the pre-acceleration station, and a tension sensor is arranged on the guide roller.
进一步地,所述横切部件包括U型折弯板和设置于所述U型折弯板内的无杆气缸,所述无杆气缸的滑块上设置有气动马达安装座,所述气动马达安装座上设置有气动马达,所述气动马达的动力输出轴上设置有切刀组件。Further, the cross-cutting part includes a U-shaped bending plate and a rodless cylinder arranged in the U-shaped bending plate, the slider of the rodless cylinder is provided with an air motor mounting seat, and the air motor An air motor is arranged on the mounting seat, and a cutter assembly is arranged on the power output shaft of the air motor.
进一步地,所述切刀组件包括套接在所述气动马达动力输出轴上的夹紧座,所述夹紧座上从左往右依次套设有切布刀片和刀片压盘,所述的切布刀片被夹紧固定在所述夹紧座和所述刀片压盘之间,所述气动马达的动力输出轴上位于所述夹紧座的内部套接有弹簧夹,所述的弹簧夹上套设有胀紧套,位于胀紧套的左侧设有胀套压盘,所述胀套压盘通过螺栓与所述夹紧座连接,在所述螺栓的拉紧作用下,所述胀套压盘压紧所述胀紧套,并通过所述胀紧套的膨胀作用使弹簧夹箍紧在所述的动力输出轴上。Further, the cutter assembly includes a clamping seat sleeved on the power output shaft of the air motor, and the cloth cutting blade and the blade pressure plate are sequentially sleeved on the clamping seat from left to right. The cloth cutting blade is clamped and fixed between the clamping seat and the blade pressure plate, and a spring clip is sleeved inside the clamping seat on the power output shaft of the air motor, and the spring clip The upper sleeve is provided with an expansion sleeve, and an expansion sleeve pressure plate is located on the left side of the expansion sleeve. The expansion sleeve pressure plate is connected to the clamping seat through bolts. Under the tension of the bolts, the The pressure plate of the expansion sleeve compresses the expansion sleeve, and the spring clip is tightened on the power output shaft through the expansion of the expansion sleeve.
本发明的有益效果是:The beneficial effects of the present invention are:
1、本卷绕机能够提前储备多根卷布轴,卷布轴从储备工位到生产工位实现了全自动化,保持了布面的风格不被破坏,在高速生产的情况下保证了生产的连续性。1. This winding machine can store multiple cloth winding shafts in advance. The cloth winding shafts are fully automated from the storage station to the production station, keeping the style of the cloth surface from being damaged, and ensuring production under high-speed production. continuity.
2、本卷绕机设置了预加速工位,备用卷布轴在卷布前,将在预加速工位提前预加速,从而保证了在卷布时与主卷绕轴具有相同的转速,消除了因卷布轴速度不匹配而导致的初始布卷松弛的现象。2. The winding machine is equipped with a pre-acceleration station, and the spare cloth winding shaft will be pre-accelerated at the pre-acceleration station before the cloth is wound, so as to ensure that the rotation speed of the main winding shaft is the same as that of the main winding shaft during cloth winding, eliminating The phenomenon of initial cloth roll slack caused by the speed mismatch of the cloth take-up shaft is eliminated.
附图说明Description of drawings
下面结合附图和实施例对本发明做进一步的说明:Below in conjunction with accompanying drawing and embodiment the present invention will be further described:
图1为本卷绕机的平面结构示意图;Fig. 1 is the plane structure schematic diagram of this winder;
图2为本卷绕机的立体结构示意视图;Fig. 2 is a schematic view of the three-dimensional structure of the winding machine;
图3为图2中A部分的放大结构示意图;Fig. 3 is a schematic diagram of an enlarged structure of part A in Fig. 2;
图4为图2中B部分的放大结构示意图;Fig. 4 is the schematic diagram of the enlarged structure of part B in Fig. 2;
图5为图2中C部分的放大结构示意图;Fig. 5 is a schematic diagram of an enlarged structure of part C in Fig. 2;
图6为本卷绕机中备用轴储存输送装置的俯视图;Fig. 6 is a top view of the spare shaft storage conveying device in the winding machine;
图7为限位臂的结构示意图;Fig. 7 is a structural schematic diagram of a limit arm;
图8为本卷绕机中预加速处理的结构示意图;Fig. 8 is the structural representation of the pre-acceleration treatment in this winder;
图9为主动卷绕轴和横切部件的安装结构示意图;Fig. 9 is a schematic diagram of the installation structure of the active winding shaft and the cross-cutting components;
图10为横切部件的结构示意图;Fig. 10 is a schematic structural view of a cross-cutting part;
图11为横切部件局部结构示意图;Fig. 11 is a schematic diagram of a partial structure of a cross-cutting part;
图12为夹紧座的结构示意图;Figure 12 is a schematic structural view of the clamping seat;
图13为移位部件的结构示意图一;Fig. 13 is a schematic diagram of the first structure of the displacement component;
图14为移位部件的结构示意图二;Fig. 14 is a structural schematic diagram II of the shifting part;
图15为止推组件的结构示意图。Fig. 15 is a schematic structural diagram of the thrust assembly.
图中:1-机架,111-第一侧板,112-第二侧板,113-第三侧板,114-挡板,12-第一支撑板,13-第二支撑板,14-缓冲部件,15-支撑平台,Among the figure: 1-frame, 111-first side plate, 112-second side plate, 113-third side plate, 114-baffle plate, 12-first support plate, 13-second support plate, 14- cushioning part, 15-support platform,
21-第一导布辊,22-第二导布辊,23-导向辊,21-the first cloth guide roller, 22-the second cloth guide roller, 23-guide roller,
3-卷布轴,3- cloth roll shaft,
41-支撑轴,42-转移臂,421-凹槽,43-第一齿轮,44-第二齿轮,45-第一链轮,46-第一同步轴,47-第二链轮,48-第二减速电机,41-support shaft, 42-transfer arm, 421-groove, 43-first gear, 44-second gear, 45-first sprocket, 46-first synchronous shaft, 47-second sprocket, 48- second reduction motor,
51-主动卷绕轴,52-第三减速电机,53-横切部件,531-第三链轮,5311-支撑臂,532-第二同步轴,5321-第四链轮,533-第四减速电机,534-U型折弯板,5341-连接板,5342-左支撑板,5343-右支撑板,53431-过气孔,535-无杆气缸,5351-滑块连接板,5352-气动马达安装座,536-气动马达,537-切刀组件,5371-夹紧座,5372-切布刀片,5373-刀片压盘,5374-弹簧夹,5375-胀紧套,5376-隔套,5377-胀套压盘,5378-螺栓,538-拖链,5381-护罩,539-限位板,5391-长槽孔,541-第五链轮,542-固定板,5421-安装孔,543-滑动板,5431-夹紧部,5432-夹紧缺口,544-定位气缸,545-夹紧轮,546-锁紧臂,547-锁紧气缸,548-第三同步轴,5481-第六链轮,549-第五减速电机,51-active winding shaft, 52-third reduction motor, 53-cross-cutting parts, 531-third sprocket, 5311-support arm, 532-second synchronous shaft, 5321-fourth sprocket, 533-fourth Gear motor, 534-U-shaped bending plate, 5341-connecting plate, 5342-left supporting plate, 5343-right supporting plate, 53431-air hole, 535-rodless cylinder, 5351-slider connecting plate, 5352-air motor Mounting seat, 536-air motor, 537-cutter assembly, 5371-clamping seat, 5372-cloth cutting blade, 5373-blade pressure plate, 5374-spring clip, 5375-expansion sleeve, 5376-spacer sleeve, 5377- Expansion sleeve pressure plate, 5378-bolt, 538-towline, 5381-shield, 539-limiting plate, 5391-long slot, 541-fifth sprocket, 542-fixing plate, 5421-installation hole, 543- Sliding plate, 5431-clamping part, 5432-clamping gap, 544-positioning cylinder, 545-clamping wheel, 546-locking arm, 547-locking cylinder, 548-third synchronous shaft, 5481-sixth chain wheel, 549-fifth reduction motor,
611-推板,6111-卡口,612-第一推卷气缸,613-第一挡臂,614-第二挡臂,615-第一拉簧,616-导向板,617-第一滚轮,618-第二滚轮,619-第三滚轮,62-第八链轮,63-第四同步轴,64-第七链轮,65-同步链,611-push plate, 6111-bayonet, 612-first rolling cylinder, 613-first stop arm, 614-second stop arm, 615-first extension spring, 616-guide plate, 617-first roller, 618-second roller, 619-third roller, 62-eighth sprocket, 63-fourth synchronous shaft, 64-seventh sprocket, 65-synchronous chain,
71-推卷臂,711-第三挡臂,72-第二推卷气缸,73-第四滚轮,71-rolling arm, 711-the third gear arm, 72-the second rolling cylinder, 73-the fourth roller,
8-止挡组件,81-止推板,811-避让缺口,812-第一挂轴,82-铰接轴,83-固定块,831-第二挂轴,84-第二拉簧,8-stop assembly, 81-thrust plate, 811-avoidance gap, 812-first hanging shaft, 82-hinge shaft, 83-fixed block, 831-second hanging shaft, 84-second extension spring,
91-预加速电机,92-摩擦轮,93-第一气缸,94-气缸支撑件,95-摆臂,96-摆臂支撑板,97-限位臂,98-第二气缸。91-pre-acceleration motor, 92-friction wheel, 93-the first cylinder, 94-cylinder support, 95-swing arm, 96-swing arm support plate, 97-limiting arm, 98-the second cylinder.
具体实施方式Detailed ways
为了使本技术领域的人员更好地理解本发明中的技术方案,下面将结合本发明实施例中的附图,对本发明实施例中的技术方案进行清楚、完整地描述,显然,所描述的实施例仅仅是本发明一部分实施例,而不是全部的实施例。In order to enable those skilled in the art to better understand the technical solutions in the present invention, the technical solutions in the embodiments of the present invention will be clearly and completely described below in conjunction with the drawings in the embodiments of the present invention. Obviously, the described The embodiments are only some of the embodiments of the present invention, not all of them.
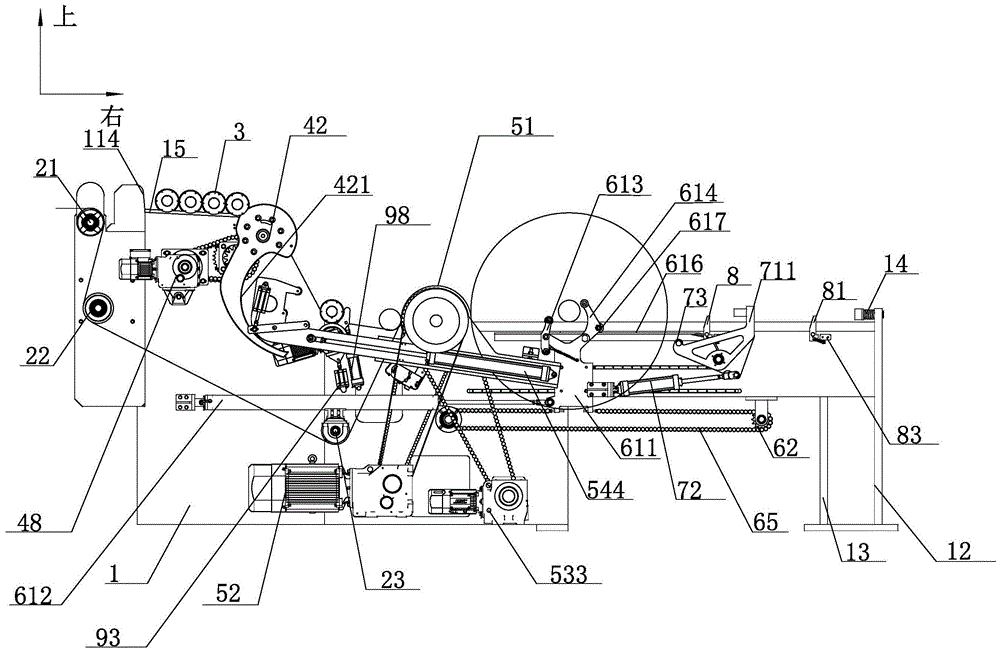
如图1所示,一种适用于非织造布水刺生产线的卷绕机,包括机架1,所述的机架1上从左往右依次设置有备用轴储存工位、卷绕工位和成品工位,所述的备用轴储存工位和卷绕工位之间设置有用于将备用轴储存工位上的卷布轴转移到卷绕工位上的搬运装置。As shown in Figure 1, a winding machine suitable for a nonwoven spunlace production line includes a
所述机架1包括两个结构相同且对称布置的立板,所述的立板从左往右依次包括第一侧板111、第二侧板112和第三侧板113。所述第一侧板111与所述第二侧板112的底部齐平,所述第一侧板111与所述第二侧板112分别通过连接件与地面固定连接,所述第一侧板111的上端部高于所述第二侧板112的上端部,所述第一侧板111的上端部靠近所述第二侧板112的一侧为斜面,所述第二侧板112略高于所述第三侧板113的上端面,所述第三侧板113远离所述第二侧板112的一端设置有第一支撑板12和第二支撑板13,所述第一支撑板12和第二支撑板13通过连接件与地面固定连接,所述第一支撑板12中间位置设置有缓冲部件14,所述缓冲部件14包括弹簧,所述弹簧的一端固接在所述第一支撑板12上,所述弹簧的另一端包覆有橡胶。The
如图1、图2所示,所述的机架1上位于所述备用轴储存工位的左侧设置有导布辊,所述导布辊包括第一导布辊21和第二导布辊22,所述第一导布辊21位于所述第一侧板111左侧端部的上方,所述第一导布辊21的两端通过轴承与所述第一侧板111转动连接,位于后侧的第一侧板111上设置有用于驱动所述的第一导布辊21转动的第一减速电机(图中未示出),所述第一导布辊21与所述第一减速电机的动力输出轴相连;所述第一导布辊21下方设置有第二导布辊22,所述第二导布辊22的两端通过轴承与所述第一侧板111转动连接,经所述第一导布辊21和所述第二导布辊22的导向,水刺布呈S型。As shown in Fig. 1 and Fig. 2, a cloth guide roller is arranged on the left side of the spare shaft storage station on the
所述机架1的备用轴储存工位上放置有备用的卷布轴3,且所述卷布轴3的两端分别搭接在所述机架1的立板的第一侧板111上。优选的,所述第一侧板111的上端面上设置有用于承托所述卷布轴3的支撑平台15,且所述支撑平台15向右下方倾斜设置。所述的立板上位于所述支撑平台15的左侧设置有用于阻挡所述卷布轴3的挡板114。A spare
如图2、图6所示,所述的搬运装置包括设置于所述第一侧板111斜面上位于靠近所述支撑平台15的端部的支撑轴41,且所述支撑轴41的两端分别与所述第一侧板111转动连接。所述支撑轴41的两端位于所述立板的外侧(以两个所述第一侧板相对的一侧为内)分别固定连接有一转移臂42,所述转移臂42上设置有用于放置卷布轴3的凹槽421。位于所述转移臂42与所述第一侧板111之间的支撑轴41上套接有第一齿轮43,所述第一齿轮43的左下方有与之啮合的第二齿轮44,所述第二齿轮44通过连接轴与位于所述第一侧板111内侧(以两个所述第一侧板相对的一侧为内)的第一链轮45同步转动。即所述的连接轴通过轴承组件与所述的第一侧板111转动连接,所述的第二齿轮44和第一链轮45分别与所述的连接轴固定连接。所述第一链轮45通过链条与套接于第一同步轴46上的第二链轮47连接,所述第一同步轴46两端通过轴承与所述机架1的第一侧板111转动连接,所述第一同步轴46的一端与第二减速电机48连接,所述的第二减速电机48固定设置于所述的第一侧板111上。As shown in Figures 2 and 6, the handling device includes a
如图1、图2所示,所述机架1的卷绕工位上设置有主动卷绕装置,所述主动卷绕装置包括主动卷绕轴51,且所述主动卷绕轴51的两端分别通过轴承组件与所述的立板转动连接。作为一种具体实施方式,本实施例中所述主动卷绕轴51为包胶辊,所述主动轴卷绕轴51的前端通过同步带与第三减速电机52相连接。As shown in Fig. 1 and Fig. 2, an active winding device is provided on the winding station of the
为了将达到设定长度的布卷切断,如图9所示,所述主动卷绕装置左下方设置有横切部件53,所述横切部件53通过支撑臂5311与所述主动卷绕轴51的两端相连。所述的主动卷绕轴51的两端位于所述第二侧板112的内侧设置有第三链轮531,且所述的第三链轮531与所述的主动卷绕轴51转动连接。所述的支撑臂5311固定设置于所述的第三链轮531上。所述主动卷绕轴51的下方设置有第二同步轴532,且所述第二同步轴532的两端分别通过轴承组件与所述的立板转动连接。所述的第二同步轴532上设置有与所述的第三链轮531对应的第四链轮5321,所述的第三链轮531通过链条与对应的第四链轮5321相连。位于后侧的立板的外侧面上固定设置有第四减速电机533,所述第二同步轴532的后端与所述第四减速电机533的动力输出轴相连。In order to cut off the cloth roll reaching the set length, as shown in FIG. connected at both ends. Both ends of the
如图10、图11所示,所述横切部件53包括U型折弯板534,所述U型折弯板534两端设有连接板5341,所述U型折弯板534的左、右两侧分别设置左支撑板5342与右支撑板5343,所述U型折弯板534内设有无杆气缸535,所述无杆气缸535的滑块上设置有滑块连接板5351,所述滑块连接板5351上设置有气动马达安装座5352,所述气动马达安装座5352上设置有气动马达536,所述气动马达536的动力输出轴上设置有切刀组件537;所述无杆气缸535的左侧设置有拖链护罩5381,所述拖链护罩5381内设置有拖链538,所述拖链538的一端固接在拖链护罩5381的中间,所述拖链538的另一端与滑块连接板5351固接。As shown in Figure 10 and Figure 11, the cross-cutting
进一步地,如图12所示,所述切刀组件537包括套接在所述气动马达536动力输出轴上的夹紧座5371,所述夹紧座5371上从左往右依次套设有切布刀片5372和刀片压盘5373,所述的切布刀片5372被夹紧固定在所述夹紧座5371和所述刀片压盘5373之间。所述气动马达536的动力输出轴上位于所述夹紧座5371的内部套接有弹簧夹5374,所述的弹簧夹5374上套设有胀紧套5375,作为一种具体实施方式,本实施例中所述胀紧套5375数量为两个,且左右对称分布。两个所述胀紧套5375之间设有隔套5376,位于左侧的胀紧套5375的左侧设有胀套压盘5377,所述胀套压盘5377通过螺栓5378与所述夹紧座5371连接,在所述螺栓5378的拉紧作用下,所述胀套压盘5377压紧所述胀紧套5375,并通过所述胀紧套的膨胀作用使弹簧夹箍紧在所述的动力输出轴上。Further, as shown in FIG. 12, the
进一步地,为了将横切后的位于所述右支撑板5343右侧的水刺布吹到下一个卷布轴上,所述U型折弯板534内设有吹气装置(图中未示出),所述吹气装置包括吹气管,所述吹气管上的吹气孔与所述右支撑板5343上设置的过气孔53431一一对应,所述吹气管的两端设有气管接头(图中未示出),所述气管接头通过气管与空气压缩机相连接,实现通气,当需要横切水刺布时,通过电磁阀控制实现给吹气管供气。Further, in order to blow the spunlaced fabric on the right side of the
进一步地,所述的气动马达安装座5352上位于所述切布刀片5372的上方设置有限位板539,所述限位板539与所述切布刀片5372相对应的位置上设有用于容纳所述切布刀片5372的长槽孔5391,所述切布刀片5372的上端部穿过长槽孔5391延伸至所述限位板539的上方。Further, the air
对布进行切断时,所述横切部件53通过支撑臂5311在第四减速电机533的带动下顺时针旋转到所述主动卷绕轴51的上方,所述无杆气缸535带动气动马达安装座5352移动,进而所述切布刀片5372一边在气动马达536的带动下转动,一边在无杆气缸535的带动下随着气动马达安装座5352前后移动,从而将水刺布切断。When cutting the cloth, the cross-cutting
如图13和图14所示,所述的主动卷绕轴51上设置有移位部件,所述移位部件的作用是将位于主动卷绕轴51左侧的卷布轴3移动到主动卷绕轴51右侧。所述的主动卷绕轴51上位于所述立板的外侧设置有第五链轮541,且所述的第五链轮541通过轴承组件与所述的主动卷绕轴51转动连接。所述的移位部件包括固定设置于所述第五链轮541上的翻转机械臂。As shown in Fig. 13 and Fig. 14, a shifting part is arranged on the
所述的翻转机械臂包括与所述的第五链轮541固定连接的固定板542,作为一种具体实施方式,本实施例中所述的固定板542上设置有用于容纳所述主动卷绕轴51的安装孔5421,且所述的固定板542通过螺钉与所述的第五链轮541固定连接。所述固定板542的外侧板设置有与所述的固定板542滑动连接的滑动板543,且所述的固定板542和滑动板543之间设置有用于驱动所述的滑动板543相对于固定板542滑动的定位气缸544。如图4所示,所述定位气缸544的缸体与所述的固定板542相铰接,所述定位气缸544的活塞杆的杆端与所述的滑动板543相铰接。所述的滑动板543和固定板542之间通过直线导轨副滑动连接,所述固定板542的外侧面上固定设置有导轨,所述滑动板543的内侧面(以靠近固定板的一侧为内侧)上固定设置有与所述的导轨相配合的滑块。The overturning mechanical arm includes a fixed
如图13和图14所示,所述滑动板543的悬空端设置有垂直于所述的滑动板543向一侧延伸的夹紧部5431,所述夹紧部5431靠近固定板542的一侧上设置有夹紧缺口5432,所述夹紧缺口5432的开口端的两侧分别设置有夹紧轮545。所述的滑动板543上位于所述夹紧缺口5432的下方设置有以横向布置的锁紧臂546,所述锁紧臂546的中部与所述的滑动板543相铰接,所述锁紧臂546的靠近固定板542的一端设置有夹紧轮545,所述锁紧臂546的远离固定板542的一端与锁紧气缸547的活塞杆的杆端相铰接,所述锁紧气缸547的缸体与所述的滑动板543相铰接。所述的锁紧气缸547能够驱动锁紧臂546绕着中间的铰接点摆动,且当所述锁紧气缸547的活塞杆伸出时,三个所述的夹紧轮545呈三角形布置,从而实现对卷布轴3的夹紧。As shown in FIG. 13 and FIG. 14 , the free end of the sliding
如图2所示,所述主动卷绕轴51的下方设置有第三同步轴548,所述第三同步轴548的两端分别通过轴承组件与所述的立板转动连接,所述第三同步轴548的前端与第五减速电机549的动力输出轴相连。所述的第三同步轴548上设置有与所述的第五链轮541一一对应的第六链轮5481,所述的第五链轮541通过链条与对应的第六链轮5481相连接。As shown in Figure 2, a third
所述机架1的成品工位上从左往右依次设置有一次推卷装置和二次推卷装置。The finished product station of the
所述一次推卷装置包括对称设置在所述立板内侧面上的一次推手部件。所述的一次推手部件包括通过直线导轨副与所述的立板滑动连接的推板611和用于驱动所述的推板611左右滑动的第一推卷气缸612。作为一种具体实施方式,本实施例中所述的立板上设置有两条平行布置的直线导轨,所述推板611的内侧面(以靠近立板的一侧为内侧)设置有与所述的直线导轨相配合的滑块。所述的第一推卷气缸612位于所述推板611的左侧,所述第一推卷气缸612的缸体与所述的立板相连接,所述第一推卷气缸612的活塞杆的杆端与所述的推板611相连接。The primary pushing and rolling device includes a primary pushing hand component arranged symmetrically on the inner side of the vertical plate. The primary push hand part includes a
所述推板611上端的左、右两侧分别设置有第一挡臂613和第二挡臂614,所述第一挡臂613的中部与所述的推板611相铰接,所述第一挡臂613的下端和推板611之间设置有用于斜向右下方拉紧所述第一挡臂613的第一拉簧615。所述第二挡臂614的下端与所述的推板611相铰接,所述第二挡臂614的外侧面(以靠近立板的一侧为外侧)的中部设置有第一滚轮617,所述立板的内侧面上位于所述第一滚轮617的下方设置有导向板616,且所述第一滚轮617在所述第二挡臂的自身重力的作用下压紧在所述的导向板616上。所述导向板616的右端呈向下弯曲的弧形结构。The left and right sides of the upper end of the
进一步地,为了保证两侧第一推卷气缸612的同步,防止由于气缸速度不一致导致卷布轴偏转,如图1和图2所示,所述的立板上位于所述推板611的右侧设置有固定轴,且所述的固定轴与所述的立板固定连接,所述的固定轴上位于所述立板的内侧设置有第八链轮62,且所述的第八链轮62通过轴承组件与所述的固定轴转动连接。两个所述的立板之间位于所述推板611的左侧设置有第四同步轴63,且所述第四同步轴63的两端分别通过轴承组件与所述的立板转动连接。所述的第四同步轴63上设置有与两个所述的第八链轮62一一对应的第七链轮64,所述的第七链轮64和对应的第八链轮62之间设置有同步链65,所述推板611的下端与位于同一侧的同步链65相连接。Further, in order to ensure the synchronization of the first rolling
作为一种具体实施方式,本实施例中所述推板611的下端左右两侧对称设置有两个凸起块,所述的同步链65为一开环链条,且所述同步链65的两端分别通过螺杆与所述的凸起块相连接。As a specific implementation, in this embodiment, the lower end of the
进一步地,如图5所示,所述第一挡臂613的下端设置有第二滚轮618,且在自由状态下,所述的第二滚轮618在第一拉簧615的拉紧作用下压紧在所述推板611的左侧面上。Further, as shown in FIG. 5 , the lower end of the
进一步地,如图5所示,所述第一挡臂613和第二挡臂614的上端分别设置有用于抵住卷布轴的第三滚轮619。Further, as shown in FIG. 5 , the upper ends of the
进一步地,如图5所示,所述推板611的上端设有卡口6111,且所述的第一挡臂613和第二挡臂614分别位于所述卡口6111的两侧。Further, as shown in FIG. 5 , a
进一步地,所述的第二挡臂614呈开口朝向第一挡臂613一侧的角型结构,且所述的第一滚轮617设置于所述第二挡臂614的拐角处。Further, the
如图1和图2所示,两个所述立板的外侧均设置有二次推卷装置。所述二次推卷装置包括铰接设置于所述立板外侧面上的推卷臂71,且所述推卷臂71的中部与所述的立板相铰接。所述的立板和推卷臂71之间设置有用于驱动所述的推卷臂71摆动的第二推卷气缸72,所述第二推卷气缸72的缸体与所述的立板相铰接,所述第二推卷气缸72的活塞杆的杆端与所述的推卷臂71相铰接。当所述第二推卷气缸72的活塞杆处于伸出状态时,所述推卷臂71的右端部位于所述立板的第三侧板113的上方,当所述第二推卷气缸72的活塞杆处于缩回状态时,所述推卷臂71的右端位于所述立板的第三侧板113的下方。As shown in Fig. 1 and Fig. 2, a secondary rolling device is provided on the outer sides of the two vertical plates. The secondary rolling device includes a rolling
优选的,所述的推卷臂71呈三角形结构,所述推卷臂71的左端部设置有第四滚轮73,所述推卷臂71的右端部设置有第三挡臂711,且当所述第二推卷气缸72的活塞杆处于伸出状态时,所述的第三挡臂711处于竖直状态。Preferably, the push-
进一步地,如图1、图15所示,所述的立板上位于所述第三挡臂711的左、右两侧均设置有用于防止卷布轴逆行的止挡组件8。所述的止挡组件8包括设置于所述立板外侧的止推板81,且所述的止推板81通过铰接轴82与所述的立板相铰接。所述止推板81的左侧面为向右上方倾斜的斜面,所述止推板81的右侧面为竖直面,所述竖直面右侧设置有避让缺口811,所述止推板81延伸至所述立板的上方,所述的止推板81上位于所述铰接轴82的下方设置有第一挂轴812。所述止推板81的右侧设置有固定块83,且所述的固定块83限制了所述止推板81向左侧的转动,而由于所述避让缺口811的存在,当所述的止推板81向右侧转动时,所述的固定块83不会对所述的止推板81造成阻碍。所述固定块83的下端设置有第二挂轴831,所述第一挂轴831与第二挂轴812之间连接有第二拉簧84。由所述一次推卷装置将卷布轴输送至此位置时,在卷布轴的推动下,所述止推板81做顺时针运动,当卷布轴经过后由于第二拉簧84的作用,此时止推板81恢复原位,由于固定块83的阻挡,防止了止推板在恢复原位后继续做逆时针运动,该设计的目的是防止位于所述二次推卷位置的布匹反方向运动。Further, as shown in FIG. 1 and FIG. 15 , on the left and right sides of the
进一步地,为了保证备用卷布轴在卷布时与主动卷绕装置具有相同的转速,消除因卷布轴速度不匹配而导致的初始布卷松弛的现象,所述的搬运装置和卷绕工位之间设置有预加速工位,且所述的预加速工位上设置有预加速装置。如图8所示,所述的预加速装置包括设置于位于前侧的立板上的预加速电机91,所述预加速电机91位于所述第二侧板112内部的一侧(以两个所述第二侧板相对的一侧为内),所述预加速电机91与减速机(图中未示出)连接,所述减速机的动力输出轴上设置有摩擦轮92,所述减速机下方设置有连接板,所述连接板上设置有连接块,所述连接块与第一气缸93的活塞杆的杆端转动连接,所述第一气缸93与固定在所述立板内侧的气缸支撑件94铰接,所述减速机下方固定连接有摆臂95,所述摆臂95的另一端与固定在立板内侧的摆臂支撑板96上的连接件铰接。Further, in order to ensure that the spare cloth winding shaft has the same rotational speed as that of the active winding device when winding the cloth, and eliminate the phenomenon of initial cloth roll slack caused by the speed mismatch of the cloth winding shaft, the handling device and the winding worker A pre-acceleration station is arranged between the stations, and a pre-acceleration device is arranged on the pre-acceleration station. As shown in Figure 8, described pre-acceleration device comprises the
进一步地,为了对放置在所述预加速工位上的备用卷布轴进行固定,如图2、图3和图7所示,位于后侧的立板上设置有限位臂97,所述限位臂97位于所述立板的内侧(以两个第二侧板相对的一侧为内),所述的限位臂97呈弧形结构,且所述限位臂97的一端与所述立板铰接,所述限位臂97的中部与第二气缸98的活塞杆铰接,所述第二气缸98的缸体与固定在所述立板上的连接件铰接。Further, in order to fix the spare cloth winding shaft placed on the pre-acceleration station, as shown in Fig. 2, Fig. 3 and Fig. 7, a
进一步地,所述预加速工位下方设置有张力检测装置,所述张力检测装置包括张力传感器(图中未示出)和导向辊23,所述导向辊23的两端设置有轴承,所述轴承的支座与张力传感器固定连接,所述张力传感器通过螺钉与所述机架1固定连接;通过张力传感器可以检测布的张力大小,然后根据所述张力传感器的检测值,调整主卷绕辊的速度,防止将布卷的太松或太紧。Further, a tension detection device is provided below the pre-acceleration station, and the tension detection device includes a tension sensor (not shown in the figure) and a
本发明的基本原理如下:Basic principle of the present invention is as follows:
在接收由上一道工序的机器导出来的水刺布之前,先把卷布轴放置到所述备用轴储存输送装置上的支撑平台15上,然后第二减速电机48带动第一同步轴46转动,通过第一链轮45与第二链轮47的配合,第一链轮45通过传动轴继而带动第二齿轮44转动,第二齿轮44与第一齿轮43啮合带动支撑轴41和转移臂42逆时针旋转,使所述转移臂42的凹槽与所述备用卷布轴3接触,此时所述第二减速电机48带动所述支撑轴41和所述转移臂42顺时针旋转,将所述备用卷布轴3放置到所述预加速工位。Before receiving the spunlaced cloth derived from the machine in the previous process, the cloth winding shaft is first placed on the
接着,所述第二气缸98带动所述限位臂97升起,所述限位臂97限制住预加速工位中的卷布轴3,此时翻转机械臂中的定位气缸544的活塞杆伸出,进而带动滑动板543的夹紧部5431移动至预加速工位,所述夹紧缺口5432两端的夹紧轮545与所述卷布轴3相抵靠,所述的锁紧臂546在所述锁紧气缸547的作用下转动,直至所述锁紧臂546上的夹紧轮545抵靠在卷布轴上,从而对卷布轴3进行夹紧抓取;所述第一气缸93带动预加速电机91上的减速机上升,使得减速机上的摩擦轮92与卷布轴3相切,保证预加速工位中卷布轴3达到预定的转动速度,预加速完成后第一气缸93带动减速机下降到初始位置,与此同时第二气缸98的活塞杆缩回,带动限位臂97下降。Then, the
最后,移位部件中的定位气缸544的活塞杆缩回,从而将加速后的卷布轴3送至主动卷绕轴51的左侧,此时卷布轴3的外表面与主动卷绕轴51的外表面接触,所述卷布轴3与所述主动卷绕轴51保持同步转动。Finally, the piston rod of the
完成以上动作后开始接收由上一道工序的机器导出来的水刺布,水刺布先通过第一导布辊21到第二导布辊22,再到张力检测装置,经张力检测装置开始在卷布轴上卷绕,当布卷厚度达到150mm-200mm时,所述翻转机械臂在第五减速电机549的带动下围绕主动卷绕轴51顺时针旋转,从而将卷布轴3从主动卷绕轴51左侧移动至主动卷绕轴51右侧,然后一次推卷装置中的第一推卷气缸612的活塞杆收缩,带动推板611携带第一挡臂613和第二挡臂614沿着直线导轨向左运动,当第一挡臂613上的第三滚轮619的外圆面与主动卷绕轴51右侧的卷布轴3的外圆面相接触时,第三滚轮619带动第一挡臂613顺时针转动,使得卷布轴3进入位于一次推卷装置中的卡口6111内,同时第一挡臂613在第一拉簧615的拉紧作用下逆时针旋转恢复到原位。一次推卷装置中的第一推卷气缸612处于缩回状态,且在第一推卷气缸612的向左拉拽的作用下,使得布卷的外圆面与所述主卷绕轴的外圆面保持接触状态,然后翻转机械臂上的锁紧气缸547的活塞收缩,进而带动锁紧臂546放开对卷布轴3的锁紧,然后第五减速电机549带动可翻转机械臂围绕主动卷绕轴51逆时针旋转,并回到初始位置。当卷布轴布卷达到设定长度时,横切部件53通过支撑臂5311在第四减速电机533的带动下,围绕主动卷绕轴51顺时针旋转到达工作位置。与此同时,一根新的备用卷布轴3经过搬运装置和预加速装置到达主动卷绕轴51的左侧。然后横切部件53中的无杆气缸535带动气动马达安装座5352移动,所述切布刀片5372随着气动马达安装座5352移动,切断水刺布,并将切断的水刺布通过过气孔吹到位于主动卷绕轴左侧的新的卷布轴上,此时新的卷布轴开始卷绕。然后一次推卷装置中的第一推卷气缸612的活塞杆伸出,带动推板611携带卷布轴沿着直线导轨运动向右运动。待卷布轴被推走后,横切部件53通过支撑臂5311在第四减速电机533的带动下回到初始位置。在第一推卷气缸612推卷的过程中,所述第二挡臂614上的第一滚轮617会沿着所述的导向板616向右移动,当第一滚轮617移动至所述导向板616右端的弧形部位时,所述的第二挡臂614在自身重力的作用下沿着导向板616的弧形部位向下移动,逐渐成水平状态,进而逐步解除对卷布轴的限制,当所述第二挡臂614完全解除对卷布轴的限制时,便可把成卷后的布卷输送到二次推卷装置,然后一次推卷装置中的推板611在第一推卷气缸612的作用下往左运动直至位于主动卷绕轴51右侧的卷布轴3进入到位于一次推卷装置中的卡扣6111内,当推板611往左运动时所述第二挡臂614上的第一滚轮617会沿着所述导向板616的弧形部位运动到直线部位,此时,所述第二挡臂614会在所述第一滚轮617和所述导向板616的限制作用下由水平状态变为竖直状态,从而实现对卷布轴3的限制作用。当第一推卷气缸612往左运动时,二次推卷装置中的第二推卷气缸72的活塞杆收缩,带动推卷臂71围绕轴承旋转,进而将成品布卷输送到成品布卷存放区,成品布卷存放区中的布卷由客户自行吊走,如此往复实现连续性生产。After completing the above actions, it starts to receive the spunlace fabric derived from the machine in the previous process. The spunlace fabric first passes through the first
本发明的描述中,术语“上”、“下”、“前”、“后”、“左”、“右”、“顶”、“底”、“竖直”、“水平”等指示的方位或位置关系为基于附图所示的方位或位置关系,仅是为了描述本发明而不是要求本发明必须以特定的方位构造或操作,因此不能理解为对本发明的限制。本发明中的“相连”“连接”应作广义理解,例如,可以是连接,也可以是可拆卸连接;可以是直接连接,也可以是通过中间部件间接连接,对于本领域的普通技术人员而言,可以具体情况理解上述术语的具体含义。In the description of the present invention, the terms "upper", "lower", "front", "rear", "left", "right", "top", "bottom", "vertical", "horizontal" etc. indicate The orientation or positional relationship is based on the orientation or positional relationship shown in the drawings, and is only for describing the present invention and does not require that the present invention must be constructed or operated in a specific orientation, so it should not be construed as limiting the present invention. "Connection" and "connection" in the present invention should be understood in a broad sense, for example, it can be a connection or a detachable connection; it can be a direct connection or an indirect connection through an intermediate component. In other words, the specific meanings of the above terms can be understood in specific situations.
以上所述为本发明的优选实施方式,具体实施例的说明仅用于更好的理解本发明的思想。对于本技术领域的普通技术人员来说,依照本发明原理还可以做出若干改进或者同等替换,这些改进或同等替换也视为落在本发明的保护范围。The above descriptions are preferred implementations of the present invention, and the descriptions of specific examples are only used to better understand the idea of the present invention. For those skilled in the art, several improvements or equivalent replacements can be made according to the principles of the present invention, and these improvements or equivalent replacements are also deemed to fall within the protection scope of the present invention.
Claims (10)
Priority Applications (1)
| Application Number | Priority Date | Filing Date | Title |
|---|---|---|---|
| CN202210867006.3A CN115402829B (en) | 2022-07-21 | 2022-07-21 | A winding machine suitable for nonwoven hydroentangled fabric production lines |
Applications Claiming Priority (1)
| Application Number | Priority Date | Filing Date | Title |
|---|---|---|---|
| CN202210867006.3A CN115402829B (en) | 2022-07-21 | 2022-07-21 | A winding machine suitable for nonwoven hydroentangled fabric production lines |
Publications (2)
| Publication Number | Publication Date |
|---|---|
| CN115402829A true CN115402829A (en) | 2022-11-29 |
| CN115402829B CN115402829B (en) | 2025-11-04 |
Family
ID=84157108
Family Applications (1)
| Application Number | Title | Priority Date | Filing Date |
|---|---|---|---|
| CN202210867006.3A Active CN115402829B (en) | 2022-07-21 | 2022-07-21 | A winding machine suitable for nonwoven hydroentangled fabric production lines |
Country Status (1)
| Country | Link |
|---|---|
| CN (1) | CN115402829B (en) |
Cited By (1)
| Publication number | Priority date | Publication date | Assignee | Title |
|---|---|---|---|---|
| CN118479283A (en) * | 2024-07-16 | 2024-08-13 | 瑞法诺(苏州)机械科技有限公司 | Reel shifting mechanism for automatic reel replacement of non-woven fabrics |
Citations (8)
| Publication number | Priority date | Publication date | Assignee | Title |
|---|---|---|---|---|
| US4944467A (en) * | 1986-02-27 | 1990-07-31 | A. Ahlstrom Corporation | Method and apparatus for decelerating a jumbo roll of a paper or board machine |
| CN1639037A (en) * | 2002-03-08 | 2005-07-13 | 梅特索·佩珀·卡尔斯塔德公司 | Apparatus and method for winding a paper web and equipment therefor for controlling nip load |
| CN101767726A (en) * | 2010-01-15 | 2010-07-07 | 余克 | Full-automatic high-speed winder |
| CN205892263U (en) * | 2016-08-08 | 2017-01-18 | 常熟市飞龙无纺机械有限公司 | Non -woven fabric rolling -up machine |
| CN207267759U (en) * | 2017-09-26 | 2018-04-24 | 温州万润机械有限公司 | The shedding mechanism of laminating machine |
| CN109353878A (en) * | 2018-12-10 | 2019-02-19 | 恒天重工股份有限公司 | A cross-cutting device suitable for non-woven fabric single roll winder |
| CN210176115U (en) * | 2019-06-04 | 2020-03-24 | 天津市茂海永泰纸制品有限公司 | Offset press with automatic paper feeding device |
| CN114180379A (en) * | 2021-12-10 | 2022-03-15 | 广东金明精机股份有限公司 | Film surface and center winding and roll changing device and method |
-
2022
- 2022-07-21 CN CN202210867006.3A patent/CN115402829B/en active Active
Patent Citations (8)
| Publication number | Priority date | Publication date | Assignee | Title |
|---|---|---|---|---|
| US4944467A (en) * | 1986-02-27 | 1990-07-31 | A. Ahlstrom Corporation | Method and apparatus for decelerating a jumbo roll of a paper or board machine |
| CN1639037A (en) * | 2002-03-08 | 2005-07-13 | 梅特索·佩珀·卡尔斯塔德公司 | Apparatus and method for winding a paper web and equipment therefor for controlling nip load |
| CN101767726A (en) * | 2010-01-15 | 2010-07-07 | 余克 | Full-automatic high-speed winder |
| CN205892263U (en) * | 2016-08-08 | 2017-01-18 | 常熟市飞龙无纺机械有限公司 | Non -woven fabric rolling -up machine |
| CN207267759U (en) * | 2017-09-26 | 2018-04-24 | 温州万润机械有限公司 | The shedding mechanism of laminating machine |
| CN109353878A (en) * | 2018-12-10 | 2019-02-19 | 恒天重工股份有限公司 | A cross-cutting device suitable for non-woven fabric single roll winder |
| CN210176115U (en) * | 2019-06-04 | 2020-03-24 | 天津市茂海永泰纸制品有限公司 | Offset press with automatic paper feeding device |
| CN114180379A (en) * | 2021-12-10 | 2022-03-15 | 广东金明精机股份有限公司 | Film surface and center winding and roll changing device and method |
Cited By (1)
| Publication number | Priority date | Publication date | Assignee | Title |
|---|---|---|---|---|
| CN118479283A (en) * | 2024-07-16 | 2024-08-13 | 瑞法诺(苏州)机械科技有限公司 | Reel shifting mechanism for automatic reel replacement of non-woven fabrics |
Also Published As
| Publication number | Publication date |
|---|---|
| CN115402829B (en) | 2025-11-04 |
Similar Documents
| Publication | Publication Date | Title |
|---|---|---|
| CN212173979U (en) | Double-station winding system | |
| CN107585612B (en) | A kind of compounding machine automatic roll-changing device | |
| CN110745268B (en) | Automatic pipe packaging machine | |
| CA2007971A1 (en) | Device for slipping winding cores onto expanding shafts with a given relative positioning | |
| CN212174037U (en) | Double-station splitting machine | |
| CN110422417A (en) | A kind of strapping removal device | |
| CN115402829A (en) | Winder suitable for non-woven water distribution thorn production line | |
| CN106270295B (en) | One kind online plain net machine | |
| CN203199217U (en) | Case sealing-ejecting device in full-automatic stacking-casing machine | |
| CN211310292U (en) | An automatic winding device | |
| CN207726460U (en) | Double full-automatic lap changing apparatus of take-up amorphous thin ribbon | |
| CN207771558U (en) | Pipe self-feeding platform | |
| CN112278932A (en) | Double-channel coiled material conveying mechanism | |
| CN216807559U (en) | Paper collecting and stacking device for printing | |
| CN215550936U (en) | Double-sided glass film laminating machine | |
| CN117381900A (en) | cutting device | |
| CN211310293U (en) | An automatic upper tubular material conveying equipment | |
| CN116750565A (en) | A deviation correction and conveying device for label printing | |
| CN116891123A (en) | Semi-automatic conveying equipment for conveying plates | |
| CN208948462U (en) | A kind of batcher selvage guide volume device | |
| CN207890053U (en) | A kind of bundle Plastic packaging apparatus | |
| CN210103056U (en) | Automatic paper core placing device and rewinding machine | |
| CN209009730U (en) | A kind of paper unreels conveying device | |
| CN207495594U (en) | A kind of double layer sheet transverse cutting unit | |
| CN223032576U (en) | Winding machine |
Legal Events
| Date | Code | Title | Description |
|---|---|---|---|
| PB01 | Publication | ||
| PB01 | Publication | ||
| SE01 | Entry into force of request for substantive examination | ||
| SE01 | Entry into force of request for substantive examination | ||
| GR01 | Patent grant | ||
| GR01 | Patent grant |
