CN115388741A - 一种丝杆及止转盘跳动检测装置 - Google Patents

一种丝杆及止转盘跳动检测装置 Download PDF

Info

Publication number
CN115388741A
CN115388741A CN202211318010.0A CN202211318010A CN115388741A CN 115388741 A CN115388741 A CN 115388741A CN 202211318010 A CN202211318010 A CN 202211318010A CN 115388741 A CN115388741 A CN 115388741A
Authority
CN
China
Prior art keywords
measuring instrument
rack
seat
driving
screw rod
Prior art date
Legal status (The legal status is an assumption and is not a legal conclusion. Google has not performed a legal analysis and makes no representation as to the accuracy of the status listed.)
Granted
Application number
CN202211318010.0A
Other languages
English (en)
Other versions
CN115388741B (zh
Inventor
顾来法
邬华东
杨祖军
何良伟
冯炳云
赵总辉
Current Assignee (The listed assignees may be inaccurate. Google has not performed a legal analysis and makes no representation or warranty as to the accuracy of the list.)
Shuanglin Co ltd
Original Assignee
Ningbo Shuanglin Automobile Parts Co ltd
Priority date (The priority date is an assumption and is not a legal conclusion. Google has not performed a legal analysis and makes no representation as to the accuracy of the date listed.)
Filing date
Publication date
Application filed by Ningbo Shuanglin Automobile Parts Co ltd filed Critical Ningbo Shuanglin Automobile Parts Co ltd
Priority to CN202211318010.0A priority Critical patent/CN115388741B/zh
Publication of CN115388741A publication Critical patent/CN115388741A/zh
Application granted granted Critical
Publication of CN115388741B publication Critical patent/CN115388741B/zh
Active legal-status Critical Current
Anticipated expiration legal-status Critical

Links

Images

Classifications

    • GPHYSICS
    • G01MEASURING; TESTING
    • G01BMEASURING LENGTH, THICKNESS OR SIMILAR LINEAR DIMENSIONS; MEASURING ANGLES; MEASURING AREAS; MEASURING IRREGULARITIES OF SURFACES OR CONTOURS
    • G01B5/00Measuring arrangements characterised by the use of mechanical techniques
    • FMECHANICAL ENGINEERING; LIGHTING; HEATING; WEAPONS; BLASTING
    • F16ENGINEERING ELEMENTS AND UNITS; GENERAL MEASURES FOR PRODUCING AND MAINTAINING EFFECTIVE FUNCTIONING OF MACHINES OR INSTALLATIONS; THERMAL INSULATION IN GENERAL
    • F16HGEARING
    • F16H19/00Gearings comprising essentially only toothed gears or friction members and not capable of conveying indefinitely-continuing rotary motion
    • F16H19/02Gearings comprising essentially only toothed gears or friction members and not capable of conveying indefinitely-continuing rotary motion for interconverting rotary or oscillating motion and reciprocating motion
    • F16H19/04Gearings comprising essentially only toothed gears or friction members and not capable of conveying indefinitely-continuing rotary motion for interconverting rotary or oscillating motion and reciprocating motion comprising a rack
    • GPHYSICS
    • G01MEASURING; TESTING
    • G01BMEASURING LENGTH, THICKNESS OR SIMILAR LINEAR DIMENSIONS; MEASURING ANGLES; MEASURING AREAS; MEASURING IRREGULARITIES OF SURFACES OR CONTOURS
    • G01B5/00Measuring arrangements characterised by the use of mechanical techniques
    • G01B5/0002Arrangements for supporting, fixing or guiding the measuring instrument or the object to be measured
    • GPHYSICS
    • G01MEASURING; TESTING
    • G01BMEASURING LENGTH, THICKNESS OR SIMILAR LINEAR DIMENSIONS; MEASURING ANGLES; MEASURING AREAS; MEASURING IRREGULARITIES OF SURFACES OR CONTOURS
    • G01B5/00Measuring arrangements characterised by the use of mechanical techniques
    • G01B5/0002Arrangements for supporting, fixing or guiding the measuring instrument or the object to be measured
    • G01B5/0004Supports
    • GPHYSICS
    • G01MEASURING; TESTING
    • G01BMEASURING LENGTH, THICKNESS OR SIMILAR LINEAR DIMENSIONS; MEASURING ANGLES; MEASURING AREAS; MEASURING IRREGULARITIES OF SURFACES OR CONTOURS
    • G01B5/00Measuring arrangements characterised by the use of mechanical techniques
    • G01B5/0025Measuring of vehicle parts

Landscapes

  • Physics & Mathematics (AREA)
  • General Physics & Mathematics (AREA)
  • Engineering & Computer Science (AREA)
  • General Engineering & Computer Science (AREA)
  • Mechanical Engineering (AREA)
  • Transmission Devices (AREA)

Abstract

本申请公开了一种丝杆及止转盘跳动检测装置,包括:底座;固定座,座椅驱动器的齿轮箱适于固定放置于所述固定座上;转动座,所述转动座安装于所述底座前端,所述座椅驱动器的丝杆向前延伸,所述丝杆适于转动放置于所述转动座上;驱动组件,所述驱动组件驱动所述丝杆转动;限位组件,所述限位组件适于作用于所述座椅驱动器并限制所述座椅驱动器沿上下方向的跳动;丝杆检测组件,所述丝杆检测组件适于在所述丝杆转动时测量所述丝杆的跳动参数;止转盘检测组件,所述止转盘检测组件适于在所述丝杆转动时测量止转盘的跳动参数;所述止转盘检测组件包括径向测量仪、轴向测量仪和操动机构。具有操作简便,检测效率高的优点。

Description

一种丝杆及止转盘跳动检测装置
技术领域
本申请涉及汽车零部件生产设备领域,具体涉及丝杆及止转盘跳动检测装置。
背景技术
汽车座椅水平驱动器(Horizontal Driving Machine,简称HDM)是汽车座椅位置调节系统的关键运动部件之一。常用的汽车座椅驱动器一般包括齿轮箱、丝杆及螺母组件,齿轮箱内设置蜗轮蜗杆,电机通过齿轮箱进行减速后与丝杆配合实现丝杆转动,螺母组件固定连接座椅并设置在丝杆上,丝杆转动用于驱动螺母组件连同座椅线性位移。随着人民生活水平的日益提高以及新能源汽车的快速发展,人们对于汽车座椅舒适性和功能性的要求越来越高。其中丝杆及止转盘在转动时会因为装配间隙及丝杆直线度等因素存在跳动。该跳动会直接影响汽车座椅驱动器的运行平顺性,在生产装配过程中需要对丝杆及止转盘的跳动程度进行检测,并对不符合直线度要求的汽车座椅驱动器进行返工。目前对于丝杆及止转盘跳动的检测存在工作效率低,精度低等问题。
因此,如何对现有的丝杆及止转盘跳动检测装置进行改进,使其克服上述问题,是本领域技术人员亟待解决的问题。
发明内容
本申请的一个目的在于提供一种操作简便,检测效率高的丝杆及止转盘跳动检测装置。
为达到以上目的,本申请采用的技术方案为:一种丝杆及止转盘跳动检测装置,包括:
底座;
固定座,所述固定座安装于所述底座后端,座椅驱动器的齿轮箱适于固定放置于所述固定座上;
转动座,所述转动座安装于所述底座前端,所述座椅驱动器的丝杆向前延伸,所述丝杆适于转动放置于所述转动座上;
驱动组件,所述驱动组件适于连接所述齿轮箱并通过所述齿轮箱驱动所述丝杆转动;
限位组件,所述限位组件适于作用于所述座椅驱动器并限制所述座椅驱动器沿上下方向的跳动;
丝杆检测组件,所述丝杆检测组件适于在所述丝杆转动时测量所述丝杆的跳动参数;
止转盘检测组件,所述止转盘检测组件适于在所述丝杆转动时测量止转盘的跳动参数;所述止转盘检测组件包括径向测量仪、轴向测量仪和操动机构,所述径向测量仪适于抵触所述止转盘径向端面并测量所述止转盘的径向跳动参数,所述轴向测量仪适于抵触所述止转盘轴向端面并测量所述止转盘的轴向跳动参数,所述操动机构适于驱动所述径向测量仪和所述轴向测量仪同步靠近或远离所述止转盘。
进一步的,所述操动机构具有驱动齿轮,所述止转盘检测组件还包括与所述驱动齿轮啮合的第一齿条和第二齿条,所述径向测量仪设置于所述第一齿条上,所述轴向测量仪设置于所述第二齿条上,所述第一齿条和所述第二齿条相互垂直且错位设置,所述驱动齿轮转动适于同时驱动所述第一齿条上下移动以及所述第二齿条前后移动,进而带动所述径向测量仪和所述轴向测量仪同步靠近或远离所述止转盘。
进一步的,所述操动机构包括箱体、操动旋钮和驱动齿轮,所述驱动齿轮沿左右方向转动设置于所述箱体上,所述操动旋钮转动设置于所述箱体上并适于驱动所述驱动齿轮转动,所述第一齿条沿上下方向滑动设置于所述箱体上,所述第二齿条沿前后方向滑动设置于所述箱体上。
进一步的,所述操动机构还包括主动锥齿轮和从动锥齿轮,所述操动旋钮沿上下方向转动设置于所述箱体上端,所述主动锥齿轮同心固定连接所述操动旋钮,所述从动锥齿轮同心固定连接所述驱动齿轮,所述主动锥齿轮啮合所述从动锥齿轮,所述操动旋钮适于通过所述主动锥齿轮和所述从动锥齿轮的配合驱动所述驱动齿轮转动;所述主动锥齿轮和所述从动锥齿轮之间的传动比大于1。
进一步的,所述径向测量仪上延伸出第一滑块,所述第一滑块沿上下方向滑动设置于所述第一齿条上,所述第一滑块和所述第一齿条之间设置有第一调节旋钮,所述第一调节旋钮沿上下方向转动设置于所述第一齿条上,且所述第一调节旋钮穿过并螺纹连接于所述第一滑块上,所述第一调节旋钮转动适于驱动所述径向测量仪上下移动;
所述轴向测量仪上延伸出第二滑块,所述第二滑块沿前后方向滑动设置于所述第二齿条上,所述第二滑块和所述第二齿条之间设置有第二调节旋钮,所述第二调节旋钮沿前后方向转动设置于所述第二齿条上,且所述第二调节旋钮穿过并螺纹连接于所述第二滑块上,所述第二调节旋钮转动适于驱动所述轴向测量仪前后移动。
进一步的,所述径向测量仪和所述轴向测量仪均采用杠杆千分表。
进一步的,所述底座上分别固定设置有第一滑轨和第二滑轨,所述第一滑轨和所述第二滑轨沿前后方向延伸,所述固定座和所述转动座适于在所述第一滑轨上滑动并在对应位置上固定,所述丝杆检测组件和所述止转盘检测组件适于在所述第二滑轨上滑动并在对应位置上固定。
进一步的,所述丝杆检测组件包括固定盘、竖杆、升降座、横杆和千分表,所述固定盘适于安装于所述底座上,所述竖杆沿上下方向固定设置于所述固定盘上,所述升降座沿上下方向滑动设置于所述竖杆上并适于在任意位置上固定,所述横杆沿左右方向滑动设置于所述升降座上并适于在任意位置上固定,所述千分表固定设置于所述横杆上。
进一步的,所述限位组件包括第一垂直式快速夹钳和第二垂直式快速夹钳;所述固定座上开设有固定槽,所述齿轮箱适于嵌入所述固定槽放置,所述固定槽适于限制所述齿轮箱沿左右方向的位移;所述固定槽内还开设有限位槽,所述齿轮箱的凸块适于嵌入所述限位槽,所述限位槽适于限制所述齿轮箱沿前后方向的位移;所述第一垂直式快速夹钳安装于所述固定座上并适于沿上下方向压合固定所述齿轮箱;所述转动座上开设有V型槽,所述丝杆适于抵触所述V型槽转动,所述第二垂直式快速夹钳安装于所述转动座上并适于沿上下方向抵触所述丝杆,用于限制所述丝杆在所述V型槽内跳动。
进一步的,所述驱动组件包括安装座、电机和延伸轴,所述安装座固定设置于所述底座上,所述电机固定设置于所述安装座上,所述延伸轴沿左右方向滑动连接所述电机,且所述电机适于对所述延伸轴进行周向限位,所述延伸轴适于沿左右方向进出所述齿轮箱的方孔,所述电机适于通过所述延伸轴驱动所述齿轮箱工作。
与现有技术相比,本申请的有益效果在于:本方案集成了丝杆检测组件和止转盘检测组件,可以同时对丝杆和止转盘的跳动参数进行检测,具有检测效率高的优点;进一步的,本方案的止转盘检测组件集成了径向测量仪和轴向测量仪,可以同时对止转盘的径向跳动参数和轴向跳动参数进行检测,进一步提高了检测效率;更关键的在于,本方案的操动机构可以同时驱动径向测量仪和轴向测量仪动作,简化操作步骤,方便放置和取下座椅驱动器。
附图说明
图1是可以利用本申请的一个优选实施例进行检测的座椅驱动器的立体结构示意图。
图2是根据本申请的一个优选实施例的立体结构示意图(检测状态),并标识了前、后、左、右、上、下六个方向。
图3是根据本申请的一个优选实施例图2中A处的放大视图。
图4是根据本申请的一个优选实施例的立体结构示意图(非检测状态)。
图5是根据本申请的一个优选实施例图4中B处的放大视图。
图6是根据本申请的一个优选实施例中止转盘检测组件的立体结构示意图。
图7是根据本申请的一个优选实施例图6的俯视图。
图8是根据本申请的一个优选实施例图7中沿C-C方向的剖视图。
图9是根据本申请的一个优选实施例中止转盘检测组件隐藏箱体后的立体结构示意图。
图10是根据本申请的一个优选实施例中操动机构的立体结构示意图。
图11是根据本申请的一个优选实施例中操动机构隐藏箱体后的立体结构示意图。
图12是根据本申请的一个优选实施例中第一齿条和径向测量仪的立体结构示意图。
图13是根据本申请的一个优选实施例图12的半剖视图。
图14是根据本申请的一个优选实施例图12的爆炸视图。
图15是根据本申请的一个优选实施例中第二齿条和轴向测量仪的立体结构示意图。
图16是根据本申请的一个优选实施例中径向测量仪和轴向测量仪接触止转盘时的参数关系图。
图17是根据本申请的一个优选实施例中固定座、转动座、驱动组件和限位组件的俯视图。
图中:100、齿轮箱;101、凸块;102、方孔;200、丝杆;300、止转盘;1、底座;11、第一滑轨;12、第二滑轨;2、固定座;21、固定槽;22、限位槽;3、转动座;31、V型槽;4、驱动组件;41、安装座;42、电机;43、延伸轴;5、限位组件;51、第一垂直式快速夹钳;52、第二垂直式快速夹钳;6、丝杆检测组件;61、固定盘;62、竖杆;63、升降座;64、横杆;65、千分表;7、止转盘检测组件;71、径向测量仪;72、轴向测量仪;73、操动机构;74、第一齿条;75、第二齿条;711、第一滑块;721、第二滑块;731、箱体;732、操动旋钮;733、驱动齿轮;734、主动锥齿轮;735、从动锥齿轮;741、第一调节旋钮;751、第二调节旋钮。
具体实施方式
下面,结合具体实施方式,对本申请做进一步描述,需要说明的是,在不相冲突的前提下,以下描述的各实施例之间或各技术特征之间可以任意组合形成新的实施例。
在本申请的描述中,需要说明的是,对于方位词,如有术语“中心”、 “横向”、“纵向”、“长度”、“宽度”、“厚度”、“上”、“下”、 “前”、“后”、“左”、“右”、“竖直”、“水平”、“顶”、“底”、“内”、“外”、“顺时针”、“逆时针”等指示方位和位置关系为基于附图的方位或位置关系,仅是为了便于叙述本申请和简化描述,而不是指示或暗示所指的装置或元件必须具有特定的方位、以特定方位构造和操作,不能理解为限制本申请的具体保护范围。
需要说明的是,本申请的说明书和权利要求书中的术语“第一”、“第二”等是用于区别类似的对象,而不必用于描述特定的顺序或先后次序。
本申请的说明书和权利要求书中的术语“包括”和“具有”以及他们的任何变形,意图在于覆盖不排他的包含,例如,包含了一系列步骤或单元的过程、方法、系统、产品或设备不必限于清楚地列出的那些步骤或单元,而是可包括没有清楚地列出的或对于这些过程、方法、产品或设备固有的其它步骤或单元。
如图1所示,传统的座椅驱动器包括齿轮箱100、丝杆200和止转盘300,齿轮箱100包括壳体、蜗轮和蜗杆,其中壳体两侧设置有凸块101,用于安装到车辆时的限位,蜗杆上开设有方孔102,用于连接驱动电机。在本申请中,需要对丝杆200和止转盘300的跳动参数进行检测。基于上述目的,本申请设计了丝杆及止转盘跳动检测装置,具体结构如下:
如图2至图17所示,本申请的一个优选实施例包括:
底座1,底座1作为安装基板,使得本装置成为一个整体,方便搬运。
固定座2,固定座2安装于底座1后端,座椅驱动器的齿轮箱100适于固定放置于固定座2上。
转动座3,转动座3安装于底座1前端,座椅驱动器的丝杆200向前延伸,丝杆200适于转动放置于转动座3上。
驱动组件4,驱动组件4适于连接齿轮箱100并通过齿轮箱100驱动丝杆200转动。
限位组件5,限位组件5适于作用于齿轮箱100并限制齿轮箱100沿上下方向的跳动;限位组件5包括第一垂直式快速夹钳51和第二垂直式快速夹钳52。
丝杆检测组件6,丝杆检测组件6适于在丝杆200转动时测量丝杆200的跳动参数。
止转盘检测组件7,止转盘检测组件7适于在丝杆200转动时测量止转盘300的跳动参数;止转盘检测组件7包括径向测量仪71、轴向测量仪72和操动机构73,径向测量仪71适于抵触止转盘300径向端面并测量止转盘300的径向跳动参数,轴向测量仪72适于抵触止转盘300轴向端面并测量止转盘300的轴向跳动参数,操动机构73适于驱动径向测量仪71和轴向测量仪72同步靠近或远离止转盘300。
如图2和图4所示,底座1上分别固定设置有第一滑轨11和第二滑轨12,第一滑轨11和第二滑轨12沿前后方向延伸,固定座2和转动座3适于在第一滑轨11上滑动并在对应位置上固定,丝杆检测组件6和止转盘检测组件7适于在第二滑轨12上滑动并在对应位置上固定。上述结构配合固定座2和转动座3的可更换模块,使得本申请的检测装置可以检测不同型号的座椅驱动器,提高其适用性。
齿轮箱100通过固定座2和限位组件5进行前、后、左、右、上、下六个方向的限位。具体如图17所示,固定座2上开设有固定槽21,齿轮箱100适于嵌入固定槽21放置,固定槽21适于限制齿轮箱100沿左右方向的位移;固定槽21内还开设有限位槽22,齿轮箱100的凸块101适于嵌入限位槽22,限位槽22适于限制齿轮箱100沿前后方向的位移;第一垂直式快速夹钳51安装于固定座2上并适于沿上下方向压合固定齿轮箱100。
丝杆200一端转动连接在齿轮箱100上,另一端转动放置于转动座3上。如图17所示,转动座3上开设有V型槽31,丝杆200适于抵触V型槽31转动,第二垂直式快速夹钳52安装于转动座3上并适于沿上下方向抵触丝杆200,用于限制丝杆200在V型槽31内跳动。
需要说明的是,第一垂直式快速夹钳51和第二垂直式快速夹钳52的具体结构和工作原理为本领域技术人员所熟知的公知常识,故不在本实施例中具体描述,但这并不妨碍其成为本申请隐含的技术特征。
驱动组件4需要进出蜗杆上开设有方孔102进行连接,因此设计驱动组件4如图17所示,驱动组件4包括安装座41、电机42和延伸轴43,安装座41固定设置于底座1上,电机42固定设置于安装座41上,延伸轴43沿左右方向滑动连接电机42,且电机42适于对延伸轴43进行周向限位,延伸轴43适于沿左右方向进出齿轮箱100的方孔102,电机42适于通过延伸轴43驱动齿轮箱100工作。
如图2和图4所示,丝杆检测组件6包括固定盘61、竖杆62、升降座63、横杆64和千分表65,固定盘61适于安装于底座1上,竖杆62沿上下方向固定设置于固定盘61上,升降座63沿上下方向滑动设置于竖杆62上并适于在任意位置上固定,横杆64沿左右方向滑动设置于升降座63上并适于在任意位置上固定,千分表65固定设置于横杆64上。千分表65通过升降座63和横杆64的竖向和横向调节,可以靠近或远离丝杆200,实现对丝杆200跳动参数的检测。
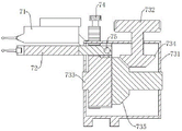
止转盘检测组件7的设计是本申请的关键,如图6至图15所示,本实施例的操动机构73具有驱动齿轮733,止转盘检测组件7还包括与驱动齿轮733啮合的第一齿条74和第二齿条75,径向测量仪71设置于第一齿条74上,轴向测量仪72设置于第二齿条75上,第一齿条74和第二齿条75相互垂直且错位设置,驱动齿轮733转动适于同时驱动第一齿条74上下移动以及第二齿条75前后移动,进而带动径向测量仪71和轴向测量仪72同步靠近或远离止转盘300。即通过齿轮齿条结构实现径向测量仪71、轴向测量仪72的联动。
进一步具体的,如图8至图11所示,操动机构73包括箱体731、操动旋钮732和驱动齿轮733,驱动齿轮733沿左右方向转动设置于箱体731上,操动旋钮732转动设置于箱体731上并适于驱动驱动齿轮733转动,第一齿条74沿上下方向滑动设置于箱体731上,第二齿条75沿前后方向滑动设置于箱体731上。为了操作方便,操动机构73还包括主动锥齿轮734和从动锥齿轮735,操动旋钮732沿上下方向转动设置于箱体731上端,主动锥齿轮734同心固定连接操动旋钮732,从动锥齿轮735同心固定连接驱动齿轮733,主动锥齿轮734啮合从动锥齿轮735,操动旋钮732适于通过主动锥齿轮734和从动锥齿轮735的配合驱动驱动齿轮733转动。为了操作精确,主动锥齿轮734和从动锥齿轮735之间的传动比大于1。
如图16所示,不同规格的止转盘300的半径R和厚度S会存在不同,为了使得本实施例的止转盘检测组件7能检测不同规格的止转盘300,第一齿条74和第二齿条75均设置了可调节结构,具体如下:
如图12至图14所示,径向测量仪71上延伸出第一滑块711,第一滑块711沿上下方向滑动设置于第一齿条74上,第一滑块711和第一齿条74之间设置有第一调节旋钮741,第一调节旋钮741沿上下方向转动设置于第一齿条74上,且第一调节旋钮741穿过并螺纹连接于第一滑块711上,第一调节旋钮741转动适于驱动径向测量仪71上下移动。如图16所示,径向测量仪71上下移动可以调节径向测量仪71和轴向测量仪72之间的最小竖向距离H,进而适用不同半径R的止转盘300。
如图15所示,轴向测量仪72上延伸出第二滑块721,第二滑块721沿前后方向滑动设置于第二齿条75上,第二滑块721和第二齿条75之间设置有第二调节旋钮751,第二调节旋钮751沿前后方向转动设置于第二齿条75上,且第二调节旋钮751穿过并螺纹连接于第二滑块721上,第二调节旋钮751转动适于驱动轴向测量仪72前后移动。如图16所示,轴向测量仪72前后移动可以调节径向测量仪71和轴向测量仪72之间的最小横向距离D,进而适用不同厚度S的止转盘300。
本实施例的径向测量仪71和轴向测量仪72均采用杠杆千分表,作为标准件可以采购获得。杠杆千分表的具体结构和工作原理为本领域技术人员所熟知的公知常识,故不在本实施例中具体描述,但这并不妨碍其成为本申请隐含的技术特征。
以上描述了本申请的基本原理、主要特征和本申请的优点。本行业的技术人员应该了解,本申请不受上述实施例的限制,上述实施例和说明书中描述的只是本申请的原理,在不脱离本申请精神和范围的前提下本申请还会有各种变化和改进,这些变化和改进都落入要求保护的本申请的范围内。本申请要求的保护范围由所附的权利要求书及其等同物界定。

Claims (10)

1.一种丝杆及止转盘跳动检测装置,其特征在于,包括:
底座;
固定座,所述固定座安装于所述底座后端,座椅驱动器的齿轮箱适于固定放置于所述固定座上;
转动座,所述转动座安装于所述底座前端,所述座椅驱动器的丝杆向前延伸,所述丝杆适于转动放置于所述转动座上;
驱动组件,所述驱动组件适于连接所述齿轮箱并通过所述齿轮箱驱动所述丝杆转动;
限位组件,所述限位组件适于作用于所述座椅驱动器并限制所述座椅驱动器沿上下方向的跳动;
丝杆检测组件,所述丝杆检测组件适于在所述丝杆转动时测量所述丝杆的跳动参数;
止转盘检测组件,所述止转盘检测组件适于在所述丝杆转动时测量止转盘的跳动参数;所述止转盘检测组件包括径向测量仪、轴向测量仪和操动机构,所述径向测量仪适于抵触所述止转盘径向端面并测量所述止转盘的径向跳动参数,所述轴向测量仪适于抵触所述止转盘轴向端面并测量所述止转盘的轴向跳动参数,所述操动机构适于驱动所述径向测量仪和所述轴向测量仪同步靠近或远离所述止转盘。
2.根据权利要求1所述的一种丝杆及止转盘跳动检测装置,其特征在于:所述操动机构具有驱动齿轮,所述止转盘检测组件还包括与所述驱动齿轮啮合的第一齿条和第二齿条,所述径向测量仪设置于所述第一齿条上,所述轴向测量仪设置于所述第二齿条上,所述第一齿条和所述第二齿条相互垂直且错位设置,所述驱动齿轮转动适于同时驱动所述第一齿条上下移动以及所述第二齿条前后移动,进而带动所述径向测量仪和所述轴向测量仪同步靠近或远离所述止转盘。
3.根据权利要求2所述的一种丝杆及止转盘跳动检测装置,其特征在于:所述操动机构包括箱体、操动旋钮和驱动齿轮,所述驱动齿轮沿左右方向转动设置于所述箱体上,所述操动旋钮转动设置于所述箱体上并适于驱动所述驱动齿轮转动,所述第一齿条沿上下方向滑动设置于所述箱体上,所述第二齿条沿前后方向滑动设置于所述箱体上。
4.根据权利要求3所述的一种丝杆及止转盘跳动检测装置,其特征在于:所述操动机构还包括主动锥齿轮和从动锥齿轮,所述操动旋钮沿上下方向转动设置于所述箱体上端,所述主动锥齿轮同心固定连接所述操动旋钮,所述从动锥齿轮同心固定连接所述驱动齿轮,所述主动锥齿轮啮合所述从动锥齿轮,所述操动旋钮适于通过所述主动锥齿轮和所述从动锥齿轮的配合驱动所述驱动齿轮转动;所述主动锥齿轮和所述从动锥齿轮之间的传动比大于1。
5.根据权利要求2所述的一种丝杆及止转盘跳动检测装置,其特征在于:所述径向测量仪上延伸出第一滑块,所述第一滑块沿上下方向滑动设置于所述第一齿条上,所述第一滑块和所述第一齿条之间设置有第一调节旋钮,所述第一调节旋钮沿上下方向转动设置于所述第一齿条上,且所述第一调节旋钮穿过并螺纹连接于所述第一滑块上,所述第一调节旋钮转动适于驱动所述径向测量仪上下移动;
所述轴向测量仪上延伸出第二滑块,所述第二滑块沿前后方向滑动设置于所述第二齿条上,所述第二滑块和所述第二齿条之间设置有第二调节旋钮,所述第二调节旋钮沿前后方向转动设置于所述第二齿条上,且所述第二调节旋钮穿过并螺纹连接于所述第二滑块上,所述第二调节旋钮转动适于驱动所述轴向测量仪前后移动。
6.根据权利要求1所述的一种丝杆及止转盘跳动检测装置,其特征在于:所述径向测量仪和所述轴向测量仪均采用杠杆千分表。
7.根据权利要求1所述的一种丝杆及止转盘跳动检测装置,其特征在于:所述底座上分别固定设置有第一滑轨和第二滑轨,所述第一滑轨和所述第二滑轨沿前后方向延伸,所述固定座和所述转动座适于在所述第一滑轨上滑动并在对应位置上固定,所述丝杆检测组件和所述止转盘检测组件适于在所述第二滑轨上滑动并在对应位置上固定。
8.根据权利要求1所述的一种丝杆及止转盘跳动检测装置,其特征在于:所述丝杆检测组件包括固定盘、竖杆、升降座、横杆和千分表,所述固定盘适于安装于所述底座上,所述竖杆沿上下方向固定设置于所述固定盘上,所述升降座沿上下方向滑动设置于所述竖杆上并适于在任意位置上固定,所述横杆沿左右方向滑动设置于所述升降座上并适于在任意位置上固定,所述千分表固定设置于所述横杆上。
9.根据权利要求1所述的一种丝杆及止转盘跳动检测装置,其特征在于:所述限位组件包括第一垂直式快速夹钳和第二垂直式快速夹钳;所述固定座上开设有固定槽,所述齿轮箱适于嵌入所述固定槽放置,所述固定槽适于限制所述齿轮箱沿左右方向的位移;所述固定槽内还开设有限位槽,所述齿轮箱的凸块适于嵌入所述限位槽,所述限位槽适于限制所述齿轮箱沿前后方向的位移;所述第一垂直式快速夹钳安装于所述固定座上并适于沿上下方向压合固定所述齿轮箱;所述转动座上开设有V型槽,所述丝杆适于抵触所述V型槽转动,所述第二垂直式快速夹钳安装于所述转动座上并适于沿上下方向抵触所述丝杆,用于限制所述丝杆在所述V型槽内跳动。
10.根据权利要求1所述的一种丝杆及止转盘跳动检测装置,其特征在于:所述驱动组件包括安装座、电机和延伸轴,所述安装座固定设置于所述底座上,所述电机固定设置于所述安装座上,所述延伸轴沿左右方向滑动连接所述电机,且所述电机适于对所述延伸轴进行周向限位,所述延伸轴适于沿左右方向进出所述齿轮箱的方孔,所述电机适于通过所述延伸轴驱动所述齿轮箱工作。
CN202211318010.0A 2022-10-26 2022-10-26 一种丝杆及止转盘跳动检测装置 Active CN115388741B (zh)

Priority Applications (1)

Application Number Priority Date Filing Date Title
CN202211318010.0A CN115388741B (zh) 2022-10-26 2022-10-26 一种丝杆及止转盘跳动检测装置

Applications Claiming Priority (1)

Application Number Priority Date Filing Date Title
CN202211318010.0A CN115388741B (zh) 2022-10-26 2022-10-26 一种丝杆及止转盘跳动检测装置

Publications (2)

Publication Number Publication Date
CN115388741A true CN115388741A (zh) 2022-11-25
CN115388741B CN115388741B (zh) 2023-02-03

Family

ID=84128849

Family Applications (1)

Application Number Title Priority Date Filing Date
CN202211318010.0A Active CN115388741B (zh) 2022-10-26 2022-10-26 一种丝杆及止转盘跳动检测装置

Country Status (1)

Country Link
CN (1) CN115388741B (zh)

Cited By (4)

* Cited by examiner, † Cited by third party
Publication number Priority date Publication date Assignee Title
CN115930748A (zh) * 2022-12-12 2023-04-07 浙江群展精密紧固件股份有限公司 一种螺母垂直度检测设备
CN119289849A (zh) * 2024-12-13 2025-01-10 江苏泉天下智能装备有限公司 一种干式螺杆真空泵转子表面检测装置
CN119509435A (zh) * 2025-01-20 2025-02-25 浙江西博思测控技术有限公司 一种自监测的稳定型齿轮箱及监测方法
CN120252471A (zh) * 2025-06-07 2025-07-04 云南红盛元机电技术发展有限公司 舵机中齿轮减速机齿轮间隙的检测装置

Citations (19)

* Cited by examiner, † Cited by third party
Publication number Priority date Publication date Assignee Title
JPH0669709U (ja) * 1993-03-05 1994-09-30 住友電装株式会社 測長器
JPH08227523A (ja) * 1995-02-22 1996-09-03 Nec Corp ランアウト測定装置
JP2004351996A (ja) * 2003-05-27 2004-12-16 Oiles Ind Co Ltd ラックピニオン式ステアリング装置
US20100290851A1 (en) * 2008-03-14 2010-11-18 The Gleason Works Runout compensation on machine tools
CN203758409U (zh) * 2014-03-19 2014-08-06 麦特达因(苏州)汽车部件有限公司 一种综合测量检具
CN105180812A (zh) * 2015-09-28 2015-12-23 北京泰诚信测控技术股份有限公司 一种主减速器总成的凸缘端面及径向跳动测量装置
CN105486256A (zh) * 2015-12-24 2016-04-13 辽宁精智测控科技有限公司 一种汽车座椅水平驱动器螺纹杆、止转盘全自动检测设备
CN106152899A (zh) * 2016-08-25 2016-11-23 浙江浪潮精密机械有限公司 一种孔式套装铣刀检测仪以及其检测方法
RU174363U1 (ru) * 2016-07-25 2017-10-11 Общество с ограниченной ответственностью "Опытно-инструментальный завод "Транспорт" Устройство для измерения радиального и торцового биения зубчатого венца и колеса колесной пары локомотива
CN109163685A (zh) * 2018-09-21 2019-01-08 马鞍山市恒利达机械刀片有限公司 圆盘刀片轴向和径向跳动检测仪
CN109176495A (zh) * 2018-09-30 2019-01-11 深圳市易通智能自动化装备制造有限公司 一种多轴联动的机械手
CN109282723A (zh) * 2018-11-06 2019-01-29 中信戴卡股份有限公司 一种车轮综合检测设备
CN209263900U (zh) * 2018-12-19 2019-08-16 卓研精密工业(苏州)有限公司 用于测量轴向和径向跳动量的激光测量仪
CN210268424U (zh) * 2019-08-28 2020-04-07 昆山佑泽欣智控设备有限公司 一种汽车轮毂跳动检测机构
CN111397490A (zh) * 2020-04-29 2020-07-10 浙江四强轴承制造有限公司 微型滑块检测仪器
CN211102156U (zh) * 2019-12-11 2020-07-28 无锡天光自动化科技有限公司 一种多轴联动激光焊接机
CN111649707A (zh) * 2020-06-19 2020-09-11 摩登汽车有限公司 用于测量机动车辆的检测系统
CN216385358U (zh) * 2021-11-06 2022-04-26 江门市博思成精密部件制造有限公司 一种转子轴检测轴伸跳动的工装
CN216899606U (zh) * 2022-03-24 2022-07-05 楚能新能源股份有限公司 回转平台径向轴向运动误差测量用固定装置

Patent Citations (19)

* Cited by examiner, † Cited by third party
Publication number Priority date Publication date Assignee Title
JPH0669709U (ja) * 1993-03-05 1994-09-30 住友電装株式会社 測長器
JPH08227523A (ja) * 1995-02-22 1996-09-03 Nec Corp ランアウト測定装置
JP2004351996A (ja) * 2003-05-27 2004-12-16 Oiles Ind Co Ltd ラックピニオン式ステアリング装置
US20100290851A1 (en) * 2008-03-14 2010-11-18 The Gleason Works Runout compensation on machine tools
CN203758409U (zh) * 2014-03-19 2014-08-06 麦特达因(苏州)汽车部件有限公司 一种综合测量检具
CN105180812A (zh) * 2015-09-28 2015-12-23 北京泰诚信测控技术股份有限公司 一种主减速器总成的凸缘端面及径向跳动测量装置
CN105486256A (zh) * 2015-12-24 2016-04-13 辽宁精智测控科技有限公司 一种汽车座椅水平驱动器螺纹杆、止转盘全自动检测设备
RU174363U1 (ru) * 2016-07-25 2017-10-11 Общество с ограниченной ответственностью "Опытно-инструментальный завод "Транспорт" Устройство для измерения радиального и торцового биения зубчатого венца и колеса колесной пары локомотива
CN106152899A (zh) * 2016-08-25 2016-11-23 浙江浪潮精密机械有限公司 一种孔式套装铣刀检测仪以及其检测方法
CN109163685A (zh) * 2018-09-21 2019-01-08 马鞍山市恒利达机械刀片有限公司 圆盘刀片轴向和径向跳动检测仪
CN109176495A (zh) * 2018-09-30 2019-01-11 深圳市易通智能自动化装备制造有限公司 一种多轴联动的机械手
CN109282723A (zh) * 2018-11-06 2019-01-29 中信戴卡股份有限公司 一种车轮综合检测设备
CN209263900U (zh) * 2018-12-19 2019-08-16 卓研精密工业(苏州)有限公司 用于测量轴向和径向跳动量的激光测量仪
CN210268424U (zh) * 2019-08-28 2020-04-07 昆山佑泽欣智控设备有限公司 一种汽车轮毂跳动检测机构
CN211102156U (zh) * 2019-12-11 2020-07-28 无锡天光自动化科技有限公司 一种多轴联动激光焊接机
CN111397490A (zh) * 2020-04-29 2020-07-10 浙江四强轴承制造有限公司 微型滑块检测仪器
CN111649707A (zh) * 2020-06-19 2020-09-11 摩登汽车有限公司 用于测量机动车辆的检测系统
CN216385358U (zh) * 2021-11-06 2022-04-26 江门市博思成精密部件制造有限公司 一种转子轴检测轴伸跳动的工装
CN216899606U (zh) * 2022-03-24 2022-07-05 楚能新能源股份有限公司 回转平台径向轴向运动误差测量用固定装置

Cited By (5)

* Cited by examiner, † Cited by third party
Publication number Priority date Publication date Assignee Title
CN115930748A (zh) * 2022-12-12 2023-04-07 浙江群展精密紧固件股份有限公司 一种螺母垂直度检测设备
CN119289849A (zh) * 2024-12-13 2025-01-10 江苏泉天下智能装备有限公司 一种干式螺杆真空泵转子表面检测装置
CN119509435A (zh) * 2025-01-20 2025-02-25 浙江西博思测控技术有限公司 一种自监测的稳定型齿轮箱及监测方法
CN119509435B (zh) * 2025-01-20 2025-04-01 浙江西博思测控技术有限公司 一种自监测的稳定型齿轮箱及监测方法
CN120252471A (zh) * 2025-06-07 2025-07-04 云南红盛元机电技术发展有限公司 舵机中齿轮减速机齿轮间隙的检测装置

Also Published As

Publication number Publication date
CN115388741B (zh) 2023-02-03

Similar Documents

Publication Publication Date Title
CN115388741B (zh) 一种丝杆及止转盘跳动检测装置
CN110864658B (zh) 一种新能源汽车蓄能器螺母齿轮齿形检测方法
CN101566456B (zh) 一种锥齿轮双面啮合检测装置
CN101210799B (zh) 轿车制动盘总成跳动测量仪
CN103512736A (zh) 前制动器测试装置
CN112129258B (zh) 划痕深度测量方法
CN201149480Y (zh) 轿车制动盘总成跳动测量仪
CN218822001U (zh) 一种止转盘检测组件
CN221238353U (zh) 一种制动器摩擦片生产检测器
CN204421838U (zh) 一种汽车基本参数测量装置
CN109765131B (zh) 一种汽车手排挡档位使用强度测试机械力臂
CN217465604U (zh) 一种测量差速器壳体长度的检具
CN220583252U (zh) 汽车转向机检测装置
CN200952931Y (zh) 用于不规则、非平面的二维测量仪
CN115183661B (zh) 一种钳式制动器支架平面度快速测量检具
CN211205081U (zh) 螺丝通止规检测机
CN111336934A (zh) 一种通用型高精度光栅高度尺
CN201945280U (zh) 用于伞齿轮背面外圆及端面形位偏差测量装置
CN115164686A (zh) 一种圆锥破碎机筒体尺寸检测装置
CN212844679U (zh) 一种新型混凝土抗压强度无损检测装置
CN223500868U (zh) 一种用于零部件自动化检测的末端检测组件
CN111595261A (zh) 一种固定测量的便携式车轮踏面周向轮廓测量装置及方法
CN218629022U (zh) 一种汽车前轮转向角检测装置
CN223559651U (zh) 光电采集司控器
CN222964566U (zh) 一种车辆底板及栏板高度检测的装置

Legal Events

Date Code Title Description
PB01 Publication
PB01 Publication
SE01 Entry into force of request for substantive examination
SE01 Entry into force of request for substantive examination
GR01 Patent grant
GR01 Patent grant
CP03 Change of name, title or address

Address after: 315600 Zhejiang Province Ningbo City Ninghai County Xidian Town Huangxi Kou

Patentee after: Shuanglin Co.,Ltd.

Country or region after: China

Address before: 315600 Zhejiang Province Ningbo City Ninhai County Xidian Town Huangxi Kou

Patentee before: NINGBO SHUANGLIN AUTOMOBILE PARTS Co.,Ltd.

Country or region before: China