CN115369979A - Construction device and construction method for large-diameter drainage pipeline in limited space - Google Patents
Construction device and construction method for large-diameter drainage pipeline in limited space Download PDFInfo
- Publication number
- CN115369979A CN115369979A CN202211100697.0A CN202211100697A CN115369979A CN 115369979 A CN115369979 A CN 115369979A CN 202211100697 A CN202211100697 A CN 202211100697A CN 115369979 A CN115369979 A CN 115369979A
- Authority
- CN
- China
- Prior art keywords
- pipeline
- sliding
- bracket
- construction
- brackets
- Prior art date
- Legal status (The legal status is an assumption and is not a legal conclusion. Google has not performed a legal analysis and makes no representation as to the accuracy of the status listed.)
- Pending
Links
Images
Classifications
-
- E—FIXED CONSTRUCTIONS
- E03—WATER SUPPLY; SEWERAGE
- E03F—SEWERS; CESSPOOLS
- E03F3/00—Sewer pipe-line systems
- E03F3/06—Methods of, or installations for, laying sewer pipes
Landscapes
- Health & Medical Sciences (AREA)
- Life Sciences & Earth Sciences (AREA)
- Engineering & Computer Science (AREA)
- Hydrology & Water Resources (AREA)
- Public Health (AREA)
- Water Supply & Treatment (AREA)
- Sewage (AREA)
Abstract
本发明涉及一种受限空间大直径排水管线施工装置及施工方法,受限空间大直径排水管线施工装置包括包括导轨和滑动托架,所述滑动托架包括主梁,在所述主梁的两端分别设置有滑套,在所述滑套的前后两侧分别设置有导轮,所述导轮用于在所述导轨上行走,在所述主梁上侧面的中部设有两个托座,所述托座的顶部为倾斜的弧形托板,两个所述弧形托板呈倒八字型布置。本发明的施工方法在排水管道沟槽内设置导轨,通过滑动托架转运管道,从而实现管道的倒运安装施工,将管道的倒运从沟槽外变为在沟槽内进行,从而使吊装点固定在构件上料区附近。本发明能够在空间受限的区域进行管线施工,成本低,施工效率高,且能够保证施工质量。
The invention relates to a construction device and construction method for a large-diameter drainage pipeline in a confined space. The construction device for a large-diameter drainage pipeline in a confined space includes a guide rail and a sliding bracket, and the sliding bracket includes a main beam. Sliding sleeves are respectively provided at both ends, and guide wheels are respectively provided on the front and rear sides of the sliding sleeves. The guide wheels are used to walk on the guide rails, and two brackets are provided in the middle of the upper side of the main beam. The top of the bracket is an inclined arc-shaped supporting plate, and the two arc-shaped supporting plates are arranged in an inverted splayed shape. In the construction method of the present invention, guide rails are set in the drainage pipe groove, and the pipe is transferred through the sliding bracket, so as to realize the reverse installation and construction of the pipeline, and change the reverse transportation of the pipeline from outside the groove to inside the groove, so that the hoisting point is fixed Near the component loading area. The invention can carry out pipeline construction in areas with limited space, has low cost, high construction efficiency, and can ensure construction quality.
Description
技术领域technical field
本发明涉及一种排水管施工技术,具体地说是一种受限空间大直径排水管线施工装置及施工方法。The invention relates to a drainage pipe construction technology, in particular to a large-diameter drainage pipeline construction device and construction method in a confined space.
背景技术Background technique
市政排水工程中,一般采用明挖直埋,管道多为预制混凝土管,并设置坡度重力排放,施工过程中对安全施工、高程及管线密封等要求较高,其中雨水管线可能涉及超过d2000mm内径的大直径预制混凝土管。大直径预制混凝土排水管因体积及重量较大,在给排水工程施工过程中,其施工难度大,主要体现在倒运吊装难度高、管底高程较难控制造成施工质量较难保证,同时安装过程中的危险因素较多。常规施工方法多采用汽车将构件倒运至管道安装位置外的吊装点,采用大型汽车吊或履带吊将构件吊装至安装位置进行吊装,部分工程也可采用门式起重机设备进行吊装。但在旧城改造或施工区域受限的情况下,以上施工方法可能无法采用。In municipal drainage projects, open cut and direct burial are generally used, and the pipes are mostly prefabricated concrete pipes, and slope gravity discharge is set. During the construction process, there are high requirements for safe construction, elevation and pipeline sealing, among which rainwater pipelines may involve pipes with an inner diameter of more than d2000mm Large diameter precast concrete pipes. Due to the large volume and weight of large-diameter prefabricated concrete drainage pipes, it is difficult to construct in the construction process of water supply and drainage projects, mainly reflected in the difficulty of reverse lifting and the difficulty of controlling the elevation of the pipe bottom, which makes it difficult to ensure the construction quality. At the same time, the installation process There are many risk factors. Conventional construction methods mostly use cars to transport the components back to the hoisting point outside the pipeline installation location, and use large truck cranes or crawler cranes to hoist the components to the installation location for hoisting, and some projects can also be hoisted by gantry crane equipment. However, in the case of old city reconstruction or limited construction area, the above construction methods may not be applicable.
发明内容Contents of the invention
本发明的目的就是提供一种受限空间大直径排水管线施工装置及施工方法,以解决在受限空间内大直径排水管道施工困难的问题。The object of the present invention is to provide a construction device and construction method for a large-diameter drainage pipeline in a confined space, so as to solve the problem of difficult construction of a large-diameter drainage pipeline in a confined space.
本发明是这样实现的:一种受限空间大直径排水管线施工装置,包括导轨和滑动托架,所述滑动托架包括主梁,在所述主梁的两端分别设置有滑套,在所述滑套的前后两侧分别设置有导轮,所述导轮用于在所述导轨上行走,在所述主梁上侧面的中部设有两个托座,所述托座的顶部为倾斜的弧形托板,两个所述弧形托板呈倒八字型布置。The present invention is achieved in the following way: a large-diameter drainage pipeline construction device in a confined space, including a guide rail and a sliding bracket, the sliding bracket includes a main beam, sliding sleeves are respectively arranged at both ends of the main beam, and The front and rear sides of the sliding sleeve are provided with guide wheels respectively, and the guide wheels are used for walking on the guide rail. Two brackets are arranged in the middle of the upper side of the main beam, and the top of the brackets is Inclined arc-shaped supporting plates, the two arc-shaped supporting plates are arranged in an inverted splayed shape.
在所述主梁的顶面上阵列均布有若干调节孔,所述滑套和所述托座通过螺栓固定在相应的调节孔上。A number of adjustment holes are evenly distributed in an array on the top surface of the main beam, and the sliding sleeve and the bracket are fixed on the corresponding adjustment holes by bolts.
本发明还公开了一种受限空间大直径排水管线施工方法,包括以下步骤:The invention also discloses a construction method of a large-diameter drainage pipeline in a confined space, which includes the following steps:
a.依据施工图纸及标准图集要求开挖排水管道沟槽,在排水管道沟槽的底面沿管道移动方向制作两个条形基础,在条形基础的上平面设置预埋件。a. According to the requirements of the construction drawings and standard atlas, excavate the drainage pipeline trench, make two strip foundations along the pipeline moving direction on the bottom surface of the drainage pipeline trench, and set embedded parts on the upper plane of the strip foundation.
b.条形基础预制完毕且强度满足施工要求后,在条形基础的顶部通过预埋件固定安装导轨。b. After the strip foundation is prefabricated and the strength meets the construction requirements, guide rails are fixed and installed on the top of the strip foundation through embedded parts.
c.在导轨上放置至少两组滑动托架,所述滑动托架包括主梁,在所述主梁的两端分别设置有滑套,在所述滑套的前后两侧分别设置有导轮,所述导轮用于在所述导轨上行走,在所述主梁上侧面的中部设有两个托座,所述托座的顶部为倾斜的弧形托板,两个所述弧形托板呈倒八字型布置。c. Place at least two groups of sliding brackets on the guide rails, the sliding brackets include a main beam, sliding sleeves are respectively arranged at both ends of the main beam, and guide wheels are respectively arranged on the front and rear sides of the sliding sleeves , the guide wheels are used to walk on the guide rails, two brackets are arranged in the middle of the upper side of the main beam, the top of the brackets is an inclined arc-shaped pallet, and the two arc-shaped The pallets are arranged in an inverted figure-eight shape.
d.将预制好的管道支座根据管道接口点的坐标进行放置,且先将管道支座放平于排水管道沟槽的底面上。d. Place the prefabricated pipe support according to the coordinates of the pipe interface points, and first place the pipe support flat on the bottom surface of the drainage pipe groove.
e.将滑动托架移至构件上料区,将管道放置于滑动托架上,通过牵引装置对管道进行牵引,使管道移动至安装点。e. Move the sliding bracket to the component loading area, place the pipe on the sliding bracket, and pull the pipe through the traction device to move the pipe to the installation point.
f.使用千斤顶顶升管道,将管道支座支设于管道前后两端的下方。f. Use a jack to lift the pipeline, and set the pipeline support under the front and rear ends of the pipeline.
g.管道支座安装就位后,拆除滑动托架单侧的拖座,将滑动托架由已安装段移动至构件上料区,在滑动托架上重新固定拖座后进行下一节管道的倒运安装。g. After the pipe support is installed in place, remove the drag seat on one side of the sliding bracket, move the sliding bracket from the installed section to the component loading area, re-fix the drag seat on the sliding bracket and proceed to the next section of pipeline unlucky installation.
h.所有管道安装完毕后,移除滑动托架,并浇筑混凝土管道基础。h. After all piping is installed, remove the sliding brackets and pour concrete piping foundations.
所述滑动托架之间通过连杆固定连接,形成方形框架。The sliding brackets are fixedly connected by connecting rods to form a square frame.
所述导轨为角钢,角钢扣在所述条形基础的顶部,并与所述预埋件焊接固定。The guide rail is an angle steel, and the angle steel is buckled on the top of the strip foundation and fixed by welding with the embedded part.
在步骤h中,浇筑混凝土管道基础时,原有条形基础及管道支座一同浇筑进管道基础内。In step h, when pouring the concrete pipeline foundation, the original strip foundation and the pipeline support are poured into the pipeline foundation together.
在所述滑动托架的主梁的顶面上阵列均布有若干调节孔,所述滑套和所述托座通过螺栓固定在相应的调节孔上;根据管道直径调节两个所述托座的间距,根据所述条形基础的间距调节两个所述滑套的间距。On the top surface of the main beam of the sliding bracket, a number of adjustment holes are evenly distributed in an array, and the sliding sleeve and the bracket are fixed on the corresponding adjustment holes by bolts; the two brackets are adjusted according to the diameter of the pipeline The distance between the two sliding sleeves is adjusted according to the distance between the strip foundations.
本发明的受限空间大直径排水管线施工装置包括导轨和滑动托架,滑动托架用于支撑管道,且滑动托架能够沿着导轨移动,从而对管道进行转运。The construction device for a large-diameter drainage pipeline in a confined space of the present invention includes a guide rail and a sliding bracket, the sliding bracket is used to support the pipeline, and the sliding bracket can move along the guide rail so as to transfer the pipeline.
导轮安装在滑套上,滑套的前后两侧都安装有导轮,这样滑动托架能够稳定地支撑管道,滑套的位置可以进行调整以适应于不同间距的导轨,同时,托座的位置也可以调节,以适应于不同管径的排水管道。The guide wheels are installed on the sliding sleeve, and the front and rear sides of the sliding sleeve are equipped with guide wheels, so that the sliding bracket can support the pipe stably, and the position of the sliding sleeve can be adjusted to adapt to guide rails with different spacings. At the same time, the bracket The position can also be adjusted to suit drainage pipes of different diameters.
本发明的受限空间大直径排水管线施工方法,利用上述装置对管道进行倒运,所有的管道都在构件上料区放置于滑动托架上,由滑动托架运送至安装位置,只需将预制的管道运送至构件上料区外即可,吊装设备也只需在构件上料区附近进行吊装工作,将管道顶升后安装管道支座,管道支座为预先制作的,能够准确控制管道的高程。In the construction method of the large-diameter drainage pipeline in a confined space of the present invention, the above-mentioned device is used to transport the pipelines backwards. All the pipelines are placed on the sliding brackets in the component loading area, and are transported to the installation position by the sliding brackets. Only the prefabricated The pipeline can be transported outside the component loading area, and the hoisting equipment only needs to carry out hoisting work near the component loading area. After the pipeline is lifted up, the pipeline support is installed. The pipeline support is prefabricated and can accurately control the pipeline. elevation.
在本发明中,由于吊装区域是固定的,只需在吊装区域具有足够的空间容纳吊装设备和运输设备即可,将管道吊装至管道沟槽内后,由沟槽内的滑动托架将管道倒运至预定的安装位置,将地面上的转运作业转为地面下的转运作业。In the present invention, since the hoisting area is fixed, it is only necessary to have enough space in the hoisting area to accommodate the hoisting equipment and transportation equipment. It is reversed to the predetermined installation location, and the transshipment operation on the ground is transferred to the transshipment operation under the ground.
滑动托架能够方便地进行拆卸和组装,能够周转使用,且能够进行调节,适用范围广,降低了施工成本。The sliding bracket can be disassembled and assembled conveniently, can be used repeatedly, can be adjusted, has a wide range of applications, and reduces construction costs.
附图说明Description of drawings
图1是本发明滑动托架的结构图。Fig. 1 is a structural diagram of the sliding bracket of the present invention.
图2是本发明滑动托架放置在导轨上的结构图。Fig. 2 is a structural view of the sliding bracket of the present invention placed on the guide rail.
图3是本发明施工方法的示意图。Fig. 3 is a schematic diagram of the construction method of the present invention.
图中:1、滑动托架;2、导轨;3、条形基础;4、管道支座;5、管道;6、沟槽;1-1、主梁;1-2、滑套;1-3、导轮;1-4、托座;1-5、弧形托板;1-6、调节孔。In the figure: 1, sliding bracket; 2, guide rail; 3, strip foundation; 4, pipe support; 5, pipe; 6, groove; 1-1, main beam; 3. Guide wheel; 1-4, bracket; 1-5, arc supporting plate; 1-6, adjustment hole.
具体实施方式Detailed ways
如图1、图2所示,本发明的受限空间大直径排水管线施工装置,包括导轨2和滑动托架1,滑动托架1在导轨2上沿着导轨2方向移动,从而对放置在滑动托架1上的管道5进行转运。As shown in Figures 1 and 2, the large-diameter drainage pipeline construction device in a confined space of the present invention includes a
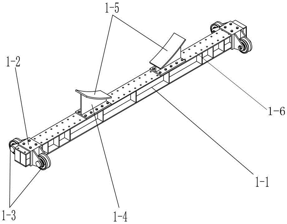
滑动托架1包括主梁1-1,在主梁1-1的两端分别设置有滑套1-2,在滑套1-2的前后两侧分别设置有导轮1-3,导轮1-3用于在导轨2上行走,在主梁1-1上侧面的中部设有两个托座1-4,托座1-4的顶部为倾斜的弧形托板1-5,两个弧形托板1-5呈倒八字型布置。Sliding bracket 1 comprises main beam 1-1, is respectively provided with sliding sleeve 1-2 at the two ends of main beam 1-1, is respectively provided with guide wheel 1-3 at the front and rear sides of sliding sleeve 1-2, and guide wheel 1-3 is used for walking on
主梁1-1为工字型钢,且在工字型钢的上下侧板之间布置若干加强筋,从而增加整个主梁1-1的结构强度。The main girder 1-1 is I-shaped steel, and a number of reinforcing ribs are arranged between the upper and lower side plates of the I-shaped steel, thereby increasing the structural strength of the entire main girder 1-1.
滑套1-2为矩形,矩形的滑套1-2刚好能够套接在主梁1-1上,且能够沿主梁1-1移动以调节其位置。The sliding sleeve 1-2 is rectangular, and the rectangular sliding sleeve 1-2 can just fit on the main beam 1-1, and can move along the main beam 1-1 to adjust its position.
在主梁1-1的顶面上阵列均布有若干调节孔1-6,滑套1-2和托座1-4通过螺栓固定在相应的调节孔1-6上,在组装时,根据需要确定滑套1-2和托座1-4的位置,然后使用螺栓固定在调节孔1-6上。On the top surface of the main beam 1-1, a number of adjustment holes 1-6 are evenly distributed in an array, and the sliding sleeve 1-2 and the bracket 1-4 are fixed on the corresponding adjustment holes 1-6 by bolts. When assembling, according to It is necessary to determine the positions of the sliding sleeve 1-2 and the bracket 1-4, and then use bolts to fix them on the adjusting hole 1-6.
本发明的受限空间大直径排水管线施工装置包括导轨2和滑动托架1,滑动托架1用于支撑管道5,且滑动托架1能够沿着导轨2移动,从而对管道5进行转运。The large-diameter drainage pipeline construction device in a confined space of the present invention includes a
导轮1-3安装在滑套1-2上,滑套1-2的前后两侧都安装有导轮1-3,这样滑动托架1能够稳定地支撑管道5,滑套1-2的位置可以进行调整以适应于不同间距的导轨2,同时,托座1-4的位置也可以调节,以适应于不同管径的排水管道5。The guide wheel 1-3 is installed on the sliding sleeve 1-2, and the front and rear sides of the sliding sleeve 1-2 are equipped with guide wheels 1-3, so that the sliding bracket 1 can stably support the
如图3所示,本发明的受限空间大直径排水管线施工方法,包括以下步骤。As shown in FIG. 3 , the construction method of a large-diameter drainage pipeline in a confined space of the present invention includes the following steps.
a.依据施工图纸及标准图集要求开挖排水管道5沟槽6,在排水管道5沟槽6的底面沿管道5移动方向制作两个条形基础3,在条形基础3的上平面设置预埋件。a.
b.条形基础3预制完毕且强度满足施工要求后,在条形基础3的顶部通过预埋件固定安装导轨2。b. After the
c.在导轨2上放置至少两组滑动托架1,滑动托架1包括主梁1-1,在主梁1-1的两端分别设置有滑套1-2,在滑套1-2的前后两侧分别设置有导轮1-3,导轮1-3用于在导轨2上行走,在主梁1-1上侧面的中部设有两个托座1-4,托座1-4的顶部为倾斜的弧形托板1-5,两个弧形托板1-5呈倒八字型布置。c. Place at least two sets of sliding brackets 1 on the
d.将预制好的管道支座4根据管道5接口点的坐标进行放置,且先将管道支座4放平于排水管道5沟槽6的底面上。d. Place the prefabricated pipe support 4 according to the coordinates of the interface points of the
e.将滑动托架1移至构件上料区,将管道5放置于滑动托架1上,通过牵引装置对管道5进行牵引,使管道5移动至安装点。e. Move the sliding bracket 1 to the component loading area, place the
f.使用千斤顶顶升管道5,将管道支座4支设于管道5前后两端的下方。f. Use a jack to lift the
g.管道支座4安装就位后,拆除滑动托架1单侧的拖座,将滑动托架1由已安装段移动至构件上料区,在滑动托架1上重新固定拖座后进行下一节管道5的倒运安装。g. After the pipe support 4 is installed in place, remove the drag seat on one side of the sliding bracket 1, move the sliding bracket 1 from the installed section to the component loading area, and fix the drag seat on the sliding bracket 1 again. The reverse installation of
h.所有管道5安装完毕后,移除滑动托架1,并浇筑混凝土管道5基础。h. After all the
其中,条形基础3为现浇混凝土基础,根据设计确定两个条形基础3的间距。Wherein, the
滑动托架1至少有两个,也可以设置超过两个的滑动托架1,通过滑动托架1稳定地支撑并转运管道5。There are at least two sliding brackets 1 , and more than two sliding brackets 1 may be provided, and the
滑动托架1之间可以通过连杆固定连接,形成稳定的方形框架,连杆两端通过螺栓固定在主梁1-1的调节孔1-6上,便于拆卸和组装。The sliding brackets 1 can be fixedly connected by connecting rods to form a stable square frame, and the two ends of the connecting rods are fixed on the adjustment holes 1-6 of the main beam 1-1 by bolts, which is convenient for disassembly and assembly.
导轨2为角钢,角钢扣在条形基础3的顶部,并与预埋件焊接固定。导轮1-3的轮面上设有V型槽,使导轮1-3能够和角钢制成的导轨2配合。The
在步骤h中,浇筑混凝土管道5基础时,原有条形基础3及管道支座4一同浇筑进管道5基础内,不单独拆除,能够提高施工效率。In step h, when pouring the foundation of the
在滑动托架1的主梁1-1的顶面上阵列均布有若干调节孔1-6,滑套1-2和托座1-4通过螺栓固定在相应的调节孔1-6上。在使用时根据管道5直径调节两个托座1-4的间距,根据条形基础3的间距调节两个滑套1-2的间距。On the top surface of the main beam 1-1 of the sliding bracket 1, a number of adjusting holes 1-6 are evenly distributed in an array, and the sliding sleeve 1-2 and the bracket 1-4 are fixed on the corresponding adjusting holes 1-6 by bolts. When in use, the distance between the two brackets 1-4 is adjusted according to the diameter of the
管道支座4的顶部为弧形,且弧形的曲率半径与管道5外壁的半径一致,管道支座4的高度根据要求确定,以保证管道5放置于管道支座4上后高程符合要求。在一开始,先将管道支座4平放在预定位置,以使滑动托架1能够从管道支座4的上方通过,不会干扰滑动托架1倒运管道5,在管道5到达预定位置并被顶起后,将管道支座4立起并固定,然后将管道5下放至管道支座4上。The top of the pipe support 4 is arc-shaped, and the radius of curvature of the arc is consistent with the radius of the outer wall of the
在管道5固定到位后,只需将滑动托架1一侧的托座1-5拆除便可将滑动托架1从管道5下方取出,从而能够快速地重新在构件上料区安装滑动托架1以进行下一次的管道5转运工作。After the
本发明的受限空间大直径排水管线施工方法,利用滑动托架1对管道5进行倒运,所有的管道5都在构件上料区放置于滑动托架1上,由滑动托架1运送至安装位置,只需将预制的管道5运送至构件上料区外即可,吊装设备也只需在构件上料区附近进行吊装工作,将管道5顶升后安装管道支座4,管道支座4为预先制作的,能够准确控制管道5的高程。In the construction method of the large-diameter drainage pipeline in a confined space of the present invention, the
在本发明中,由于吊装区域是固定的,只需在吊装区域具有足够的空间容纳吊装设备和运输设备即可,将管道5吊装至管道5沟槽6内后,由沟槽6内的滑动托架1将管道5倒运至预定的安装位置,将地面上的转运作业转为地面下的转运作业。In the present invention, since the hoisting area is fixed, it is only necessary to have enough space in the hoisting area to accommodate hoisting equipment and transportation equipment. After the
本发明的滑动托架1能够方便地进行拆卸和组装,能够周转使用,且能够进行调节,适用范围广,降低了施工成本。The sliding bracket 1 of the present invention can be disassembled and assembled conveniently, can be used repeatedly, can be adjusted, has a wide application range, and reduces construction costs.
Claims (7)
Priority Applications (1)
| Application Number | Priority Date | Filing Date | Title |
|---|---|---|---|
| CN202211100697.0A CN115369979A (en) | 2022-09-09 | 2022-09-09 | Construction device and construction method for large-diameter drainage pipeline in limited space |
Applications Claiming Priority (1)
| Application Number | Priority Date | Filing Date | Title |
|---|---|---|---|
| CN202211100697.0A CN115369979A (en) | 2022-09-09 | 2022-09-09 | Construction device and construction method for large-diameter drainage pipeline in limited space |
Publications (1)
| Publication Number | Publication Date |
|---|---|
| CN115369979A true CN115369979A (en) | 2022-11-22 |
Family
ID=84070971
Family Applications (1)
| Application Number | Title | Priority Date | Filing Date |
|---|---|---|---|
| CN202211100697.0A Pending CN115369979A (en) | 2022-09-09 | 2022-09-09 | Construction device and construction method for large-diameter drainage pipeline in limited space |
Country Status (1)
| Country | Link |
|---|---|
| CN (1) | CN115369979A (en) |
Cited By (1)
| Publication number | Priority date | Publication date | Assignee | Title |
|---|---|---|---|---|
| CN118682369A (en) * | 2024-08-29 | 2024-09-24 | 杭州热电工程有限公司 | An overhead thermal pipeline fixed-point automatic welding traction installation system and method |
Citations (6)
| Publication number | Priority date | Publication date | Assignee | Title |
|---|---|---|---|---|
| CN205745642U (en) * | 2016-05-06 | 2016-11-30 | 中铁十八局集团第四工程有限公司 | Large-diameter steel pipe distance passes through culvert pipe constructing device |
| CN207131969U (en) * | 2017-09-15 | 2018-03-23 | 中铁十七局集团有限公司铺架分公司 | The rail-mounted concrete pump pipe carrier of solid concrete roabed cast-in-place construction in subway tunnel |
| WO2019056715A1 (en) * | 2017-09-20 | 2019-03-28 | 中国建筑股份有限公司 | Mixed-connection post-tensioned prestressed assembly concrete frame architecture and construction method therefor |
| CN210566648U (en) * | 2019-07-22 | 2020-05-19 | 中建三局集团有限公司 | Installation device for directional sliding of large pipeline in limited space |
| CN111348081A (en) * | 2018-12-24 | 2020-06-30 | 张欣欣 | Be used for municipal administration water supply and drainage pipeline auxiliary transportation device |
| CN212705261U (en) * | 2020-06-11 | 2021-03-16 | 南通泰胜蓝岛海洋工程有限公司 | Adjustable removal type gyro wheel frame device |
-
2022
- 2022-09-09 CN CN202211100697.0A patent/CN115369979A/en active Pending
Patent Citations (6)
| Publication number | Priority date | Publication date | Assignee | Title |
|---|---|---|---|---|
| CN205745642U (en) * | 2016-05-06 | 2016-11-30 | 中铁十八局集团第四工程有限公司 | Large-diameter steel pipe distance passes through culvert pipe constructing device |
| CN207131969U (en) * | 2017-09-15 | 2018-03-23 | 中铁十七局集团有限公司铺架分公司 | The rail-mounted concrete pump pipe carrier of solid concrete roabed cast-in-place construction in subway tunnel |
| WO2019056715A1 (en) * | 2017-09-20 | 2019-03-28 | 中国建筑股份有限公司 | Mixed-connection post-tensioned prestressed assembly concrete frame architecture and construction method therefor |
| CN111348081A (en) * | 2018-12-24 | 2020-06-30 | 张欣欣 | Be used for municipal administration water supply and drainage pipeline auxiliary transportation device |
| CN210566648U (en) * | 2019-07-22 | 2020-05-19 | 中建三局集团有限公司 | Installation device for directional sliding of large pipeline in limited space |
| CN212705261U (en) * | 2020-06-11 | 2021-03-16 | 南通泰胜蓝岛海洋工程有限公司 | Adjustable removal type gyro wheel frame device |
Cited By (1)
| Publication number | Priority date | Publication date | Assignee | Title |
|---|---|---|---|---|
| CN118682369A (en) * | 2024-08-29 | 2024-09-24 | 杭州热电工程有限公司 | An overhead thermal pipeline fixed-point automatic welding traction installation system and method |
Similar Documents
| Publication | Publication Date | Title |
|---|---|---|
| CN108019076B (en) | Construction method of large-diameter reinforced concrete silo and device for conical shell construction | |
| CN101177933B (en) | Bridge rib hoisting and supporting rack integral construction method and device | |
| CN110080526B (en) | Stage reverse construction method for basement | |
| CN108203981B (en) | System and method for installing steel support in cover and excavation method | |
| CN108396749B (en) | Installation system and installation method of steel support in foundation pit | |
| CN208009277U (en) | A kind of short sliding installation system of land-based area large-tonnage steel box beam | |
| CN117739164A (en) | Large-diameter inverted siphon pipeline installation equipment in steep hillside section and construction method | |
| CN115369979A (en) | Construction device and construction method for large-diameter drainage pipeline in limited space | |
| CN115432552B (en) | A hanger and a method for constructing an assembled high-pile wharf using the hanger | |
| CN112302028A (en) | A guider that is used for double-walled steel cofferdam to transfer location | |
| CN110029671A (en) | A kind of steep slope pile foundation steel bar cage transfers construction technology using aperture bracket section by section | |
| CN217105096U (en) | Deep well support wall concrete pouring and distributing system | |
| CN102423833A (en) | Method for welding and integrally hoisting volute choke plug of large-sized hydropower station | |
| CN207176731U (en) | A kind of prefabricated concrete pipe gallery support | |
| CN113800394A (en) | Y-shaped cast steel column and hoisting method thereof | |
| CN110127520B (en) | Method for installing small-lattice funnel and dust-settling pipe of large sintering machine | |
| CN210737607U (en) | A hang braced system for reverse construction method beam slab construction | |
| CN118729051A (en) | A method for connecting a large-diameter pipeline in a small-section tunnel | |
| CN201128882Y (en) | Lifting and supporting brackets integrated construction device for bridge arch rib | |
| CN118128089A (en) | Construction method of deep-buried large-diameter circulating water corridor | |
| CN205934962U (en) | A system of sliding for underground pipe gallery cast -in -situ construction | |
| CN212769703U (en) | Barrel lifting device for tower type exhaust funnel | |
| CN212406744U (en) | Template platform truck is filled to high-speed railway tunnel center ditch secondary | |
| CN114634102A (en) | Water treatment structure-based civil construction installation system and construction method | |
| CN210530883U (en) | Construction system for horizontal, vertical and vertical rotation of circular strip steel lined tunnels |
Legal Events
| Date | Code | Title | Description |
|---|---|---|---|
| PB01 | Publication | ||
| PB01 | Publication | ||
| SE01 | Entry into force of request for substantive examination | ||
| SE01 | Entry into force of request for substantive examination | ||
| RJ01 | Rejection of invention patent application after publication | ||
| RJ01 | Rejection of invention patent application after publication |
Application publication date: 20221122 |
