CN115350748A - 一种水煤浆提浓装置 - Google Patents

一种水煤浆提浓装置 Download PDF

Info

Publication number
CN115350748A
CN115350748A CN202210994396.0A CN202210994396A CN115350748A CN 115350748 A CN115350748 A CN 115350748A CN 202210994396 A CN202210994396 A CN 202210994396A CN 115350748 A CN115350748 A CN 115350748A
Authority
CN
China
Prior art keywords
grinding
coal
support
unit
water slurry
Prior art date
Legal status (The legal status is an assumption and is not a legal conclusion. Google has not performed a legal analysis and makes no representation as to the accuracy of the status listed.)
Granted
Application number
CN202210994396.0A
Other languages
English (en)
Other versions
CN115350748B (zh
Inventor
王昌济
李寒旭
朱远远
文天龙
陈方悟
张健堂
Current Assignee (The listed assignees may be inaccurate. Google has not performed a legal analysis and makes no representation or warranty as to the accuracy of the list.)
Anhui University of Science and Technology
Original Assignee
Anhui University of Science and Technology
Priority date (The priority date is an assumption and is not a legal conclusion. Google has not performed a legal analysis and makes no representation as to the accuracy of the date listed.)
Filing date
Publication date
Application filed by Anhui University of Science and Technology filed Critical Anhui University of Science and Technology
Priority to CN202210994396.0A priority Critical patent/CN115350748B/zh
Priority to PCT/CN2022/116545 priority patent/WO2024036669A1/zh
Publication of CN115350748A publication Critical patent/CN115350748A/zh
Priority to ZA2023/00661A priority patent/ZA202300661B/en
Application granted granted Critical
Publication of CN115350748B publication Critical patent/CN115350748B/zh
Priority to US18/617,727 priority patent/US20240226906A1/en
Active legal-status Critical Current
Anticipated expiration legal-status Critical

Links

Images

Classifications

    • BPERFORMING OPERATIONS; TRANSPORTING
    • B02CRUSHING, PULVERISING, OR DISINTEGRATING; PREPARATORY TREATMENT OF GRAIN FOR MILLING
    • B02CCRUSHING, PULVERISING, OR DISINTEGRATING IN GENERAL; MILLING GRAIN
    • B02C4/00Crushing or disintegrating by roller mills
    • B02C4/02Crushing or disintegrating by roller mills with two or more rollers
    • BPERFORMING OPERATIONS; TRANSPORTING
    • B02CRUSHING, PULVERISING, OR DISINTEGRATING; PREPARATORY TREATMENT OF GRAIN FOR MILLING
    • B02CCRUSHING, PULVERISING, OR DISINTEGRATING IN GENERAL; MILLING GRAIN
    • B02C4/00Crushing or disintegrating by roller mills
    • B02C4/02Crushing or disintegrating by roller mills with two or more rollers
    • B02C4/04Crushing or disintegrating by roller mills with two or more rollers specially adapted for milling paste-like material, e.g. paint, chocolate, colloids
    • BPERFORMING OPERATIONS; TRANSPORTING
    • B02CRUSHING, PULVERISING, OR DISINTEGRATING; PREPARATORY TREATMENT OF GRAIN FOR MILLING
    • B02CCRUSHING, PULVERISING, OR DISINTEGRATING IN GENERAL; MILLING GRAIN
    • B02C23/00Auxiliary methods or auxiliary devices or accessories specially adapted for crushing or disintegrating not provided for in preceding groups or not specially adapted to apparatus covered by a single preceding group
    • B02C23/18Adding fluid, other than for crushing or disintegrating by fluid energy
    • B02C23/20Adding fluid, other than for crushing or disintegrating by fluid energy after crushing or disintegrating
    • BPERFORMING OPERATIONS; TRANSPORTING
    • B02CRUSHING, PULVERISING, OR DISINTEGRATING; PREPARATORY TREATMENT OF GRAIN FOR MILLING
    • B02CCRUSHING, PULVERISING, OR DISINTEGRATING IN GENERAL; MILLING GRAIN
    • B02C4/00Crushing or disintegrating by roller mills
    • B02C4/28Details
    • BPERFORMING OPERATIONS; TRANSPORTING
    • B02CRUSHING, PULVERISING, OR DISINTEGRATING; PREPARATORY TREATMENT OF GRAIN FOR MILLING
    • B02CCRUSHING, PULVERISING, OR DISINTEGRATING IN GENERAL; MILLING GRAIN
    • B02C4/00Crushing or disintegrating by roller mills
    • B02C4/28Details
    • B02C4/32Adjusting, applying pressure to, or controlling the distance between, milling members
    • BPERFORMING OPERATIONS; TRANSPORTING
    • B02CRUSHING, PULVERISING, OR DISINTEGRATING; PREPARATORY TREATMENT OF GRAIN FOR MILLING
    • B02CCRUSHING, PULVERISING, OR DISINTEGRATING IN GENERAL; MILLING GRAIN
    • B02C4/00Crushing or disintegrating by roller mills
    • B02C4/28Details
    • B02C4/32Adjusting, applying pressure to, or controlling the distance between, milling members
    • B02C4/36Adjusting, applying pressure to, or controlling the distance between, milling members in mills specially adapted for paste-like materials
    • BPERFORMING OPERATIONS; TRANSPORTING
    • B02CRUSHING, PULVERISING, OR DISINTEGRATING; PREPARATORY TREATMENT OF GRAIN FOR MILLING
    • B02CCRUSHING, PULVERISING, OR DISINTEGRATING IN GENERAL; MILLING GRAIN
    • B02C4/00Crushing or disintegrating by roller mills
    • B02C4/28Details
    • B02C4/42Driving mechanisms; Roller speed control
    • BPERFORMING OPERATIONS; TRANSPORTING
    • B07SEPARATING SOLIDS FROM SOLIDS; SORTING
    • B07BSEPARATING SOLIDS FROM SOLIDS BY SIEVING, SCREENING, SIFTING OR BY USING GAS CURRENTS; SEPARATING BY OTHER DRY METHODS APPLICABLE TO BULK MATERIAL, e.g. LOOSE ARTICLES FIT TO BE HANDLED LIKE BULK MATERIAL
    • B07B1/00Sieving, screening, sifting, or sorting solid materials using networks, gratings, grids, or the like
    • B07B1/28Moving screens not otherwise provided for, e.g. swinging, reciprocating, rocking, tilting or wobbling screens
    • CCHEMISTRY; METALLURGY
    • C10PETROLEUM, GAS OR COKE INDUSTRIES; TECHNICAL GASES CONTAINING CARBON MONOXIDE; FUELS; LUBRICANTS; PEAT
    • C10LFUELS NOT OTHERWISE PROVIDED FOR; NATURAL GAS; SYNTHETIC NATURAL GAS OBTAINED BY PROCESSES NOT COVERED BY SUBCLASSES C10G OR C10K; LIQUIFIED PETROLEUM GAS; USE OF ADDITIVES TO FUELS OR FIRES; FIRE-LIGHTERS
    • C10L1/00Liquid carbonaceous fuels
    • C10L1/32Liquid carbonaceous fuels consisting of coal-oil suspensions or aqueous emulsions or oil emulsions
    • C10L1/326Coal-water suspensions

Landscapes

  • Engineering & Computer Science (AREA)
  • Food Science & Technology (AREA)
  • Crushing And Grinding (AREA)
  • Liquid Carbonaceous Fuels (AREA)

Abstract

本发明属于水煤浆制备设备技术领域,尤其涉及一种水煤浆提浓装置,包括研磨壳体,研磨壳体内连接有研磨机构,研磨壳体的下方连接有过滤单元,过滤单元与研磨机构的出料口对应设置,过滤单元的下方对应设置有煤粉粒径分配机构,煤粉粒径分配机构用于分离不同粒径的煤粉,煤粉粒径分配机构的出端连通有搅拌器,搅拌器用于将不同粒径的煤粉搅拌成水煤浆;研磨机构包括第一支架,第一支架固定连接在研磨壳体内侧壁上,第一支架上连接有逐级研磨单元、第一调节单元与两组第二调节单元,第一调节单元用于同步调节逐级研磨单元的研磨间隙,两组第二调节单元用于统一逐级研磨单元的研磨间隙。

Description

一种水煤浆提浓装置
技术领域
本发明属于水煤浆制备设备技术领域,尤其涉及一种水煤浆提浓装置。
背景技术
在相同流动性下,由于水量减少,节省了大量水蒸气的气化潜热和显热,不论对于气化或燃烧过程,水煤浆浓度越高,氧耗都有较大幅度的下降,气化或燃烧效率提高,产生较好的节能效果,混合不同粒径范围的煤粉,有助于形成浓度稳定的水煤浆。另外,目前水煤浆制备时,常常选择了能耗较高的湿式溢流型棒磨机制备工艺,即粒度大于10mm的煤样与制浆水、添加剂同时进入棒磨机研磨制浆。湿法制浆虽然具有工人劳动强度低、对环境污染小等优点,但要求入料浓度不能变动太大,粒径大小不稳定,无法快速选取合适粒径的煤粉进行混合;因此,亟需开发一种能够快速分选合适粒径范围的煤粉,有效提升水煤浆浓度的水煤浆提浓装置。
发明内容
本发明的目的是提供一种水煤浆提浓装置,以解决上述问题,达到有效提浓的目的。
为实现上述目的,本发明提供了如下方案:一种水煤浆提浓装置,包括研磨壳体,所述研磨壳体内连接有研磨机构,所述研磨壳体的下方连接有过滤单元,所述过滤单元与所述研磨机构的出料口对应设置,所述过滤单元的下方对应设置有煤粉粒径分配机构,所述煤粉粒径分配机构用于分离不同粒径的煤粉,所述煤粉粒径分配机构的出端连通有搅拌器,所述搅拌器用于将不同粒径的所述煤粉搅拌成水煤浆;
所述研磨机构包括第一支架,所述第一支架固定连接在所述研磨壳体内侧壁上,所述第一支架上连接有逐级研磨单元、第一调节单元与两组第二调节单元,所述第一调节单元连接在所述逐级研磨单元与所述第一支架之间,两组所述第二调节单元对应设置在所述逐级研磨单元的两侧底部,所述第一调节单元用于同步调节所述逐级研磨单元的研磨间隙,两组所述第二调节单元用于统一所述逐级研磨单元的研磨间隙。
优选的,所述逐级研磨单元包括两组第二支架与两组第四支架,两组所述第二支架分别固定连接在所述第一支架上,两组所述第四支架滑动连接在所述第一支架上,所述第一调节单元连接在所述两组所述第四支架与所述第一支架之间,两组所述第二支架之间与两组所述第四支架之间竖向分别连接有两组研磨辊,四组所述研磨辊传动连接有驱动部,所述驱动部固定连接在所述第二支架与所述第四支架上,所述第二调节单元连接在位于所述第二支架和所述第四支架下部的两组所述研磨辊上;位于所述第一支架下方的两组研磨辊与所述过滤单元顶部对应设置。
优选的,所述第二调节单元包括第一伺服电机,所述第一伺服电机固定连接在所述第一支架的底部,所述第二支架与位于所述第二支架下部的所述研磨辊之间设置有第一滑动调节部,所述第四支架与位于所述第四支架下部的所述研磨辊之间设置有第二滑动调节部,所述第一伺服电机通过丝杠驱动所述第一滑动调节部与所述第二滑动调节部。
优选的,所述第一滑动调节部包括第一空腔与两组第二滑槽,所述第一空腔开设在所述第二支架的底部内,两组所述第二滑槽分别开设在所述第二支架的底面和侧面上,所述第一空腔与两组所述第二滑槽连通,所述第一空腔内滑动连接有第一滑块,所述第一滑块的底部穿过一组所述第二滑槽且还固定连接有第一套筒,位于所述第二支架底部的所述研磨辊的转轴穿过另一组所述第二滑槽且还与所述第一滑块转动连接,所述研磨辊的转轴穿过所述第一滑块还与所述驱动部传动连接,所述第一套筒螺纹套设在所述丝杠的外侧,所述丝杠的一端与所述第一伺服电机的旋转轴同轴心固定连接。
优选的,所述第二滑动调节部包括第二空腔和两组第三滑槽,所述第二空腔开设在所述第四支架的底部内,两组所述第三滑槽分别开设在所述第四支架的底面和侧面上,所述第二空腔与两组所述第三滑槽连通,所述第二空腔内滑动连接有第二滑块,所述第二滑块的底部穿过一组所述第三滑槽且还固定连接有第二套筒,位于所述第四支架底部的所述研磨辊的转轴穿过另一组所述第三滑槽且还与所述第二滑块转动连接,所述研磨辊的转轴穿过所述第二滑块还与所述驱动部传动连接,所述第二套筒套设在所述丝杠的外侧,所述第二套筒与所述丝杠之间设置有传动组件。
优选的,所述传动组件包括第三套筒,所述第三套筒轴向滑动套设在所述丝杠的一端,所述第二套筒螺纹套设在所述第三套筒的外侧。
优选的,所述煤粉粒径分配机构包括第三支架,所述第三支架上固定连接有分料壳体,所述分料壳体的一端固定连接有风机,所述分料壳体靠近所述风机的一端顶部与所述过滤单元下方对应设置,所述分料壳体的另一端固定连接有过滤器,所述分料壳体内开设有气流通道,所述风机与所述过滤器之间通过所述气流通道连通,所述分料壳体外侧底部固定连接有分料箱,所述分料箱内沿所述气流通道方向依次开设有若干煤粉槽,若干所述煤粉槽分别连通在所述气流通道的底部,若干所述煤粉槽的底部分别连通有排料组件。
优选的,所述排料组件包括排料管,所述排料管竖向固定连通在所述分料箱的底部,所述排料管的底端固定连接有第二伺服电机,所述第二伺服电机的旋转轴穿入所述排料管内且还固定贯穿有螺旋搅拌叶,所述排料管的底部一侧与所述搅拌器连通。
优选的,沿所述风机至所述过滤器方向若干所述煤粉槽尺寸依次增大;所述分料箱靠近所述过滤器一端底部开设有水槽。
优选的,所述第一调节单元包括伺服液压缸,所述伺服液压缸的一端固定连接在所述第一支架上,所述伺服液压缸的另一端固定连接在两组所述第四支架之间,所述第四支架靠近所述伺服液压缸的一侧固定连接有滑柱,所述滑柱与所述第一支架滑动连接,所述第一支架的滑动方向与所述伺服液压缸的伸缩方向平行。
本发明具有如下技术效果:逐级研磨单元的主要作用是对煤块从大到小进行逐级粉碎,过滤单元的主要作用是过滤破碎后的煤粉,将大颗粒煤粉收集起来再次粉碎;第一调节单元的主要作用是减小逐级研磨单元之间的研磨间隙,过滤出的大颗粒煤粉进行研磨和粉碎;第二调节单元的主要作用是统一逐级研磨单元之间的研磨间隙,使所有的研磨间隙大小一致,便于重复对过滤出的大颗粒煤粉进行研磨和粉碎,一定程度上增加了煤粉的研磨时间,从而得到更多满足粒径需求的煤粉;搅拌器的主要作用是将不同粒径的煤粉中加入适量水和添加剂,最终搅拌成合格的水煤浆;煤粉粒径分配机构的主要作用是将不同粒径的煤粉进行区分,从而便于将合适粒径范围的煤粉进行混合,从而能够达到小颗粒煤粉充分吸附在大颗粒空隙内的目的,最终有利于形成高浓度的水煤浆;本申请通过干法研磨,制备出合格粒径的煤粉,通过最佳粒径范围的煤粉颗粒分选,达到有效提升水煤浆浓度的目的。
附图说明
为了更清楚地说明本发明实施例或现有技术中的技术方案,下面将对实施例中所需要使用的附图作简单地介绍。显而易见,下面描述中的附图仅仅是本发明的一些实施例,对于本领域普通技术人员来讲,在不付出创造性劳动的前提下,还可以根据这些附图获得其他的附图。
图1为本发明水煤浆提浓装置主视方向示意图;
图2为本发明分料壳体内部示意图;
图3为图1中的A局部放大图;
图4为本发明第一滑块与第一空腔连接关系示意图;
图5为本发明第三套筒连接状态示意图;
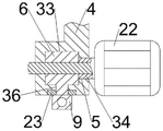
其中:1、研磨壳体;2、第一支架;3、研磨辊;4、第二支架;5、第一滑槽;6、第一滑块;7、第一伺服电机;8、丝杠;9、第一套筒;10、弹簧;11、漏斗;12、振动筛;13、振动电机;14、风机;15、分料壳体;16、分料箱;17、排料管;18、第二伺服电机;19、第三支架;20、水箱;21、过滤器;22、第三伺服电机;23、电磁铁;24、煤粉槽;25、落料孔;26、螺旋搅拌叶;27、滑柱;28、伺服液压缸;29、第四支架;30、第二滑块;31、第二套筒;32、第三套筒;33、第一空腔;34、第三滑块;35、水槽;36、第二滑槽。
具体实施方式
下面将结合本发明实施例中的附图,对本发明实施例中的技术方案进行清楚、完整地描述。显然,所描述的实施例仅仅是本发明一部分实施例,而不是全部的实施例。基于本发明中的实施例,本领域普通技术人员在没有做出创造性劳动前提下所获得的所有其他实施例,都属于本发明保护的范围。
为使本发明的上述目的、特征和优点能够更加明显易懂,下面结合附图和具体实施方式对本发明作进一步详细的说明。
参照图1-5所示,本发明提供了一种水煤浆提浓装置,包括研磨壳体1,研磨壳体1内连接有研磨机构,研磨壳体1的下方连接有过滤单元,过滤单元与研磨机构的出料口对应设置,过滤单元的下方对应设置有煤粉粒径分配机构,煤粉粒径分配机构用于分离不同粒径的煤粉,煤粉粒径分配机构的出端连通有搅拌器,搅拌器用于将不同粒径的煤粉搅拌成水煤浆;
研磨机构包括第一支架2,第一支架2固定连接在研磨壳体1内侧壁上,第一支架2上连接有逐级研磨单元、第一调节单元与两组第二调节单元,第一调节单元连接在逐级研磨单元与第一支架2之间,两组第二调节单元对应设置在逐级研磨单元的两侧底部,第一调节单元用于同步调节逐级研磨单元的研磨间隙,两组第二调节单元用于统一逐级研磨单元的研磨间隙。
逐级研磨单元的主要作用是对煤块从大到小进行逐级粉碎,过滤单元的主要作用是过滤破碎后的煤粉颗粒,将大颗粒煤粉收集起来再次粉碎;第一调节单元的主要作用是减小逐级研磨单元之间的研磨间隙,过滤出的大颗粒煤粉进行研磨和粉碎;第二调节单元的主要作用是统一逐级研磨单元之间的研磨间隙,使所有的研磨间隙大小一致,便于重复对过滤出的大颗粒煤粉进行研磨和粉碎,一定程度上增加了煤粉的研磨时间,从而得到更多满足粒径需求的煤粉;搅拌器的主要作用是将不同粒径的煤粉中加入适量水和添加剂,最终搅拌成合格的水煤浆;煤粉粒径分配机构的主要作用是将不同粒径的煤粉进行区分,从而便于将合适粒径范围的煤粉进行混合,从而能够达到小颗粒煤粉充分吸附在大颗粒空隙内的目的,最终有利于形成高浓度的水煤浆。本申请通过干法研磨,制备合格粒径的煤粉,通过分选最佳粒径范围的煤粉,最终达到有效提升水煤浆浓度的目标。
进一步优化方案,逐级研磨单元包括两组第二支架4与两组第四支架29,两组第二支架4分别固定连接在第一支架2上,两组第四支架29滑动连接在第一支架2上,第一调节单元连接在两组第四支架29与第一支架2之间,两组第二支架4之间与两组第四支架29之间竖向分别连接有两组研磨辊3,四组研磨辊3传动连接有驱动部,驱动部固定连接在第二支架4与第四支架29上,第二调节单元连接在位于第二支架4和第四支架29下部的两组研磨辊3上;位于第一支架2下方的两组研磨辊3与过滤单元顶部对应设置。
初始状态下,位于上方的两组研磨辊3之间的研磨间隙大于位于下方的两组研磨辊3之间的研磨间隙;大块的煤块首先被破碎为小块,然后进一步被破碎,在反复破碎的过程中,不断产生小颗粒的煤粉而透过过滤单元,滤出的大颗粒重新进行研磨;随着煤块尺寸不断减小,通过第一调节单元同步调节研磨间隙的大小,来满足研磨要求;随着煤块大小稳定,通过第二调节单元统一上下的研磨间隙,一定程度上增加煤块的研磨时间,从而得到更多的煤粉。
进一步优化方案,第二调节单元包括第一伺服电机7,第一伺服电机7固定连接在第一支架2的底部,第二支架4与位于第二支架4下部的研磨辊3之间设置有第一滑动调节部,第四支架29与位于第四支架29下部的研磨辊3之间设置有第二滑动调节部,第一伺服电机7通过丝杠8驱动第一滑动调节部与第二滑动调节部。
当需要统一上下的研磨间隙时,启动第一伺服电机7,同步驱动丝杠8,进而带动第一滑动调节部与第二滑动调节部,实现调节位于下方的两组研磨辊3之间的研磨间隙,从而保证上下研磨间隙一致。
进一步优化方案,第一滑动调节部包括第一空腔33与两组第二滑槽36,第一空腔33开设在第二支架4的底部内,两组第二滑槽36分别开设在第二支架4的底面和侧面上,第一空腔33与两组第二滑槽36连通,第一空腔33内滑动连接有第一滑块6,第一滑块6的底部穿过一组第二滑槽36且还固定连接有第一套筒9,位于第二支架4底部的研磨辊3的转轴穿过另一组第二滑槽36且还与第一滑块6转动连接,研磨辊3的转轴穿过第一滑块6还与驱动部传动连接,第一套筒9螺纹套设在丝杠8的外侧,丝杠8的一端与第一伺服电机7的旋转轴同轴心固定连接。
具体的,两组第一伺服电机7通过丝杠8带动第一滑块6在第一空腔33内滑动,带动第二支架4下方的研磨辊3靠近或远离第四支架29,即研磨间隙缩小或增大,从而实现研磨出不同颗粒大小的煤粉。
进一步优化方案,第二滑动调节部包括第二空腔和两组第三滑槽,第二空腔开设在第四支架29的底部内,两组第三滑槽分别开设在第四支架29的底面和侧面上,第二空腔与两组第三滑槽连通,第二空腔内滑动连接有第二滑块30,第二滑块30的底部穿过一组第三滑槽且还固定连接有第二套筒31,位于第四支架29底部的研磨辊3的转轴穿过另一组第三滑槽且还与第二滑块30转动连接,研磨辊3的转轴穿过第二滑块30还与驱动部传动连接,第二套筒31套设在丝杠8的外侧,第二套筒31与丝杠8之间设置有传动组件。
具体的,两组第一伺服电机7通过丝杠8与传动组件带动第二滑块30在第二空腔内滑动,带动第四支架29下方的研磨辊3靠近或远离第二支架4,即研磨间隙缩小或增大,从而实现研磨出不同颗粒大小的煤粉。
进一步优化方案,传动组件包括第三套筒32,第三套筒32轴向滑动套设在丝杠8的一端,第二套筒31螺纹套设在第三套筒32的外侧。
进一步优化方案,煤粉粒径分配机构包括第三支架19,第三支架19上固定连接有分料壳体15,分料壳体15的一端固定连接有风机14,分料壳体15靠近风机14的一端顶部与过滤单元下方对应设置,分料壳体15的另一端固定连接有过滤器21,分料壳体15内开设有气流通道,风机14与过滤器21之间通过气流通道连通,分料壳体15外侧底部固定连接有分料箱16,分料箱16内沿气流通道方向依次开设有若干煤粉槽24,若干煤粉槽24分别连通在气流通道的底部,若干煤粉槽24的底部分别连通有排料组件。
通过启动风机14,设置固定风力,从过滤单元中透过的煤粉被风机14吹入气流通道内,根据不同粒径大小的煤粉,质量大的落在靠近气流通道入口处的煤粉槽24内,质量小的落在靠近气流通道出口处的煤粉槽24内,这样设置便可以有效将不同粒径范围的煤粉区别开,更快更有效的选取合适粒径范围的煤粉进行混合,有助于达到小颗粒煤粉吸附在大颗粒煤粉的空隙内的效果。
进一步优化方案,排料组件包括排料管17,排料管17竖向固定连通在分料箱16的底部,排料管17的底端固定连接有第二伺服电机18,第二伺服电机18的旋转轴穿入排料管17内且还固定贯穿有螺旋搅拌叶26,排料管17的底部一侧与搅拌器连通。
通过风机14分选的不同粒径的煤粉,在煤粉槽24内不断累积,进入落料孔25内,再通过第二伺服电机18带动螺旋搅拌叶26,将煤粉输送入搅拌器中;搅拌器采用现有技术,通过搅拌器对不同粒径的煤粉进行混合,加入适量的水和添加剂,在不断搅拌过程中不断加入煤粉或水或添加剂,形成部分剪力要求和浓度的水煤浆。
进一步优化方案,沿风机14至过滤器21方向若干煤粉槽24尺寸依次增大;分料箱16靠近过滤器21一端底部开设有水槽35。
无论研磨间隙如何调整,每次研磨过程中,始终有大量的煤粉从过滤单元中透过,落入气流通道内,该部分煤粉数量不断积累,产量会大于大颗粒的煤粉,因此,存放小粒径煤粉的煤粉槽24尺寸相对较大;另外,水槽35内加入水,不断收集未落入煤粉槽24的煤粉,最终形成浑浊的煤粉溶液,该部分溶液可以加入搅拌器中,避免浪费;过滤器21为现有技术,可以将空气中无法收集在气流通道内的煤粉过滤,避免影响环境。
进一步优化方案,第一调节单元包括伺服液压缸28,伺服液压缸28的一端固定连接在第一支架2上,伺服液压缸28的另一端固定连接在两组第四支架29之间,第四支架29靠近伺服液压缸28的一侧固定连接有滑柱27,滑柱27与第一支架2滑动连接,第一支架2的滑动方向与伺服液压缸28的伸缩方向平行。
进一步优化方案,过滤单元包括振动筛12,振动筛12的顶部四角分别固定连接有弹簧10,振动筛12的一侧固定连接有振动电机13。
从漏斗11落下的煤块和煤粉经过振动筛12过滤后,可以将煤块中的煤粉过滤出,便于进一步区分不同粒径大小的煤粉,通过人工操作也便于将煤块加入逐级研磨单元,继续研磨。
进一步优化方案,驱动部包括四组第三伺服电机22,位于下方的两组第三伺服电机22分别固定连接在第一滑块6与第二滑块30上,位于下方的两组第三伺服电机22的旋转轴分别穿过第一滑块6、第二滑块30与两组研磨辊3固定连接。
进一步优化方案,第二支架4与第四支架29的底部分别固定连接有电磁铁23,电磁铁23通电后分别与第一滑块6、第二滑块30吸合,第一滑块6与第二滑块30能够更加稳定,从而确保在研磨过程中研磨辊3的工作稳定性。
在本发明的描述中,需要理解的是,术语“纵向”、“横向”、“上”、“下”、“前”、“后”、“左”、“右”、“竖直”、“水平”、“顶”、“底”、“内”、“外”等指示的方位或位置关系为基于附图所示的方位或位置关系,仅是为了便于描述本发明,而不是指示或暗示所指的装置或元件必须具有特定的方位、以特定的方位构造和操作,因此不能理解为对本发明的限制。
以上所述的实施例仅是对本发明的优选方式进行描述,并非对本发明的范围进行限定,在不脱离本发明设计精神的前提下,本领域普通技术人员对本发明的技术方案做出的各种变形和改进,均应落入本发明权利要求书确定的保护范围内。

Claims (10)

1.一种水煤浆提浓装置,其特征在于:包括研磨壳体(1),所述研磨壳体(1)内连接有研磨机构,所述研磨壳体(1)的下方连接有过滤单元,所述过滤单元与所述研磨机构的出料口对应设置,所述过滤单元的下方对应设置有煤粉粒径分配机构,所述煤粉粒径分配机构用于分离不同粒径的煤粉,所述煤粉粒径分配机构的出端连通有搅拌器,所述搅拌器用于将不同粒径的所述煤粉搅拌成水煤浆;
所述研磨机构包括第一支架(2),所述第一支架(2)固定连接在所述研磨壳体(1)内侧壁上,所述第一支架(2)上连接有逐级研磨单元、第一调节单元与两组第二调节单元,所述第一调节单元连接在所述逐级研磨单元与所述第一支架(2)之间,两组所述第二调节单元对应设置在所述逐级研磨单元的两侧底部,所述第一调节单元用于同步调节所述逐级研磨单元的研磨间隙,两组所述第二调节单元用于统一所述逐级研磨单元的研磨间隙。
2.根据权利要求1所述的水煤浆提浓装置,其特征在于:所述逐级研磨单元包括两组第二支架(4)与两组第四支架(29),两组所述第二支架(4)分别固定连接在所述第一支架(2)上,两组所述第四支架(29)滑动连接在所述第一支架(2)上,所述第一调节单元连接在所述两组所述第四支架(29)与所述第一支架(2)之间,两组所述第二支架(4)之间与两组所述第四支架(29)之间竖向分别连接有两组研磨辊(3),四组所述研磨辊(3)传动连接有驱动部,所述驱动部固定连接在所述第二支架(4)与所述第四支架(29)上,所述第二调节单元连接在位于所述第二支架(4)和所述第四支架(29)下部的两组所述研磨辊(3)上;位于所述第一支架(2)下方的两组研磨辊(3)与所述过滤单元顶部对应设置。
3.根据权利要求2所述的水煤浆提浓装置,其特征在于:所述第二调节单元包括第一伺服电机(7),所述第一伺服电机(7)固定连接在所述第一支架(2)的底部,所述第二支架(4)与位于所述第二支架(4)下部的所述研磨辊(3)之间设置有第一滑动调节部,所述第四支架(29)与位于所述第四支架(29)下部的所述研磨辊(3)之间设置有第二滑动调节部,所述第一伺服电机(7)通过丝杠(8)驱动所述第一滑动调节部与所述第二滑动调节部。
4.根据权利要求3所述的水煤浆提浓装置,其特征在于:所述第一滑动调节部包括第一空腔(33)与两组第二滑槽(36),所述第一空腔(33)开设在所述第二支架(4)的底部内,两组所述第二滑槽(36)分别开设在所述第二支架(4)的底面和侧面上,所述第一空腔(33)与两组所述第二滑槽(36)连通,所述第一空腔(33)内滑动连接有第一滑块(6),所述第一滑块(6)的底部穿过一组所述第二滑槽(36)且还固定连接有第一套筒(9),位于所述第二支架(4)底部的所述研磨辊(3)的转轴穿过另一组所述第二滑槽(36)且还与所述第一滑块(6)转动连接,所述研磨辊(3)的转轴穿过所述第一滑块(6)还与所述驱动部传动连接,所述第一套筒(9)螺纹套设在所述丝杠(8)的外侧,所述丝杠(8)的一端与所述第一伺服电机(7)的旋转轴同轴心固定连接。
5.根据权利要求4所述的水煤浆提浓装置,其特征在于:所述第二滑动调节部包括第二空腔和两组第三滑槽,所述第二空腔开设在所述第四支架(29)的底部内,两组所述第三滑槽分别开设在所述第四支架(29)的底面和侧面上,所述第二空腔与两组所述第三滑槽连通,所述第二空腔内滑动连接有第二滑块(30),所述第二滑块(30)的底部穿过一组所述第三滑槽且还固定连接有第二套筒(31),位于所述第四支架(29)底部的所述研磨辊(3)的转轴穿过另一组所述第三滑槽且还与所述第二滑块(30)转动连接,所述研磨辊(3)的转轴穿过所述第二滑块(30)还与所述驱动部传动连接,所述第二套筒(31)套设在所述丝杠(8)的外侧,所述第二套筒(31)与所述丝杠(8)之间设置有传动组件。
6.根据权利要求5所述的水煤浆提浓装置,其特征在于:所述传动组件包括第三套筒(32),所述第三套筒(32)轴向滑动套设在所述丝杠(8)的一端,所述第二套筒(31)螺纹套设在所述第三套筒(32)的外侧。
7.根据权利要求5所述的水煤浆提浓装置,其特征在于:所述煤粉粒径分配机构包括第三支架(19),所述第三支架(19)上固定连接有分料壳体(15),所述分料壳体(15)的一端固定连接有风机(14),所述分料壳体(15)靠近所述风机(14)的一端顶部与所述过滤单元下方对应设置,所述分料壳体(15)的另一端固定连接有过滤器(21),所述分料壳体(15)内开设有气流通道,所述风机(14)与所述过滤器(21)之间通过所述气流通道连通,所述分料壳体(15)外侧底部固定连接有分料箱(16),所述分料箱(16)内沿所述气流通道方向依次开设有若干煤粉槽(24),若干所述煤粉槽(24)分别连通在所述气流通道的底部,若干所述煤粉槽(24)的底部分别连通有排料组件。
8.根据权利要求7所述的水煤浆提浓装置,其特征在于:所述排料组件包括排料管(17),所述排料管(17)竖向固定连通在所述分料箱(16)的底部,所述排料管(17)的底端固定连接有第二伺服电机(18),所述第二伺服电机(18)的旋转轴穿入所述排料管(17)内且还固定贯穿有螺旋搅拌叶(26),所述排料管(17)的底部一侧与所述搅拌器连通。
9.根据权利要求7所述的水煤浆提浓装置,其特征在于:沿所述风机(14)至所述过滤器(21)方向若干所述煤粉槽(24)尺寸依次增大;所述分料箱(16)靠近所述过滤器(21)一端底部开设有水槽(35)。
10.根据权利要求2所述的水煤浆提浓装置,其特征在于:所述第一调节单元包括伺服液压缸(28),所述伺服液压缸(28)的一端固定连接在所述第一支架(2)上,所述伺服液压缸(28)的另一端固定连接在两组所述第四支架(29)之间,所述第四支架(29)靠近所述伺服液压缸(28)的一侧固定连接有滑柱(27),所述滑柱(27)与所述第一支架(2)滑动连接,所述第一支架(2)的滑动方向与所述伺服液压缸(28)的伸缩方向平行。
CN202210994396.0A 2022-08-18 2022-08-18 一种水煤浆提浓装置 Active CN115350748B (zh)

Priority Applications (4)

Application Number Priority Date Filing Date Title
CN202210994396.0A CN115350748B (zh) 2022-08-18 2022-08-18 一种水煤浆提浓装置
PCT/CN2022/116545 WO2024036669A1 (zh) 2022-08-18 2022-09-01 一种水煤浆提浓装置
ZA2023/00661A ZA202300661B (en) 2022-08-18 2023-01-16 Coal-water slurry concentration device
US18/617,727 US20240226906A1 (en) 2022-08-18 2024-03-27 Coal water slurry concentration device

Applications Claiming Priority (1)

Application Number Priority Date Filing Date Title
CN202210994396.0A CN115350748B (zh) 2022-08-18 2022-08-18 一种水煤浆提浓装置

Publications (2)

Publication Number Publication Date
CN115350748A true CN115350748A (zh) 2022-11-18
CN115350748B CN115350748B (zh) 2023-07-25

Family

ID=84002699

Family Applications (1)

Application Number Title Priority Date Filing Date
CN202210994396.0A Active CN115350748B (zh) 2022-08-18 2022-08-18 一种水煤浆提浓装置

Country Status (4)

Country Link
US (1) US20240226906A1 (zh)
CN (1) CN115350748B (zh)
WO (1) WO2024036669A1 (zh)
ZA (1) ZA202300661B (zh)

Families Citing this family (1)

* Cited by examiner, † Cited by third party
Publication number Priority date Publication date Assignee Title
CN118045679B (zh) * 2024-04-12 2024-06-11 济南市济阳区工程质量与安全中心 一种建筑工地用废料粉碎装置

Citations (13)

* Cited by examiner, † Cited by third party
Publication number Priority date Publication date Assignee Title
JP2005081162A (ja) * 2003-09-04 2005-03-31 Takano Kogyo Kk 石膏ボード破砕機
CN102527469A (zh) * 2012-02-17 2012-07-04 江苏牧羊集团有限公司 碎粒机传动机构
CN103894344A (zh) * 2014-03-31 2014-07-02 威程(天津)科技有限公司上海分公司 一种煤粉纤维分离器
CN203803556U (zh) * 2014-05-22 2014-09-03 深圳市景江化工有限公司 一种带视窗微调功能的三辊磨机
CN106733081A (zh) * 2016-12-13 2017-05-31 安徽理工大学 一种压滤机滤饼破碎系统及其方法
CN208390168U (zh) * 2018-01-17 2019-01-18 青岛华晨电力环保设备有限公司 一种粉碎机
CN208840183U (zh) * 2018-08-08 2019-05-10 安徽省皖北煤电集团有限责任公司 一种煤矿空气中的煤粉收集装置
CN211563123U (zh) * 2019-11-18 2020-09-25 江苏拢研机械有限公司 一种对辊碾压机间距调节装置
CN212468222U (zh) * 2020-03-11 2021-02-05 柳林县翔宇资源回收有限公司 一种煤矿输送用振动筛分设备
CN212524477U (zh) * 2020-06-05 2021-02-12 深圳市蛇口招商港湾工程有限公司 一种土石方工程施工用石块破碎装置
CN113413960A (zh) * 2021-08-23 2021-09-21 徐州华超矿山设备有限公司 一种对辊式破碎机
CN113926532A (zh) * 2021-08-21 2022-01-14 杭州航民江东热电有限公司 煤泥污泥和原煤混合燃料破碎装置
CN114752419A (zh) * 2022-05-17 2022-07-15 安徽理工大学 一种自动调节温度的气化炉烘炉装置

Family Cites Families (9)

* Cited by examiner, † Cited by third party
Publication number Priority date Publication date Assignee Title
EP0242218B1 (en) * 1986-04-17 1990-08-01 Babcock-Hitachi Kabushiki Kaisha Coal-water slurry producing system
CN100349662C (zh) * 2005-08-26 2007-11-21 杨国华 一种煤炭干法分级装置
CN2871016Y (zh) * 2006-01-05 2007-02-21 杨国华 煤炭干法分级装置
CN103206718B (zh) * 2013-04-09 2015-04-15 陕煤集团神木张家峁矿业有限公司 一种提高低阶煤水煤浆成浆性的系统及方法
CN208055279U (zh) * 2018-04-22 2018-11-06 祝亚荣 一种水煤浆制备系统
CN210434588U (zh) * 2019-07-01 2020-05-01 上海睿熠自动化有限公司 一种碳素材料研磨装置
CN210303503U (zh) * 2019-07-29 2020-04-14 曲阜三让洁能股份有限公司 水煤浆制备装置
CN212595928U (zh) * 2020-06-08 2021-02-26 江苏凯孚碳素科技有限公司 一种碳素材料研磨分级装置
CN213408987U (zh) * 2020-08-10 2021-06-11 吴攀 一种化工用水煤浆制备装置

Patent Citations (13)

* Cited by examiner, † Cited by third party
Publication number Priority date Publication date Assignee Title
JP2005081162A (ja) * 2003-09-04 2005-03-31 Takano Kogyo Kk 石膏ボード破砕機
CN102527469A (zh) * 2012-02-17 2012-07-04 江苏牧羊集团有限公司 碎粒机传动机构
CN103894344A (zh) * 2014-03-31 2014-07-02 威程(天津)科技有限公司上海分公司 一种煤粉纤维分离器
CN203803556U (zh) * 2014-05-22 2014-09-03 深圳市景江化工有限公司 一种带视窗微调功能的三辊磨机
CN106733081A (zh) * 2016-12-13 2017-05-31 安徽理工大学 一种压滤机滤饼破碎系统及其方法
CN208390168U (zh) * 2018-01-17 2019-01-18 青岛华晨电力环保设备有限公司 一种粉碎机
CN208840183U (zh) * 2018-08-08 2019-05-10 安徽省皖北煤电集团有限责任公司 一种煤矿空气中的煤粉收集装置
CN211563123U (zh) * 2019-11-18 2020-09-25 江苏拢研机械有限公司 一种对辊碾压机间距调节装置
CN212468222U (zh) * 2020-03-11 2021-02-05 柳林县翔宇资源回收有限公司 一种煤矿输送用振动筛分设备
CN212524477U (zh) * 2020-06-05 2021-02-12 深圳市蛇口招商港湾工程有限公司 一种土石方工程施工用石块破碎装置
CN113926532A (zh) * 2021-08-21 2022-01-14 杭州航民江东热电有限公司 煤泥污泥和原煤混合燃料破碎装置
CN113413960A (zh) * 2021-08-23 2021-09-21 徐州华超矿山设备有限公司 一种对辊式破碎机
CN114752419A (zh) * 2022-05-17 2022-07-15 安徽理工大学 一种自动调节温度的气化炉烘炉装置

Non-Patent Citations (2)

* Cited by examiner, † Cited by third party
Title
孙圳;贾伟;张春晖;胡小佳;: "新型仿生啮齿型破骨机", 轻工机械, no. 06, pages 96 - 98 *
邓业新: "粒度级配改善神华煤成浆性的研究", 中国优秀硕士学位论文全文数据库工程科技Ⅰ辑, no. 12, pages 017 - 20 *

Also Published As

Publication number Publication date
CN115350748B (zh) 2023-07-25
ZA202300661B (en) 2023-10-25
WO2024036669A1 (zh) 2024-02-22
US20240226906A1 (en) 2024-07-11

Similar Documents

Publication Publication Date Title
CN118988521B (zh) 一种玻璃纤维弹性毡生产用破碎打散装置
CN211436331U (zh) 一种选矿用粉碎装置
CN115350748A (zh) 一种水煤浆提浓装置
CN213630493U (zh) 一种煤粉加注用打散器
CN218531212U (zh) 一种饲料原料粉碎机
CN116251521A (zh) 低蛋白面粉加工用智能蛋白分离器、低蛋白面粉加工工艺
CN216099898U (zh) 一种废旧塑料袋处理用的高效粉碎机
CN211436346U (zh) 一种基于pc板的原料粉碎装置
CN205833268U (zh) 立式外循环磨粉机
CN221965513U (zh) 一种高效煤磨机
CN118950166A (zh) 一种高效节能的水泥立磨
CN202169197U (zh) 一种打散分级机
CN216296468U (zh) 一种大块铁矿石破碎机
CN116060175A (zh) 一种针对于超细粉碎的粉碎系统
CN115625798A (zh) 一种用于膨润土生产的搅拌设备
CN115608461A (zh) 一种具有自动配料组件的膨润土加工磨粉机
CN220361485U (zh) 一种饲料生产用原料除杂装置
CN216173003U (zh) 一种具有筛分功能的耐火材料磨粉装置
CN209034469U (zh) 一种大米磨粉机
CN218590659U (zh) 一种爽身粉多级筛粉装置
CN219308982U (zh) 一种粉碎机的粉末分离装置
CN221245435U (zh) 一种干法高效卧式三级离心筛分机
CN223475564U (zh) 一种雷蒙磨粉机用高效分级筛分机构
CN221268424U (zh) 一种可进行均匀筛分的饲料粉碎装置
CN219356416U (zh) 一种原料预处理设备

Legal Events

Date Code Title Description
PB01 Publication
PB01 Publication
SE01 Entry into force of request for substantive examination
SE01 Entry into force of request for substantive examination
GR01 Patent grant
GR01 Patent grant