CN115339933A - 一种阳极皮带的灰尘清理收集结构 - Google Patents

一种阳极皮带的灰尘清理收集结构 Download PDF

Info

Publication number
CN115339933A
CN115339933A CN202210871575.5A CN202210871575A CN115339933A CN 115339933 A CN115339933 A CN 115339933A CN 202210871575 A CN202210871575 A CN 202210871575A CN 115339933 A CN115339933 A CN 115339933A
Authority
CN
China
Prior art keywords
dust
fixed
wall
belt
rotating
Prior art date
Legal status (The legal status is an assumption and is not a legal conclusion. Google has not performed a legal analysis and makes no representation as to the accuracy of the status listed.)
Pending
Application number
CN202210871575.5A
Other languages
English (en)
Inventor
张刚
贾启
张德程
路秋伟
仇振宇
王晓勇
Current Assignee (The listed assignees may be inaccurate. Google has not performed a legal analysis and makes no representation or warranty as to the accuracy of the list.)
Shandong Xinfa Huaxin Aluminum Industry Co ltd
Original Assignee
Shandong Xinfa Huaxin Aluminum Industry Co ltd
Priority date (The priority date is an assumption and is not a legal conclusion. Google has not performed a legal analysis and makes no representation as to the accuracy of the date listed.)
Filing date
Publication date
Application filed by Shandong Xinfa Huaxin Aluminum Industry Co ltd filed Critical Shandong Xinfa Huaxin Aluminum Industry Co ltd
Priority to CN202210871575.5A priority Critical patent/CN115339933A/zh
Publication of CN115339933A publication Critical patent/CN115339933A/zh
Pending legal-status Critical Current

Links

Images

Classifications

    • BPERFORMING OPERATIONS; TRANSPORTING
    • B65CONVEYING; PACKING; STORING; HANDLING THIN OR FILAMENTARY MATERIAL
    • B65HHANDLING THIN OR FILAMENTARY MATERIAL, e.g. SHEETS, WEBS, CABLES
    • B65H18/00Winding webs
    • B65H18/02Supporting web roll
    • B65H18/028Both ends type
    • BPERFORMING OPERATIONS; TRANSPORTING
    • B08CLEANING
    • B08BCLEANING IN GENERAL; PREVENTION OF FOULING IN GENERAL
    • B08B1/00Cleaning by methods involving the use of tools
    • B08B1/10Cleaning by methods involving the use of tools characterised by the type of cleaning tool
    • B08B1/12Brushes
    • BPERFORMING OPERATIONS; TRANSPORTING
    • B08CLEANING
    • B08BCLEANING IN GENERAL; PREVENTION OF FOULING IN GENERAL
    • B08B1/00Cleaning by methods involving the use of tools
    • B08B1/10Cleaning by methods involving the use of tools characterised by the type of cleaning tool
    • B08B1/16Rigid blades, e.g. scrapers; Flexible blades, e.g. wipers
    • B08B1/165Scrapers
    • BPERFORMING OPERATIONS; TRANSPORTING
    • B08CLEANING
    • B08BCLEANING IN GENERAL; PREVENTION OF FOULING IN GENERAL
    • B08B1/00Cleaning by methods involving the use of tools
    • B08B1/20Cleaning of moving articles, e.g. of moving webs or of objects on a conveyor
    • BPERFORMING OPERATIONS; TRANSPORTING
    • B65CONVEYING; PACKING; STORING; HANDLING THIN OR FILAMENTARY MATERIAL
    • B65HHANDLING THIN OR FILAMENTARY MATERIAL, e.g. SHEETS, WEBS, CABLES
    • B65H18/00Winding webs
    • B65H18/08Web-winding mechanisms
    • B65H18/10Mechanisms in which power is applied to web-roll spindle
    • BPERFORMING OPERATIONS; TRANSPORTING
    • B65CONVEYING; PACKING; STORING; HANDLING THIN OR FILAMENTARY MATERIAL
    • B65HHANDLING THIN OR FILAMENTARY MATERIAL, e.g. SHEETS, WEBS, CABLES
    • B65H2301/00Handling processes for sheets or webs
    • B65H2301/50Auxiliary process performed during handling process
    • B65H2301/51Modifying a characteristic of handled material
    • B65H2301/511Processing surface of handled material upon transport or guiding thereof, e.g. cleaning
    • B65H2301/5115Cleaning
    • BPERFORMING OPERATIONS; TRANSPORTING
    • B65CONVEYING; PACKING; STORING; HANDLING THIN OR FILAMENTARY MATERIAL
    • B65HHANDLING THIN OR FILAMENTARY MATERIAL, e.g. SHEETS, WEBS, CABLES
    • B65H2701/00Handled material; Storage means
    • B65H2701/10Handled articles or webs
    • B65H2701/19Specific article or web

Landscapes

  • Cleaning In General (AREA)

Abstract

本发明公开了一种阳极皮带的灰尘清理收集结构,涉及阳极皮带技术领域包括收集装置本体,所述收集装置本体顶端固定有收集侧箱,所述收集侧箱内壁转动有内转盘,所述内转盘一端转动有转杆,所述转杆另一端转动有推杆。本发明通过转轴、下转盘、内转盘、转杆、推杆、“U”型毛刷、除杂箱、正反牙丝杆、滑块、挤压板以及挤压转板的设置,解决了现有不便于清理其表面附着的灰尘风尘的问题,通过转动手柄可使得两组挤压转板相互逐渐靠近与皮带紧贴,推动收集装置本体的同时,两组挤压转板可清理皮带表面较大的杂物灰尘,而可通过“U”型毛刷的设置可有效的对皮带表面较小的粉尘进行清理,从而达到便于清理粉尘的作用。

Description

一种阳极皮带的灰尘清理收集结构
技术领域
本发明涉及阳极皮带技术领域,具体为一种阳极皮带的灰尘清理收集结构。
背景技术
阳极作为电解铝等原料通过电解后形成,例如电解铝就是通过电解得到的铝,现代电解铝工业生产采用冰晶石-氧化铝融盐电解法,熔融冰晶石是溶剂,氧化铝作为溶质,以碳素体作为阳极,铝液作为阴极,通入强大的直流电后,在950℃-970℃下,在电解槽内的两极上进行电化学反应,即电解。
现有阳极在输送时,其输送皮带在长时间的使用中其表面容易粘附大量的灰尘,传统的清理方式通常以人工手动进行擦拭清理,该方式既费时又费力,并且现有阳极皮带在使用寿命到达时,需要将其进行收集清理,送往加工厂进行二次加工,而现有收集方式通常以人工手动对其进行收卷,十分不便。
发明内容
基于此,本发明的目的是提供一种阳极皮带的灰尘清理收集结构,以解决现有阳极输送皮带存在不便于收集以及不便于清理其表面附着的灰尘风尘的技术问题。
为实现上述目的,本发明提供如下技术方案:一种阳极皮带的灰尘清理收集结构,包括收集装置本体,所述收集装置本体顶端固定有收集侧箱,所述收集侧箱内壁转动有内转盘,所述内转盘一端转动有转杆,所述转杆另一端转动有推杆,所述推杆另一端固定有与收集装置本体顶端滑动连接的“U”型毛刷,所述收集装置本体顶端位于收集侧箱一侧固定有除杂箱,所述除杂箱内壁转动有延伸至外壁的正反牙丝杆,所述正反牙丝杆外壁套接有两组滑块,所述滑块一侧固定有与除杂箱内壁滑动的挤压板,所述除杂箱内壁转动有两组挤压转板,且挤压板与挤压转板相接触。
本发明进一步设置为,所述收集装置本体底端转动有两组转轴,所述转轴端部固定有两组轮子,所述转轴外壁固定有下转盘,所述下转盘与内转盘之间转动有皮带。
本发明进一步设置为,所述正反牙丝杆顶端固定有手柄,所述挤压转板与挤压板之间设置有一对相互吸附的磁块,两组所述挤压转板关于正反牙丝杆横向中轴线对称设置,所述正反牙丝杆与滑块之间通过螺纹连接。
本发明进一步设置为,所述内转盘另一端固定有安装环,所述安装环内壁套接有缠绕筒,两组所述收集侧箱之间固定有多组支撑杆。
本发明进一步设置为,所述安装环包括限位上环与限位下环,且限位上环位于限位下环上方,所述限位上环底端固定有凸块,所述缠绕筒一侧开设有凸块槽。
本发明进一步设置为,所述限位上环与限位下环之间设置有两对相互吸附的磁条,且两组磁条关于凸块竖直中轴线对称设置。
综上所述,本发明主要具有以下有益效果:
1、本发明通过转轴、下转盘、内转盘、转杆、推杆、“U”型毛刷、除杂箱、正反牙丝杆、滑块、挤压板以及挤压转板的设置,解决了现有不便于清理其表面附着的灰尘风尘的问题,通过转动手柄可使得两组挤压转板相互逐渐靠近与皮带紧贴,推动收集装置本体的同时,两组挤压转板可清理皮带表面较大的杂物灰尘,而可通过“U”型毛刷的设置可有效的对皮带表面较小的粉尘进行清理,从而达到便于清理粉尘的作用;
2、本发明通过缠绕筒、安装环、限位上环以及限位下环的设置,解决了现有阳极输送皮带存在不便于收集的问题,将缠绕筒插入限位下环内部,并使得限位上环底端固定的凸块与凸块槽相卡合,在两组磁条作用下,可使得缠绕筒固定于安装环内部,推动收集装置本体的同时,可带动缠绕筒转动,继而使得其表面缠绕的皮带进行收卷,从而达到便于对皮带进行收集的作用。
附图说明
图1为本发明的阳极皮带收集装置立体图;
图2为本发明的除杂箱局部剖视图;
图3为本发明的挤压转板立体图;
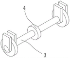
图4为本发明的转轴与下转盘连接立体图;
图5为本发明的收集侧箱剖视图;
图6为本发明的安装环结构示意图。
图中:1、收集装置本体;2、收集侧箱;3、转轴;4、下转盘;5、内转盘;6、转杆;7、推杆;8、“U”型毛刷;9、除杂箱;10、正反牙丝杆;11、滑块;12、挤压板;13、挤压转板;14、缠绕筒;15、安装环;151、限位上环;152、限位下环。
具体实施方式
下面将结合本发明实施例中的附图,对本发明实施例中的技术方案进行清楚、完整地描述。下面通过参考附图描述的实施例是示例性的,仅用于解释本发明,而不能理解为对本发明的限制。
下面根据本发明的整体结构,对其实施例进行说明。
一种阳极皮带的灰尘清理收集结构,如图1-6所示,包括收集装置本体1,收集装置本体1顶端固定有收集侧箱2,收集侧箱2内壁转动有内转盘5,内转盘5一端转动有转杆6,转杆6另一端转动有推杆7,推杆7另一端固定有与收集装置本体1顶端滑动连接的“U”型毛刷8,收集装置本体1顶端位于收集侧箱2一侧固定有除杂箱9,除杂箱9内壁转动有延伸至外壁的正反牙丝杆10,正反牙丝杆10外壁套接有两组滑块11,滑块11一侧固定有与除杂箱9内壁滑动的挤压板12,除杂箱9内壁转动有两组挤压转板13,且挤压板12与挤压转板13相接触。
请参阅图5,收集装置本体1底端转动有两组转轴3,转轴3端部固定有两组轮子,转轴3外壁固定有下转盘4,下转盘4与内转盘5之间转动有皮带。
具体实施时,推动收集装置本体1的同时,带动转轴3转动使得下转盘4转动,在皮带连接下可带动内转盘5转动,推动转杆6围绕与内转盘5接触位置处转动,继而带动推杆7推动“U”型毛刷8对阳极皮带表面进行清理。
请参阅图2,正反牙丝杆10顶端固定有手柄,挤压转板13与挤压板12之间设置有一对相互吸附的磁块,两组挤压转板13关于正反牙丝杆10横向中轴线对称设置,正反牙丝杆10与滑块11之间通过螺纹连接。
具体实施时,转动手柄带动正反牙丝杆10转动,使得两组滑块11滑动,使得两组挤压板12与两组挤压转板13相接触,并使其与阳极皮带相接触,对阳极皮带表面较大的粉尘进行清理。
请参阅图6,内转盘5另一端固定有安装环15,安装环15内壁套接有缠绕筒14,两组收集侧箱2之间固定有多组支撑杆,安装环15包括限位上环151与限位下环152,且限位上环151位于限位下环152上方,限位上环151底端固定有凸块,缠绕筒14一侧开设有凸块槽,限位上环151与限位下环152之间设置有两对相互吸附的磁条,且两组磁条关于凸块竖直中轴线对称设置。
具体实施时,将缠绕筒14插入安装环15内部,将限位上环151插入限位下环152内部,使得限位上环151底端固定的凸块与凸块槽相卡合,并在两组磁条作用下,可使得缠绕筒14固定于安装环15内部,将阳极皮带固定于缠绕筒14外壁。
本发明的工作原理为:将缠绕筒14插入安装环15内部,将限位上环151插入限位下环152内部,使得限位上环151底端固定的凸块与凸块槽相卡合,并在两组磁条作用下,可使得缠绕筒14固定于安装环15内部,将阳极皮带固定于缠绕筒14外壁,此时转动手柄带动正反牙丝杆10转动,使得两组滑块11滑动,使得两组挤压板12与两组挤压转板13相接触,并使其与阳极皮带相接触,对阳极皮带表面较大的粉尘进行清理,推动收集装置本体1的同时,带动转轴3转动使得下转盘4转动,在皮带连接下可带动内转盘5转动,推动转杆6围绕与内转盘5接触位置处转动,继而带动推杆7推动“U”型毛刷8对阳极皮带表面进行清理,内转盘5转动可带动缠绕筒14转动,继而使得其表面缠绕的阳极皮带进行收卷,从而达到便于对阳极皮带进行收集的作用。
尽管已经示出和描述了本发明的实施例,但本具体实施例仅仅是对本发明的解释,其并不是对发明的限制,描述的具体特征、结构、材料或者特点可以在任何一个或多个实施例或示例中以合适的方式结合,本领域技术人员在阅读完本说明书后可在不脱离本发明的原理和宗旨的情况下,可以根据需要对实施例做出没有创造性贡献的修改、替换和变型等,但只要在本发明的权利要求范围内都受到专利法的保护。

Claims (6)

1.一种阳极皮带的灰尘清理收集结构,包括收集装置本体(1),其特征在于:所述收集装置本体(1)顶端固定有收集侧箱(2),所述收集侧箱(2)内壁转动有内转盘(5),所述内转盘(5)一端转动有转杆(6),所述转杆(6)另一端转动有推杆(7),所述推杆(7)另一端固定有与收集装置本体(1)顶端滑动连接的“U”型毛刷(8),所述收集装置本体(1)顶端位于收集侧箱(2)一侧固定有除杂箱(9),所述除杂箱(9)内壁转动有延伸至外壁的正反牙丝杆(10),所述正反牙丝杆(10)外壁套接有两组滑块(11),所述滑块(11)一侧固定有与除杂箱(9)内壁滑动的挤压板(12),所述除杂箱(9)内壁转动有两组挤压转板(13),且挤压板(12)与挤压转板(13)相接触。
2.根据权利要求1所述的一种阳极皮带的灰尘清理收集结构,其特征在于:所述收集装置本体(1)底端转动有两组转轴(3),所述转轴(3)端部固定有两组轮子,所述转轴(3)外壁固定有下转盘(4),所述下转盘(4)与内转盘(5)之间转动有皮带。
3.根据权利要求1所述的一种阳极皮带的灰尘清理收集结构,其特征在于:所述正反牙丝杆(10)顶端固定有手柄,所述挤压转板(13)与挤压板(12)之间设置有一对相互吸附的磁块,两组所述挤压转板(13)关于正反牙丝杆(10)横向中轴线对称设置,所述正反牙丝杆(10)与滑块(11)之间通过螺纹连接。
4.根据权利要求1所述的一种阳极皮带的灰尘清理收集结构,其特征在于:所述内转盘(5)另一端固定有安装环(15),所述安装环(15)内壁套接有缠绕筒(14),两组所述收集侧箱(2)之间固定有多组支撑杆。
5.根据权利要求4所述的一种阳极皮带的灰尘清理收集结构,其特征在于:所述安装环(15)包括限位上环(151)与限位下环(152),且限位上环(151)位于限位下环(152)上方,所述限位上环(151)底端固定有凸块,所述缠绕筒(14)一侧开设有凸块槽。
6.根据权利要求5所述的一种阳极皮带的灰尘清理收集结构,其特征在于:所述限位上环(151)与限位下环(152)之间设置有两对相互吸附的磁条,且两组磁条关于凸块竖直中轴线对称设置。
CN202210871575.5A 2022-07-22 2022-07-22 一种阳极皮带的灰尘清理收集结构 Pending CN115339933A (zh)

Priority Applications (1)

Application Number Priority Date Filing Date Title
CN202210871575.5A CN115339933A (zh) 2022-07-22 2022-07-22 一种阳极皮带的灰尘清理收集结构

Applications Claiming Priority (1)

Application Number Priority Date Filing Date Title
CN202210871575.5A CN115339933A (zh) 2022-07-22 2022-07-22 一种阳极皮带的灰尘清理收集结构

Publications (1)

Publication Number Publication Date
CN115339933A true CN115339933A (zh) 2022-11-15

Family

ID=83949622

Family Applications (1)

Application Number Title Priority Date Filing Date
CN202210871575.5A Pending CN115339933A (zh) 2022-07-22 2022-07-22 一种阳极皮带的灰尘清理收集结构

Country Status (1)

Country Link
CN (1) CN115339933A (zh)

Citations (3)

* Cited by examiner, † Cited by third party
Publication number Priority date Publication date Assignee Title
CN213826057U (zh) * 2020-11-21 2021-07-30 福州忠陞塑胶有限公司 一种发泡片材切片机的压辊机构
CN215248716U (zh) * 2021-03-26 2021-12-21 西安立昌电子科技有限公司 一种电缆加工用夹紧除尘装置
CN218538614U (zh) * 2022-07-22 2023-02-28 山东信发华信铝业有限公司 一种阳极皮带的灰尘清理收集结构

Patent Citations (3)

* Cited by examiner, † Cited by third party
Publication number Priority date Publication date Assignee Title
CN213826057U (zh) * 2020-11-21 2021-07-30 福州忠陞塑胶有限公司 一种发泡片材切片机的压辊机构
CN215248716U (zh) * 2021-03-26 2021-12-21 西安立昌电子科技有限公司 一种电缆加工用夹紧除尘装置
CN218538614U (zh) * 2022-07-22 2023-02-28 山东信发华信铝业有限公司 一种阳极皮带的灰尘清理收集结构

Similar Documents

Publication Publication Date Title
CN113788295B (zh) 基于智能化取样称重的煤炭样品供给运输机构
CN115339933A (zh) 一种阳极皮带的灰尘清理收集结构
CN218538614U (zh) 一种阳极皮带的灰尘清理收集结构
CN219371113U (zh) 一种铅蓄电池拆解回收设备
CN217738703U (zh) 一种农田监测用土壤监测取样装置
CN111069105B (zh) 一种锂离子电池加工用极片刷粉机
CN113086526B (zh) 一种水泥生产用排渣装置
CN213215121U (zh) 一种宠物饲料加工用鸡胸肉冷冻存储设备
CN208557845U (zh) 一种竹木加工用竹青去除装置
CN218901181U (zh) 干泵尾气管道
CN218921480U (zh) 一种茶叶加工用摊晒机构
CN211587654U (zh) 一种可调式电气自动化设备用除尘装置
CN211191096U (zh) 一种聚合物锂电池制极片用表面除杂设备
CN222830342U (zh) 一种新型的电池极片轧机用擦辊机构
CN218179599U (zh) 一种正极材料多级烧结循环输送装置
CN213648438U (zh) 分体式飞达供料器
CN221262050U (zh) 一种负极材料去磁装置
CN219367238U (zh) 一种可升降三维图像采集装置
CN221719693U (zh) 一种输送带刮板
CN210600593U (zh) 一种静电除尘装置的管道连接机构
CN207057085U (zh) 一种负电极集流体制备用的钛辊清洁装置
CN221436087U (zh) 一种轴除锈装置
CN219581304U (zh) 一种畜牧业收集桶清洗装置
CN212770995U (zh) 一种具有高电解效率的电解槽
CN221478528U (zh) 一种气动接头卸料机构

Legal Events

Date Code Title Description
PB01 Publication
PB01 Publication
SE01 Entry into force of request for substantive examination
SE01 Entry into force of request for substantive examination
RJ01 Rejection of invention patent application after publication

Application publication date: 20221115

RJ01 Rejection of invention patent application after publication