CN115265343A - 一种建筑工程施工用平整度测量装置 - Google Patents
一种建筑工程施工用平整度测量装置 Download PDFInfo
- Publication number
- CN115265343A CN115265343A CN202210865965.1A CN202210865965A CN115265343A CN 115265343 A CN115265343 A CN 115265343A CN 202210865965 A CN202210865965 A CN 202210865965A CN 115265343 A CN115265343 A CN 115265343A
- Authority
- CN
- China
- Prior art keywords
- wall
- rack
- injector
- casing
- vertical plate
- Prior art date
- Legal status (The legal status is an assumption and is not a legal conclusion. Google has not performed a legal analysis and makes no representation as to the accuracy of the status listed.)
- Withdrawn
Links
- 238000010276 construction Methods 0.000 title claims abstract description 45
- AXCZMVOFGPJBDE-UHFFFAOYSA-L calcium dihydroxide Chemical compound [OH-].[OH-].[Ca+2] AXCZMVOFGPJBDE-UHFFFAOYSA-L 0.000 claims abstract description 12
- 230000007246 mechanism Effects 0.000 claims abstract description 11
- 238000002347 injection Methods 0.000 claims description 10
- 239000007924 injection Substances 0.000 claims description 10
- 239000000463 material Substances 0.000 claims description 3
- 230000000149 penetrating effect Effects 0.000 claims description 3
- 239000011347 resin Substances 0.000 claims description 3
- 229920005989 resin Polymers 0.000 claims description 3
- 238000007789 sealing Methods 0.000 claims description 3
- 238000001514 detection method Methods 0.000 abstract description 9
- 238000005259 measurement Methods 0.000 description 10
- 238000000034 method Methods 0.000 description 6
- 230000009471 action Effects 0.000 description 2
- 238000005034 decoration Methods 0.000 description 2
- 230000008569 process Effects 0.000 description 2
- 230000004075 alteration Effects 0.000 description 1
- 230000009286 beneficial effect Effects 0.000 description 1
- 238000009435 building construction Methods 0.000 description 1
- 230000008859 change Effects 0.000 description 1
- 238000013461 design Methods 0.000 description 1
- 230000000694 effects Effects 0.000 description 1
- 238000010304 firing Methods 0.000 description 1
- 238000012423 maintenance Methods 0.000 description 1
- 238000004519 manufacturing process Methods 0.000 description 1
- 238000012986 modification Methods 0.000 description 1
- 230000004048 modification Effects 0.000 description 1
- 238000004904 shortening Methods 0.000 description 1
- 238000006467 substitution reaction Methods 0.000 description 1
- 239000013589 supplement Substances 0.000 description 1
- 230000000007 visual effect Effects 0.000 description 1
Images
Classifications
-
- G—PHYSICS
- G01—MEASURING; TESTING
- G01B—MEASURING LENGTH, THICKNESS OR SIMILAR LINEAR DIMENSIONS; MEASURING ANGLES; MEASURING AREAS; MEASURING IRREGULARITIES OF SURFACES OR CONTOURS
- G01B5/00—Measuring arrangements characterised by the use of mechanical techniques
- G01B5/28—Measuring arrangements characterised by the use of mechanical techniques for measuring roughness or irregularity of surfaces
-
- G—PHYSICS
- G01—MEASURING; TESTING
- G01B—MEASURING LENGTH, THICKNESS OR SIMILAR LINEAR DIMENSIONS; MEASURING ANGLES; MEASURING AREAS; MEASURING IRREGULARITIES OF SURFACES OR CONTOURS
- G01B13/00—Measuring arrangements characterised by the use of fluids
- G01B13/22—Measuring arrangements characterised by the use of fluids for measuring roughness or irregularity of surfaces
Landscapes
- Physics & Mathematics (AREA)
- General Physics & Mathematics (AREA)
- A Measuring Device Byusing Mechanical Method (AREA)
Abstract
本发明公开了一种建筑工程施工用平整度测量装置,该测量装置包括机壳底部开设有开口,开口的两侧设有第一滚轮;平整度测量机构包括抵接件,抵接件的顶部与竖板连接,抵接件的底部能与地面接触,竖板顶端通过高度调节组件与机壳内顶壁连接,竖板上套设有弹簧,弹簧的顶端与竖板连接,弹簧的底端与机壳的底壁连接;标记机构包括与机壳前后壁转动连接的第一齿轮,第一齿轮分别与第一齿条以及第二齿条相啮合,第二齿条与装有石灰水的第一注射器连接,第一注射器与机壳内壁通过第一连接杆固定连接,且第一注射器的出口与机壳底壁开设的第一通孔连通。本发明能够测定平整度的同时对测定的平整度不达标的地面或墙面进行标记。
Description
技术领域
本发明涉及建筑工程施工技术领域,具体涉及一种建筑工程施工用平整度测量装置。
背景技术
建筑施工是指工程建设实施阶段的生产活动,是各类建筑物的建造过程,也可以说是把设计图纸上的各种线条,在指定的地点,变成实物的过程。它包括基础工程施工、主体结构施工、屋面工程施工、装饰工程施工等。然而不论是基础工程施工、主体结构施工、屋面工程施工还是装饰工程施工,施工结束后都需要针对地面和墙面的破坏程度进行平整度检测。才能保证施工的质量,用于评定地面和墙面的使用质量、施工质量。
在进行平整度检测时,现有技术中给出的使用最为普遍的工具是水平尺,通过将水平尺平铺在地面或墙面上,然后测量水平尺与地面或墙面之间的间隙,然后用手进行标记,这种方法虽然也能够在一定程度上满足平整度的测定,但是工作人员需要逐步对其进行测量,增加了工作人员的劳动强度,而且检测效率也低,不适用于大面积检查,为了提高检测效率以及提高检测的精准度,现有技术中给出的一种建筑工程施工用平整度测量装置(申请公布号CN113155001A)能够解决水平尺检测水平度的问题,但是该平整度测量装置虽然能够通过旋转轴带动固定杆转动,从而带动测量百分表转动,通过读取测量百分表的底面撞针与地面之间的距离来达到检测地面平整度的目的,用人为测量,检测准确度高,但是该检测并不能对底面或墙面平整度存在问题的地方进行标记,所以需要修正平整度,必须边测量边补充。
发明内容
本发明的目的是为了克服现有技术中的问题,提供能够测定平整度的同时对测定的平整度不达标的地面或墙面进行标记的一种建筑工程施工用平整度测量装置。
本发明提供了一种建筑工程施工用平整度测量装置,包括:机壳,底部开设有开口,所述开口的两侧对称设有第一滚轮;平整度测量机构,包括抵接件,抵接件的顶部与由开口穿出的竖板连接,抵接件的底部能与地面接触,竖板顶端通过高度调节组件与机壳内顶壁连接,竖板上套设有弹簧,弹簧的顶端与竖板连接,弹簧的底端与机壳的底壁连接;标记机构,包括通过第一旋转轴与机壳前后壁转动连接的第一齿轮,第一齿轮分别与沿纵向设在竖板上的第一齿条以及与机壳内壁沿纵向滑动连接的第二齿条相啮合,所述第二齿条与装有石灰水的第一注射器连接,所述第一注射器与机壳内壁通过第一连接杆固定连接,且第一注射器的出口与机壳底壁开设的第一通孔连通。
较佳地,所述竖板上还设有与第一齿条对称的第三齿条,所述第三齿条与第二齿轮相啮合,所述第二齿轮键连接在第二旋转轴上,且第二旋转轴与机壳的前后侧壁转动连接,所述第二齿轮与第三齿轮啮合,所述第三齿轮键连接在第三旋转轴上,且第三旋转轴与机壳的前后侧壁转动连接,所述第二旋转轴与第三旋转轴处于同一位置高度且相平行,所述第三齿轮与沿机壳内壁沿纵向滑动的第四齿条相啮合,所述第四齿条与装有石灰水的第二注射器连接,所述第二注射器与机壳内壁通过第二连接杆固定连接,且第二注射器的出口与机壳底壁开设的第二通孔连通。
较佳地,所述竖板的顶部对称设有支撑杆,两个支撑杆呈倒八字形,各支撑杆的高端与滑块铰接,各滑块与机壳的内顶壁沿水平方向滑动连接,各支撑杆的低端铰接在竖板的顶端,各滑块分别与沿水平方向固定在机壳内顶壁上的第三注射器的注射柄固定连接,各第三注射器内充有气体,各第三注射器的出气口密封连接有充有少量气体的气球。
较佳地,所述抵接件为第二滚轮,且第二滚轮的直径为5-20mm。
较佳地,所述高度调节组件包括第一套筒和第一套杆,所述第一套筒套设在第一套杆的外部,且第一套杆沿第一套筒的长度方向滑动连接,第一套杆与竖板的顶端连接,第一套筒与机壳的内顶壁连接。
较佳地,所述机壳前侧壁上设有密封门。
较佳地,所述机壳的顶部设有握柄。
较佳地,所述机壳的侧壁上设有扶手。
较佳地,所述机壳、竖板、高度调节组件、第一齿轮、第一旋转轴、第一齿条、第二齿条以及第一注射器均由树脂材料制成。
与现有技术相比,本发明的有益效果是:
1、本发明解决了现有技术中给出的平整度测量装置只能测定平整度不能对测定的平面的凸起或凹陷进行标记的问题,使用时需要将该装置置于需要测量的平面上,然后通过抵接件和与抵接件相连的竖板上移,弹簧压缩,高度调节组件变短,使得第一齿条上移,从而使得第一齿轮转动,进而带动第二齿条向下滑动,从而推动第一注射器的注射柄,从而推出第一注射器内的石灰水进行标记,而为了对凹陷也进行标记,所以弹簧拉伸,抵接件和与抵接件相连的竖板下移,高度调节组件边长,第一齿条下移,从而使得第二齿轮转动,第二齿轮带动第三齿轮转动,进而带动第四齿条向下滑动,从而推动第二注射器的注射柄,从而推出第二注射器内的石灰水进行标记,凹陷和凸起的标记不同侧标记,便于区分,进行针对性的修整。
2、本发明也能够通过竖板的上下移动,高度调节组件的伸长和缩短以及支撑杆推动滑块左右移动,从而实现对第三注射器注射柄的推拉动作,从而向气球内充气或吸出气球内的球体,从而直观的观察平面凹陷和凸起的测定结果。
附图说明
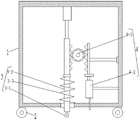
图1为本发明一种建筑工程施工用平整度测量装置的整体结构示意图;
图2为本发明一种建筑工程施工用平整度测量装置的剖面图;
图3为本发明一种建筑工程施工用平整度测量装置的剖面图;
图4为本发明一种建筑工程施工用平整度测量装置的剖面图;
图5为本发明一种建筑工程施工用平整度测量装置的俯视图。
附图标记说明:
1.机壳,2.第一滚轮,3.平整度测量机构,3-1.抵接件,3-2.竖板,3-3.弹簧,4.标记机构,4-1.第一齿轮,4-2.第一注射器,4-3.第二齿轮,4-4.第三齿轮,4-5.第二注射器,5.支撑杆,6.第三注射器,7.气球,8.握柄。
具体实施方式
下面结合附图,对本发明的具体实施方式进行详细描述,但应当理解本发明的保护范围并不受具体实施方式的限制。基于本发明中的实施例,本领域普通技术人员在没有做出创造性劳动的前提下所获得的所有其他实施例,都属于本发明保护的范围。
实施例
如附图1-5所示,本发明提供的一种建筑工程施工用平整度测量装置,包括:机壳1,底部开设有开口,开口的两侧对称设有第一滚轮2;平整度测量机构3,包括抵接件3-1,抵接件3-1的顶部与由开口穿出的竖板3-2连接,抵接件3-1的底部能与地面接触,竖板3-2顶端通过高度调节组件与机壳1内顶壁连接,竖板3-2上套设有弹簧3-3,弹簧3-3的顶端与竖板3-2连接,弹簧3-3的底端与机壳1的底壁连接;标记机构4,包括通过第一旋转轴与机壳1前后壁转动连接的第一齿轮4-1,第一齿轮4-1分别与沿纵向设在竖板3-2上的第一齿条以及与机壳1内壁沿纵向滑动连接的第二齿条相啮合,所述第二齿条与装有石灰水的第一注射器4-2连接,第一注射器4-2与机壳1内壁通过第一连接杆固定连接,且第一注射器4-2的出口与机壳1底壁开设的第一通孔连通。其中高度调节组件为长度可调的伸缩杆。
为了解决现有技术中给出的建筑工程施工用平整度测量装置在测量平整度,不能对检测出平整度不达标的地面或墙面进行标记,需要修正平整度时,必须边测量边补充的问题,而使用本发明在对地面或墙面进行测量时,不仅能够测定平整度,而且还能够对平整度不达标的地面或墙面进行标记,标记后再次整体修整,提高了效率。
使用时,施工人员可以手持该建筑工程施工用平整度测量装置,将该装置放置在需要检测的地面或者墙面上,此时位于机壳1底部的两个第一滚轮2接触地面或墙面,当地面或墙面没有出现凸起时,此时位于开口下方的抵接件3-1也与两个第一滚轮2一样与地面或墙面接触,弹簧3-3处于原始状态,不发生形变,此时不需要标记,当地面或墙面上出现凸起时,抵接件3-1移动至凸起处,并在凸起的作用下,导致抵接件3-1发生上移,与抵接件3-1固定连接的竖板3-2也沿纵向由开口上移,此时弹簧3-3被压缩,高度调节组件(伸缩杆)的长度缩短,当竖板3-2上移时,会使得沿纵向固定在竖板3-2上的第一齿条也向上移动,而第一齿条与第一齿轮啮合,从而带动了位于竖板3-2左侧的第一齿轮4-1顺时针转动,或者是第一齿条也向上移动带动了位于竖板3-2右侧的第一齿轮4-1逆时针转动,而第一齿轮4-1又与第二齿条啮合,且第二齿条通过连接件与机壳1内壁沿纵向滑动连接,进而使得第二齿条向下移动,从而推动第一注射器4-2的注射柄,将第一注射器4-2的石灰水喷出,从而对其凸起进行标记。提高了工作效率。
实施例2
该实施例2在实施例1的基础上为了提高该装置的使用范围,既能对地面或墙面的凸起进行检测标记也能够对地面或墙面的凹陷进行检测和标记,所以竖板3-2上还设有与第一齿条对称的第三齿条,第三齿条与第二齿轮4-3相啮合,第二齿轮4-3键连接在第二旋转轴上,且第二旋转轴与机壳1的前后侧壁转动连接,第二齿轮4-3与第三齿轮4-4啮合,第三齿轮4-4键连接在第三旋转轴上,且第三旋转轴与机壳1的前后侧壁转动连接,第二旋转轴与第三旋转轴处于同一位置高度且相平行,第三齿轮4-4与沿机壳1内壁沿纵向滑动的第四齿条相啮合,第四齿条与装有石灰水的第二注射器4-5连接,第二注射器4-5与机壳1内壁通过第二连接杆固定连接,且第二注射器4-5的出口与机壳1底壁开设的第二通孔连通。
工作原理:当地面或墙面上出现凹陷,需要对该凹陷处进行标记时,需要将该装置放置在地面或墙面上,然后抵接件3-1位于凹陷内,此时弹簧3-3倍拉伸,竖板3-2由开口穿出并下移,高度调节组件伸长,此时位于竖板3-2一侧的第一齿条和位于竖板3-2另一侧且与第一齿条对称的第三齿条均向下移动,从而使得与第一齿条相啮合的第一齿轮4-1逆时针转动,使得与第三齿条相啮合的第二齿轮4-3顺时针转动,而第二齿轮4-3与其平行位于同一高度的第三齿轮4-4啮合,所以第三齿轮4-4逆时针转动,进而使得与第三齿轮4-4啮合的第四齿条向下滑动,从而推动第二注射器4-5的注射柄向下移动,从而将石灰水喷出进行标记,本发明给出的标记也同时具有凸起和凹陷不同侧进行标记且使用一个平整度测量机构3就能完成凸起和凹陷的测量,同时也能对测量后不符合平整度要求的平面标记,结构简单,易于实现。
为了便于更加直观的观看平整度的测定结果,所以竖板3-2的顶部对称设有支撑杆5,两个支撑杆5呈倒八字形,各支撑杆5的高端与滑块铰接,各滑块与机壳1的内顶壁沿水平方向滑动连接,各支撑杆5的低端铰接在竖板3-2的顶端,各滑块分别与沿水平方向固定在机壳1内顶壁上的第三注射器6的注射柄固定连接,各第三注射器6内充有气体,各第三注射器6的出气口密封连接有充有少量气体的气球7。
工作原理:当地面或墙面上没有凸起或凹陷,平整度符合要求时,此时位于机壳1左右两侧的气球7保持充有少量的气体的原始状态,当地面或墙面上出现凸起时,此时抵接件3-1和竖板3-2上移,会使得高度调节组件缩短,进而使得铰接在竖板3-2和滑块上的支撑杆5带动滑块向远离竖板3-2的方向移动,从而推动第三注射器6,将第三注射器6内的气体充入气球7内,使得气球7进一步膨胀,当地面或墙面上出现凹陷时,此时抵接件3-1和竖板3-2下移,会使得高度调节组件伸长,进而使得铰接在竖板3-2和滑块上的支撑杆5带动滑块向靠近竖板3-2的方向移动,从而拉动第三注射器6的注射柄,将气球7内的气体再次吸入第三注射器6内,使得气球7缩小。通过气球7大小的变化,直观的给出地面或墙面凹陷或凸起的测定结果。
给出了抵接件3-2的具体结构,并给出了具体的尺寸,用于使抵接件3-2满足测量要求,所述抵接件3-1为第二滚轮,且第二滚轮的直径为5-20mm
进一步地,给出了高度调节组件的具体结构,其中高度调节组件包括第一套筒和第一套杆,第一套筒套设在第一套杆的外部,且第一套杆沿第一套筒的长度方向滑动连接,第一套杆与竖板3-2的顶端连接,第一套筒与机壳1的内顶壁连接。
进一步地,所述机壳1前侧壁上设有密封门,便于及时向第一第一注射器4-2和第二注射器4-5内补充石灰水,或者便于维修。
进一步地,所述机壳1的顶部设有握柄8。便于手持装置进行平整度测量和标记。
进一步地,所述机壳1的侧壁上设有扶手,便于手握扶手,通过控制装置的移动速度,缓慢的移动该装置,使其进行平整度测量和标记。
进一步地,为了更加便携,减轻重量,所以机壳1、竖板3-2、高度调节组件、第一齿轮4-1、第一旋转轴、第一齿条、第二齿条以及第一注射器4-2均由树脂材料制成,该树脂材料可以是PP或PE中的一种。
尽管已经示出和描述了本发明的实施例,对于本领域的普通技术人员而言,可以理解在不脱离本发明的原理和精神的情况下可以对这些实施例进行多种变化、修改、替换和变型,本发明的范围由所附权利要求及其等同物限定。
Claims (9)
1.一种建筑工程施工用平整度测量装置,其特征在于,包括:
机壳(1),底部开设有开口,所述开口的两侧对称设有第一滚轮(2);
平整度测量机构(3),包括抵接件(3-1),抵接件(3-1)的顶部与由开口穿出的竖板(3-2)连接,抵接件(3-1)的底部能与地面接触,竖板(3-2)顶端通过高度调节组件与机壳(1)内顶壁连接,竖板(3-2)上套设有弹簧(3-3),弹簧(3-3)的顶端与竖板(3-2)连接,弹簧(3-3)的底端与机壳(1)的底壁连接;
标记机构(4),包括通过第一旋转轴与机壳(1)前后壁转动连接的第一齿轮(4-1),第一齿轮(4-1)分别与沿纵向设在竖板(3-2)上的第一齿条以及与机壳(1)内壁沿纵向滑动连接的第二齿条相啮合,所述第二齿条与装有石灰水的第一注射器(4-2)连接,所述第一注射器(4-2)与机壳(1)内壁通过第一连接杆固定连接,且第一注射器(4-2)的出口与机壳(1)底壁开设的第一通孔连通。
2.如权利要求1所述的一种建筑工程施工用平整度测量装置,其特征在于,所述竖板(3-2)上还设有与第一齿条对称的第三齿条,所述第三齿条与第二齿轮(4-3)相啮合,所述第二齿轮(4-3)键连接在第二旋转轴上,且第二旋转轴与机壳(1)的前后侧壁转动连接,所述第二齿轮(4-3)与第三齿轮(4-4)啮合,所述第三齿轮(4-4)键连接在第三旋转轴上,且第三旋转轴与机壳(1)的前后侧壁转动连接,所述第二旋转轴与第三旋转轴处于同一位置高度且相平行,所述第三齿轮(4-4)与沿机壳(1)内壁沿纵向滑动的第四齿条相啮合,所述第四齿条与装有石灰水的第二注射器(4-5)连接,所述第二注射器(4-5)与机壳(1)内壁通过第二连接杆固定连接,且第二注射器(4-5)的出口与机壳(1)底壁开设的第二通孔连通。
3.如权利要求1或2所述的一种建筑工程施工用平整度测量装置,其特征在于,所述竖板(3-2)的顶部对称设有支撑杆(5),两个支撑杆(5)呈倒八字形,各支撑杆(5)的高端与滑块铰接,各滑块与机壳(1)的内顶壁沿水平方向滑动连接,各支撑杆(5)的低端铰接在竖板(3-2)的顶端,各滑块分别与沿水平方向固定在机壳(1)内顶壁上的第三注射器(6)的注射柄固定连接,各第三注射器(6)内充有气体,各第三注射器(6)的出气口密封连接有充有少量气体的气球(7)。
4.如权利要求1所述的一种建筑工程施工用平整度测量装置,其特征在于,所述抵接件(3-1)为第二滚轮,且第二滚轮的直径为5-20mm。
5.如权利要求1所述的一种建筑工程施工用平整度测量装置,其特征在于,所述高度调节组件包括第一套筒和第一套杆,所述第一套筒套设在第一套杆的外部,且第一套杆沿第一套筒的长度方向滑动连接,第一套杆与竖板(3-2)的顶端连接,第一套筒与机壳(1)的内顶壁连接。
6.如权利要求1所述的一种建筑工程施工用平整度测量装置,其特征在于,所述机壳(1)前侧壁上设有密封门。
7.如权利要求1所述的一种建筑工程施工用平整度测量装置,其特征在于,所述机壳(1)的顶部设有握柄(8)。
8.如权利要求1所述的一种建筑工程施工用平整度测量装置,其特征在于,所述机壳(1)的侧壁上设有扶手。
9.如权利要求1所述的一种建筑工程施工用平整度测量装置,其特征在于,所述机壳(1)、竖板(3-2)、高度调节组件、第一齿轮(4-1)、第一旋转轴、第一齿条、第二齿条以及第一注射器(4-2)均由树脂材料制成。
Priority Applications (1)
| Application Number | Priority Date | Filing Date | Title |
|---|---|---|---|
| CN202210865965.1A CN115265343A (zh) | 2022-07-22 | 2022-07-22 | 一种建筑工程施工用平整度测量装置 |
Applications Claiming Priority (1)
| Application Number | Priority Date | Filing Date | Title |
|---|---|---|---|
| CN202210865965.1A CN115265343A (zh) | 2022-07-22 | 2022-07-22 | 一种建筑工程施工用平整度测量装置 |
Publications (1)
| Publication Number | Publication Date |
|---|---|
| CN115265343A true CN115265343A (zh) | 2022-11-01 |
Family
ID=83767275
Family Applications (1)
| Application Number | Title | Priority Date | Filing Date |
|---|---|---|---|
| CN202210865965.1A Withdrawn CN115265343A (zh) | 2022-07-22 | 2022-07-22 | 一种建筑工程施工用平整度测量装置 |
Country Status (1)
| Country | Link |
|---|---|
| CN (1) | CN115265343A (zh) |
Cited By (4)
| Publication number | Priority date | Publication date | Assignee | Title |
|---|---|---|---|---|
| CN115752188A (zh) * | 2022-11-18 | 2023-03-07 | 重庆理想包装有限责任公司 | 一种瓦楞纸板平整度智能检测装置 |
| CN117781829A (zh) * | 2024-02-23 | 2024-03-29 | 云南建研建设工程检测鉴定有限公司 | 一种建筑工程质量平面度检测装置 |
| CN118424083A (zh) * | 2024-07-03 | 2024-08-02 | 中国建筑第五工程局有限公司 | 一种金刚砂耐磨地坪平整度检测装置 |
| CN118670336A (zh) * | 2024-08-14 | 2024-09-20 | 常州中英科技股份有限公司 | 一种覆铜板表面平整度检测设备 |
-
2022
- 2022-07-22 CN CN202210865965.1A patent/CN115265343A/zh not_active Withdrawn
Cited By (7)
| Publication number | Priority date | Publication date | Assignee | Title |
|---|---|---|---|---|
| CN115752188A (zh) * | 2022-11-18 | 2023-03-07 | 重庆理想包装有限责任公司 | 一种瓦楞纸板平整度智能检测装置 |
| CN117781829A (zh) * | 2024-02-23 | 2024-03-29 | 云南建研建设工程检测鉴定有限公司 | 一种建筑工程质量平面度检测装置 |
| CN117781829B (zh) * | 2024-02-23 | 2024-04-30 | 云南建研建设工程检测鉴定有限公司 | 一种建筑工程质量平面度检测装置 |
| CN118424083A (zh) * | 2024-07-03 | 2024-08-02 | 中国建筑第五工程局有限公司 | 一种金刚砂耐磨地坪平整度检测装置 |
| CN118424083B (zh) * | 2024-07-03 | 2024-09-10 | 中国建筑第五工程局有限公司 | 一种金刚砂耐磨地坪平整度检测装置 |
| CN118670336A (zh) * | 2024-08-14 | 2024-09-20 | 常州中英科技股份有限公司 | 一种覆铜板表面平整度检测设备 |
| CN118670336B (zh) * | 2024-08-14 | 2024-10-29 | 常州中英科技股份有限公司 | 一种覆铜板表面平整度检测设备 |
Similar Documents
| Publication | Publication Date | Title |
|---|---|---|
| CN115265343A (zh) | 一种建筑工程施工用平整度测量装置 | |
| CN108729631B (zh) | 一种建筑施工用立式自动贴墙砖装置 | |
| CN107300351A (zh) | 一种建筑监测用木板尺寸快速检测装置 | |
| CN109211187A (zh) | 一种测绘装置以及测绘方法 | |
| CN112097598B (zh) | 一种水利施工用的碾压土层厚度检测器 | |
| CN111412817A (zh) | 一种简易型建筑工程用混凝土厚度检测工具 | |
| CN211346677U (zh) | 一种用于工程平面度测量仪 | |
| CN114216399A (zh) | 一种建筑质量检测装置及方法 | |
| CN115290011A (zh) | 一种手机壳表面喷涂后用于检测漆面平整的检测设备 | |
| CN220231323U (zh) | 一种建筑材料检测装置 | |
| CN216361586U (zh) | 一种建筑工程用建筑材料的平整度检测设备 | |
| CN210689477U (zh) | 一种道桥深度测量装置 | |
| CN211042074U (zh) | 一种用于检测大理石平面度的检测装置 | |
| CN211668972U (zh) | 一种便于移动的建筑材料强度检测装置 | |
| CN221666918U (zh) | 一种墙体垂直度检测装置 | |
| CN213902222U (zh) | 一种装修平整度测量装置 | |
| CN110514297B (zh) | 一种高空噪声检测仪器 | |
| CN210923415U (zh) | 一种建筑工程质量检测装置 | |
| CN114482149A (zh) | 一种市政建设地基桩基施工方法 | |
| CN218481013U (zh) | 隧道衬砌厚度检测装置 | |
| CN222258040U (zh) | 一种喷射混凝土的厚度检测装置 | |
| CN119407971B (zh) | 一种瓷砖放样切割工具 | |
| CN220623443U (zh) | 一种隧道施工测量装置 | |
| CN223485041U (zh) | 混凝土结构表面裂缝检测装置 | |
| CN208914083U (zh) | 一种滚轮划线装置 |
Legal Events
| Date | Code | Title | Description |
|---|---|---|---|
| PB01 | Publication | ||
| PB01 | Publication | ||
| SE01 | Entry into force of request for substantive examination | ||
| SE01 | Entry into force of request for substantive examination | ||
| WW01 | Invention patent application withdrawn after publication | ||
| WW01 | Invention patent application withdrawn after publication |
Application publication date: 20221101 |