CN115263191A - Drilling, expanding and cleaning integrated reverse circulation rotating extruding and expanding disk pile supporting machine and construction method - Google Patents
Drilling, expanding and cleaning integrated reverse circulation rotating extruding and expanding disk pile supporting machine and construction method Download PDFInfo
- Publication number
- CN115263191A CN115263191A CN202211033051.5A CN202211033051A CN115263191A CN 115263191 A CN115263191 A CN 115263191A CN 202211033051 A CN202211033051 A CN 202211033051A CN 115263191 A CN115263191 A CN 115263191A
- Authority
- CN
- China
- Prior art keywords
- arm
- expanding
- dredging
- drilling
- wall
- Prior art date
- Legal status (The legal status is an assumption and is not a legal conclusion. Google has not performed a legal analysis and makes no representation as to the accuracy of the status listed.)
- Pending
Links
Images
Classifications
-
- E—FIXED CONSTRUCTIONS
- E21—EARTH OR ROCK DRILLING; MINING
- E21B—EARTH OR ROCK DRILLING; OBTAINING OIL, GAS, WATER, SOLUBLE OR MELTABLE MATERIALS OR A SLURRY OF MINERALS FROM WELLS
- E21B7/00—Special methods or apparatus for drilling
- E21B7/28—Enlarging drilled holes, e.g. by counterboring
-
- E—FIXED CONSTRUCTIONS
- E02—HYDRAULIC ENGINEERING; FOUNDATIONS; SOIL SHIFTING
- E02D—FOUNDATIONS; EXCAVATIONS; EMBANKMENTS; UNDERGROUND OR UNDERWATER STRUCTURES
- E02D5/00—Bulkheads, piles, or other structural elements specially adapted to foundation engineering
- E02D5/22—Piles
- E02D5/34—Concrete or concrete-like piles cast in position ; Apparatus for making same
-
- E—FIXED CONSTRUCTIONS
- E02—HYDRAULIC ENGINEERING; FOUNDATIONS; SOIL SHIFTING
- E02D—FOUNDATIONS; EXCAVATIONS; EMBANKMENTS; UNDERGROUND OR UNDERWATER STRUCTURES
- E02D5/00—Bulkheads, piles, or other structural elements specially adapted to foundation engineering
- E02D5/22—Piles
- E02D5/48—Piles varying in construction along their length, i.e. along the body between head and shoe, e.g. made of different materials along their length
-
- E—FIXED CONSTRUCTIONS
- E21—EARTH OR ROCK DRILLING; MINING
- E21B—EARTH OR ROCK DRILLING; OBTAINING OIL, GAS, WATER, SOLUBLE OR MELTABLE MATERIALS OR A SLURRY OF MINERALS FROM WELLS
- E21B21/00—Methods or apparatus for flushing boreholes, e.g. by use of exhaust air from motor
Landscapes
- Engineering & Computer Science (AREA)
- Mining & Mineral Resources (AREA)
- Life Sciences & Earth Sciences (AREA)
- Structural Engineering (AREA)
- Geology (AREA)
- General Life Sciences & Earth Sciences (AREA)
- Fluid Mechanics (AREA)
- Environmental & Geological Engineering (AREA)
- Geochemistry & Mineralogy (AREA)
- Physics & Mathematics (AREA)
- Paleontology (AREA)
- Civil Engineering (AREA)
- General Engineering & Computer Science (AREA)
- Mechanical Engineering (AREA)
- Piles And Underground Anchors (AREA)
Abstract
本申请公开了钻、扩、清一体式反循环旋转挤扩支盘桩机及施工工法,涉及支盘桩机设备技术领域,其包括内管和外管,内管滑动安装于外管内,内管底部安装有钻头,内管顶部安装有泥浆泵,内管上安装有双向液压泵,双向液压泵上铰接有下旋扩臂,下旋扩臂上铰接有上旋扩臂,上旋扩臂铰接于外管,内管内开设有升降孔,升降孔内滑动安装有驱动杆,内管外壁开设有通槽一,内管内壁开设有通槽二,通槽一和通槽二均连通于升降孔,通槽一内安装有连接块,连接块用于连接驱动杆和下活塞杆,通槽二内滑动安装有下疏通臂,下疏通臂一端铰接于驱动杆,另一端铰接有上疏通臂,上疏通臂的一端铰接于内管的内壁。本申请具有便于在桩基孔内对内管进行疏通的效果。
The present application discloses a drilling, expanding and cleaning integrated reverse circulation rotating squeeze-expanding pile pile driver and a construction method, and relates to the technical field of the pile pile driver equipment. It includes an inner pipe and an outer pipe. A drill bit is installed at the bottom of the pipe, a mud pump is installed on the top of the inner pipe, a two-way hydraulic pump is installed on the inner pipe, a lower rotating expanding arm is hinged on the two-way hydraulic pump, an upper rotating expanding arm is hinged on the lower rotating expanding arm, and the upper rotating expanding arm is hinged. Hinged on the outer tube, the inner tube is provided with a lifting hole, a driving rod is slidably installed in the lifting hole, a through slot is opened on the outer wall of the inner tube, and a second through slot is opened on the inner wall of the inner tube. A connecting block is installed in the first through slot, and the connecting block is used to connect the drive rod and the lower piston rod. The second through slot is slidably installed with a lower dredging arm. One end of the lower dredging arm is hinged to the driving rod, and the other end is hinged with an upper dredging arm. , one end of the upper dredging arm is hinged to the inner wall of the inner tube. The present application has the effect of facilitating the dredging of the inner pipe in the pile foundation hole.
Description
技术领域technical field
本申请涉及支盘桩机设备技术领域,尤其是涉及钻、扩、清一体式反循环旋转挤扩支盘桩机及施工工法。The present application relates to the technical field of support disc pile machine equipment, in particular to a drilling, expanding and clearing integrated reverse circulation rotary extruding and expanding support disc pile machine and its construction method.
背景技术Background technique
钻、扩、清一体旋转挤扩支盘桩机,是集钻孔、旋扩承力盘、清理盘腔以及孔底沉渣功能于一身的支盘灌注桩专用施工机械,主要有由移动(步履或车载)机构、钻杆、钻扩体升降机构、钻头正向钻孔机构、旋扩臂旋扩机构等组成。Drilling, expanding and clearing integrated rotary extruding and expanding support plate pile machine is a special construction machine for support plate cast-in-place piles which integrates the functions of drilling, rotating and expanding the bearing plate, cleaning the plate cavity and the bottom of the hole. or vehicle-mounted) mechanism, drill rod, drill expansion body lifting mechanism, drill bit forward drilling mechanism, rotary expansion arm rotary expansion mechanism, etc.
钻、扩、清一体旋转挤扩支盘桩机,通常包括外管和中空的内管,内管位于外管内,钻头安装于内管的底部,内管顶部安装有泥浆泵,泥浆泵通过内管将桩基底部的泥浆抽排至桩基孔外部的泥浆池内。Drilling, expansion and clearing integrated rotary extruded and expanded branch pile machine usually includes an outer pipe and a hollow inner pipe. The pipe pumps the mud at the bottom of the pile foundation to the mud pool outside the pile foundation hole.
内管不仅是钻头和泥浆泵的载体,更是泥浆泵抽排泥浆的通道,在泥浆通过内管向上移动的过程中,存在泥浆堵塞于内管内部的可能性,此时需要操作人员将内管提升至桩基孔外部进行疏通,降低了桩基钻孔的施工效率,增加了施工成本。The inner pipe is not only the carrier of the drill bit and the mud pump, but also the channel for the mud pump to pump and discharge the mud. When the mud moves upward through the inner pipe, there is a possibility that the mud will be blocked inside the inner pipe. At this time, the operator needs to remove the inner pipe. The pipe is lifted to the outside of the pile foundation hole for dredging, which reduces the construction efficiency of the pile foundation drilling and increases the construction cost.
发明内容Contents of the invention
为了便于在桩基孔内对内管内堵塞的泥浆进行疏通,一方面,本申请提供钻、扩、清一体式反循环旋转挤扩支盘桩机,采用如下的技术方案:。In order to facilitate the dredging of the mud blocked in the inner pipe in the pile foundation hole, on the one hand, the application provides a drilling, expanding and clearing integrated reverse circulation rotary extrusion and expansion branch pile machine, adopting the following technical solutions:
钻、扩、清一体式反循环旋转挤扩支盘桩机,包括中空的内管和外管,所述内管滑动安装于所述外管内,所述内管的底部安装有钻头,所述内管的顶部安装有泥浆泵,所述内管上安装有双向液压泵,所述双向液压泵上铰接有下旋扩臂,所述下旋扩臂远离所述双向液压泵的一端铰接有上旋扩臂,所述上旋扩臂铰接于所述外管,所述双向液压泵的上活塞杆通过推动外管使得所述上旋扩臂和所述下旋扩臂撑开,所述内管内沿竖向开设有升降孔,所述升降孔内沿竖向滑动安装有驱动杆,所述内管的外壁开设有通槽一,所述内管的内壁开设有通槽二,所述通槽一和所述通槽二均连通于所述升降孔,所述通槽一内安装有连接块,所述连接块用于连接所述驱动杆和所述双向液压泵的下活塞杆,所述通槽二内滑动安装有下疏通臂,所述下疏通臂的一端铰接于所述驱动杆,所述下疏通臂的另一端铰接有上疏通臂,所述上疏通臂远离所述下疏通臂的一端铰接于所述内管的内壁。Drilling, expanding and clearing integrated reverse circulation rotary extruded and expanded branch pile machine, including hollow inner tube and outer tube, the inner tube is slidably installed in the outer tube, the bottom of the inner tube is equipped with a drill bit, the A mud pump is installed on the top of the inner pipe, and a two-way hydraulic pump is installed on the inner pipe. A lower rotary expansion arm is hinged on the two-way hydraulic pump. Rotary expansion arm, the upper rotary expansion arm is hinged to the outer tube, the upper piston rod of the two-way hydraulic pump pushes the outer tube to make the upper rotary expansion arm and the lower rotary expansion arm spread apart, and the inner A lifting hole is vertically opened inside the tube, and a driving rod is slid vertically inside the lifting hole, a through slot 1 is opened on the outer wall of the inner tube, and a
通过上述技术方案,当操作人员需要在桩基孔内的当前深度进行扩径时,通过启动双向液压泵的上活塞杆,使得上活塞杆向下移动,外管在重力作用下向下移动,此时上旋扩臂和下旋扩臂撑开,此时再转动外管和内管,即可通过上旋扩臂和下旋扩臂对桩基孔的内壁进行切削,从而达到扩径的目的。Through the above technical solution, when the operator needs to expand the diameter at the current depth in the pile foundation hole, by starting the upper piston rod of the two-way hydraulic pump, the upper piston rod moves downward, and the outer pipe moves downward under the action of gravity. At this time, the up-rotating expansion arm and the down-rotating expansion arm are stretched, and the outer tube and the inner tube are rotated at this time, and the inner wall of the pile foundation hole can be cut through the up-rotating expanding arm and the down-rotating expanding arm, so as to achieve the diameter expansion. Purpose.
当内管内的泥浆发生堵塞时,通过启动下活塞杆,下活塞杆通过连接块带动驱动杆向上移动,上疏通臂和下疏通臂逐渐撑开,一方面,带动堵塞的泥浆向上移动,另一方面,能够降低堵塞的泥浆在内管内壁上的附着力,从而便于泥浆泵将内管内的泥浆向上抽排。以此重复下活塞杆的往复运动,能够达到更好的疏通效果。由于本设备在桩基孔内即可对内管进行疏通,因此提升了桩基钻孔的施工效率。When the mud in the inner pipe is blocked, by starting the lower piston rod, the lower piston rod drives the drive rod to move upward through the connecting block, and the upper dredging arm and the lower dredging arm are gradually opened. On the one hand, the blocked mud is driven to move upward. On the one hand, it can reduce the adhesion of the clogged mud on the inner wall of the inner pipe, so that the mud pump can pump up the mud in the inner pipe. By repeating the reciprocating motion of the lower piston rod, a better dredging effect can be achieved. Since the device can dredge the inner pipe in the pile foundation hole, the construction efficiency of the pile foundation drilling is improved.
本申请在一较佳示例中可以进一步配置为:所述上疏通臂和所述下疏通臂底部均呈尖状,所述上疏通臂和所述下疏通臂顶部均呈平面状。In a preferred example of the present application, it can be further configured as follows: the bottoms of the upper dredging arm and the lower dredging arm are pointed, and the tops of the upper dredging arm and the lower dredged arm are planar.
通过上述技术方案,由于上疏通臂和下疏通臂的顶部呈平面状,在上疏通臂和下疏通臂撑开的过程中,上疏通臂和下疏通臂平面状的顶部,能够推动堵塞的泥浆向上移动,便于泥浆泵将内管内的泥浆向上抽排。Through the above technical scheme, since the tops of the upper dredging arm and the lower dredging arm are planar, the planar tops of the upper dredging arm and the lower dredging arm can push the blocked mud when the upper dredging arm and the lower dredging arm are stretched Moving upwards is convenient for the mud pump to pump up the mud in the inner pipe.
此外,由于上疏通臂和下疏通臂底部均呈尖状,在上疏通臂和下疏通臂收起的过程中,上疏通臂和下疏通臂呈尖状的底部,不仅便于上疏通臂和下疏通臂向下移动,还能够对内管内堵塞的泥浆进行切削,从而进一步便于泥浆泵抽排内管内的泥浆。In addition, since the bottom of the upper dredge arm and the lower dredge arm are pointed, when the upper dredge arm and the lower dredge arm are retracted, the bottom of the upper dredge arm and the lower dredge arm are pointed, which not only facilitates the movement of the upper dredge arm and the lower dredge arm. When the dredging arm moves downward, the mud blocked in the inner pipe can also be cut, thereby further facilitating the mud pump to pump out the mud in the inner pipe.
本申请在一较佳示例中可以进一步配置为:所述内管的内壁开设有转动槽,所述转动槽内转动安装有助推块,所述助推块远离内管内壁的一侧设置为圆弧状,所述助推块和所述转动槽相互匹配。In a preferred example, the present application can be further configured as follows: the inner wall of the inner tube is provided with a rotating groove, and a booster block is rotatably installed in the rotating groove, and the side of the booster block away from the inner wall of the inner tube is set as Arc-shaped, the booster block and the rotating groove match each other.
通过上述技术方案,当内管内的泥浆发生堵塞时,操作人员能够通过转动助推块,使得助推块的下半部分向内管中心处转动,这样能够使得助推块的下半部分推动内管内的泥浆向上移动,从而进一步便于泥浆泵抽排内管内的泥浆。Through the above technical solution, when the mud in the inner pipe is blocked, the operator can turn the lower half of the booster block to the center of the inner pipe by rotating the booster block, so that the lower half of the booster block can push the inner The mud in the pipe moves upwards, thereby further facilitating the mud pump to pump out the mud in the inner pipe.
本申请在一较佳示例中可以进一步配置为:所述上疏通臂和所述下疏通臂撑开之后,所述上疏通臂和所述下疏通臂在水平方向的投影长度均大于所述内管的内径,所述上疏通臂和所述下疏通臂的铰接点的运动轨迹,能够穿过所述转动槽的上半部分。In a preferred example, the present application can be further configured as: after the upper dredge arm and the lower dredge arm are stretched, the projected lengths of the upper dredge arm and the lower dredge arm in the horizontal direction are larger than the inner The inner diameter of the pipe and the movement track of the hinge point of the upper dredging arm and the lower dredging arm can pass through the upper half of the rotating slot.
通过上述技术方案,在上疏通臂和下疏通臂撑开的过程中,二者铰接的端部能够逐渐向着转动槽移动,铰接的端部接触助推块的上半部分之后,能够使得助推块的下半部分向内管中心处转动,从而能够发挥助推块的推动泥浆的效果。Through the above technical scheme, when the upper dredging arm and the lower dredging arm are stretched, the hinged ends of the two can gradually move towards the rotation groove, and after the hinged end contacts the upper half of the booster block, the booster The lower half of the block rotates towards the center of the inner tube, so that the mud pushing effect of the booster block can be exerted.
本申请在一较佳示例中可以进一步配置为:所述助推块的圆弧状侧壁上安装有限位块,所述转动槽的内壁开设有限位槽,所述限位块滑动设置于所述限位槽内。In a preferred example, the present application can be further configured as follows: a limiting block is installed on the arc-shaped side wall of the booster block, a limiting slot is opened on the inner wall of the rotating groove, and the limiting block is slidably arranged on the inside the limit slot.
通过上述技术方案,助推块在限位块的限位作用下,降低了助推块过度翻转的可能性。Through the above technical solution, the booster block reduces the possibility of overturning of the booster block under the limiting action of the limiter block.
本申请在一较佳示例中可以进一步配置为:所述限位块的侧壁和所述限位槽的内壁之间安装有弹簧,所述弹簧的一端固定连接于所述限位块,所述弹簧的另一端固定连接于所述限位槽的内壁。In a preferred example, the present application can be further configured as follows: a spring is installed between the side wall of the limiting block and the inner wall of the limiting groove, and one end of the spring is fixedly connected to the limiting block, so The other end of the spring is fixedly connected to the inner wall of the limiting groove.
通过上述技术方案,在下活塞杆带动上疏通臂和下疏通臂撑起的过程中,上疏通臂和下疏通臂铰接的端部推动助推块翻转,使得弹簧处于被拉伸状态;在下活塞杆带动上疏通臂和下疏通臂收起的过程中,当上疏通臂和下疏通臂铰接的端部离开助推块之后,助推块在弹簧的弹力作用下,能够使得助推块重新转动至转动槽内。Through the above technical scheme, when the lower piston rod drives the upper dredging arm and the lower dredging arm to prop up, the hinged ends of the upper dredging arm and the lower dredging arm push the booster block to turn over, so that the spring is in a stretched state; In the process of driving the upper dredging arm and the lower dredging arm to be retracted, after the hinged ends of the upper dredging arm and the lower dredged arm leave the booster block, the booster block can be rotated again to in the rotating tank.
本申请在一较佳示例中可以进一步配置为:所述限位槽的内壁开设有导向孔,所述导向孔内滑动安装有导向杆,所述导向杆的一端固定连接于所述限位块,所述弹簧套设于所述导向杆上。In a preferred example, the present application can be further configured as follows: a guide hole is opened on the inner wall of the limiting groove, a guide rod is slidably installed in the guide hole, and one end of the guide rod is fixedly connected to the limit block , the spring is sheathed on the guide rod.
通过上述技术方案,在弹簧拉伸和恢复原长的过程中,由于弹簧套设于导向杆上,降低了弹簧发生弯折的可能性,从而能够延长弹簧的使用寿命。Through the above technical solution, in the process of stretching and returning to the original length of the spring, since the spring is sleeved on the guide rod, the possibility of bending of the spring is reduced, thereby prolonging the service life of the spring.
本申请在一较佳示例中可以进一步配置为:所述助推块的靠近内管内壁的侧壁开设有加强槽,所述加强槽内安装有加强板。In a preferred example, the present application may be further configured as follows: a reinforcing groove is opened on the side wall of the booster block close to the inner wall of the inner tube, and a reinforcing plate is installed in the reinforcing groove.
通过上述技术方案,加强槽内的加强板,可采用硬度较高的合金材质制成,上疏通臂和下疏通臂铰接的端部,与加强板接触,以此避免压力直接作用于助推块,从而能够降低助推块受压变形的可能性。Through the above technical scheme, the reinforcing plate in the reinforcing groove can be made of alloy material with high hardness, and the hinged ends of the upper dredging arm and the lower dredging arm are in contact with the reinforcing plate, so as to avoid the pressure directly acting on the booster block , thereby reducing the possibility of the booster block being deformed under pressure.
另一方面,本申请提供钻、扩、清一体式反循环旋转挤扩支盘桩机施工工法,采用如下的技术方案。On the other hand, the present application provides a construction method of drilling, expanding, and clearing integrated reverse circulation rotary extruded and expanded branch pile machine, and adopts the following technical scheme.
钻、扩、清一体式反循环旋转挤扩支盘桩机施工工法,当内管内发生泥浆堵塞时,需要对内管进行疏通,包括以下步骤:Drilling, expansion and clearing integrated reverse circulation rotary extrusion and expansion branch pile machine construction method, when the inner pipe is blocked by mud, it is necessary to dredge the inner pipe, including the following steps:
S1、停止所述钻头转动,以停止孔底沉渣的产出;S1. Stop the rotation of the drill bit to stop the output of bottom sediment;
S2、启动所述双向液压泵,使得所述下活塞杆向上移动,所述下活塞杆带动所述驱动杆向上移动,使得所述上疏通臂和所述下疏通臂在内管内展开,对所述内管内堵塞的泥浆进行疏通;S2. Start the two-way hydraulic pump, so that the lower piston rod moves upward, and the lower piston rod drives the driving rod to move upward, so that the upper dredging arm and the lower dredging arm are deployed in the inner tube, and the Dredge the mud blocked in the inner pipe;
S3、启动所述双向液压泵的同时,启动泥浆泵,抽取内管内的泥浆;S3, while starting the bidirectional hydraulic pump, start the mud pump to extract the mud in the inner pipe;
S4、完成所述内管疏通之后,控制所述双向液压泵的下活塞杆向下移动,所述下活塞杆带动驱动杆向下移动,收起所述上疏通臂和所述下疏通臂,降低所述上疏通臂和所述下疏通臂对泥浆泵运行的干扰;S4. After the dredging of the inner tube is completed, the lower piston rod of the two-way hydraulic pump is controlled to move downward, and the lower piston rod drives the driving rod to move downward, and the upper dredging arm and the lower dredging arm are put away, Reduce the interference of the upper dredging arm and the lower dredging arm to the operation of the mud pump;
S4、恢复所述钻头转动,恢复桩基钻孔作业。S4. Recover the rotation of the drill bit, and resume the pile foundation drilling operation.
通过上述技术方案,当内管内的泥浆发生堵塞时,下活塞杆通过连接块带动驱动杆向上移动,上疏通臂和下疏通臂逐渐撑开,不仅能够带动堵塞的泥浆向上移动,还能够降低堵塞的泥浆在内管内壁上的附着力,从而便于泥浆泵将内管内的泥浆向上抽排。Through the above technical scheme, when the mud in the inner pipe is blocked, the lower piston rod drives the drive rod to move upward through the connecting block, and the upper dredging arm and the lower dredging arm are gradually opened, which can not only drive the blocked mud to move upward, but also reduce the blockage The adhesion of the mud on the inner wall of the inner pipe makes it easier for the mud pump to pump the mud in the inner pipe upwards.
综上所述,本申请包括以下有益技术效果:In summary, the application includes the following beneficial technical effects:
1、当内管内的泥浆发生堵塞时,操作人员通过控制上疏通臂和下疏通臂逐渐撑开,不仅能够带动堵塞的泥浆向上移动,还能够降低堵塞的泥浆在内管内壁上的附着力,从而便于泥浆泵将内管内的泥浆向上抽排;1. When the mud in the inner pipe is blocked, the operator can control the upper dredging arm and the lower dredging arm to gradually open, which can not only drive the blocked mud to move upward, but also reduce the adhesion of the blocked mud to the inner wall of the inner pipe. This makes it easier for the mud pump to pump up the mud in the inner pipe;
2、由于上疏通臂和下疏通臂底部均呈尖状,在上疏通臂和下疏通臂收起的过程中,疏通臂和下疏通臂能够对内管内堵塞的泥浆进行切削,从而进一步便于泥浆泵抽排内管内的泥浆;2. Since the bottom of the upper dredge arm and the lower dredge arm are pointed, when the upper dredge arm and the lower dredge arm are retracted, the dredge arm and the lower dredge arm can cut the mud blocked in the inner pipe, thereby further facilitating the mud The pump pumps out the mud in the inner pipe;
3、在上疏通臂和下疏通臂撑开的过程中,二者铰接的端部能够推动助推块转动,使得助推块的下半部分向内管中心处转动,从而能够发挥助推块的推动泥浆的效果。3. When the upper dredging arm and the lower dredging arm are stretched, the hinged ends of the two can push the booster block to rotate, so that the lower half of the booster block rotates toward the center of the inner tube, so that the booster block can be played The effect of pushing mud.
附图说明Description of drawings
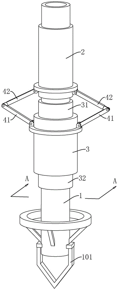
图1是本申请实施例的整体结构示意图,主要示意外管、内管、双向液压泵、上旋扩臂以及下旋扩臂的构造。Fig. 1 is a schematic diagram of the overall structure of the embodiment of the present application, mainly showing the structure of the outer tube, the inner tube, the bidirectional hydraulic pump, the upper rotary expansion arm and the lower rotary expansion arm.
图2是图1中沿A-A方向的剖面示意图,主要示意升降孔和驱动杆的构造。Fig. 2 is a schematic cross-sectional view along the A-A direction in Fig. 1, mainly illustrating the structure of the lifting hole and the driving rod.
图3是图2中B部分的放大示意图,主要示意连接块、通槽一以及通槽二的构造。FIG. 3 is an enlarged schematic view of part B in FIG. 2 , mainly illustrating the structures of the connection block, the first slot and the second slot.
图4是本申请实施例的局部结构示意图,主要示意上疏通臂和下疏通臂的构造。Fig. 4 is a partial structural schematic diagram of the embodiment of the present application, mainly illustrating the structure of the upper dredging arm and the lower dredging arm.
图5是图4另一视角的结构示意图,主要示意上、下疏通臂的顶部和底部的构造。Fig. 5 is a structural schematic view from another perspective of Fig. 4, mainly illustrating the top and bottom structures of the upper and lower dredging arms.
图6是图2中C部分的放大示意图,主要示意助推块、限位块、弹簧以及加强板的构造。FIG. 6 is an enlarged schematic view of part C in FIG. 2 , mainly illustrating the structures of the booster block, the limit block, the spring and the reinforcement plate.
附图标记说明:Explanation of reference signs:
1、内管;101、钻头;11、升降孔;111、驱动杆;12、通槽一;121、连接块;13、通槽二;14、转动槽;15、限位槽;16、导向孔;2、外管;3、双向液压泵;31、上活塞杆;32、下活塞杆;41、下旋扩臂;42、上旋扩臂;51、下疏通臂;52、上疏通臂;6、助推块;61、限位块;62、弹簧;63、导向杆;64、加强槽;65、加强板;66、螺栓。1, inner tube; 101, drill bit; 11, lifting hole; 111, driving rod; 12, through slot one; 121, connection block; 13, through slot two; 14, rotation slot; 15, limit slot; 16, guide Hole; 2, outer tube; 3, two-way hydraulic pump; 31, upper piston rod; 32, lower piston rod; 41, lower rotary expansion arm; 42, upper rotary expansion arm; 51, lower dredging arm; 52, upper dredging arm ; 6, booster block; 61, limit block; 62, spring; 63, guide rod; 64, reinforcement groove; 65, reinforcement plate; 66, bolt.
具体实施方式Detailed ways
以下结合附图1-附图6对本申请作进一步详细说明。The present application will be described in further detail below in conjunction with accompanying drawings 1-6.
本申请实施例中公开钻、扩、清一体式反循环旋转挤扩支盘桩机。参照图1所示,钻、扩、清一体式反循环旋转挤扩支盘桩机,包括中空的内管1和外管2,内管1沿竖向滑动安装于外管2内,内管1的外壁和外管2的内壁相互贴合,内管1的顶部安装有泥浆泵(附图中未展示),内管1的底部安装有钻头101,钻头101和内管1底部之间存在间隙,便于泥浆泵抽排泥浆。The embodiment of the present application discloses a drilling, expanding and clearing integrated reverse circulation rotating extruded and expanded branch pile machine. Referring to Fig. 1, the drilling, expanding and clearing integrated reverse circulation rotary extruded and expanded branch pile machine includes a hollow inner tube 1 and an
参照图1所示,内管1上安装有双向液压泵3,双向液压泵3位于外管2的正下方,双向液压泵3上铰接有两个下旋扩臂41,两个下旋扩臂41相互对称,每个下旋扩臂41远离双向液压泵3的一端均铰接有上旋扩臂42,每个上旋扩臂42远离下旋扩臂41的一端均铰接于外管2,双向液压泵3的上活塞杆31通过推动外管2使得上旋扩臂42和下旋扩臂41撑开,旋转的上旋扩臂42和下旋扩臂41能够对桩基内壁进行切削,以此扩大孔径。Referring to Fig. 1, a two-way
参照图2和图3所示,内管1内沿竖向开设有升降孔11,升降孔11内沿竖向滑动安装有驱动杆111,内管1的外壁开设有通槽一12,内管1的内壁开设有通槽二13,通槽一12和通槽二13均连通于升降孔11,通槽一12内沿竖向滑动安装有连接块121,连接块121用于连接驱动杆111和双向液压泵3的下活塞杆32,通槽二13内滑动安装有下疏通臂51,下疏通臂51的一端铰接于驱动杆111,下疏通臂51的另一端铰接有上疏通臂52,上疏通臂52远离下疏通臂51的一端铰接于内管1的内壁。上疏通臂52和下疏通臂51为一组疏通臂,内管1内共设置有若干组疏通臂,若干组疏通臂沿竖向均匀设置于内管1内部。Referring to Figures 2 and 3, the inner tube 1 is vertically provided with a lifting
当内管1内的泥浆发生堵塞时,操作人员通过启动双向液压泵3,使得下活塞杆32通过连接块121带动驱动杆111向上移动,上疏通臂52和下疏通臂51逐渐撑开,不仅能够带动堵塞的泥浆向上移动,还能够降低堵塞的泥浆在内管1内壁上的附着力,从而便于泥浆泵将内管1内的泥浆向上抽排。由于本设备在桩基孔内即可对内管进行疏通,因此提升了桩基钻孔的施工效率When the mud in the inner pipe 1 is blocked, the operator starts the two-way
参照图2、图4和图5所示,上疏通臂52和下疏通臂51底部均呈尖状,在上疏通臂52和下疏通臂51收起的过程中,上疏通臂52和下疏通臂51呈尖状的底部,不仅便于上疏通臂52和下疏通臂51向下移动,还能够对内管1内堵塞的泥浆进行切削,便于泥浆泵抽排内管1内的泥浆。With reference to Fig. 2, Fig. 4 and shown in Fig. 5,
上疏通臂52和下疏通臂51顶部均呈平面状,在上疏通臂52和下疏通臂51撑开的过程中,上疏通臂52和下疏通臂51平面状的顶部,能够推动堵塞的泥浆向上移动,从而进一步便于泥浆泵将内管1内的泥浆向上抽排。The tops of the
参照图2和图6所示,内管1的内壁开设有两个圆弧状的转动槽14,两个转动槽14和两组疏通臂一一对应设置,由于两个转动槽14的结构一致,并且两个转动槽14内的结构也一致,以下仅对其中一个转动槽14和转动槽14内的结构进行展开描述。Referring to Fig. 2 and Fig. 6, the inner wall of the inner tube 1 is provided with two arc-shaped
转动槽14内转动安装有助推块6,助推块6沿竖向的截面呈半圆状,助推块6远离内管1内壁的一侧设置为圆弧状,助推块6和转动槽14相互匹配。上疏通臂52和下疏通臂51撑开之后,上疏通臂52和下疏通臂51在水平方向的投影长度均大于内管1的内径,上疏通臂52和下疏通臂51的铰接点的运动轨迹,能够穿过转动槽14的上半部分,并且,上疏通臂52和下疏通臂51铰接点运动轨迹的最高点低于转动槽14的最高点。In the
在上疏通臂52和下疏通臂51撑开的过程中,二者铰接的端部能够逐渐向着转动槽14移动,铰接的端部接触助推块6的上半部分之后,助推块6的下半部分向内管1中心处转动,这样能够使得助推块6的下半部分推动内管1内的泥浆向上移动,从而进一步便于泥浆泵抽排内管1内的泥浆。In the process that the
参照图2和图6所示,助推块6的圆弧状侧壁上安装有限位块61,转动槽14的内壁开设有限位槽15,限位块61和限位槽15沿竖向的截面均呈扇形,限位块61滑动安装于限位槽15内,助推块6在限位块61的限位作用下,降低了助推块6过度翻转的可能性。With reference to Fig. 2 and shown in Fig. 6, limit
参照图2和图6所示,限位块61的侧壁和限位槽15的内壁之间安装有圆弧状的弹簧62,弹簧62的一端固定连接于限位块61,弹簧62的另一端固定连接于限位槽15的内壁。限位槽15的内壁开设有圆弧状的导向孔16,导向孔16内滑动安装有圆弧状的导向杆63,导向杆63的一端固定连接于限位块61,弹簧62套设于导向杆63上,导向杆63、导向孔16、弹簧62的曲率均相等。2 and 6, an arc-shaped
在下活塞杆32带动上疏通臂52和下疏通臂51撑起的过程中,上疏通臂52和下疏通臂51铰接的端部推动助推块6翻转,使得弹簧62处于被拉伸状态;在下活塞杆32带动上疏通臂52和下疏通臂51收起的过程中,当上疏通臂52和下疏通臂51铰接的端部离开助推块6之后,助推块6在弹簧62的弹力作用下,能够使得助推块6重新转动至转动槽14内。此外,由于弹簧62套设于导向杆63上,降低了弹簧62发生弯折的可能性,从而能够延长弹簧62的使用寿命。In the process that the
参照图2和图6所示,助推块6的靠近内管1内壁的侧壁开设有加强槽64,加强槽64内通过螺栓66可拆卸安装有加强板65,加强板65采用硬度较高的合金材质制成,上疏通臂52和下疏通臂51铰接的端部,与加强板65接触,以此避免压力直接作用于助推块6,从而能够降低助推块6受压变形的可能性。2 and 6, the side wall of the booster block 6 close to the inner wall of the inner tube 1 is provided with a reinforcement groove 64, and a
本申请实施例公开了钻、扩、清一体式反循环旋转挤扩支盘桩机施工工法,当内管1内发生泥浆堵塞时,需要对内管1进行疏通,包括以下步骤:The embodiment of the present application discloses the construction method of drilling, expanding and clearing integrated reverse circulation rotary extruding and expanding support disc pile machine. When the inner pipe 1 is blocked by mud, it is necessary to dredge the inner pipe 1, which includes the following steps:
S1、停止钻头101转动,以停止孔底沉渣的产出;S1. Stop the rotation of the
S2、启动双向液压泵3,使得下活塞杆32向上移动,下活塞杆32带动驱动杆111向上移动,使得上疏通臂52和下疏通臂51在内管1内展开,对内管1内堵塞的泥浆进行疏通;S2. Start the two-way
S3、启动双向液压泵3的同时,启动泥浆泵,抽取内管1内的泥浆;S3, while starting the two-way
S4、完成内管1疏通之后,控制双向液压泵3的下活塞杆32向下移动,下活塞杆32带动驱动杆111向下移动,收起上疏通臂52和下疏通臂51,降低上疏通臂52和下疏通臂51对泥浆泵运行的干扰;S4. After the dredging of the inner pipe 1 is completed, the
S4、恢复钻头101转动,恢复桩基钻孔作业。S4, resume the rotation of the
本具体实施方式的实施例均为本申请的较佳实施例,并非依次限制本申请的保护范围,故:凡依本申请的结构、形状、原理所做的等效变化,均应涵盖于本申请的保护范围之内。The embodiments of this specific implementation mode are all preferred embodiments of the present application, and do not limit the protection scope of the present application in turn, so: all equivalent changes made according to the structure, shape and principle of the present application should be covered by this application. within the scope of the application.
Claims (9)
Priority Applications (1)
| Application Number | Priority Date | Filing Date | Title |
|---|---|---|---|
| CN202211033051.5A CN115263191A (en) | 2022-08-26 | 2022-08-26 | Drilling, expanding and cleaning integrated reverse circulation rotating extruding and expanding disk pile supporting machine and construction method |
Applications Claiming Priority (1)
| Application Number | Priority Date | Filing Date | Title |
|---|---|---|---|
| CN202211033051.5A CN115263191A (en) | 2022-08-26 | 2022-08-26 | Drilling, expanding and cleaning integrated reverse circulation rotating extruding and expanding disk pile supporting machine and construction method |
Publications (1)
| Publication Number | Publication Date |
|---|---|
| CN115263191A true CN115263191A (en) | 2022-11-01 |
Family
ID=83755084
Family Applications (1)
| Application Number | Title | Priority Date | Filing Date |
|---|---|---|---|
| CN202211033051.5A Pending CN115263191A (en) | 2022-08-26 | 2022-08-26 | Drilling, expanding and cleaning integrated reverse circulation rotating extruding and expanding disk pile supporting machine and construction method |
Country Status (1)
| Country | Link |
|---|---|
| CN (1) | CN115263191A (en) |
Citations (7)
| Publication number | Priority date | Publication date | Assignee | Title |
|---|---|---|---|---|
| CN1469964A (en) * | 2000-10-12 | 2004-01-21 | �����ĵ� | Drilling tool for use in horizontal drilling |
| US20080128175A1 (en) * | 2006-12-04 | 2008-06-05 | Radford Steven R | Expandable reamers for earth boring applications |
| CN201172817Y (en) * | 2008-04-03 | 2008-12-31 | 祁春伟 | Construction equipment of screw-enlarging support disk filling pile |
| CN102650132A (en) * | 2012-05-15 | 2012-08-29 | 中国京冶工程技术有限公司 | Embedded recoverable expansion anchor cable and construction method thereof |
| CN104763338A (en) * | 2015-03-05 | 2015-07-08 | 成都理工大学 | Hole expanding device, pull-back hole expanding assembly and hole expanding drilling method thereof |
| CN211677162U (en) * | 2019-12-28 | 2020-10-16 | 吴江市森泰机械制造有限公司 | Desulfurization tower add pump income pipeline of limestone slurry and prevent stifled structure |
| CN113202100A (en) * | 2021-05-11 | 2021-08-03 | 汪德旺 | Pile expanding equipment for road and bridge engineering |
-
2022
- 2022-08-26 CN CN202211033051.5A patent/CN115263191A/en active Pending
Patent Citations (7)
| Publication number | Priority date | Publication date | Assignee | Title |
|---|---|---|---|---|
| CN1469964A (en) * | 2000-10-12 | 2004-01-21 | �����ĵ� | Drilling tool for use in horizontal drilling |
| US20080128175A1 (en) * | 2006-12-04 | 2008-06-05 | Radford Steven R | Expandable reamers for earth boring applications |
| CN201172817Y (en) * | 2008-04-03 | 2008-12-31 | 祁春伟 | Construction equipment of screw-enlarging support disk filling pile |
| CN102650132A (en) * | 2012-05-15 | 2012-08-29 | 中国京冶工程技术有限公司 | Embedded recoverable expansion anchor cable and construction method thereof |
| CN104763338A (en) * | 2015-03-05 | 2015-07-08 | 成都理工大学 | Hole expanding device, pull-back hole expanding assembly and hole expanding drilling method thereof |
| CN211677162U (en) * | 2019-12-28 | 2020-10-16 | 吴江市森泰机械制造有限公司 | Desulfurization tower add pump income pipeline of limestone slurry and prevent stifled structure |
| CN113202100A (en) * | 2021-05-11 | 2021-08-03 | 汪德旺 | Pile expanding equipment for road and bridge engineering |
Similar Documents
| Publication | Publication Date | Title |
|---|---|---|
| CN111139921B (en) | Pipeline composite dredging and dust removing device and dredging and dust removing method thereof | |
| CN108360988B (en) | Petroleum well wall exploitation impurity cleaning system | |
| CN113289990A (en) | Dredging equipment for small-diameter drainage blind pipe of tunnel and working method of dredging equipment | |
| CN115263191A (en) | Drilling, expanding and cleaning integrated reverse circulation rotating extruding and expanding disk pile supporting machine and construction method | |
| CN113882413A (en) | A high-efficiency discharge device for precipitation in building foundation pits | |
| CN116733373B (en) | Building anchor rod construction device | |
| CN222314105U (en) | Cable trench excavating device | |
| CN114033337A (en) | Formation water discharge equipment for oil exploitation | |
| CN218747712U (en) | Manipulator for intelligent mine mining equipment | |
| CN109944234B (en) | Guide structure for slurry flow at end part of pile driver and using method thereof | |
| CN117868188A (en) | Miniature pumping and draining device for underground water of narrow foundation pit and application method of miniature pumping and draining device | |
| CN118166815A (en) | Anti-seepage plugging structure of foundation pit dewatering well and plugging method of foundation pit dewatering well | |
| CN112619215B (en) | Intelligent sedimentation tank desilting robot | |
| CN212106276U (en) | Slush pump with fixed knot constructs | |
| CN114439364A (en) | Construction method of pipe pile guide hole under the geological conditions of Bushi group | |
| CN223329918U (en) | Hydraulic engineering dredging device | |
| JPH102177A (en) | Drilling equipment and method for drilling bottom hole | |
| CN117758712A (en) | Soft soil stratum bored concrete pile construction equipment | |
| CN118241976B (en) | Rotary drilling rig and reinforcement cage distribution integrated equipment and foundation construction method | |
| CN120231360B (en) | Manipulator for maintenance operation of urban municipal sidewalk ditch | |
| CN113622504B (en) | Pipeline dredging device capable of adapting to various pipe diameters | |
| CN222575531U (en) | Anti-blocking foundation pit pumping device | |
| CN118958876B (en) | Rotary excavating device for complex geology and application method thereof | |
| CN211849674U (en) | A mechanical canal digging device for water conservancy engineering | |
| CN218439223U (en) | Bored concrete pile pore-forming device |
Legal Events
| Date | Code | Title | Description |
|---|---|---|---|
| PB01 | Publication | ||
| PB01 | Publication | ||
| SE01 | Entry into force of request for substantive examination | ||
| SE01 | Entry into force of request for substantive examination |
