CN115258837A - Loom capable of automatically rolling textile yarns - Google Patents
Loom capable of automatically rolling textile yarns Download PDFInfo
- Publication number
- CN115258837A CN115258837A CN202211194986.1A CN202211194986A CN115258837A CN 115258837 A CN115258837 A CN 115258837A CN 202211194986 A CN202211194986 A CN 202211194986A CN 115258837 A CN115258837 A CN 115258837A
- Authority
- CN
- China
- Prior art keywords
- loom
- rotating shaft
- shaft
- movable
- fixed mounting
- Prior art date
- Legal status (The legal status is an assumption and is not a legal conclusion. Google has not performed a legal analysis and makes no representation as to the accuracy of the status listed.)
- Granted
Links
- 239000004753 textile Substances 0.000 title claims abstract description 31
- 238000005096 rolling process Methods 0.000 title claims 2
- 239000004744 fabric Substances 0.000 claims abstract description 47
- 238000004804 winding Methods 0.000 claims abstract description 33
- 230000007246 mechanism Effects 0.000 claims abstract description 19
- 230000000694 effects Effects 0.000 claims abstract description 3
- 230000000149 penetrating effect Effects 0.000 claims 3
- 239000007787 solid Substances 0.000 claims 3
- 230000013011 mating Effects 0.000 claims 2
- 238000009941 weaving Methods 0.000 abstract description 4
- 238000004519 manufacturing process Methods 0.000 abstract description 3
- 238000003825 pressing Methods 0.000 abstract description 3
- 230000009286 beneficial effect Effects 0.000 abstract description 2
- 238000010586 diagram Methods 0.000 description 9
- XEEYBQQBJWHFJM-UHFFFAOYSA-N Iron Chemical compound [Fe] XEEYBQQBJWHFJM-UHFFFAOYSA-N 0.000 description 6
- 238000000034 method Methods 0.000 description 6
- 238000009987 spinning Methods 0.000 description 4
- 229910052742 iron Inorganic materials 0.000 description 3
- 238000006073 displacement reaction Methods 0.000 description 2
- 238000001125 extrusion Methods 0.000 description 2
- 238000003860 storage Methods 0.000 description 2
- 229920000742 Cotton Polymers 0.000 description 1
- 230000001174 ascending effect Effects 0.000 description 1
- 238000005516 engineering process Methods 0.000 description 1
- 230000005484 gravity Effects 0.000 description 1
- 238000009434 installation Methods 0.000 description 1
- 238000003475 lamination Methods 0.000 description 1
- 230000037303 wrinkles Effects 0.000 description 1
Images
Classifications
-
- B—PERFORMING OPERATIONS; TRANSPORTING
- B65—CONVEYING; PACKING; STORING; HANDLING THIN OR FILAMENTARY MATERIAL
- B65H—HANDLING THIN OR FILAMENTARY MATERIAL, e.g. SHEETS, WEBS, CABLES
- B65H75/00—Storing webs, tapes, or filamentary material, e.g. on reels
- B65H75/02—Cores, formers, supports, or holders for coiled, wound, or folded material, e.g. reels, spindles, bobbins, cop tubes, cans, mandrels or chucks
- B65H75/18—Constructional details
- B65H75/28—Arrangements for positively securing ends of material
-
- B—PERFORMING OPERATIONS; TRANSPORTING
- B65—CONVEYING; PACKING; STORING; HANDLING THIN OR FILAMENTARY MATERIAL
- B65H—HANDLING THIN OR FILAMENTARY MATERIAL, e.g. SHEETS, WEBS, CABLES
- B65H18/00—Winding webs
- B65H18/08—Web-winding mechanisms
- B65H18/10—Mechanisms in which power is applied to web-roll spindle
-
- B—PERFORMING OPERATIONS; TRANSPORTING
- B65—CONVEYING; PACKING; STORING; HANDLING THIN OR FILAMENTARY MATERIAL
- B65H—HANDLING THIN OR FILAMENTARY MATERIAL, e.g. SHEETS, WEBS, CABLES
- B65H18/00—Winding webs
- B65H18/08—Web-winding mechanisms
- B65H18/26—Mechanisms for controlling contact pressure on winding-web package, e.g. for regulating the quantity of air between web layers
-
- B—PERFORMING OPERATIONS; TRANSPORTING
- B65—CONVEYING; PACKING; STORING; HANDLING THIN OR FILAMENTARY MATERIAL
- B65H—HANDLING THIN OR FILAMENTARY MATERIAL, e.g. SHEETS, WEBS, CABLES
- B65H19/00—Changing the web roll
- B65H19/22—Changing the web roll in winding mechanisms or in connection with winding operations
- B65H19/26—Cutting-off the web running to the wound web roll
-
- B—PERFORMING OPERATIONS; TRANSPORTING
- B65—CONVEYING; PACKING; STORING; HANDLING THIN OR FILAMENTARY MATERIAL
- B65H—HANDLING THIN OR FILAMENTARY MATERIAL, e.g. SHEETS, WEBS, CABLES
- B65H19/00—Changing the web roll
- B65H19/22—Changing the web roll in winding mechanisms or in connection with winding operations
- B65H19/28—Attaching the leading end of the web to the replacement web-roll core or spindle
-
- B—PERFORMING OPERATIONS; TRANSPORTING
- B65—CONVEYING; PACKING; STORING; HANDLING THIN OR FILAMENTARY MATERIAL
- B65H—HANDLING THIN OR FILAMENTARY MATERIAL, e.g. SHEETS, WEBS, CABLES
- B65H19/00—Changing the web roll
- B65H19/22—Changing the web roll in winding mechanisms or in connection with winding operations
- B65H19/30—Lifting, transporting, or removing the web roll; Inserting core
Landscapes
- Looms (AREA)
Abstract
本发明涉及织布技术领域,具体的说是一种可自动收卷纺织纱的织布机,包括织布机,所述织布机一侧依次安装有拉紧机构和收卷机构;所述收卷机构包括力矩电机,所述力矩电机输出轴一端依次安装有左转轴和右转轴,所述左转轴和右转轴内部均滑动安装有活动柱,两个所述活动柱外侧壁均转动安装有若干移动块,所述移动块底部一端对称铰接有两个凹形杆,所述左转轴和右转轴下方安装有移动平台,所述移动平台内部活动安装有凸块。凸块在第二弹簧的张力作用下挤压布带贴合在纸轴外侧壁,能使收卷机构较为紧绷的收卷前期较为松弛的布带,提高收卷效果,且不需要人工辅佐收卷,去除了人工手动辅助按压收卷的安全隐患,利于安全生产。
The invention relates to the technical field of weaving, in particular to a loom capable of automatically winding textile yarns, including a loom, and a tension mechanism and a winding mechanism are sequentially installed on one side of the loom; The winding mechanism includes a torque motor, and one end of the output shaft of the torque motor is sequentially installed with a left rotating shaft and a right rotating shaft, and a movable column is slidably installed inside the left rotating shaft and the right rotating shaft, and the outer side walls of the two movable columns are rotatably installed with There are several moving blocks, two concave rods are symmetrically hinged at one end of the bottom of the moving blocks, a moving platform is installed under the left and right rotating shafts, and a convex block is movably installed inside the moving platform. Under the action of the tension of the second spring, the bumps squeeze the cloth tape to fit on the outer side wall of the paper shaft, which can make the winding mechanism relatively tight and the relatively loose cloth tape in the early stage of winding, improve the winding effect, and does not require manual assistance Rewinding removes the hidden safety hazard of manual manual auxiliary pressing and rewinding, which is beneficial to safe production.
Description
技术领域technical field
本发明涉及织布技术领域,具体的说是一种可自动收卷纺织纱的织布机。The invention relates to the technical field of weaving, in particular to a loom capable of automatically winding textile yarns.
背景技术Background technique
织布机,又叫纺机、织机、棉纺机等,早期的织布机都是依靠人力带动的织布机。无梭织布机技术自19世纪起就着手研究,自50年代起逐步推向国际市场。自20世纪70年代以来,许多新型的无梭织机陆续投入市场。无梭织机对改进织物和提高织机的效率取得了显著成效。Looms are also called spinning machines, looms, cotton spinning machines, etc. The early looms were all driven by manpower. Shuttleless loom technology has been researched since the 19th century, and has been gradually introduced to the international market since the 1950s. Since the 1970s, many new shuttleless looms have been put into the market one after another. The shuttleless loom has achieved remarkable results in improving the fabric and increasing the efficiency of the loom.
布匹的储存、运输方式多为缠绕成卷,方便移动且占地面积较小,所以现有的织布机部分配置有自动收卷机构,将织布机生产的纺织紗及时进行收卷成捆,提高生产效率。The storage and transportation methods of cloth are mostly wound into rolls, which are convenient to move and occupy a small area. Therefore, some of the existing looms are equipped with automatic winding mechanisms to wind up the textile yarn produced by the looms into bundles in time. ,Increase productivity.
在纺织纱缠绕在转动辊外侧壁的前几圈时,因为纺织紗与转动辊之间摩擦力较小,无法克服纺织紗自身的重力,进而导致前几圈的缠绕过程中出现纺织紗与转动辊相对滑动,无法顺利进行收卷工作。未解决此问题,部分厂家采用人工手动按压来增大纺织紗与转动辊的摩擦力,以此来协助前几圈的收卷工作,此类方法存在一定安全隐患,不利于安全生产。When the textile yarn is wound on the outer wall of the rotating roller for the first few turns, because the friction between the textile yarn and the rotating roller is small, it cannot overcome the gravity of the textile yarn itself, which leads to the occurrence of spinning and spinning in the winding process of the first few turns. The rollers slide relative to each other, so the winding work cannot be carried out smoothly. Without solving this problem, some manufacturers use manual pressing to increase the friction between the textile yarn and the rotating roller, so as to assist the winding work of the first few laps. This method has certain potential safety hazards and is not conducive to safe production.
发明内容Contents of the invention
为实现以上目的,本发明通过以下技术方案实现:To achieve the above object, the present invention is achieved through the following technical solutions:
本发明提出一种可自动收卷纺织纱的织布机,包括织布机,所述织布机一侧依次安装有拉紧机构和收卷机构;The invention proposes a loom capable of automatically rewinding textile yarn, including a loom, one side of the loom is sequentially equipped with a tensioning mechanism and a rewinding mechanism;
所述收卷机构包括力矩电机,所述力矩电机输出轴一端依次安装有左转轴和右转轴,所述左转轴和右转轴内部均滑动安装有活动柱,两个所述活动柱外侧壁均转动安装有若干移动块,所述移动块底部一端对称铰接有两个凹形杆,所述左转轴和右转轴下方安装有移动平台,所述移动平台内部活动安装有凸块。The winding mechanism includes a torque motor, and one end of the output shaft of the torque motor is sequentially installed with a left rotating shaft and a right rotating shaft, and a movable column is slidingly installed inside the left rotating shaft and the right rotating shaft, and the outer walls of the two movable columns rotate A plurality of moving blocks are installed, two concave rods are symmetrically hinged at one end of the bottom of the moving block, a moving platform is installed under the left and right rotating shafts, and a protrusion is movably installed inside the moving platform.
进一步的,所述左转轴一端固定均匀安装有三个弧形连杆,三个所述弧形连杆相近一端共同固定安装在力矩电机输出轴一端,所述右转轴一端转动安装有固定环,所述力矩电机和固定环底部一侧均固定安装有滑动底座,所述滑动底座底部一端外侧壁滑动安装有两个滑架,四个所述滑架内部均贯穿开设有插槽,四个所述插槽内部均滑动安装有插销。Further, one end of the left rotating shaft is fixed and evenly installed with three arc-shaped connecting rods, and the adjacent ends of the three arc-shaped connecting rods are jointly fixed and installed on one end of the output shaft of the torque motor, and one end of the right rotating shaft is rotatably installed with a fixed ring, so Both the torque motor and the bottom side of the fixed ring are fixedly installed with a sliding base, and two sliding frames are slidably installed on the outer wall of one end of the bottom of the sliding base, and slots are opened inside the four sliding frames. The slots are all slidingly installed with latches inside.
进一步的,所述左转轴和右转轴外侧壁均固定安装有限位环,两个所述限位环相近一侧为弧面设计,所述右转轴与左转轴相近一侧固定安装有若干插柱,所述左转轴与右转轴相近一侧开设有等量与插柱相插接配合的槽,所述右转轴与左转轴外侧壁共同转动安装有纸轴,所述纸轴位于两个限位环之间。Further, the outer walls of the left and right rotating shafts are fixed with limit rings, and the adjacent sides of the two limit rings are designed as arc surfaces, and a number of posts are fixedly installed on the adjacent sides of the right and left rotating shafts , the side of the left shaft and the right shaft are provided with slots that are equally fitted with the post, and the right shaft and the outer wall of the left shaft are co-rotated and installed with paper shafts, and the paper shafts are located at two limit positions. between rings.
进一步的,所述左转轴与右转轴内部均贯穿开设有活动槽,两个所述活动柱均滑动安装在活动槽内部,两个所述活动柱相近一端为插接配合,所述凹形杆内部贯穿转动安装有固定柱,所述固定柱的两端固定安装在左转轴或右转轴内部,所述凹形杆一侧固定安装有若干钉齿。Further, the inside of the left shaft and the right shaft are provided with movable grooves, and the two movable columns are slidably installed inside the movable groove, and the adjacent ends of the two movable columns are plug-fitted, and the concave rod A fixed column is installed through and rotated inside, and the two ends of the fixed column are fixedly installed inside the left or right rotating shaft, and a plurality of nail teeth are fixedly installed on one side of the concave rod.
进一步的,所述左转轴与右转轴一侧均开设有凹槽,所述凹槽与凸块相配合,所述纸轴外侧壁贯穿开设有与凹槽相配合的开口,所述移动平台内部对称开设有两个让位槽,两个所述让位槽与两个限位环相配合。Further, grooves are formed on one side of the left rotating shaft and the right rotating shaft, and the grooves are matched with the bumps, and the outer wall of the paper shaft is penetrated with openings matched with the grooves, and the inside of the mobile platform Two relief grooves are arranged symmetrically, and the two relief grooves cooperate with the two limiting rings.
进一步的,所述移动平台外侧壁滑动安装有壳体,所述壳体内部底侧固定安装有大电动伸缩杆,所述大电动伸缩杆伸缩端固定安装在移动平台底部一侧,所述移动平台一侧对称安装有小电动伸缩杆,所述凸块底部一侧固定安装有若干第二弹簧,所述第二弹簧底部一端共同固定安装在移动平台内部一侧。Further, a casing is slidably installed on the outer side wall of the mobile platform, and a large electric telescopic rod is fixedly installed on the inner bottom side of the casing, and the telescopic end of the large electric telescopic rod is fixedly installed on the bottom side of the mobile platform. A small electric telescopic rod is symmetrically installed on one side of the platform, and a plurality of second springs are fixedly installed on one side of the bottom of the bump, and one end of the bottom of the second spring is fixedly installed on the inner side of the mobile platform together.
进一步的,两个所述活动柱相离一端均贯穿开设有下配合孔,所述左转轴与右转轴相离一端均固定安装有两个锁定块,四个所述锁定块中部均贯穿开设有上配合孔。Further, the ends of the two movable columns apart from each other are provided with a lower matching hole, the ends of the left shaft and the right shaft are fixedly installed with two locking blocks, and the middle parts of the four locking blocks are provided with Fitting hole.
进一步的,所述右转轴靠近固定环一侧的中部为镂空,所述右转轴的中部镂空与其正下方的小电动伸缩杆相配合,三个所述弧形连杆之间的空隙与其正下方的小电动伸缩杆配合。Further, the middle part of the right rotating shaft close to the fixed ring is hollowed out, and the middle part of the right rotating shaft is hollowed out to match the small electric telescopic rod directly below it, and the gap between the three arc-shaped connecting rods is directly below it. The small electric telescopic rod cooperates.
进一步的,所述织布机输出一侧依次安装有两个左固定杆和两个右固定杆,两个所述左固定杆之间转动安装有左转动辊,两个所述右固定杆之间活动安装有右转动辊,所述右固定杆内部滑动安装有滑块,所述滑块底部一侧固定安装有第一弹簧,所述第一弹簧底部一端固定安装在右转动辊内部一侧,所述右转动辊的两端固定安装在两个滑块相近一侧。Further, two left fixed rods and two right fixed rods are sequentially installed on the output side of the loom, and a left rotating roller is installed between the two left fixed rods, and the two right fixed rods A right rotating roller is installed movable between them, and a slider is slidably installed inside the right fixed rod, and a first spring is fixedly installed on one side of the bottom of the slider, and one end of the bottom of the first spring is fixedly installed on the right rotating roller. On the inner side, the two ends of the right turning roller are fixedly installed on the adjacent side of the two slide blocks.
进一步的,所述左转动辊外侧壁滑动安装有布带,所述布带一端依次绕接在左转动辊底部一侧、右转动辊顶部一侧,然后缠绕在纸轴外侧壁。Further, a cloth tape is slidably installed on the outer wall of the left rotating roller, and one end of the cloth tape is sequentially wound on the bottom side of the left rotating roller and the top side of the right rotating roller, and then wound on the outer wall of the paper shaft.
本发明的有益效果如下:The beneficial effects of the present invention are as follows:
(1)本发明所述的一种可自动收卷纺织纱的织布机,布带被凸块挤压进入凹槽中,然后被钉齿夹住端部,力矩电机转动卷收布带,凸块在第二弹簧的张力作用下挤压布带贴合在纸轴外侧壁,能使收卷机构较为紧绷的收卷前期较为松弛的布带,提高收卷效果,且不需要人工辅佐收卷,去除了人工手动辅助按压收卷的安全隐患,利于安全生产。(1) A loom that can automatically wind up the textile yarn according to the present invention, the cloth tape is squeezed into the groove by the bump, and then the end is clamped by the nail teeth, and the torque motor rotates to wind up the cloth tape, Under the tension of the second spring, the bump squeezes the cloth tape and sticks it to the outer wall of the paper shaft, which can make the winding mechanism tighter and the cloth tape looser in the early stage of winding, improve the winding effect, and does not require manual assistance Rewinding removes the safety hazard of manual auxiliary pressing and rewinding, which is conducive to safe production.
(2)本发明所述的一种可自动收卷纺织纱的织布机,工作人员向下按压两个活动柱,使得钉齿与布带端部脱离,拔掉四个插销,工作人员拉动两个滑动底座相离运动,使左转轴和右转轴脱离纸轴,以纸轴为轴心来储存成卷的布带,代替现有技术中利用滚轴来储存成卷的布带,纸轴价格远小于滚轴,所以大大降低了储存占用成本,且降低了布带卷的重量,更方便搬运、运输。(2) A loom that can automatically rewind textile yarn according to the present invention, the worker presses down the two movable columns, so that the nail teeth are separated from the end of the cloth belt, pulls out the four pins, and the worker pulls The two sliding bases move away from each other, so that the left and right rotating shafts are separated from the paper shaft, and the paper shaft is used as the axis to store the rolled cloth tape, instead of using the roller to store the rolled cloth tape in the prior art, and the paper shaft The price is much lower than that of the roller, so the cost of storage and occupation is greatly reduced, and the weight of the tape roll is reduced, which is more convenient for handling and transportation.
附图说明Description of drawings
下面结合附图和实施例对本发明进一步说明。The present invention will be further described below in conjunction with the accompanying drawings and embodiments.
图1为本发明提供的一种可自动收卷纺织纱的织布机的整体结构示意图;Fig. 1 is a schematic diagram of the overall structure of a loom that can automatically rewind textile yarn provided by the present invention;
图2为本发明提供的一种可自动收卷纺织纱的织布机的移动平台连接示意图;Fig. 2 is a schematic diagram of connection of a mobile platform of a loom that can automatically rewind textile yarn provided by the present invention;
图3为本发明提供的一种可自动收卷纺织纱的织布机的滑架结构示意图;Fig. 3 is a schematic diagram of the carriage structure of a loom capable of automatically winding textile yarn provided by the present invention;
图4为本发明提供的一种可自动收卷纺织纱的织布机的限位环结构示意图;Fig. 4 is a schematic diagram of the stop ring structure of a loom capable of automatically winding textile yarn provided by the present invention;
图5为本发明提供的一种可自动收卷纺织纱的织布机的左转轴与右转轴的连接示意图;Fig. 5 is a schematic diagram of the connection between the left and right rotating shafts of a loom capable of automatically winding textile yarn provided by the present invention;
图6为本发明提供的一种可自动收卷纺织纱的织布机的右转轴内部结构示意图;Fig. 6 is a schematic diagram of the internal structure of the right shaft of a loom capable of automatically winding textile yarn provided by the present invention;
图7为本发明提供的一种可自动收卷纺织纱的织布机的滑块连接示意图;Fig. 7 is a schematic diagram of slider connection of a loom capable of automatically winding textile yarn provided by the present invention;
图8为图1的A处放大图;Figure 8 is an enlarged view of A in Figure 1;
图9为图6的B处放大图;Fig. 9 is an enlarged view of place B of Fig. 6;
图10为本发明提供的一种可自动收卷纺织纱的织布机的两个活动柱相近一端的连接示意图;Fig. 10 is a schematic diagram of the connection of two movable columns near one end of a loom that can automatically wind up textile yarn provided by the present invention;
图11为本发明提供的一种可自动收卷纺织纱的织布机的凹形杆的工作示意图。Fig. 11 is a working schematic diagram of a concave rod of a loom capable of automatically winding textile yarn provided by the present invention.
图中:1、织布机;2、拉紧机构;21、左固定杆;22、左转动辊;23、右固定杆;24、右转动辊;25、滑块;26、第一弹簧;3、收卷机构;31、滑架;32、插槽;33、插销;34、滑动底座;35、力矩电机;36、弧形连杆;37、左转轴;38、右转轴;39、纸轴;310、凹槽;311、插柱;312、活动槽;313、活动柱;314、移动块;315、凹形杆;316、固定柱;317、钉齿;318、限位环;319、固定环;320、壳体;321、大电动伸缩杆;322、移动平台;323、第二弹簧;324、凸块;325、小电动伸缩杆;326、让位槽;327、上配合孔;328、下配合孔;329、锁定块;4、布带。Among the figure: 1, loom; 2, tension mechanism; 21, left fixed rod; 22, left rotating roller; 23, right fixed rod; 24, right rotating roller; 25, slider; 26, first Spring; 3, winding mechanism; 31, carriage; 32, slot; 33, latch; 34, sliding base; 35, torque motor; 36, arc connecting rod; 37, left shaft; 38, right shaft; 39 , paper shaft; 310, groove; 311, inserting column; 312, movable groove; 313, movable column; 314, moving block; 315, concave rod; 316, fixed column; 317, nail teeth; 318,
具体实施方式Detailed ways
为使本发明实施例的目的、技术手段和优点更加清楚,对本发明实施例中的技术方案进行清楚、完整的描述,显然,所描述的实施例是本发明一部分实施例,而不是全部的实施例。基于本发明中的实施例,本领域普通技术人员在没有作出创造性劳动前提下所获得的所有其他实施例,都属于本发明保护的范围。In order to make the purpose, technical means and advantages of the embodiments of the present invention clearer, the technical solutions in the embodiments of the present invention are clearly and completely described. Obviously, the described embodiments are part of the embodiments of the present invention, not all of them. example. Based on the embodiments of the present invention, all other embodiments obtained by persons of ordinary skill in the art without creative efforts fall within the protection scope of the present invention.
为了更好的理解上述技术方案,下面将结合说明书附图以及具体的实施方式对上述技术方案进行详细的说明。In order to better understand the above-mentioned technical solution, the above-mentioned technical solution will be described in detail below in conjunction with the accompanying drawings and specific implementation methods.
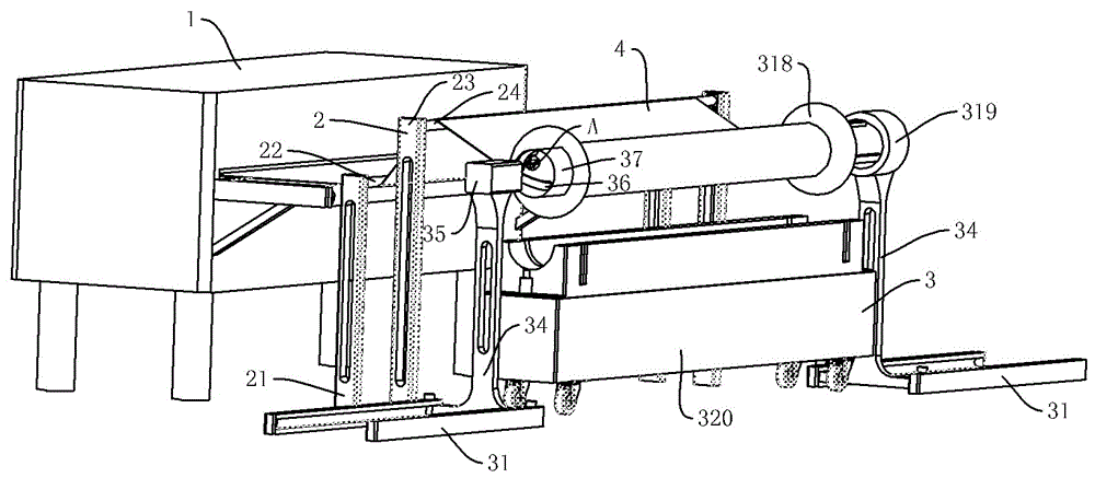
如图 1所示,本发明实施例提供一种可自动收卷纺织纱的织布机,包括织布机1,织布机1一侧依次安装有拉紧机构2和收卷机构3;As shown in Figure 1, an embodiment of the present invention provides a loom that can automatically wind up textile yarns, including a loom 1, and one side of the loom 1 is sequentially installed with a
如图 1、图2、图3、图5、图8和图10所示,收卷机构3包括力矩电机35,力矩电机35输出轴一端依次安装有左转轴37和右转轴38,左转轴37和右转轴38内部均滑动安装有活动柱313,两个活动柱313外侧壁均转动安装有若干移动块314,移动块314底部一端对称铰接有两个凹形杆315,活动柱313用于提升移动块314,进而提升两个移动块314端部,使两个移动块314底部夹紧,左转轴37和右转轴38下方安装有移动平台322,移动平台322内部活动安装有凸块324。As shown in Fig. 1, Fig. 2, Fig. 3, Fig. 5, Fig. 8 and Fig. 10, the
如图 1和图3所示,具体的,左转轴37一端固定均匀安装有三个弧形连杆36,三个弧形连杆36相近一端共同固定安装在力矩电机35输出轴一端,右转轴38一端转动安装有固定环319,力矩电机35和固定环319底部一侧均固定安装有滑动底座34,滑动底座34底部一端外侧壁滑动安装有两个滑架31,供滑动底座34移动,同时限定滑动底座34的位移方向和距离,四个滑架31内部均贯穿开设有插槽32,四个插槽32内部均滑动安装有插销33,插销33用于临时固定滑架31的位置。As shown in Figures 1 and 3, specifically, one end of the left rotating
如图 4和图6所示,具体的,左转轴37和右转轴38外侧壁均固定安装有限位环318,两个限位环318相近一侧为弧面设计,右转轴38与左转轴37相近一侧固定安装有若干插柱311,左转轴37与右转轴38相近一侧开设有等量与插柱311相插接配合的槽,插柱311和槽的配合,用于右转轴38与左转轴37的旋转联动,右转轴38与左转轴37外侧壁共同转动安装有纸轴39,纸轴39位于两个限位环318之间,两个限位环318用于限定纸轴39的安装位置。As shown in Figures 4 and 6, specifically, the outer walls of the left rotating
如图 6和图9所示,具体的,左转轴37与右转轴38内部均贯穿开设有活动槽312,两个活动柱313均滑动安装在活动槽312内部,两个活动柱313相近一端为插接配合,用于两个活动柱313的位移联动,凹形杆315内部贯穿转动安装有固定柱316,固定柱316的两端固定安装在左转轴37或右转轴38内部,凹形杆315一侧固定安装有若干钉齿317,用于钩挂布带4。As shown in Figure 6 and Figure 9, specifically, the inside of the
如图 2和图6所示,具体的,左转轴37与右转轴38一侧均开设有凹槽310,凹槽310与凸块324相配合,纸轴39外侧壁贯穿开设有与凹槽310相配合的开口,移动平台322内部对称开设有两个让位槽326,两个让位槽326与两个限位环318相配合,让位槽326为限位环318的下移预留空间。As shown in Figure 2 and Figure 6, specifically, the
如图 2所示,具体的,移动平台322外侧壁滑动安装有壳体320,壳体320内部底侧固定安装有大电动伸缩杆321,大电动伸缩杆321伸缩端固定安装在移动平台322底部一侧,大电动伸缩杆321用于移动平台322的上下移动,移动平台322一侧对称安装有小电动伸缩杆325,用于活动柱313的上移,凸块324底部一侧固定安装有若干第二弹簧323,第二弹簧323底部一端共同固定安装在移动平台322内部一侧,第二弹簧323用于凸块324的下移让位及上移复位。As shown in Figure 2, specifically, the outer wall of the
如图8所示,具体的,两个活动柱313相离一端均贯穿开设有下配合孔328,左转轴37与右转轴38相离一端均固定安装有两个锁定块329,四个锁定块329中部均贯穿开设有上配合孔327,当下配合孔328上移与上配合孔327同轴心时,工作人员插入固定铁柱以固定活动柱313的位置。As shown in Figure 8, specifically, the ends of the two
如图1所示,具体的,右转轴38靠近固定环319一侧的中部为镂空,右转轴38的中部镂空与其正下方的小电动伸缩杆325相配合,三个弧形连杆36之间的空隙与其正下方的小电动伸缩杆325配合,两者目的均是为小电动伸缩杆325一端伸长预留上升通道。As shown in Figure 1, specifically, the middle part of the right
如图1和图7所示,具体的,织布机1输出一侧依次安装有两个左固定杆21和两个右固定杆23,两个左固定杆21之间转动安装有左转动辊22,两个右固定杆23之间活动安装有右转动辊24,右固定杆23内部滑动安装有滑块25,滑块25底部一侧固定安装有第一弹簧26,第一弹簧26用于右转动辊24和滑块25的复位,第一弹簧26底部一端固定安装在右转动辊24内部一侧,右转动辊24的两端固定安装在两个滑块25相近一侧,当织布机1发生织布卡顿或其他原因导致织布速度小于卷布速度时,布带4背超标拉伸,布带4向下挤压右转动辊24,右转动辊24向下移动以减少织布机1到收卷机构3的距离,即让出一定长度的布带4供收卷机构3收卷,从而减轻布带4所受到的超标拉力。As shown in Figure 1 and Figure 7, specifically, two left
如图1所示,具体的,左转动辊22外侧壁滑动安装有布带4,布带4一端依次绕接在左转动辊22底部一侧、右转动辊24顶部一侧,用于使布带4处于紧绷状态,然后缠绕在纸轴39外侧壁。As shown in Figure 1, specifically, a cloth belt 4 is slidably installed on the outer wall of the left
具体工作方式:The specific working method:
布带4首圈缠绕时,工作人员手持布带4一端,绕经左转动辊22下侧壁、右转动辊24上侧壁,然后盖住移动平台322的上端口,大电动伸缩杆321一端伸长带动移动平台322上升,如图1所示,工作人员按压住位于移动平台322的上端口左侧的布带4,布带4随着移动平台322上升接触挤压纸轴39,进而使得布带4右侧端口进入移动平台322的大凹槽中,铺盖在凸块324上,然后被凸块324挤压进入凹槽310中,大电动伸缩杆321停止伸长,此时限位环318进入让位槽326中;When wrapping the cloth tape 4 for the first time, the staff holds one end of the cloth tape 4 and winds it around the lower side wall of the left
启动两个小电动伸缩杆325,小电动伸缩杆325一端伸长挤压活动柱313向上移动,从而带动移动块314上移,从而带动两个凹形杆315的铰接端上移,从而带动两个凹形杆315的下端做相向运动,从而带动两组钉齿317挤压凸块324和凸块324外侧壁的布带4,钉齿317的尖端勾住布带4,致使布带4留在凹槽310中,即钉齿317夹住布带4端部,但是凸块324表面光滑,被钉齿317挤出凹槽310,凸块324下移并挤压第二弹簧323,此时下配合孔328上移至两个上配合孔327之间,工作人员向上配合孔327和下配合孔328之间插入固定铁柱以固定活动柱313的位置,进而确保钉齿317始终夹紧布带4端部,小电动伸缩杆325一端缩短复位;Start two small electric
启动力矩电机35,如图1所示,力矩电机35带动左转轴37、右转轴38和纸轴39逆时针转动,进而卷收布带4,此时凸块324在第二弹簧323的张力作用下挤压布带4贴合在纸轴39外侧壁,由于前期人工拉扯布带4,导致前几圈的布带4比较松弛,而凸块324的贴合挤压能使松弛部分的布带4较为紧绷的缠绕在纸轴39外侧壁且不易褶皱,布带4紧绷后,大电动伸缩杆321一段缩短带动移动平台322下降复位。Start the torque motor 35, as shown in Figure 1, the torque motor 35 drives the
缠满换轴时,工作人员需划断布带4,导致此时收卷的布带4再次出现松弛现象,可提前1-2圈启动大电动伸缩杆321,带动移动平台322上升,从而带动凸块324抵触布带4,完成末端布带4的紧绷缠绕,启动力矩电机35停止转动,大电动伸缩杆321一端继续伸长,带动移动平台322的大凹槽抵触在收卷后的布带4的外侧壁,大大减小布带4对左转轴37和右转轴38的压力,工作人员手动转动左转轴37和右转轴38,使凹槽310朝下,工作人员拔掉上配合孔327和下配合孔328之间的固定铁柱,向下按压两个活动柱313,使得钉齿317与布带4端部脱离,拔掉四个插销33,工作人员拉动两个滑动底座34相离运动,使左转轴37和右转轴38脱离纸轴39,工作人员可利用壳体320移动成品布带4,然后拉动两个滑动底座34相向运动,并将新的纸轴39套接在左转轴37和右转轴38外侧壁上,复位四个插销33,再次进行首圈缠绕工作。When the shaft is fully wrapped, the staff needs to cut off the cloth tape 4, which causes the cloth tape 4 to loosen again at this time. The large electric
在本发明的描述中,需要理解的是,术语“中心”、“前”、“后”、“竖直”、“水平”、“顶”、“底”“内”、“外”等指示的方位或位置关系为基于附图所示的方位或位置关系,仅是为了便于描述本发明和简化描述,而不是指示或暗示所指的装置或元件必须具有特定的方位、以特定的方位构造和操作,因此不能理解为对本发明保护范围的限制。In describing the present invention, it is to be understood that the terms "center", "front", "rear", "vertical", "horizontal", "top", "bottom", "inner", "outer", etc. indicate The orientation or positional relationship is based on the orientation or positional relationship shown in the drawings, and is only for the convenience of describing the present invention and simplifying the description, rather than indicating or implying that the referred device or element must have a specific orientation or be configured in a specific orientation. and operation, and therefore cannot be construed as limiting the protection scope of the present invention.
以上显示和描述了本发明的基本原理、主要特征和优点。本行业的技术人员应该了解,本发明不受上述实施例的限制,上述实施例和说明书中描述的只是说明本发明的原理,在不脱离本发明精神和范围的前提下,本发明还会有各种变化和改进,这些变化和改进都落入要求保护的本发明范围内。本发明要求保护范围由所附的权利要求书及其等效物界定。The basic principles, main features and advantages of the present invention have been shown and described above. Those skilled in the industry should understand that the present invention is not limited by the above-mentioned embodiments. What are described in the above-mentioned embodiments and the description only illustrate the principle of the present invention. Without departing from the spirit and scope of the present invention, the present invention will also have Variations and improvements all fall within the scope of the claimed invention. The protection scope of the present invention is defined by the appended claims and their equivalents.
Claims (10)
Priority Applications (1)
| Application Number | Priority Date | Filing Date | Title |
|---|---|---|---|
| CN202211194986.1A CN115258837B (en) | 2022-09-29 | 2022-09-29 | A loom that can automatically wind up textile yarn |
Applications Claiming Priority (1)
| Application Number | Priority Date | Filing Date | Title |
|---|---|---|---|
| CN202211194986.1A CN115258837B (en) | 2022-09-29 | 2022-09-29 | A loom that can automatically wind up textile yarn |
Publications (2)
| Publication Number | Publication Date |
|---|---|
| CN115258837A true CN115258837A (en) | 2022-11-01 |
| CN115258837B CN115258837B (en) | 2024-01-16 |
Family
ID=83756923
Family Applications (1)
| Application Number | Title | Priority Date | Filing Date |
|---|---|---|---|
| CN202211194986.1A Active CN115258837B (en) | 2022-09-29 | 2022-09-29 | A loom that can automatically wind up textile yarn |
Country Status (1)
| Country | Link |
|---|---|
| CN (1) | CN115258837B (en) |
Cited By (1)
| Publication number | Priority date | Publication date | Assignee | Title |
|---|---|---|---|---|
| CN119349316A (en) * | 2024-12-26 | 2025-01-24 | 宣城市博思特日用品有限公司 | A winding device and a winding process for processing paper cup base paper based on automatic correction |
Citations (14)
| Publication number | Priority date | Publication date | Assignee | Title |
|---|---|---|---|---|
| CN103910250A (en) * | 2014-03-31 | 2014-07-09 | 吴江久美微纤织造有限公司 | Cloth winding barrel for spinning |
| CN205527080U (en) * | 2016-02-24 | 2016-08-31 | 响水县嘉亿纺织有限公司 | Weaving reel with fixed cloth function |
| CN207293674U (en) * | 2017-09-06 | 2018-05-01 | 安徽六顺创业特种滤材有限公司 | A kind of rolling-up mechanism of filter cloth production warping machine |
| CN207861535U (en) * | 2017-12-07 | 2018-09-14 | 瑞安市华升塑料织带有限公司 | A kind of magic tape winder |
| CN209306632U (en) * | 2018-12-11 | 2019-08-27 | 海安县恒业制丝有限公司 | It is a kind of to wind neat textile machine wrap-up |
| CN210504846U (en) * | 2019-08-05 | 2020-05-12 | 玉田县帅辰塑料制品有限公司 | A rewinding device for a blow molding machine |
| CN111348468A (en) * | 2020-03-11 | 2020-06-30 | 湖州益浩毛纺原料有限公司 | Adjustable textile fabric coiling mechanism of tension based on hooke's law principle |
| CN211687540U (en) * | 2019-11-28 | 2020-10-16 | 常州蓦晟非织造有限公司 | PTFE filter bag industrial felt production is with automatic reel changing device |
| CN212292207U (en) * | 2020-04-20 | 2021-01-05 | 泸州永丰浆纸有限责任公司 | Prevent that pulling force too big leads to cracked coiling mechanism of bamboo pulp paper |
| CN112320492A (en) * | 2020-11-13 | 2021-02-05 | 三阳纺织有限公司 | Cloth winder for spinning |
| CN112551218A (en) * | 2020-11-18 | 2021-03-26 | 杨正飞 | Cloth collecting equipment for textile printing and dyeing machine |
| CN215885664U (en) * | 2021-09-28 | 2022-02-22 | 嘉兴市三贤电子科技有限公司 | Prevent ftractureing high protection adhesive tape winding mechanism that glues |
| CN215974222U (en) * | 2021-08-25 | 2022-03-08 | 江苏新鲁新材料科技有限公司 | PE membrane is crowded inflation film manufacturing machine group coiling apparatus altogether |
| CN216661922U (en) * | 2021-09-03 | 2022-06-03 | 凯美隆武汉遮阳工程技术有限公司 | Storage device is used in casement production |
-
2022
- 2022-09-29 CN CN202211194986.1A patent/CN115258837B/en active Active
Patent Citations (14)
| Publication number | Priority date | Publication date | Assignee | Title |
|---|---|---|---|---|
| CN103910250A (en) * | 2014-03-31 | 2014-07-09 | 吴江久美微纤织造有限公司 | Cloth winding barrel for spinning |
| CN205527080U (en) * | 2016-02-24 | 2016-08-31 | 响水县嘉亿纺织有限公司 | Weaving reel with fixed cloth function |
| CN207293674U (en) * | 2017-09-06 | 2018-05-01 | 安徽六顺创业特种滤材有限公司 | A kind of rolling-up mechanism of filter cloth production warping machine |
| CN207861535U (en) * | 2017-12-07 | 2018-09-14 | 瑞安市华升塑料织带有限公司 | A kind of magic tape winder |
| CN209306632U (en) * | 2018-12-11 | 2019-08-27 | 海安县恒业制丝有限公司 | It is a kind of to wind neat textile machine wrap-up |
| CN210504846U (en) * | 2019-08-05 | 2020-05-12 | 玉田县帅辰塑料制品有限公司 | A rewinding device for a blow molding machine |
| CN211687540U (en) * | 2019-11-28 | 2020-10-16 | 常州蓦晟非织造有限公司 | PTFE filter bag industrial felt production is with automatic reel changing device |
| CN111348468A (en) * | 2020-03-11 | 2020-06-30 | 湖州益浩毛纺原料有限公司 | Adjustable textile fabric coiling mechanism of tension based on hooke's law principle |
| CN212292207U (en) * | 2020-04-20 | 2021-01-05 | 泸州永丰浆纸有限责任公司 | Prevent that pulling force too big leads to cracked coiling mechanism of bamboo pulp paper |
| CN112320492A (en) * | 2020-11-13 | 2021-02-05 | 三阳纺织有限公司 | Cloth winder for spinning |
| CN112551218A (en) * | 2020-11-18 | 2021-03-26 | 杨正飞 | Cloth collecting equipment for textile printing and dyeing machine |
| CN215974222U (en) * | 2021-08-25 | 2022-03-08 | 江苏新鲁新材料科技有限公司 | PE membrane is crowded inflation film manufacturing machine group coiling apparatus altogether |
| CN216661922U (en) * | 2021-09-03 | 2022-06-03 | 凯美隆武汉遮阳工程技术有限公司 | Storage device is used in casement production |
| CN215885664U (en) * | 2021-09-28 | 2022-02-22 | 嘉兴市三贤电子科技有限公司 | Prevent ftractureing high protection adhesive tape winding mechanism that glues |
Cited By (1)
| Publication number | Priority date | Publication date | Assignee | Title |
|---|---|---|---|---|
| CN119349316A (en) * | 2024-12-26 | 2025-01-24 | 宣城市博思特日用品有限公司 | A winding device and a winding process for processing paper cup base paper based on automatic correction |
Also Published As
| Publication number | Publication date |
|---|---|
| CN115258837B (en) | 2024-01-16 |
Similar Documents
| Publication | Publication Date | Title |
|---|---|---|
| CN205974944U (en) | Weaving cloth coiling mechanism | |
| CN115258837A (en) | Loom capable of automatically rolling textile yarns | |
| CN221116439U (en) | Carbon fiber wire winding device | |
| CN118205955A (en) | Auxiliary storage device for yarn bundle processing and storage process thereof | |
| CN115855443A (en) | ADSS optical cable communication maintenance equipment and use method | |
| CN115649972A (en) | Yarn coiling mechanism is used in cotton yarn production and processing | |
| CN213111963U (en) | Efficient and convenient yarn winding frame | |
| CN216671301U (en) | Multi-disc type automatic cable wrapping machine | |
| CN223103165U (en) | A textile wool-reversing machine | |
| CN113210468B (en) | Winding drum machine | |
| CN211227583U (en) | Tension tensioning device for spinning thread of knitting equipment | |
| CN116395483A (en) | An auxiliary structure for laying electric wires | |
| CN211077975U (en) | Yarn winding device for weaving Tujia brocade | |
| CN217172589U (en) | Cloth coiling apparatus for textile machinery | |
| CN221026853U (en) | A cable organizer | |
| CN223575854U (en) | Cable unreeling device for manufacturing wires and cables | |
| CN218174206U (en) | Portable automatic winder based on spiral spring | |
| CN217201357U (en) | Spinning winding device | |
| CN219031342U (en) | Winding mechanism of rotor spinning machine | |
| CN216190045U (en) | A guide device for automatic winding machine | |
| CN119706013B (en) | Automatic subpackaging textile fabric packaging equipment | |
| CN113511557A (en) | Method for replacing wire winding machine of winding shaft | |
| CN218708193U (en) | Yarn rewinding machine convenient to adjust | |
| CN215797651U (en) | Polyester yarn is with weaving winding device with straining device | |
| CN221822422U (en) | A fiber drawing machine |
Legal Events
| Date | Code | Title | Description |
|---|---|---|---|
| PB01 | Publication | ||
| PB01 | Publication | ||
| SE01 | Entry into force of request for substantive examination | ||
| SE01 | Entry into force of request for substantive examination | ||
| GR01 | Patent grant | ||
| GR01 | Patent grant | ||
| CP03 | Change of name, title or address | ||
| CP03 | Change of name, title or address |
Address after: Room 2152, No. 1558, Diegang Road, Sanxing Town, Haimen District, Nantong City, Jiangsu Province, 226100 Patentee after: Nantong Haijun Digital Technology Co.,Ltd. Country or region after: China Address before: Room 2152, No. 1558, Diegang Road, Sanxing Town, Haimen District, Nantong City, Jiangsu Province, 226000 Patentee before: Nantong Sea Falcon Information Technology Co.,Ltd. Country or region before: China |
