CN115241803A - A laying device for installing a cable hanger in a cable trench - Google Patents
A laying device for installing a cable hanger in a cable trench Download PDFInfo
- Publication number
- CN115241803A CN115241803A CN202210998551.6A CN202210998551A CN115241803A CN 115241803 A CN115241803 A CN 115241803A CN 202210998551 A CN202210998551 A CN 202210998551A CN 115241803 A CN115241803 A CN 115241803A
- Authority
- CN
- China
- Prior art keywords
- cable
- installing
- laying device
- frame
- transmission belt
- Prior art date
- Legal status (The legal status is an assumption and is not a legal conclusion. Google has not performed a legal analysis and makes no representation as to the accuracy of the status listed.)
- Pending
Links
Images
Classifications
-
- H—ELECTRICITY
- H02—GENERATION; CONVERSION OR DISTRIBUTION OF ELECTRIC POWER
- H02G—INSTALLATION OF ELECTRIC CABLES OR LINES, OR OF COMBINED OPTICAL AND ELECTRIC CABLES OR LINES
- H02G1/00—Methods or apparatus specially adapted for installing, maintaining, repairing or dismantling electric cables or lines
- H02G1/06—Methods or apparatus specially adapted for installing, maintaining, repairing or dismantling electric cables or lines for laying cables, e.g. laying apparatus on vehicle
-
- H—ELECTRICITY
- H02—GENERATION; CONVERSION OR DISTRIBUTION OF ELECTRIC POWER
- H02G—INSTALLATION OF ELECTRIC CABLES OR LINES, OR OF COMBINED OPTICAL AND ELECTRIC CABLES OR LINES
- H02G1/00—Methods or apparatus specially adapted for installing, maintaining, repairing or dismantling electric cables or lines
- H02G1/06—Methods or apparatus specially adapted for installing, maintaining, repairing or dismantling electric cables or lines for laying cables, e.g. laying apparatus on vehicle
- H02G1/08—Methods or apparatus specially adapted for installing, maintaining, repairing or dismantling electric cables or lines for laying cables, e.g. laying apparatus on vehicle through tubing or conduit, e.g. rod or draw wire for pushing or pulling
Landscapes
- Electric Cable Installation (AREA)
Abstract
本发明属于电缆铺设技术领域,涉及一种电缆沟内安装电缆挂架的铺设装置,为了解决于现有安装方式较为耗费人力物力,且不利于施工人员的人身安全的问题,本方案所述门字框架的每端设置在一个梯形框架的中部,且门字框架与梯形框架固定连接,每个梯形框架底部的每端均与一个万向轮连接,两个梯形框架的末端通过后端板连接,卷扬机设置在后端板上,所述滑轮组与门字框架顶梁的中部连接,卷扬机的钢丝绳与滑轮组连接,两个梯形框架的前端通过多个传动杆连接,所述传动杆与梯形框架转动连接,所述传动带设置在多个传动杆的外部,多个电缆挂架设置在传动带上,与滑轮组相邻的电缆挂架与滑轮组连接,本发明的铺设装置可以电缆挂架的运输和安装。
The invention belongs to the technical field of cable laying, and relates to a laying device for installing a cable hanger in a cable trench. Each end of the character frame is set in the middle of a trapezoidal frame, and the door character frame is fixedly connected with the trapezoidal frame, each end of the bottom of each trapezoidal frame is connected with a universal wheel, and the ends of the two trapezoidal frames are connected by the rear end plate. , the hoist is arranged on the rear end plate, the pulley block is connected with the middle of the top beam of the door frame, the wire rope of the winch is connected with the pulley block, the front ends of the two trapezoidal frames are connected by a plurality of transmission rods, and the transmission rods are rotated with the trapezoidal frame. The transmission belt is arranged on the outside of a plurality of transmission rods, and a plurality of cable hangers are arranged on the transmission belt. The cable hangers adjacent to the pulley group are connected with the pulley group. The laying device of the present invention can transport and install the cable hangers.
Description
技术领域technical field
本发明属于电缆铺设技术领域,涉及一种电缆沟内安装电缆挂架的铺设装置。The invention belongs to the technical field of cable laying, and relates to a laying device for installing a cable hanger in a cable trench.
背景技术Background technique
目前铺设电缆所使用的一种电缆沟用电缆支架一般采用镀锌角铁制作,现在通常采用铝合金支架,现有的支架安装时,通常需要货车运输、起重机吊送、施工人员进入电缆沟施工等过程,现有安装方式较为耗费人力物力,且不利于施工人员的人身安全。At present, a cable support for cable trenches used for laying cables is generally made of galvanized angle iron. Now, aluminum alloy supports are usually used. When the existing supports are installed, they usually require truck transportation, crane hoisting, and construction personnel to enter the cable trench for construction. and other processes, the existing installation method is relatively labor-intensive and not conducive to the personal safety of construction personnel.
发明内容SUMMARY OF THE INVENTION
本发明专利的目的:本发明是为了解决于现有安装方式较为耗费人力物力,且不利于施工人员的人身安全的问题,本发明提供一种电缆沟内安装电缆挂架的铺设装置。The purpose of the patent of the present invention: the present invention is to solve the problem that the existing installation method consumes manpower and material resources and is not conducive to the personal safety of construction personnel. The present invention provides a laying device for installing a cable hanger in a cable trench.
本发明的目的是这样实现的:一种电缆沟内安装电缆挂架的铺设装置,它包括门字框架、两个梯形框架、后端板、卷扬机、滑轮组、传动带、多个传动杆、四个万向轮和多个电缆挂架;The purpose of the present invention is to achieve this: a laying device for installing a cable hanger in a cable trench, which includes a door frame, two trapezoidal frames, a rear end plate, a hoist, a pulley block, a transmission belt, a plurality of transmission rods, four Swivel wheels and multiple cable hangers;
所述门字框架的每端设置在一个梯形框架的中部,且门字框架与梯形框架固定连接,每个梯形框架底部的每端均与一个万向轮连接,两个梯形框架的末端通过后端板连接,卷扬机设置在后端板上,所述滑轮组与门字框架顶梁的中部连接,卷扬机的钢丝绳与滑轮组连接,两个梯形框架的前端通过多个传动杆连接,所述传动杆与梯形框架转动连接,所述传动带设置在多个传动杆的外部,多个电缆挂架设置在传动带上,与滑轮组相邻的电缆挂架与滑轮组连接。Each end of the door frame is arranged in the middle of a trapezoid frame, and the door frame is fixedly connected with the trapezoid frame, and each end of the bottom of each trapezoid frame is connected with a universal wheel, and the ends of the two trapezoid frames pass through. The end plate is connected, the hoist is arranged on the rear end plate, the pulley block is connected with the middle of the top beam of the door frame, the wire rope of the winch is connected with the pulley block, the front ends of the two trapezoidal frames are connected by a plurality of transmission rods, and the transmission rods are connected with the pulley block. The trapezoidal frame is rotatably connected, the transmission belt is arranged on the outside of the plurality of transmission rods, the plurality of cable hangers are arranged on the transmission belt, and the cable hangers adjacent to the pulley group are connected with the pulley group.
进一步地,所述传动带上等间距设有隔板。Further, the transmission belt is provided with baffles at equal intervals.
再进一步地,所述传动带为钢履带。Still further, the transmission belt is a steel crawler.
进一步地,相连两个隔板之间设有多个设置在传动带上的定位孔。Further, a plurality of positioning holes arranged on the transmission belt are provided between the two connected partitions.
再进一步地,两个梯形框架的前端还通过前梁连接,所述前梁上设有牵引绳。Still further, the front ends of the two trapezoidal frames are also connected by a front beam, and a traction rope is provided on the front beam.
进一步地,所述电缆挂架包括竖梁和多个平台,多个平台由上至下等间距固定在竖梁上。Further, the cable hanger includes vertical beams and a plurality of platforms, and the plurality of platforms are fixed on the vertical beams at equal intervals from top to bottom.
再进一步地,所述平台两端均设有向上倾斜限位台。Still further, both ends of the platform are provided with upwardly inclined limit platforms.
有益效果:Beneficial effects:
本发明的铺设装置可以电缆挂架的运输和安装;本发明设备的电缆吊架可深入电缆沟内部,电缆挂架用于后续安装电缆避免施工作业人员乱放电缆,及多次倒放电缆,因此可避免电缆外皮及电缆中间接头收到破坏。The laying device of the present invention can transport and install the cable hanger; the cable hanger of the device of the present invention can penetrate deep into the cable trench, and the cable hanger is used for subsequent installation of cables to avoid construction workers from randomly placing cables and laying cables upside down for many times. Therefore, damage to the cable sheath and the cable intermediate joint can be avoided.
附图说明Description of drawings
为了更清楚地说明本发明实施例的技术方案,下面将对本发明实施例中所需要使用的附图做简单的介绍,显而易见地,下面所描述的附图仅仅是本申请的一些实施例,对于本领域普通技术人员来讲,在不付出创造性劳动的前提下还可以根据这些附图获得其他的附图。In order to explain the technical solutions of the embodiments of the present invention more clearly, the following will briefly introduce the drawings that need to be used in the embodiments of the present invention. Obviously, the drawings described below are only some embodiments of the present application. For those of ordinary skill in the art, other drawings can also be obtained from these drawings without creative effort.
下面结合附图及具体实施例对本发明作更进一步详细说明。The present invention will be described in further detail below in conjunction with the accompanying drawings and specific embodiments.
图1为本发明的结构示意图;Fig. 1 is the structural representation of the present invention;
图2为图1的左视图;Fig. 2 is the left side view of Fig. 1;
图3为图1的右视图;Fig. 3 is the right side view of Fig. 1;
图4为电缆挂架的放大图。Figure 4 is an enlarged view of the cable hanger.
具体实施方式Detailed ways
下面详细描述本发明的实施方式,所述实施方式的示例在附图中示出,其中自始至终相同或类似的标号表示相同或类似的元件或具有相同或类似功能的元件。下面通过参考附图描述的实施方式是示例性的,仅用于解释本发明,而不能解释为对本发明的限制。Embodiments of the present invention are described in detail below, examples of which are illustrated in the accompanying drawings, wherein the same or similar reference numerals refer to the same or similar elements or elements having the same or similar functions throughout. The embodiments described below with reference to the accompanying drawings are exemplary and are only used to explain the present invention, but not to be construed as a limitation of the present invention.
本技术领域技术人员可以理解,除非特意声明,这里使用的单数形式“一”、“一个”、“所述”和“该”也可包括复数形式。应该进一步理解的是,本发明的说明书中使用的措辞“包括”是指存在所述特征、整数、步骤、操作、元件和/或组件,但是并不排除存在或添加一个或多个其他特征、整数、步骤、操作、元件、组件和/或它们的组。应该理解,当我们称元件被“连接”或“耦接”到另一元件时,它可以直接连接或耦接到其他元件,或者也可以存在中间元件。此外,这里使用的“连接”或“耦接”可以包括无线连接或耦接。这里使用的措辞“和/或”包括一个或更多个相关联的列出项的任一单元和全部组合。It will be understood by those skilled in the art that the singular forms "a", "an", "the" and "the" as used herein can include the plural forms as well, unless expressly stated otherwise. It should be further understood that the word "comprising" used in the description of the present invention refers to the presence of stated features, integers, steps, operations, elements and/or components, but does not exclude the presence or addition of one or more other features, Integers, steps, operations, elements, components and/or groups thereof. It will be understood that when we refer to an element as being "connected" or "coupled" to another element, it can be directly connected or coupled to the other element or intervening elements may also be present. Furthermore, "connected" or "coupled" as used herein may include wirelessly connected or coupled. As used herein, the term "and/or" includes any and all combinations of one or more of the associated listed items.
在本发明的描述中,需要说明的是,术语“中心”、“上”、“下”、“左”、“右”、“竖直”、“水平”、“内”、“外”等指示的方位或位置关系为基于附图所示的方位或位置关系,仅是为了便于描述本发明和简化描述,而不是指示或暗示所指的装置或元件必须具有特定的方位、以特定的方位构造和操作,因此不能理解为对本发明的限制。此外,术语“第一”、“第二”、“第三”仅用于描述目的,而不能理解为指示或暗示相对重要性。In the description of the present invention, it should be noted that the terms "center", "upper", "lower", "left", "right", "vertical", "horizontal", "inner", "outer", etc. The indicated orientation or positional relationship is based on the orientation or positional relationship shown in the accompanying drawings, which is only for the convenience of describing the present invention and simplifying the description, rather than indicating or implying that the indicated device or element must have a specific orientation or a specific orientation. construction and operation, and therefore should not be construed as limiting the invention. Furthermore, the terms "first", "second", and "third" are used for descriptive purposes only and should not be construed to indicate or imply relative importance.
在本发明的描述中,需要说明的是,除非另有明确的规定和限定,术语“安装”、“相连”、“连接”应做广义理解,例如,可以是固定连接,也可以是可拆卸连接,或一体地连接;可以是机械连接,也可以是电连接;可以是直接相连,也可以通过中间媒介间接相连,可以是两个元件内部的连通。对于本领域的普通技术人员而言,可以具体情况理解上述术语在本发明中的具体含义。In the description of the present invention, it should be noted that the terms "installed", "connected" and "connected" should be understood in a broad sense, unless otherwise expressly specified and limited, for example, it may be a fixed connection or a detachable connection Connection, or integral connection; can be mechanical connection, can also be electrical connection; can be directly connected, can also be indirectly connected through an intermediate medium, can be internal communication between two elements. For those of ordinary skill in the art, the specific meanings of the above terms in the present invention can be understood in specific situations.
本技术领域技术人员可以理解,除非另外定义,这里使用的所有术语(包括技术术语和科学术语)具有与本发明所属领域中的普通技术人员的一般理解相同的意义。还应该理解的是,诸如通用字典中定义的那些术语应该被理解为具有与现有技术的上下文中的意义一致的意义,并且除非像这里一样定义,不会用理想化或过于正式的含义来解释。It will be understood by those skilled in the art that, unless otherwise defined, all terms (including technical and scientific terms) used herein have the same meaning as commonly understood by one of ordinary skill in the art to which this invention belongs. It should also be understood that terms such as those defined in general dictionaries should be understood to have meanings consistent with their meanings in the context of the prior art and, unless defined as herein, are not to be taken in an idealized or overly formal sense. explain.
为便于对本发明实施例的理解,下面将结合附图以几个具体实施例为例做进一步的解释说明,且各个实施例并不构成对本发明实施例的限定。In order to facilitate the understanding of the embodiments of the present invention, the following will take several specific embodiments as examples for further explanation and description in conjunction with the accompanying drawings, and each embodiment does not constitute a limitation to the embodiments of the present invention.
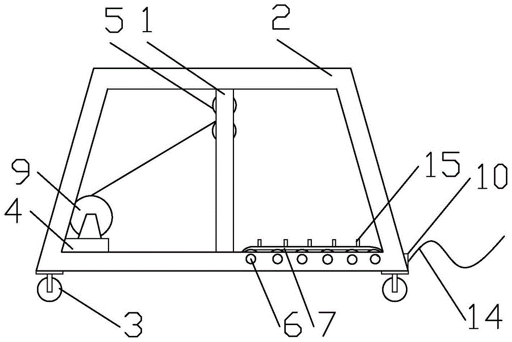
具体实施方式一:一种电缆沟内安装电缆挂架的铺设装置,它包括门字框架1、两个梯形框架2、后端板4、卷扬机9、滑轮组5、传动带7、多个传动杆6、四个万向轮3和多个电缆挂架8;Embodiment 1: A laying device for installing a cable hanger in a cable trench, which includes a
所述门字框架1的每端设置在一个梯形框架2的中部,且门字框架1与梯形框架2固定连接,每个梯形框架2底部的每端均与一个万向轮3连接,两个梯形框架2的末端通过后端板4连接,卷扬机9设置在后端板上,所述滑轮组5与门字框架1顶梁的中部连接,卷扬机9的钢丝绳与滑轮组5连接,两个梯形框架2的前端通过多个传动杆6连接,所述传动杆6与梯形框架2转动连接,所述传动带7设置在多个传动杆6的外部,多个电缆挂架8设置在传动带7上,与滑轮组5相邻的电缆挂架8与滑轮组5连接。Each end of the
本实施方式中:门字框架与梯形框架组成整体支撑,卷扬机可以调节滑轮组中下方滑轮的升降高度,进而,卷扬机可以控制挂在滑轮组上的电缆挂架进行升降,梯形框架底部安装万向轮,整个铺设装置能沿电缆沟两端的路面前进,在电缆沟合适的位置,卷扬机构带动滑轮组的下方滑轮下降,进而完成电缆挂架下降,将电缆挂架放到电缆沟中,之后,传动带运动,带动传动带上的电缆挂架运动,重新在滑轮组处再挂一个电缆挂架,铺设装置运行一端距离后,依上述方式,继续向电缆沟中投放电缆挂架。In the present embodiment: the door-shaped frame and the trapezoid frame form an integral support, the hoist can adjust the lifting height of the lower pulley in the pulley block, and then the hoist can control the cable hanger hanging on the pulley block to lift and lower, and the bottom of the trapezoid frame is equipped with a universal wheel, The entire laying device can advance along the road surface at both ends of the cable trench. At the appropriate position of the cable trench, the hoisting mechanism drives the lower pulley of the pulley block to descend, and then completes the descending of the cable hanger. The cable hanger is placed in the cable trench. Drive the cable hanger on the transmission belt to move, and hang another cable hanger at the pulley block. After the laying device runs for one end of the distance, continue to put the cable hanger into the cable trench according to the above method.
具体实施方式二:一种电缆沟内安装电缆吊架的铺设装置,所述传动带7上等间距设有隔板15。Embodiment 2: A laying device for installing a cable hanger in a cable trench, the transmission belt 7 is provided with
本实施方式中:隔板用于分隔电缆挂架,以便传送带上放置多个电缆挂架。In this embodiment, the partition plate is used to separate the cable hangers, so that a plurality of cable hangers can be placed on the conveyor belt.
其他实施方式与具体实施方式一相同。Other embodiments are the same as the first embodiment.
具体实施方式三:一种电缆沟内安装电缆吊架的铺设装置,所述传动带7为钢履带。Embodiment 3: A laying device for installing a cable hanger in a cable trench, and the transmission belt 7 is a steel crawler.
本实施方式中:钢履带用于运输电缆挂架,传动带为钢履带,传动带强度高。In this embodiment, the steel crawler is used to transport the cable hanger, the transmission belt is a steel crawler, and the strength of the transmission belt is high.
其他实施方式与具体实施方式二相同。Other embodiments are the same as the second embodiment.
具体实施方式四:一种电缆沟内安装电缆吊架的铺设装置,相连两个隔板8之间设有多个设置在传动带上的定位孔。Embodiment 4: A laying device for installing a cable hanger in a cable trench, a plurality of positioning holes arranged on the transmission belt are provided between two connected partitions 8 .
其他实施方式与具体实施方式三相同。Other embodiments are the same as the third embodiment.
具体实施方式五:一种电缆沟内安装电缆吊架的铺设装置,两个梯形框架2的前端还通过前梁10连接,所述前梁10上设有牵引绳14。Embodiment 5: A laying device for installing a cable hanger in a cable trench, the front ends of the two
本实施方式中:牵引绳用于牵引前梁,前梁带动整个铺设装置运动,可选择地,牵引绳可以通过人力或车辆进行牵引。In this embodiment, the traction rope is used to pull the front beam, and the front beam drives the entire laying device to move. Optionally, the traction rope can be pulled by manpower or a vehicle.
其他实施方式与具体实施方式一相同。Other embodiments are the same as the first embodiment.
具体实施方式六:一种电缆沟内安装电缆吊架的铺设装置,所述电缆挂架8包括竖梁11和多个平台12,多个平台12由上至下等间距固定在竖梁11上。Embodiment 6: A laying device for installing a cable hanger in a cable trench, the cable hanger 8 includes a
本实施方式中:平台用于摆放电缆,数量用于支撑平台。In this embodiment, the platform is used to place cables, and the number is used to support the platform.
其他实施方式与具体实施方式五相同。Other embodiments are the same as the fifth embodiment.
具体实施方式七:一种电缆沟内安装电缆吊架的铺设装置,其特征在于:所述平台12两端均设有向上倾斜限位台13。Embodiment 7: A laying device for installing a cable hanger in a cable trench, characterized in that: both ends of the
本实施方式中:限位台用于限制电缆的位置。In this embodiment, the limiter is used to limit the position of the cable.
其他实施方式与具体实施方式一相同。Other embodiments are the same as the first embodiment.
Claims (7)
Priority Applications (1)
| Application Number | Priority Date | Filing Date | Title |
|---|---|---|---|
| CN202210998551.6A CN115241803A (en) | 2022-08-19 | 2022-08-19 | A laying device for installing a cable hanger in a cable trench |
Applications Claiming Priority (1)
| Application Number | Priority Date | Filing Date | Title |
|---|---|---|---|
| CN202210998551.6A CN115241803A (en) | 2022-08-19 | 2022-08-19 | A laying device for installing a cable hanger in a cable trench |
Publications (1)
| Publication Number | Publication Date |
|---|---|
| CN115241803A true CN115241803A (en) | 2022-10-25 |
Family
ID=83680445
Family Applications (1)
| Application Number | Title | Priority Date | Filing Date |
|---|---|---|---|
| CN202210998551.6A Pending CN115241803A (en) | 2022-08-19 | 2022-08-19 | A laying device for installing a cable hanger in a cable trench |
Country Status (1)
| Country | Link |
|---|---|
| CN (1) | CN115241803A (en) |
Citations (17)
| Publication number | Priority date | Publication date | Assignee | Title |
|---|---|---|---|---|
| CN101478124A (en) * | 2009-02-18 | 2009-07-08 | 中建八局第一建设有限公司 | Automatic laying method for electric cable and apparatus thereof |
| KR20120020437A (en) * | 2010-08-30 | 2012-03-08 | 대우조선해양 주식회사 | Support for cable drum |
| CN205653096U (en) * | 2016-05-23 | 2016-10-19 | 国网辽宁省电力有限公司抚顺供电公司 | Cable trench cover moving device |
| CN106892362A (en) * | 2016-05-11 | 2017-06-27 | 李刚 | Boom hoisting |
| CN207671613U (en) * | 2017-11-27 | 2018-07-31 | 中国二冶集团有限公司 | A kind of lift cart of Pipe installing |
| CN207782294U (en) * | 2018-01-15 | 2018-08-28 | 中国建筑第八工程局有限公司 | Cable dragging device |
| CN108516464A (en) * | 2018-04-28 | 2018-09-11 | 上海市安装工程集团有限公司 | A kind of accompanying cable vertical lifting system of wirerope and its construction method |
| CN109160443A (en) * | 2018-10-11 | 2019-01-08 | 江苏泰华消防电气设备有限公司 | A kind of construction material transport lifter |
| CN208471431U (en) * | 2018-05-29 | 2019-02-05 | 中建安装工程有限公司 | A kind of mobile lifting trolley |
| CN208775644U (en) * | 2018-08-29 | 2019-04-23 | 江苏众利达自动化设备有限公司 | A kind of square tube automatic feed mechanism |
| CN211530649U (en) * | 2020-04-13 | 2020-09-18 | 三一重能有限公司 | Cable bridge and cable laying system |
| CN212174327U (en) * | 2019-11-28 | 2020-12-18 | 四川依盾机电科技有限公司 | Elevating gear is used in electromechanical installation |
| CN112217150A (en) * | 2020-10-21 | 2021-01-12 | 国网山东省电力公司潍坊供电公司 | A kind of building cable laying traction device |
| CN215326177U (en) * | 2021-07-14 | 2021-12-28 | 四川江虹线缆制造有限公司 | Cable winding and unwinding devices |
| CN216336253U (en) * | 2021-10-19 | 2022-04-19 | 南京辉强新能源科技有限公司 | Construction device for cable trench concrete cover plate |
| CN216583985U (en) * | 2021-11-29 | 2022-05-24 | 兰州交通大学 | Elevating gear for civil engineering |
| CN216785277U (en) * | 2021-11-16 | 2022-06-21 | 国家电网有限公司 | Light intelligent cable paying-off machine |
-
2022
- 2022-08-19 CN CN202210998551.6A patent/CN115241803A/en active Pending
Patent Citations (17)
| Publication number | Priority date | Publication date | Assignee | Title |
|---|---|---|---|---|
| CN101478124A (en) * | 2009-02-18 | 2009-07-08 | 中建八局第一建设有限公司 | Automatic laying method for electric cable and apparatus thereof |
| KR20120020437A (en) * | 2010-08-30 | 2012-03-08 | 대우조선해양 주식회사 | Support for cable drum |
| CN106892362A (en) * | 2016-05-11 | 2017-06-27 | 李刚 | Boom hoisting |
| CN205653096U (en) * | 2016-05-23 | 2016-10-19 | 国网辽宁省电力有限公司抚顺供电公司 | Cable trench cover moving device |
| CN207671613U (en) * | 2017-11-27 | 2018-07-31 | 中国二冶集团有限公司 | A kind of lift cart of Pipe installing |
| CN207782294U (en) * | 2018-01-15 | 2018-08-28 | 中国建筑第八工程局有限公司 | Cable dragging device |
| CN108516464A (en) * | 2018-04-28 | 2018-09-11 | 上海市安装工程集团有限公司 | A kind of accompanying cable vertical lifting system of wirerope and its construction method |
| CN208471431U (en) * | 2018-05-29 | 2019-02-05 | 中建安装工程有限公司 | A kind of mobile lifting trolley |
| CN208775644U (en) * | 2018-08-29 | 2019-04-23 | 江苏众利达自动化设备有限公司 | A kind of square tube automatic feed mechanism |
| CN109160443A (en) * | 2018-10-11 | 2019-01-08 | 江苏泰华消防电气设备有限公司 | A kind of construction material transport lifter |
| CN212174327U (en) * | 2019-11-28 | 2020-12-18 | 四川依盾机电科技有限公司 | Elevating gear is used in electromechanical installation |
| CN211530649U (en) * | 2020-04-13 | 2020-09-18 | 三一重能有限公司 | Cable bridge and cable laying system |
| CN112217150A (en) * | 2020-10-21 | 2021-01-12 | 国网山东省电力公司潍坊供电公司 | A kind of building cable laying traction device |
| CN215326177U (en) * | 2021-07-14 | 2021-12-28 | 四川江虹线缆制造有限公司 | Cable winding and unwinding devices |
| CN216336253U (en) * | 2021-10-19 | 2022-04-19 | 南京辉强新能源科技有限公司 | Construction device for cable trench concrete cover plate |
| CN216785277U (en) * | 2021-11-16 | 2022-06-21 | 国家电网有限公司 | Light intelligent cable paying-off machine |
| CN216583985U (en) * | 2021-11-29 | 2022-05-24 | 兰州交通大学 | Elevating gear for civil engineering |
Similar Documents
| Publication | Publication Date | Title |
|---|---|---|
| CN106698208B (en) | A kind of hanging device and hanging method for being transported outside high-rise building | |
| CN109081247A (en) | A kind of hanging method of vestibule large-span steel girder | |
| CN111847267A (en) | A cantilever crane | |
| CN206562264U (en) | A kind of hanging device for transport outside high-rise building | |
| CN110760634A (en) | Blast furnace shell installation method | |
| CN110668324B (en) | Tower crane movable passageway system | |
| CN115241803A (en) | A laying device for installing a cable hanger in a cable trench | |
| CN110745683A (en) | Hoisting device and method for reinforcement cage of underground continuous wall | |
| CN115897984A (en) | Chimney overturning construction operation platform and device | |
| CN114835016A (en) | Lifting equipment for transferring large-scale equipment in basement and mounting construction method thereof | |
| CN106144929A (en) | Group hoist device and construction method | |
| CN103183283B (en) | System and method for installing lifting rigging | |
| CN211473441U (en) | Assembled wallboard transportation equipment | |
| CN209872117U (en) | Hoisting device and hoisting system | |
| CN201857225U (en) | Hoisting device for bridge crane frame | |
| CN217376980U (en) | double-T-beam self-balancing hoisting sling | |
| CN216663844U (en) | Bridge floor transverse prestress tensioning auxiliary device | |
| CN113753716B (en) | Method for installing guide rail of elevator arraying crane with machine room | |
| CN110409803A (en) | Dismantle the hanging method of hydraulic mould lifting device center drum circle | |
| CN210915021U (en) | Large-tonnage hoisting device for bridge | |
| WO2023082951A1 (en) | Building construction lifting/lowering method | |
| CN111453630B (en) | Bridge deck crane and use method thereof | |
| CN2756806Y (en) | New vertically mounting and lifting drilling bit derrick | |
| CN209906186U (en) | Building template cross-floor transportation equipment | |
| CN220364263U (en) | Suspension type lifting construction system |
Legal Events
| Date | Code | Title | Description |
|---|---|---|---|
| PB01 | Publication | ||
| PB01 | Publication | ||
| SE01 | Entry into force of request for substantive examination | ||
| SE01 | Entry into force of request for substantive examination | ||
| WD01 | Invention patent application deemed withdrawn after publication |
Application publication date: 20221025 |
|
| WD01 | Invention patent application deemed withdrawn after publication |
