CN115227492A - Multi-terrain wheelchair seat for rehabilitation of middle-aged and old people - Google Patents
Multi-terrain wheelchair seat for rehabilitation of middle-aged and old people Download PDFInfo
- Publication number
- CN115227492A CN115227492A CN202210946772.9A CN202210946772A CN115227492A CN 115227492 A CN115227492 A CN 115227492A CN 202210946772 A CN202210946772 A CN 202210946772A CN 115227492 A CN115227492 A CN 115227492A
- Authority
- CN
- China
- Prior art keywords
- fixed mounting
- rack
- aged
- fixedly mounted
- fixed
- Prior art date
- Legal status (The legal status is an assumption and is not a legal conclusion. Google has not performed a legal analysis and makes no representation as to the accuracy of the status listed.)
- Pending
Links
- 239000004744 fabric Substances 0.000 claims abstract description 18
- 230000001681 protective effect Effects 0.000 claims abstract description 10
- 230000036541 health Effects 0.000 claims abstract description 9
- 238000012423 maintenance Methods 0.000 claims abstract description 8
- 238000007789 sealing Methods 0.000 claims description 11
- 229920001971 elastomer Polymers 0.000 claims description 7
- 229920001821 foam rubber Polymers 0.000 claims description 4
- 230000005611 electricity Effects 0.000 claims description 3
- 238000012876 topography Methods 0.000 claims description 2
- 125000006850 spacer group Chemical group 0.000 claims 3
- 230000006978 adaptation Effects 0.000 claims 2
- 239000003351 stiffener Substances 0.000 claims 1
- 238000004140 cleaning Methods 0.000 abstract 1
- 230000002708 enhancing effect Effects 0.000 abstract 1
- 230000000694 effects Effects 0.000 description 15
- 230000003014 reinforcing effect Effects 0.000 description 5
- 230000009471 action Effects 0.000 description 3
- 230000005540 biological transmission Effects 0.000 description 3
- 239000012535 impurity Substances 0.000 description 3
- 238000005192 partition Methods 0.000 description 3
- 238000000926 separation method Methods 0.000 description 3
- XLYOFNOQVPJJNP-UHFFFAOYSA-N water Substances O XLYOFNOQVPJJNP-UHFFFAOYSA-N 0.000 description 3
- 230000007547 defect Effects 0.000 description 2
- 239000010865 sewage Substances 0.000 description 2
- 230000037072 sun protection Effects 0.000 description 2
- 230000009286 beneficial effect Effects 0.000 description 1
- 230000006872 improvement Effects 0.000 description 1
- 230000004048 modification Effects 0.000 description 1
- 238000012986 modification Methods 0.000 description 1
- 230000035699 permeability Effects 0.000 description 1
- 230000002035 prolonged effect Effects 0.000 description 1
- 239000002352 surface water Substances 0.000 description 1
- 230000007306 turnover Effects 0.000 description 1
Images
Classifications
-
- A—HUMAN NECESSITIES
- A61—MEDICAL OR VETERINARY SCIENCE; HYGIENE
- A61G—TRANSPORT, PERSONAL CONVEYANCES, OR ACCOMMODATION SPECIALLY ADAPTED FOR PATIENTS OR DISABLED PERSONS; OPERATING TABLES OR CHAIRS; CHAIRS FOR DENTISTRY; FUNERAL DEVICES
- A61G5/00—Chairs or personal conveyances specially adapted for patients or disabled persons, e.g. wheelchairs
-
- A—HUMAN NECESSITIES
- A61—MEDICAL OR VETERINARY SCIENCE; HYGIENE
- A61G—TRANSPORT, PERSONAL CONVEYANCES, OR ACCOMMODATION SPECIALLY ADAPTED FOR PATIENTS OR DISABLED PERSONS; OPERATING TABLES OR CHAIRS; CHAIRS FOR DENTISTRY; FUNERAL DEVICES
- A61G5/00—Chairs or personal conveyances specially adapted for patients or disabled persons, e.g. wheelchairs
- A61G5/10—Parts, details or accessories
-
- A—HUMAN NECESSITIES
- A61—MEDICAL OR VETERINARY SCIENCE; HYGIENE
- A61G—TRANSPORT, PERSONAL CONVEYANCES, OR ACCOMMODATION SPECIALLY ADAPTED FOR PATIENTS OR DISABLED PERSONS; OPERATING TABLES OR CHAIRS; CHAIRS FOR DENTISTRY; FUNERAL DEVICES
- A61G5/00—Chairs or personal conveyances specially adapted for patients or disabled persons, e.g. wheelchairs
- A61G5/10—Parts, details or accessories
- A61G5/1094—Tables, working plates or trays
-
- A—HUMAN NECESSITIES
- A61—MEDICAL OR VETERINARY SCIENCE; HYGIENE
- A61G—TRANSPORT, PERSONAL CONVEYANCES, OR ACCOMMODATION SPECIALLY ADAPTED FOR PATIENTS OR DISABLED PERSONS; OPERATING TABLES OR CHAIRS; CHAIRS FOR DENTISTRY; FUNERAL DEVICES
- A61G5/00—Chairs or personal conveyances specially adapted for patients or disabled persons, e.g. wheelchairs
- A61G5/10—Parts, details or accessories
- A61G5/12—Rests specially adapted therefor, e.g. for the head or the feet
- A61G5/128—Rests specially adapted therefor, e.g. for the head or the feet for feet
-
- B—PERFORMING OPERATIONS; TRANSPORTING
- B08—CLEANING
- B08B—CLEANING IN GENERAL; PREVENTION OF FOULING IN GENERAL
- B08B1/00—Cleaning by methods involving the use of tools
- B08B1/10—Cleaning by methods involving the use of tools characterised by the type of cleaning tool
- B08B1/14—Wipes; Absorbent members, e.g. swabs or sponges
- B08B1/143—Wipes
-
- B—PERFORMING OPERATIONS; TRANSPORTING
- B08—CLEANING
- B08B—CLEANING IN GENERAL; PREVENTION OF FOULING IN GENERAL
- B08B1/00—Cleaning by methods involving the use of tools
- B08B1/20—Cleaning of moving articles, e.g. of moving webs or of objects on a conveyor
Landscapes
- Health & Medical Sciences (AREA)
- Life Sciences & Earth Sciences (AREA)
- Animal Behavior & Ethology (AREA)
- General Health & Medical Sciences (AREA)
- Public Health (AREA)
- Veterinary Medicine (AREA)
- Rehabilitation Tools (AREA)
Abstract
The invention relates to the technical field of wheelchairs, in particular to a multi-terrain wheelchair seat for the rehabilitation of middle-aged and old people, which comprises two frame bodies, wherein one side of each frame body is rotatably provided with a first roller, protective cloth is fixedly arranged inside each frame body and on one side of each frame body, a fixed wheel is fixedly arranged on one side of each roller, a second roller is rotatably arranged on the side end of each frame body, one side of each frame body is fixedly provided with a handle, one side of each frame body is fixedly provided with a placing frame, the top end of each placing frame is fixedly provided with two stand columns, the top ends of the two stand columns are fixedly provided with cross rods, one side of each cross rod is fixedly provided with a connecting rod, and racks are movably arranged on two sides of each placing frame. The multi-terrain wheelchair seat for the health maintenance of the middle-aged and the elderly is simple in structure, convenient to use, capable of enhancing connectivity, multifunctional, capable of cleaning the fixed wheels, capable of shading light and keeping out rain, capable of storing objects, capable of improving use safety and capable of prolonging service life of the wheelchair.
Description
Technical Field
The invention relates to the technical field of wheelchairs, in particular to a multi-terrain wheelchair seat for health maintenance of middle-aged and old people.
Background
Wheelchairs are chairs equipped with wheels to help replace walking and are classified into electric and manual folding wheelchairs. The wheelchair is an important moving tool for home rehabilitation, turnover transportation, treatment and outgoing activities of wounded persons, patients and disabled persons, not only meets the requirements of physical disabilities and mobility-handicapped persons for riding instead of walk, but also is more important to facilitate the family members to move and take care of the patients, so that the patients can carry out physical exercise and participate in social activities by means of the wheelchair, and the patients can move the wheelchair by pushing the fixed wheels.
When a patient with mobility disorder sits on a wheelchair to go out for activity, surface water is accumulated due to the fact that the outside rains, when the wheelchair is in a walking state, muddy water is easily splashed to the surface of a fixed wheel, and the use of the patient with mobility disorder is influenced.
Disclosure of Invention
Aiming at the defects of the prior art, the invention provides a multi-terrain wheelchair seat for health maintenance of middle-aged and elderly people, overcomes the defects of the prior art, and aims to solve the problems that when a mobility-impaired patient sits on a wheelchair to go out for activity, due to the fact that the outside rains, water is accumulated on the ground, and when the wheelchair travels, muddy water is easily splashed on the surfaces of fixed wheels, so that the use of the mobility-impaired patient is affected.
In order to achieve the purpose, the invention provides the following technical scheme: the utility model provides a many topography wheelchair seatings of well old age rehabilitation, includes two support bodies, one side of support body is rotated and is installed the gyro wheel No. one, two the inside and the equal fixed mounting in one side of support body have protective cloth, one side fixed mounting of gyro wheel has the tight pulley, the side of support body is rotated and is installed the gyro wheel No. two, one side fixed mounting of support body has the handle, one side fixed mounting of support body has the rack, the top fixed mounting of rack has two stands, two the top fixed mounting of stand has the horizontal pole, one side fixed mounting of horizontal pole has the connecting rod, the equal movable mounting in both sides of rack has the rack, the rack is close to one side fixed mounting of tight pulley has the sponge piece, be located in the rack one side meshing of rack has the gear, the gear is in the rack internal rotation, the top fixed mounting of gear has the top of gear, the fixed axle is in the stand internal rotation, the fixed axle, the top fixed mounting of fixed axle has first worm wheel, first worm wheel is in the internal rotation of first worm wheel, be located in one side meshing of first worm wheel has first worm wheel, first worm wheel is in the horizontal pole internal rotation, one side fixed mounting of second worm wheel has the worm wheel, the worm wheel is in one side fixed mounting of second worm wheel, the worm wheel is in the horizontal pole and the worm wheel, the worm wheel width of the horizontal pole, the worm wheel is provided with the worm wheel, the worm wheel fixing rod, the worm wheel fixing is provided with the worm wheel, the worm wheel fixing is provided with the worm wheel, the worm wheel is provided with the worm wheel.
According to a preferred technical scheme, a fixed block is fixedly mounted on one side of a frame body, a first electric telescopic rod is fixedly mounted at the top end of the fixed block, a mounting seat is fixedly mounted at the top end of the first electric telescopic rod, a first baffle is arranged above the mounting seat, a supporting block is fixedly mounted at the bottom end of the first baffle and rotatably mounted in the mounting seat, a limiting block is fixedly mounted on one side of the mounting seat, a second baffle is arranged above the first baffle, folding cloth is fixedly mounted between the first baffle and the second baffle, a handle is fixedly mounted on one side of the second baffle, a first mounting plate is fixedly mounted on two sides of the first baffle, a second mounting plate is fixedly mounted on two sides of the second baffle, and a second electric telescopic rod is fixedly mounted between the first mounting plate and the second mounting plate.
As a preferred technical scheme of the invention, one side of each of the two frame bodies is fixedly provided with a fixed rod, one side of each fixed rod is rotatably provided with a pedal, and the top end of each pedal is provided with an anti-skidding groove.
As a preferred technical scheme, the top end of the placing frame is fixedly provided with the electricity storage box, the top end of the protective cloth is fixedly provided with the spongy cushion, and the top end of the spongy cushion is provided with a plurality of air holes.
According to a preferable technical scheme, the storage boxes are fixedly mounted at the top ends of the two frame bodies, the storage cavities are formed in the storage boxes, and the storage bag is fixedly mounted on one side of the protective cloth.
As a preferable technical scheme, one side of the top end of the storage box is hinged with a cover plate, a sealing ring is fixedly mounted at the top end of the cover plate and matched with the storage cavity, and a rubber pad is fixedly mounted at the bottom end of the cover plate.
As a preferred technical scheme of the invention, fixing seats are fixedly mounted on opposite sides of the two storage boxes, safety belts are rotatably mounted on one sides of the fixing seats, inserting buckles are fixedly mounted on the sides, far away from the fixing seats, of the safety belts, and the two safety belts are fixed through the inserting buckles.
As a preferable technical scheme, the storage box is internally and fixedly provided with a separating block, the separating block separates a storage cavity into two chambers, a telescopic column is fixedly arranged in the chamber of the storage box on one side of the separating block, the top end of the telescopic column is fixedly provided with a movable seat, and the top end of the movable seat is rotatably provided with a placing plate.
According to a preferable technical scheme of the invention, one side of the placing plate is provided with a limiting plate, the limiting plate is fixedly connected with the placing plate, and the bottom end of the limiting plate is in lap joint with the top end of the separating block.
As a preferred technical scheme of the invention, a corrugated pipe is sleeved on the outer side of the second electric telescopic rod, and the top end and the bottom end of the corrugated pipe are respectively and fixedly connected with the first mounting plate and the second mounting plate.
Compared with the prior art, the invention has the beneficial effects that:
1. the rack is arranged in the frame body, the racks are arranged on two sides of the rack, a user rotates the hand wheel to enable the second worm to drive the second worm wheel to rotate, the first worm is driven to rotate through the second worm wheel, then the first worm drives the first worm wheel to rotate, the rotating shaft drives the gear to rotate, so that the rack transmission is adjusted, the sponge block moves towards the fixed wheel, the fixed wheel is located in the sponge block groove, the sponge block cleans sewage and impurities on the surface of the fixed wheel, the using effect of a patient is improved, and the practicability is enhanced;
2. the side end of the frame body is fixedly provided with the fixed block, the top end of the fixed block is fixedly provided with the first electric telescopic rod, the first baffle can be conveniently lifted and lowered through the first electric telescopic rod, the height can be adjusted, the bottom end of the first baffle can rotate in the mounting seat through the mounting seat, the first baffle can be conveniently overturned and limited through the limiting block, the first mounting plate is arranged on the two sides of the first baffle, the second mounting plate is arranged on the two sides of the second baffle, the second electric telescopic rod is fixedly arranged between the first mounting plate and the second mounting plate, the distance between the first baffle and the second baffle can be conveniently adjusted, the folding cloth is arranged, the protection effect between the first baffle and the second baffle is achieved, the functions of sun protection, rain protection and the like are achieved, and the use effect of the wheelchair is improved;
3. the storage boxes are respectively arranged on the two sides of the frame body, so that articles such as newspapers and magazines can be conveniently stored, the reading and the checking of the old can be facilitated, the safety belts are rotatably arranged on the inner sides of the two storage boxes, the two safety belts are connected through the inserting buckle, the old can be protected, the use safety of the wheelchair can be improved, the reinforcing rod is fixedly arranged between the two frame bodies, the use strength of the wheelchair can be improved, and the service life of the wheelchair can be prolonged;
4. the storage box on one side is internally provided with the separation block to separate the storage cavity into two cavities, the telescopic column is fixedly arranged in one cavity, the placing plate is pulled to extend the telescopic column, the angle of the extended placing plate is convenient to adjust by arranging the movable seat, the placing plate is arranged to facilitate the old people to place articles such as newspapers and magazines, the storage cavity is protected by arranging the cover plate, the sealing performance is enhanced by arranging the sealing ring, the waterproof function is realized, and the use comfort level of the old people is enhanced by arranging the rubber pad;
5. through being provided with the foam-rubber cushion, improve old man's comfort level in use, through being provided with the storing bag, be convenient for place old man's articles for daily use, through having seted up anti-skidding groove on the running-board, have good anti-skidding effect, reinforcing safety in utilization through being provided with the bellows, plays the guard action to No. two electric telescopic handle, improves No. two life with computer telescopic handle.
Drawings
FIG. 1 is a schematic view of the overall structure of the present invention;
FIG. 2 is a schematic view of another embodiment of the present invention;
FIG. 3 is a schematic top view of the present invention;
fig. 4 is a schematic view of the internal structure of the placement frame of the present invention;
FIG. 5 is an enlarged structural view of the area A in FIG. 3 according to the present invention;
FIG. 6 is a schematic view of the inside structure of the bellows of the present invention;
FIG. 7 is an enlarged view of the area B in FIG. 3 according to the present invention;
fig. 8 is an enlarged structural view of the region C in fig. 2 according to the present invention.
In the figure: 1. a frame body; 2. a first roller; 3. protective cloth; 4. a fixed wheel; 5. a second roller; 6. placing a rack; 601. a column; 602. a cross bar; 603. a connecting rod; 604. a rack; 605. a gear; 606. a fixed shaft; 607. a first worm gear; 608. a first worm; 609. a second worm gear; 610. a second worm; 611. a sponge block; 612. a reinforcing rod; 7. a fixed block; 8. an electric telescopic rod I; 9. a mounting seat; 10. a first baffle; 11. a supporting block; 12. a limiting block; 13. a second baffle; 14. folding the cloth; 15. a grip; 16. a first mounting plate; 17. a second mounting plate; 18. a second electric telescopic rod; 19. a fixing rod; 20. a foot pedal; 21. an anti-slip groove; 22. a handle; 23. a sponge cushion; 24. an electricity storage box; 25. a storage bag; 26. a storage box; 27. a storage chamber; 28. a cover plate; 29. a seal ring; 30. a rubber pad; 31. a separation block; 32. a telescopic column; 33. a movable seat; 34. placing a plate; 35. a bellows; 36. a limiting plate; 37. a fixed seat; 38. a seat belt; 39. and (4) inserting and buckling.
Detailed Description
The technical solutions in the embodiments of the present invention will be clearly and completely described below with reference to the drawings in the embodiments of the present invention, and it is obvious that the described embodiments are only a part of the embodiments of the present invention, and not all of the embodiments. All other embodiments, which can be derived by a person skilled in the art from the embodiments given herein without making any creative effort, shall fall within the protection scope of the present invention.
Referring to fig. 1-8, a multi-terrain wheelchair seat for health maintenance of middle-aged and old people comprises two frame bodies 1, a fixing rod 19 is fixedly mounted on one side of each of the two frame bodies 1, a pedal plate 20 is rotatably mounted on one side of the fixing rod 19, an anti-slip groove 21 is formed in the top end of the pedal plate 20, and the anti-slip groove 21 is formed in the pedal plate 20, so that a good anti-slip effect is achieved, and the use safety is enhanced.
Specifically, referring to fig. 1-4, a first roller 2 is rotatably mounted on one side of each frame body 1, protective cloth 3 is fixedly mounted inside and on one side of each of the two frame bodies 1, a fixed wheel 4 is fixedly mounted on one side of each first roller 2, and the fixed wheel 4 is used for driving the first roller 2 to move. No. two gyro wheels 5 are installed in the side rotation of support body 1, and one side fixed mounting of support body 1 has handle 22, promotes the wheelchair through using handle 22, makes a gyro wheel 2 and No. two gyro wheels 5 rotate, drives the wheelchair and removes.
Specifically, referring to fig. 1-4, the top ends of the two frame bodies 1 are fixedly provided with storage boxes 26, the storage cavities 27 are formed inside the storage boxes 26, one side of the protective cloth 3 is fixedly provided with a storage bag 25, and the storage boxes 26 are arranged to facilitate storing articles such as newspapers and magazines and facilitate reading and checking by the old. A cover plate 28 is hinged to one side of the top end of the storage box 26, and the storage cavity 27 is protected by the cover plate 28. The top end of the cover plate 28 is fixedly provided with a sealing ring 29, the sealing ring 29 is matched with the storage cavity 27, the sealing performance is enhanced through the sealing ring 29, the waterproof function is achieved, the bottom end of the cover plate 28 is fixedly provided with a rubber pad 30, and the use comfort of the old is enhanced through the rubber pad 30.
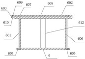
Specifically, referring to fig. 1 to 8, a rack 6 is fixedly mounted on one side of a rack body 1, two upright posts 601 are fixedly mounted on the top end of the rack 6, a cross bar 602 is fixedly mounted on the top ends of the two upright posts 601, a connecting rod 603 is fixedly mounted on one side of the cross bar 602, racks 604 are movably mounted on both sides of the rack 6, a sponge block 611 is fixedly mounted on one side of each rack 604 close to a fixed wheel 4, a gear 605 is engaged with one side of each rack 604 in the rack 6, the gear 605 rotates in the rack 6, a fixed shaft 606 is fixedly mounted on the top end of each gear 605, the fixed shaft 606 rotates in the upright posts 601, a first worm wheel 607 is fixedly mounted on the top end of each fixed shaft 606, the first worm wheel 607 rotates in the cross bar 602, a first worm 608 is engaged with one side of each first worm wheel 607 in the cross bar 602, the first worm 608 rotates in the cross bar 602, a second worm wheel 609 is fixedly mounted on one side of the first worm 608, the second worm wheel 609 rotates in the connecting rod 603, a second worm 610 is meshed at one side of the second worm wheel 609 in the connecting rod 603, the second worm 610 rotates in the connecting rod 603, a hand wheel is arranged at one side of the second worm 610, a reinforcing rod 612 is fixedly installed between the cross rod 602 and the placing rack 6, a groove is formed in one side of the sponge block 611 and is matched with the width of the fixed wheel 4, a user rotates the hand wheel to enable the second worm 610 to drive the second worm wheel 609 to rotate, the first worm 608 rotates through the second worm wheel 609 and drives the first worm wheel 607 to rotate through the first worm 608, the fixed shaft 606 drives the gear 605 to rotate, so that the transmission of the rack 604 is adjusted, the sponge block 611 moves towards the fixed wheel 4 to enable the fixed wheel 4 to be located in the groove of the sponge block 611, the sponge block 611 cleans impurities on the surface of the fixed wheel 4, and improves the using effect of the patient, the practicability is enhanced.
Specifically, referring to fig. 1-5, a partition block 31 is fixedly installed inside the storage box 26, the storage cavity 27 is divided into two chambers by the partition block 31, a telescopic column 32 is fixedly installed in the chamber of the storage box 26 located on one side of the partition block 31, a movable seat 33 is fixedly installed at the top end of the telescopic column 32, a placing plate 34 is rotatably installed at the top end of the movable seat 33, the telescopic column 32 is extended by pulling the placing plate 34, the angle of the extended placing plate 34 is adjusted by the movable seat 33, and the placing plate 34 is arranged, so that the old can place articles such as newspapers and magazines. A limiting plate 36 is arranged on one side of the placing plate 34, the limiting plate 36 is fixedly connected with the placing plate 34, and the bottom end of the limiting plate 36 is overlapped with the top end of the separating block 31.
Specifically, referring to fig. 1-7, a fixed block 7 is fixedly mounted on one side of a frame body 1, a first electric telescopic rod 8 is fixedly mounted on the top end of the fixed block 7, a mounting seat 9 is fixedly mounted on the top end of the first electric telescopic rod 8, a first baffle plate 10 is arranged above the mounting seat 9, a supporting block 11 is fixedly mounted on the bottom end of the first baffle plate 10, the supporting block 11 is rotatably mounted in the mounting seat 9, a limiting block 12 is fixedly mounted on one side of the mounting seat 9, a second baffle plate 13 is arranged above the first baffle plate 10, a folding cloth 14 is fixedly mounted between the first baffle plate 10 and the second baffle plate 13, a handle 15 is fixedly mounted on one side of the second baffle plate 13, a first mounting plate 16 is fixedly mounted on both sides of the first baffle plate 10, and a second mounting plate 17 is fixedly mounted on both sides of the second baffle plate 13, fixed mounting has electric telescopic handle 18 No. two between mounting panel 16 and No. two mounting panels 17, be convenient for go up and down a baffle 10 through an electric telescopic handle 8, height-adjusting, through overturning a baffle 10, through stopper 12, it is spacing to overturn a baffle 10, make a baffle 10 be located the seat top, both sides through at a baffle 10 are provided with mounting panel 16 No. one, both sides at No. two baffles 13 are provided with mounting panel 17 No. two, through starting No. two electric telescopic handle 18, be convenient for adjust the distance between a baffle 10 and No. two baffles 13, make folding cloth 14 expand, play the guard action between baffle 10 and No. two baffles 13, have functions such as sun-proof and rainwater, the result of use of wheelchair is improved.
Specifically, referring to fig. 1-6, the bellows 35 is sleeved on the outer side of the second electric telescopic rod 18, the top end and the bottom end of the bellows 35 are respectively and fixedly connected with the first mounting plate 16 and the second mounting plate 17, and the bellows 35 is arranged to protect the second electric telescopic rod 18 and prolong the service life of the second electric telescopic rod. The top fixed mounting of rack 6 has electrical storage box 24, electrical storage box 24 and electric telescopic handle 8 and No. two electric telescopic handle 18 electric connection.
Specifically, referring to fig. 1 to 4, a sponge pad 23 is fixedly mounted on the top end of the protective cloth 3, and a plurality of air holes are formed in the top end of the sponge pad 23 for improving the comfort level of the old, and the air permeability is enhanced by the air holes. The fixing seat 37 is fixedly mounted on one opposite side of the two storage boxes 26, the safety belt 38 is rotatably mounted on one side of the fixing seat 37, the inserting buckle 39 is fixedly mounted on one side, away from the fixing seat 37, of the safety belt 38, the two safety belts 38 are fixed through the inserting buckle 39, the two safety belts 38 are connected through the inserting buckle 39, the old people are protected, and the use safety of the wheelchair is improved.
The working principle is as follows: when a patient goes out by sitting in the wheelchair, the hand wheel is rotated by the user, the second worm 610 drives the second worm wheel 609 to rotate, the first worm 608 is rotated through the second worm wheel 609, the first worm 608 drives the first worm wheel 607 to rotate, the fixed shaft 606 drives the gear 605 to rotate, the transmission of the rack 604 is adjusted, the sponge block 611 moves towards the fixed wheel 4, the fixed wheel 4 is located in the groove of the sponge block 611, and the sponge block 611 cleans impurities in sewage on the surface of the fixed wheel 4, so that the using effect of the patient is improved, and the practicability is enhanced; the storage boxes 26 are respectively arranged on the two sides of the frame body 1, so that articles such as newspapers and magazines can be conveniently stored, the reading and the checking of the old can be conveniently carried out, the two safety belts 38 are connected through the inserting buckle 39, the protection effect on the old can be achieved, the use safety of the wheelchair can be improved, the first baffle 10 can be conveniently lifted through the first electric telescopic rod 8, the height can be adjusted, the first baffle 10 can be overturned through the limiting block 12, the first baffle 10 is limited to be overturned through the limiting block 12, the first baffle 10 is positioned at the top end of the seat, the first mounting plates 16 are arranged on the two sides of the first baffle 10, the second mounting plates 17 are arranged on the two sides of the second baffle 13, the distance between the first baffle 10 and the second baffle 13 can be conveniently adjusted through the starting of the second electric telescopic rod 18, the folding cloth 14 can be unfolded, the protection effect can be achieved between the first baffle 10 and the second baffle 13, the functions of sun protection and rain protection can be achieved, and the wheelchair can be conveniently used, and the using effect of the wheelchair can be improved; the storage box 26 on one side is internally provided with the separation block 31 to separate the storage cavity 27 into two cavities, the telescopic column 32 is fixedly arranged in one cavity, the placing plate 34 is pulled to extend the telescopic column 32, the movable seat 33 is arranged to facilitate the angle adjustment of the extended placing plate 34, the placing plate 34 is arranged to facilitate the placement of articles such as newspapers and magazines for the old, the cover plate 28 is arranged to protect the storage cavity 27, the sealing ring 29 is arranged to enhance the sealing performance and have the waterproof function, and the rubber pad 30 is arranged to enhance the use comfort of the old; through being provided with foam-rubber cushion 23, improve old man's comfort level in use, through being provided with storing bag 25, be convenient for place old man's articles for daily use, through having seted up anti-skidding groove 21 on running-board 20, have good anti-skidding effect, reinforcing safety in utilization, through being provided with bellows 35, play the guard action to No. two electric telescopic handle 18, improve No. two life with computer telescopic handle.
Finally, it should be noted that: in the description of the present invention, it should be noted that the terms "vertical", "upper", "lower", "horizontal", and the like indicate orientations or positional relationships based on those shown in the drawings, and are only for convenience of describing the present invention and simplifying the description, but do not indicate or imply that the referred device or element must have a specific orientation, be constructed in a specific orientation, and be operated, and thus, should not be construed as limiting the present invention.
In the description of the present invention, it should also be noted that, unless otherwise explicitly specified or limited, the terms "disposed," "mounted," "connected," and "connected" are to be construed broadly and may, for example, be fixedly connected, detachably connected, or integrally connected; can be mechanically or electrically connected; they may be connected directly or indirectly through intervening media, or they may be interconnected between two elements. The specific meanings of the above terms in the present invention can be understood by those skilled in the art according to specific situations.
Although the present invention has been described in detail with reference to the foregoing embodiments, it will be apparent to those skilled in the art that changes may be made in the embodiments and/or equivalents thereof without departing from the spirit and scope of the invention. Any modification, equivalent replacement, or improvement made within the spirit and principle of the present invention should be included in the protection scope of the present invention.
Claims (10)
1. The utility model provides a well old health many topography wheelchair thing to sit on, includes two support bodies (1), one side of support body (1) is rotated and is installed gyro wheel (2) No. one, two support body (1) is inside and the equal fixed mounting in one side has protective cloth (3), one side fixed mounting of gyro wheel (2) has tight pulley (4), the side of support body (1) is rotated and is installed No. two gyro wheels (5), one side fixed mounting of support body (1) has handle (22), its characterized in that: a rack (6) is fixedly mounted on one side of the rack body (1), two upright posts (601) are fixedly mounted on the top end of the rack (6), a cross rod (602) is fixedly mounted on the top ends of the two upright posts (601), a connecting rod (603) is fixedly mounted on one side of the cross rod (602), racks (604) are movably mounted on both sides of the rack (6), a sponge block (611) is fixedly mounted on one side of each rack (604), a gear (605) is meshed on one side of each rack (604) in the rack (6), the gear (605) rotates in the rack (6), a fixed shaft (606) is fixedly mounted on the top end of each gear (605), the fixed shaft (606) rotates in the upright posts (601), a first worm gear (607) is fixedly mounted on the top end of the fixed shaft (606), the first worm gear (607) rotates in the rack (602), a first worm (608) is meshed on one side of each first worm gear (607) in the cross rod (602), a second worm (609) is rotatably mounted on one side of each cross rod (603), be located in connecting rod (603) one side meshing of second worm wheel (609) has second worm (610), second worm (610) are in connecting rod (603) internal rotation, one side of second worm (610) is provided with the hand wheel, horizontal pole (602) with fixed mounting has stiffener (612) between rack (6), one side of sponge piece (611) is seted up flutedly, the recess with tight pulley (4) width looks adaptation.
2. The multi-terrain wheelchair seating for health maintenance of middle-aged and elderly people according to claim 1, wherein: one side fixed mounting of support body (1) has fixed block (7), the top fixed mounting of fixed block (7) has electric telescopic handle (8) No. one, the top fixed mounting of electric telescopic handle (8) has mount pad (9), the top of mount pad (9) is provided with baffle (10) No. one, the bottom fixed mounting of baffle (10) has supporting shoe (11), supporting shoe (11) rotate to be installed in mount pad (9), one side fixed mounting of mount pad (9) has stopper (12), the top of baffle (10) is provided with No. two baffles (13), baffle (10) with fixed mounting has folding cloth (14) between No. two baffles (13), one side fixed mounting of No. two baffles (13) has handle (15), the equal fixed mounting in both sides of baffle (10) has mounting panel (16) No. one, the equal fixed mounting in both sides of No. two baffles (13) has mounting panel (17) No. two, mounting panel (16) and fixed mounting panel (17) between No. two mounting panel (18).
3. The rehabilitation multi-terrain wheelchair seat for the middle-aged and the elderly, according to claim 1, characterized in that: two equal fixed mounting in one side of support body (1) has dead lever (19), one side of dead lever (19) is rotated and is installed running-board (20), antiskid groove (21) have been seted up on the top of running-board (20).
4. The multi-terrain wheelchair seating for health maintenance of middle-aged and elderly people according to claim 1, wherein: the top fixed mounting of rack (6) has electricity storage box (24), the top fixed mounting of protection cloth (3) has foam-rubber cushion (23), a plurality of bleeder vent has been seted up on the top of foam-rubber cushion (23).
5. The rehabilitation multi-terrain wheelchair seat for the middle-aged and the elderly, according to claim 1, characterized in that: two equal fixed mounting in support body (1) top has storing box (26), storing chamber (27) have been seted up to the inside of storing box (26), one side fixed mounting of protective cloth (3) has storing bag (25).
6. The rehabilitation multi-terrain wheelchair seat for the middle-aged and the elderly, according to claim 5, characterized in that: the top end one side of storing box (26) articulates there is apron (28), the top fixed mounting of apron (28) has sealing washer (29), sealing washer (29) with storing chamber (27) looks adaptation, the bottom fixed mounting of apron (28) has rubber pad (30).
7. The multi-terrain wheelchair seating for health maintenance of middle-aged and elderly people according to claim 6, wherein: the storage box comprises two storage boxes (26), wherein a fixed seat (37) is fixedly mounted on one opposite side of each storage box (26), a safety belt (38) is rotatably mounted on one side of each fixed seat (37), an insert buckle (39) is fixedly mounted on one side, away from each fixed seat (37), of each safety belt (38), and the two safety belts (38) are fixed through the insert buckles (39).
8. The rehabilitation multi-terrain wheelchair seat for the middle-aged and the elderly, according to claim 7, characterized in that: the inside fixed mounting of storing box (26) has branch spacer (31), divide spacer (31) to separate into two cavities with storing chamber (27), storing box (26) are located the cavity internal fixation who divides spacer (31) one side has flexible post (32), the top fixed mounting of flexible post (32) has sliding seat (33), the top of sliding seat (33) is rotated and is installed and place board (34).
9. The multi-terrain wheelchair seating for health maintenance of middle-aged and elderly people according to claim 8, wherein: a limiting plate (36) is arranged on one side of the placing plate (34), the limiting plate (36) is fixedly connected with the placing plate (34), and the bottom end of the limiting plate (36) is in lap joint with the top end of the separating block (31).
10. The rehabilitation multi-terrain wheelchair seat for the middle-aged and the elderly, according to claim 2, characterized in that: the outside cover of No. two electric telescopic handle (18) is equipped with bellows (35), the top and the bottom of bellows (35) respectively with mounting panel (16) with No. two mounting panel (17) fixed connection.
Priority Applications (1)
| Application Number | Priority Date | Filing Date | Title |
|---|---|---|---|
| CN202210946772.9A CN115227492A (en) | 2022-08-09 | 2022-08-09 | Multi-terrain wheelchair seat for rehabilitation of middle-aged and old people |
Applications Claiming Priority (1)
| Application Number | Priority Date | Filing Date | Title |
|---|---|---|---|
| CN202210946772.9A CN115227492A (en) | 2022-08-09 | 2022-08-09 | Multi-terrain wheelchair seat for rehabilitation of middle-aged and old people |
Publications (1)
| Publication Number | Publication Date |
|---|---|
| CN115227492A true CN115227492A (en) | 2022-10-25 |
Family
ID=83679766
Family Applications (1)
| Application Number | Title | Priority Date | Filing Date |
|---|---|---|---|
| CN202210946772.9A Pending CN115227492A (en) | 2022-08-09 | 2022-08-09 | Multi-terrain wheelchair seat for rehabilitation of middle-aged and old people |
Country Status (1)
| Country | Link |
|---|---|
| CN (1) | CN115227492A (en) |
Citations (11)
| Publication number | Priority date | Publication date | Assignee | Title |
|---|---|---|---|---|
| CN201350175Y (en) * | 2009-02-16 | 2009-11-25 | 李正清 | Multifunctional shockproof wheel chair |
| CN201356726Y (en) * | 2009-02-26 | 2009-12-09 | 王宜欣 | Safe and convenient wheel chair |
| CN206137645U (en) * | 2016-06-03 | 2017-05-03 | 刘猛 | Heating storing chair keeps warm winter |
| CN207157020U (en) * | 2017-03-21 | 2018-03-30 | 宁波继峰汽车零部件股份有限公司 | A kind of multi-purpose vehicle(MPV) heel row center armrest |
| CN209019205U (en) * | 2018-05-30 | 2019-06-25 | 夏东晓 | A kind of R shape arc angle pushing hands wheelchair |
| CN211067541U (en) * | 2019-08-06 | 2020-07-24 | 天津乾昌医药科技股份有限公司 | Antifouling device of main wheel for wheelchair |
| CN112224255A (en) * | 2020-09-11 | 2021-01-15 | 秦杰 | Green handling device who plants cultivated in a pot |
| CN212382356U (en) * | 2020-03-26 | 2021-01-22 | 王艳红 | Multifunctional garden stool |
| CN213371701U (en) * | 2020-09-01 | 2021-06-08 | 江苏省人民医院(南京医科大学第一附属医院) | Toilet seat chair for old people diagnosis and treatment |
| CN113668491A (en) * | 2021-08-13 | 2021-11-19 | 黑龙江省水利科学研究院 | Soil drilling and taking device |
| CN216293554U (en) * | 2021-05-27 | 2022-04-15 | 安徽理工大学 | Outdoor portable chair |
-
2022
- 2022-08-09 CN CN202210946772.9A patent/CN115227492A/en active Pending
Patent Citations (11)
| Publication number | Priority date | Publication date | Assignee | Title |
|---|---|---|---|---|
| CN201350175Y (en) * | 2009-02-16 | 2009-11-25 | 李正清 | Multifunctional shockproof wheel chair |
| CN201356726Y (en) * | 2009-02-26 | 2009-12-09 | 王宜欣 | Safe and convenient wheel chair |
| CN206137645U (en) * | 2016-06-03 | 2017-05-03 | 刘猛 | Heating storing chair keeps warm winter |
| CN207157020U (en) * | 2017-03-21 | 2018-03-30 | 宁波继峰汽车零部件股份有限公司 | A kind of multi-purpose vehicle(MPV) heel row center armrest |
| CN209019205U (en) * | 2018-05-30 | 2019-06-25 | 夏东晓 | A kind of R shape arc angle pushing hands wheelchair |
| CN211067541U (en) * | 2019-08-06 | 2020-07-24 | 天津乾昌医药科技股份有限公司 | Antifouling device of main wheel for wheelchair |
| CN212382356U (en) * | 2020-03-26 | 2021-01-22 | 王艳红 | Multifunctional garden stool |
| CN213371701U (en) * | 2020-09-01 | 2021-06-08 | 江苏省人民医院(南京医科大学第一附属医院) | Toilet seat chair for old people diagnosis and treatment |
| CN112224255A (en) * | 2020-09-11 | 2021-01-15 | 秦杰 | Green handling device who plants cultivated in a pot |
| CN216293554U (en) * | 2021-05-27 | 2022-04-15 | 安徽理工大学 | Outdoor portable chair |
| CN113668491A (en) * | 2021-08-13 | 2021-11-19 | 黑龙江省水利科学研究院 | Soil drilling and taking device |
Similar Documents
| Publication | Publication Date | Title |
|---|---|---|
| CN102499828B (en) | Old and disabled-assistant bed chair integrated robot | |
| CN101474115B (en) | A wheelchair that can help to stand, lie flat and use the toilet by itself | |
| CN107874933A (en) | A kind of electric stair climbing wheelchair | |
| CN111481376A (en) | Multifunctional nursing bed | |
| CN105476765A (en) | Smart wheelchair for the disabled | |
| CN112155876B (en) | An electric intelligent massage to help the elderly wheelchair with a liftable seat and support for standing and walking | |
| CN205286744U (en) | Vertical building wheelchair of climbing of multifunction station | |
| CN106618889A (en) | Full-automatic multifunctional rehabilitation wheelchair bed | |
| CN209884554U (en) | Intelligent wheelchair with nursing function | |
| CN115227492A (en) | Multi-terrain wheelchair seat for rehabilitation of middle-aged and old people | |
| CN2609535Y (en) | Wheel-chair for deformed man and old age people | |
| CN212439110U (en) | A medical electric stair climbing chair with adjustable seat function | |
| CN213311003U (en) | Wheel chair | |
| CN108113813A (en) | Aiding support formula folding road ladder convertible car | |
| CN201939609U (en) | Body cleanness preservation wheelchair-bed | |
| CN205286745U (en) | Dual -purpose wheelchair of folded cascade way ladder | |
| CN206566105U (en) | Electric caterpillar band climbs building toilet seat Wheel-chair type bed | |
| CN112319682B (en) | An automatic foldable electric walker and using method | |
| CN212592762U (en) | Medical wheelchair convenient for defecation | |
| CN210541288U (en) | Old person uses closestool emergency support | |
| CN210872559U (en) | Prevent pressing wheelchair of sore | |
| KR200359358Y1 (en) | Technical Bed for Patient | |
| CN215020882U (en) | Novel multi-functional toilet physiotherapy nursing bed | |
| CN219896192U (en) | Novel rehabilitation bed chair | |
| CN222399414U (en) | Hemiplegia rehabilitation walking aid device |
Legal Events
| Date | Code | Title | Description |
|---|---|---|---|
| PB01 | Publication | ||
| PB01 | Publication | ||
| SE01 | Entry into force of request for substantive examination | ||
| SE01 | Entry into force of request for substantive examination |