CN115091723A - 一种环保型废旧塑料回收用造粒机 - Google Patents

一种环保型废旧塑料回收用造粒机 Download PDF

Info

Publication number
CN115091723A
CN115091723A CN202210686495.2A CN202210686495A CN115091723A CN 115091723 A CN115091723 A CN 115091723A CN 202210686495 A CN202210686495 A CN 202210686495A CN 115091723 A CN115091723 A CN 115091723A
Authority
CN
China
Prior art keywords
heat
pipe
heat dissipation
environment
waste plastic
Prior art date
Legal status (The legal status is an assumption and is not a legal conclusion. Google has not performed a legal analysis and makes no representation as to the accuracy of the status listed.)
Granted
Application number
CN202210686495.2A
Other languages
English (en)
Other versions
CN115091723B (zh
Inventor
张宇炯
葛赢
汤锋
霍同亮
王海峰
包升豪
易中
Current Assignee (The listed assignees may be inaccurate. Google has not performed a legal analysis and makes no representation or warranty as to the accuracy of the list.)
Ningbo Sun Hongyu Technology Co ltd
Original Assignee
Ningbo Sun Hongyu Technology Co ltd
Priority date (The priority date is an assumption and is not a legal conclusion. Google has not performed a legal analysis and makes no representation as to the accuracy of the date listed.)
Filing date
Publication date
Application filed by Ningbo Sun Hongyu Technology Co ltd filed Critical Ningbo Sun Hongyu Technology Co ltd
Priority to CN202210686495.2A priority Critical patent/CN115091723B/zh
Publication of CN115091723A publication Critical patent/CN115091723A/zh
Application granted granted Critical
Publication of CN115091723B publication Critical patent/CN115091723B/zh
Active legal-status Critical Current
Anticipated expiration legal-status Critical

Links

Images

Classifications

    • BPERFORMING OPERATIONS; TRANSPORTING
    • B29WORKING OF PLASTICS; WORKING OF SUBSTANCES IN A PLASTIC STATE IN GENERAL
    • B29CSHAPING OR JOINING OF PLASTICS; SHAPING OF MATERIAL IN A PLASTIC STATE, NOT OTHERWISE PROVIDED FOR; AFTER-TREATMENT OF THE SHAPED PRODUCTS, e.g. REPAIRING
    • B29C48/00Extrusion moulding, i.e. expressing the moulding material through a die or nozzle which imparts the desired form; Apparatus therefor
    • B29C48/25Component parts, details or accessories; Auxiliary operations
    • B29C48/78Thermal treatment of the extrusion moulding material or of preformed parts or layers, e.g. by heating or cooling
    • B29C48/86Thermal treatment of the extrusion moulding material or of preformed parts or layers, e.g. by heating or cooling at the nozzle zone
    • B29C48/87Cooling
    • BPERFORMING OPERATIONS; TRANSPORTING
    • B29WORKING OF PLASTICS; WORKING OF SUBSTANCES IN A PLASTIC STATE IN GENERAL
    • B29BPREPARATION OR PRETREATMENT OF THE MATERIAL TO BE SHAPED; MAKING GRANULES OR PREFORMS; RECOVERY OF PLASTICS OR OTHER CONSTITUENTS OF WASTE MATERIAL CONTAINING PLASTICS
    • B29B9/00Making granules
    • B29B9/02Making granules by dividing preformed material
    • B29B9/06Making granules by dividing preformed material in the form of filamentary material, e.g. combined with extrusion
    • BPERFORMING OPERATIONS; TRANSPORTING
    • B29WORKING OF PLASTICS; WORKING OF SUBSTANCES IN A PLASTIC STATE IN GENERAL
    • B29CSHAPING OR JOINING OF PLASTICS; SHAPING OF MATERIAL IN A PLASTIC STATE, NOT OTHERWISE PROVIDED FOR; AFTER-TREATMENT OF THE SHAPED PRODUCTS, e.g. REPAIRING
    • B29C48/00Extrusion moulding, i.e. expressing the moulding material through a die or nozzle which imparts the desired form; Apparatus therefor
    • B29C48/03Extrusion moulding, i.e. expressing the moulding material through a die or nozzle which imparts the desired form; Apparatus therefor characterised by the shape of the extruded material at extrusion
    • B29C48/05Filamentary, e.g. strands

Landscapes

  • Engineering & Computer Science (AREA)
  • Mechanical Engineering (AREA)
  • Physics & Mathematics (AREA)
  • Thermal Sciences (AREA)
  • Cooling Or The Like Of Electrical Apparatus (AREA)
  • Heat-Exchange Devices With Radiators And Conduit Assemblies (AREA)

Abstract

本发明涉及造粒机技术领域,且公开了一种环保型废旧塑料回收用造粒机,包括机器座和机器座上的混合料筒,所述混合料筒的上端安装有送料筒,所述混合料筒的外侧安装有加热环,所述混合料筒的一端安装有外接壳体,所述混合料筒的一端设有对接槽,所述加热环的一端还设有连接法兰,所述外接壳体与机器座之间通过连接法兰固定,所述外接壳体的内部安装有散热定型壳体,所述散热定型壳体的一端安装有延伸衔接管,所述延伸衔接管的内部安装有导热内层。本发明通过横向导热片与散热腔体的配合,使得材料在流经延伸衔接管内部时,将材料内的热量进行吸收,便于后续材料成条时,使材料迅速凝固成指定形状,为材料提供成型条件。

Description

一种环保型废旧塑料回收用造粒机
技术领域
本发明涉及造粒机技术领域,具体为一种环保型废旧塑料回收用造粒机。
背景技术
造粒机是一种可将材料混合制造成特定形状的成型机械,条料生产线成本不高,操作简便,且清洗便捷,造粒机机料杆采用热处理碳化工艺,硬度强不易磨损,使用寿命是普通料杆的三倍,采用先进的润滑试,磨损小,大瓦座,彻底保护轴承,操作维修方便,条料生产线成本不高,但这对色料配混来说有其优点,因为两批不同色料的更换必须彻底清洗设备;熔融的聚合物从热口模挤出,被地着模面旋转的旋转刀切成粒料,这种甘粒系统的特色是其特殊设计的喷水切粒室,水呈螺旋线绕因流动,直至流出甘粒室,粒料切下后,即被抛入水流,进行初步淬冷,粒料水浆排入粒料浆槽被进一步冷却,然后送入离心干燥器脱除水分。
但是,造粒机在制作时,需要将材料混合、热融,再由机器内部的螺杆褪出,再由模具形成条料,而条料在成型前,本身存在极高的热量,需要将热量排出,使材料成型,造条方法的缺点是冷却段需占用空间,其冷却结构的长度按聚合物的温度要求来确定,冷却较低影响物料的成型状态,影响产品的合格率。
发明内容
本发明提供了一种环保型废旧塑料回收用造粒机,具备快速冷却的有益效果,解决了上述背景技术中所提到造条方法的缺点是冷却段需占用空间,其冷却结构的长度按聚合物的温度要求来确定,冷却较低影响物料的成型状态,影响产品的合格率的问题。
本发明提供如下技术方案:一种环保型废旧塑料回收用造粒机,包括机器座和机器座上的混合料筒,所述混合料筒的上端安装有送料筒,所述混合料筒的外侧安装有加热环,所述混合料筒的一端安装有外接壳体,所述混合料筒的一端设有对接槽,所述加热环的一端还设有连接法兰,所述外接壳体与机器座之间通过连接法兰固定,所述外接壳体的内部安装有散热定型壳体,所述散热定型壳体的一端安装有延伸衔接管,所述延伸衔接管的内部安装有导热内层,所述外接壳体的内壁设有散热腔体,所述导热内层的内壁设有横向导热片,所述机器座的一端安装有散热箱,所述散热箱的内部安装有散热管,所述散热箱的一端安装有进液管,所述进液管的一侧设有送液分流管,所述散热箱的另一端安装有回流管。
作为本发明所述环保型废旧塑料回收用造粒机的一种可选方案,其中:所述导热内层的外侧设有导热鳍片,所述导热鳍片呈环形阵列在散热腔体内部,所述进液管的外侧阿安装有压力泵体。
作为本发明所述环保型废旧塑料回收用造粒机的一种可选方案,其中:所述散热定型壳体的内部设有换热腔体,所述换热腔体的内部设有定型管,所述定型管的内部设有流动管孔,所述进液管的一端与换热腔体连接,所述散热定型壳体的下端安装有回液分流管。
作为本发明所述环保型废旧塑料回收用造粒机的一种可选方案,其中:所述换热腔体的内部安装有螺旋导流片,所述流动管孔穿插在螺旋导流片内。
作为本发明所述环保型废旧塑料回收用造粒机的一种可选方案,其中:所述散热定型壳体的一端设有限位收束边,所述限位收束边端部的内径与延伸衔接管的内径一致。
作为本发明所述环保型废旧塑料回收用造粒机的一种可选方案,其中:所述横向导热片的外表面设有限位条。
作为本发明所述环保型废旧塑料回收用造粒机的一种可选方案,其中:所述散热管的两端安装有集束盒,所述散热管的两端与进液管和回流管之间通过集束盒连接。
作为本发明所述环保型废旧塑料回收用造粒机的一种可选方案,其中:所述散热管的内部设有两组平行导热片,每组所述平行导热片呈交错排列。
作为本发明所述环保型废旧塑料回收用造粒机的一种可选方案,其中:所述散热箱的内部还安装有轴流式风扇,每两个所述散热管之间设有锥形空腔,所述锥形空腔为内锥导流槽,所述内锥导流槽的一侧设有扩散弧面,所述散热管的两侧设有侧边弧面。
作为本发明所述环保型废旧塑料回收用造粒机的一种可选方案,其中:所述散热管一端的两侧设有内凹导流坑。
本发明具备以下有益效果:
1、该环保型废旧塑料回收用造粒机,通过横向导热片与散热腔体的配合,使得材料在流经延伸衔接管内部时,将材料内的热量进行吸收,便于后续材料成条时,使材料迅速凝固成指定形状,为材料提供成型条件,并且装置为导体冷却方式,不影响内部材料的影响情况下,实现持续对材料持续冷却操作,可长时间加工使用。
2、该环保型废旧塑料回收用造粒机,导热鳍片将热量导出,使得导热鳍片被冷却液包裹时,热量迅速传递至冷却液内,从而使装置导热内层加快了热量的传输速度,以及材料的导热效率,通过冷却液与定型管的接触方式,当材料流经流动管孔内部时,热量则会充斥在定型管内,此时热量再由定型管传递至冷却液之中,完成对热量的转移,接着热量再通过回液分流管流出,并流入回流管的内部,而换热腔体内部的冷却液为持续流动方式,可快速的将换热腔体内部的热量带出。
3、该环保型废旧塑料回收用造粒机,通过螺旋导流片的作用,将换热腔体的内部设置成螺旋空间,当冷却液从换热腔体的一端流入后,则会顺着螺旋导流片的轨迹,呈螺旋流动,通过此种方式,能够增加冷却液位于换热腔体内部时的接触时间,从而进一步增加定型管与冷却液的换热时间,增加对定型管的换热效率,使得内部的热量导出更加彻底,从而使得材料在经过流动管孔内部后,热量完全导出,使材料达到指定状态;通过平行导热片的作用,两组平行导热片交叉组合,均匀的排列在散热管内部,冷却液流动的同时,会穿插在平行导热片内流动,并且全程与之贴合,最大程度的增加了装置的冷却效率,使热量导出至散热管的外侧更加彻底,从而提高散热管的导热效率,为装置的冷却液,提供冷却效果,并使得装置形成循环散热状态,节省后续的冷却消耗。
附图说明
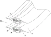
图1为本发明整体的结构示意图。
图2为本发明外接壳体与混合料筒连接结构示意图。
图3为本发明外接壳体内部结构示意图。
图4为本发明散热定型壳体内部结构示意图。
图5为本发明导热内层结构示意图。
图6为本发明散热管结构示意图。
图7为本发明散热管截面结构示意图。
图8为本发明散热箱内部结构示意图。
图中:1、机器座;2、混合料筒;3、送料筒;4、加热环;5、外接壳体;6、连接法兰;7、散热箱;8、集束盒;9、散热管;10、进液管;11、回流管;12、压力泵体;13、散热定型壳体;14、送液分流管;15、回液分流管;16、换热腔体;17、延伸衔接管;18、导热内层;19、横向导热片;20、散热腔体;21、导热鳍片;22、限位条;23、对接槽;24、定型管;25、流动管孔;26、螺旋导流片;27、限位收束边;28、平行导热片;29、侧边弧面;30、内凹导流坑;31、内锥导流槽;32、扩散弧面;33、轴流式风扇。
具体实施方式
下面将结合本发明实施例中的附图,对本发明实施例中的技术方案进行清楚、完整地描述,显然,所描述的实施例仅仅是本发明一部分实施例,而不是全部的实施例。基于本发明中的实施例,本领域普通技术人员在没有做出创造性劳动前提下所获得的所有其他实施例,都属于本发明保护的范围。
实施例1
请参阅图1-8,其中一种环保型废旧塑料回收用造粒机,包括机器座1和机器座1上的混合料筒2,混合料筒2的上端安装有送料筒3,混合料筒2的外侧安装有加热环4,混合料筒2的一端安装有外接壳体5,混合料筒2的一端设有对接槽23,加热环4的一端还设有连接法兰6,外接壳体5与机器座1之间通过连接法兰6固定,外接壳体5的内部安装有散热定型壳体13,散热定型壳体13的一端安装有延伸衔接管17,延伸衔接管17的内部安装有导热内层18,外接壳体5的内壁设有散热腔体20,导热内层18的内壁设有横向导热片19,机器座1的一端安装有散热箱7,散热箱7的内部安装有散热管9,散热箱7的一端安装有进液管10,进液管10的一侧设有送液分流管14,散热箱7的另一端安装有回流管11。
使用时,通过延伸衔接管17的一端插入对接槽23的内部,再由两个连接法兰6完成外接壳体5与混合料筒2之间的固定,通过混合料筒2将材料进行加热混合向前推动,并推动至延伸衔接管17的内部,此时延伸衔接管17内的材料为凝胶状态,并穿插流动在横向导热片19之间,流动的同时,会与横向导热片19的外表面直接接触,此时横向导热片19会将材料内的热量传递至导热内层18内部,而导热内层18则延伸至散热腔体20的内部。
同时,散热管9内部的冷却液通过进液管10与送液分流管14输送至散热腔体20的内部,进入散热腔体20内部后,再与导热内层18的外表面接触,将导热内层18内的热量吸收后,则会顺着回流管11流出散热腔体20内部,冷却完成后,再由回流管11送回散热箱7内部,并对冷却液进行散热处理,通过横向导热片19与散热腔体20的配合,使得材料在流经延伸衔接管17内部时,将材料内的热量进行吸收,便于后续材料成条时,使材料迅速凝固成指定形状,为材料提供成型条件,并且装置为导体冷却方式,不影响内部材料的影响情况下,实现持续对材料持续冷却操作,可长时间加工使用。
实施例2
本实施例是在实施例1的基础上做出的改进,具体的,请参阅图1-8,导热内层18的外侧设有导热鳍片21,导热鳍片21呈环形阵列在散热腔体20内部,进液管10的外侧阿安装有压力泵体12。
冷却液通过送液分流管14流入散热腔体20的内部,再与导热内层18的外表面接触,但导热内层18的外表面接触后,虽然导热内层18的外表面与冷却液接触面积较大,但难以将导热内层18内的热量导出,使得导热内层18的导热效率较低;
通过导热鳍片21环形阵列在散热腔体20的内部,并设置于导热内层18的外表面,使得导热内层18能够将热量导出至导热鳍片21的内部,并保留导热内层18与冷却液的大面积接触,进行导热,同时导热鳍片21将热量导出,使得导热鳍片21被冷却液包裹时,热量迅速传递至冷却液内,从而使装置导热内层18加快了热量的传输速度,以及材料的导热效率。
实施例3
本实施例是在实施例2的基础上做出的改进,具体的,请参阅图1-8,散热定型壳体13的内部设有换热腔体16,换热腔体16的内部设有定型管24,定型管24的内部设有流动管孔25,进液管10的一端与换热腔体16连接,散热定型壳体13的下端安装有回液分流管15。
单靠导热内层18对材料内部进行热量导出,实现加速材料的凝固操作,则会导致效率较低,使得材料热量难以完全导出,并在成型时,质地为软胶状态,难以对其进行切割处理;
材料经过导热内层18导热后,接着会进入流动管孔25之中,通过流动管孔25的限位形成条状结构,通过进液管10将冷却液输送至换热腔体16的内部,进行填充,使冷却液直接与流动管孔25接触,并将定型管24完全包裹在内,通过冷却液与定型管24的接触方式,当材料流经流动管孔25内部时,热量则会充斥在定型管24内,此时热量再由定型管24传递至冷却液之中,完成对热量的转移,接着热量再通过回液分流管15流出,并流入回流管11的内部,而换热腔体16内部的冷却液为持续流动方式,可快速的将换热腔体16内部的热量带出。
实施例4
本实施例是在实施例3的基础上做出的改进,具体的,请参阅图1-8,换热腔体16的内部安装有螺旋导流片26,流动管孔25穿插在螺旋导流片26内。
当冷却液流经换热腔体16内部时,流速较快,难以使冷却液的换热效率达到最大,使得热量的传导不够彻底;
通过螺旋导流片26的作用,将换热腔体16的内部设置成螺旋空间,当冷却液从换热腔体16的一端流入后,则会顺着螺旋导流片26的轨迹,呈螺旋流动,通过此种方式,能够增加冷却液位于换热腔体16内部时的接触时间,从而进一步增加定型管24与冷却液的换热时间,增加对定型管24的换热效率,使得内部的热量导出更加彻底,从而使得材料在经过流动管孔25内部后,热量完全导出,使材料达到指定状态。
实施例5
本实施例是在实施例4的基础上做出的改进,具体的,请参阅图1-8,散热定型壳体13的一端设有限位收束边27,限位收束边27端部的内径与延伸衔接管17的内径一致。
通过限位收束边27的一端与延伸衔接管17的内径一致,使得材料在经过延伸衔接管17内部后,会通过限位收束边27的斜向结构,对材料进行收束,使其向内侧集中,便于材料进入流动管孔25的内部。
实施例6
本实施例是在实施例5的基础上做出的改进,具体的,请参阅图1-8,横向导热片19的外表面设有限位条22。
当材料经过延伸衔接管17内部并朝向散热定型壳体13方向流动时,呈平行状态流动,有些中间位置的材料会直接撞击在散热定型壳体13一端的中间位置,而则流动管孔25排列在散热定型壳体13中心轴靠外位置,使得材料难以第一时间进入流动管孔25内:
通过限位条22的作用,使集中在中心轴位置的材料,向中心轴两侧导流,使其流向中心轴靠外位置,从而使材料的整体流向偏向于流动管孔25的位置,使材料更加容易进入流动管孔25内部。
实施例7
本实施例是在实施例6的基础上做出的改进,具体的,请参阅图1-8,散热管9的两端安装有集束盒8,散热管9的两端与进液管10和回流管11之间通过集束盒8连接。
散热管9的两端与集束盒8相连通,通过集束盒8的结构形状,当冷区也流入集束盒8内部时,其锥形结构,能够对冷却液进行收拢,使其更加方便的收拢以及均匀的将冷却液分散在每个散热管9内,从而对冷却液起到收束以及分散流动的功能。
实施例8
本实施例是在实施例7的基础上做出的改进,具体的,请参阅图1-8,散热管9的内部设有两组平行导热片28,每组平行导热片28呈交错排列。
当导热后的冷却液流经散热管9内部时,会将热量传递至散热管9外侧,再通过风扇进行散热挥发,通过平行导热片28的作用,两组平行导热片28交叉组合,均匀的排列在散热管9内部,冷却液流动的同时,会穿插在平行导热片28内流动,并且全程与之贴合,最大程度的增加了装置的冷却效率,使热量导出至散热管9的外侧更加彻底,从而提高散热管9的导热效率。
实施例9
本实施例是在实施例8的基础上做出的改进,具体的,请参阅图1-8,散热箱7的内部还安装有轴流式风扇33,每两个散热管9之间设有锥形空腔,锥形空腔为内锥导流槽31,内锥导流槽31的一侧设有扩散弧面32,散热管9的两侧设有侧边弧面29。
当轴流式风扇33提供风力时,吹至内锥导流槽31位置,散热管9的一端呈尖端结构,对气流形成切割、分流,通过内锥导流槽31的结构特征,侧边弧面29的间距小于内锥导流槽31,当气流进入后,会对气流形成聚拢状态,经过侧边弧面29时,则会对气流形成压缩,同时增加气流流速,气流变大,从而增加对散热管9导出的热量进行吹出,挥发,增加热量的散热效率。
实施例10
本实施例是在实施例9的基础上做出的改进,具体的,请参阅图1-8,散热管9一端的两侧设有内凹导流坑30。
气流经过侧边弧面29与内锥导流槽31进行加速后,经过侧边弧面29内部时,会形成震动,从而造成杂音,影响使用;
通过内凹导流坑30的作用,当气流经过内锥导流槽31区域时,内凹导流坑30的内部为弧形结构,使得气流在进入内锥导流槽31内部后,会与内凹导流坑30的内部接触,并将气流向斜上方导出,通过两个内凹导流坑30的对称排列,会使两股气流呈夹角状态接触,接触时,因为两股气流是斜向接触的,则会导致气流向前推动,避免气流与侧边弧面29的外表面过多接触,造成震动。
需要说明的是,在本文中,诸如第一和第二等之类的关系术语仅仅用来将一个实体或者操作与另一个实体或操作区分开来,而不一定要求或者暗示这些实体或操作之间存在任何这种实际的关系或者顺序。而且,术语“包括”、“包含”或者其任何其他变体意在涵盖非排他性的包含,从而使得包括一系列要素的过程、方法、物品或者设备不仅包括那些要素,而且还包括没有明确列出的其他要素,或者是还包括为这种过程、方法、物品或者设备所固有的要素。
以上所述仅是本发明的优选实施方式,应当指出,对于本技术领域的普通技术人员来说,在不脱离本发明技术原理的前提下,还可以做出若干改进和润饰,这些改进和润饰也应视为本发明的保护范围。

Claims (10)

1.一种环保型废旧塑料回收用造粒机,包括机器座(1)和机器座(1)上的混合料筒(2),所述混合料筒(2)的上端安装有送料筒(3),所述混合料筒(2)的外侧安装有加热环(4),其特征在于:所述混合料筒(2)的一端安装有外接壳体(5),所述混合料筒(2)的一端设有对接槽(23),所述加热环(4)的一端还设有连接法兰(6),所述外接壳体(5)与机器座(1)之间通过连接法兰(6)固定,所述外接壳体(5)的内部安装有散热定型壳体(13),所述散热定型壳体(13)的一端安装有延伸衔接管(17),所述延伸衔接管(17)的内部安装有导热内层(18),所述外接壳体(5)的内壁设有散热腔体(20),所述导热内层(18)的内壁设有横向导热片(19),所述机器座(1)的一端安装有散热箱(7),所述散热箱(7)的内部安装有散热管(9),所述散热箱(7)的一端安装有进液管(10),所述进液管(10)的一侧设有送液分流管(14),所述散热箱(7)的另一端安装有回流管(11)。
2.根据权利要求1所述的环保型废旧塑料回收用造粒机,其特征在于:所述导热内层(18)的外侧设有导热鳍片(21),所述导热鳍片(21)呈环形阵列在散热腔体(20)内部,所述进液管(10)的外侧阿安装有压力泵体(12)。
3.根据权利要求2所述的环保型废旧塑料回收用造粒机,其特征在于:所述散热定型壳体(13)的内部设有换热腔体(16),所述换热腔体(16)的内部设有定型管(24),所述定型管(24)的内部设有流动管孔(25),所述进液管(10)的一端与换热腔体(16)连接,所述散热定型壳体(13)的下端安装有回液分流管(15)。
4.根据权利要求3所述的环保型废旧塑料回收用造粒机,其特征在于:所述换热腔体(16)的内部安装有螺旋导流片(26),所述流动管孔(25)穿插在螺旋导流片(26)内。
5.根据权利要求4所述的环保型废旧塑料回收用造粒机,其特征在于:所述散热定型壳体(13)的一端设有限位收束边(27),所述限位收束边(27)端部的内径与延伸衔接管(17)的内径一致。
6.根据权利要求5所述的环保型废旧塑料回收用造粒机,其特征在于:所述横向导热片(19)的外表面设有限位条(22)。
7.根据权利要求6所述的环保型废旧塑料回收用造粒机,其特征在于:所述散热管(9)的两端安装有集束盒(8),所述散热管(9)的两端与进液管(10)和回流管(11)之间通过集束盒(8)连接。
8.根据权利要求7所述的环保型废旧塑料回收用造粒机,其特征在于:所述散热管(9)的内部设有两组平行导热片(28),每组所述平行导热片(28)呈交错排列。
9.根据权利要求8所述的环保型废旧塑料回收用造粒机,其特征在于:所述散热箱(7)的内部还安装有轴流式风扇(33),每两个所述散热管(9)之间设有锥形空腔,所述锥形空腔为内锥导流槽(31),所述内锥导流槽(31)的一侧设有扩散弧面(32),所述散热管(9)的两侧设有侧边弧面(29)。
10.根据权利要求9所述的环保型废旧塑料回收用造粒机,其特征在于:所述散热管(9)一端的两侧设有内凹导流坑(30)。
CN202210686495.2A 2022-06-17 2022-06-17 一种环保型废旧塑料回收用造粒机 Active CN115091723B (zh)

Priority Applications (1)

Application Number Priority Date Filing Date Title
CN202210686495.2A CN115091723B (zh) 2022-06-17 2022-06-17 一种环保型废旧塑料回收用造粒机

Applications Claiming Priority (1)

Application Number Priority Date Filing Date Title
CN202210686495.2A CN115091723B (zh) 2022-06-17 2022-06-17 一种环保型废旧塑料回收用造粒机

Publications (2)

Publication Number Publication Date
CN115091723A true CN115091723A (zh) 2022-09-23
CN115091723B CN115091723B (zh) 2025-09-26

Family

ID=83291147

Family Applications (1)

Application Number Title Priority Date Filing Date
CN202210686495.2A Active CN115091723B (zh) 2022-06-17 2022-06-17 一种环保型废旧塑料回收用造粒机

Country Status (1)

Country Link
CN (1) CN115091723B (zh)

Cited By (1)

* Cited by examiner, † Cited by third party
Publication number Priority date Publication date Assignee Title
CN119408116A (zh) * 2025-01-07 2025-02-11 南通兴鑫塑料科技有限公司 一种塑料制品加工用冷却装置

Citations (10)

* Cited by examiner, † Cited by third party
Publication number Priority date Publication date Assignee Title
US4069282A (en) * 1975-02-19 1978-01-17 Firma Kohlensaeure-Werke Rudolf Buse Sohn Process for the uninterrupted manufacture of plastic film tubing
US20190035712A1 (en) * 2016-01-26 2019-01-31 Dexerials Corporation Thermally Conductive Sheet, Production Method for Thermally Conductive Sheet, Heat Dissipation Member, and Semiconductor Device
CN208765318U (zh) * 2018-08-21 2019-04-19 天津冰城恒业制冷设备有限公司 一种可以自动关闭阀门的泠凝器
CN211807749U (zh) * 2020-02-28 2020-10-30 福建省南安市同盛体育器材有限公司 塑胶生产的双螺旋挤出机
CN112223706A (zh) * 2020-10-04 2021-01-15 何涛 塑料板生产用双螺杆挤出装置及使用方法
CN212860373U (zh) * 2020-08-04 2021-04-02 广东五羊城电缆有限公司 一种可降温的电线电缆塑料挤出机
CN113119339A (zh) * 2021-04-12 2021-07-16 江苏升塑机械有限公司 一种塑料挤出机用节能型自牵引式拉条切粒机
CN213860595U (zh) * 2020-12-07 2021-08-03 浙江友竹生物科技有限公司 一种高效竹粉牙刷柄挤塑成型设备
CN214188348U (zh) * 2020-11-19 2021-09-14 芜湖德鑫汽车部件有限公司 一种汽车天窗的外围塑料密封条加工用模具
CN216562700U (zh) * 2021-11-19 2022-05-17 久沛(上海)环保科技有限公司 一种新型hmvr循环蒸发装置

Patent Citations (10)

* Cited by examiner, † Cited by third party
Publication number Priority date Publication date Assignee Title
US4069282A (en) * 1975-02-19 1978-01-17 Firma Kohlensaeure-Werke Rudolf Buse Sohn Process for the uninterrupted manufacture of plastic film tubing
US20190035712A1 (en) * 2016-01-26 2019-01-31 Dexerials Corporation Thermally Conductive Sheet, Production Method for Thermally Conductive Sheet, Heat Dissipation Member, and Semiconductor Device
CN208765318U (zh) * 2018-08-21 2019-04-19 天津冰城恒业制冷设备有限公司 一种可以自动关闭阀门的泠凝器
CN211807749U (zh) * 2020-02-28 2020-10-30 福建省南安市同盛体育器材有限公司 塑胶生产的双螺旋挤出机
CN212860373U (zh) * 2020-08-04 2021-04-02 广东五羊城电缆有限公司 一种可降温的电线电缆塑料挤出机
CN112223706A (zh) * 2020-10-04 2021-01-15 何涛 塑料板生产用双螺杆挤出装置及使用方法
CN214188348U (zh) * 2020-11-19 2021-09-14 芜湖德鑫汽车部件有限公司 一种汽车天窗的外围塑料密封条加工用模具
CN213860595U (zh) * 2020-12-07 2021-08-03 浙江友竹生物科技有限公司 一种高效竹粉牙刷柄挤塑成型设备
CN113119339A (zh) * 2021-04-12 2021-07-16 江苏升塑机械有限公司 一种塑料挤出机用节能型自牵引式拉条切粒机
CN216562700U (zh) * 2021-11-19 2022-05-17 久沛(上海)环保科技有限公司 一种新型hmvr循环蒸发装置

Cited By (1)

* Cited by examiner, † Cited by third party
Publication number Priority date Publication date Assignee Title
CN119408116A (zh) * 2025-01-07 2025-02-11 南通兴鑫塑料科技有限公司 一种塑料制品加工用冷却装置

Also Published As

Publication number Publication date
CN115091723B (zh) 2025-09-26

Similar Documents

Publication Publication Date Title
CN115091723A (zh) 一种环保型废旧塑料回收用造粒机
CN212949058U (zh) 一种pert地暖管用双层挤出设备
CN221339474U (zh) 一种管材挤出余热利用装置
CN220219620U (zh) 一种行星螺杆机筒
CN118596624A (zh) 一种汽车线束保护套(tpu)的生产线及其生产工艺
CN214491548U (zh) 一种自冷却双螺杆挤出机
CN214027144U (zh) 一种冷水循环系统及挤出机
CN211807749U (zh) 塑胶生产的双螺旋挤出机
CN209920297U (zh) 一种双螺杆挤出机用高效冷却系统
CN212385944U (zh) 一种挤出头可热油循环加热的注塑机
CN205395099U (zh) 一种用于生产挤绝缘层的装置
CN223147687U (zh) 一种快速循环冷却的磁力积木注塑成型机
WO2022116219A1 (zh) 一种物料流动性好的挤出装置
CN210257214U (zh) 一种用于电力电缆挤塑机用降温装置
CN209156882U (zh) 一种快速冲压模具
CN220482534U (zh) 一种塑料母粒生产的料条冷却装置
CN221913202U (zh) 电缆挤出机降温结构
CN219338526U (zh) 一种具有循环液冷功能的成型装置
CN219563925U (zh) 一种珍珠棉生产用成型设备
CN220083744U (zh) 一种钢管嵌铝板散热器
CN219055294U (zh) 一种塑料桶吹塑生产用冷却机构
CN213733273U (zh) 一种押出冷却一体机
CN223266026U (zh) 一种高效水下切粒循环系统
CN223565208U (zh) 一种气象用回路风洞的冷却段
CN213006417U (zh) 一种lsr注塑嘴用冷却机构

Legal Events

Date Code Title Description
PB01 Publication
PB01 Publication
SE01 Entry into force of request for substantive examination
SE01 Entry into force of request for substantive examination
GR01 Patent grant
GR01 Patent grant