CN115076686A - 一种燃烧器及燃气灶 - Google Patents

一种燃烧器及燃气灶 Download PDF

Info

Publication number
CN115076686A
CN115076686A CN202210641769.6A CN202210641769A CN115076686A CN 115076686 A CN115076686 A CN 115076686A CN 202210641769 A CN202210641769 A CN 202210641769A CN 115076686 A CN115076686 A CN 115076686A
Authority
CN
China
Prior art keywords
mixing chamber
air
burner
side wall
ring fire
Prior art date
Legal status (The legal status is an assumption and is not a legal conclusion. Google has not performed a legal analysis and makes no representation as to the accuracy of the status listed.)
Pending
Application number
CN202210641769.6A
Other languages
English (en)
Inventor
田赛
Current Assignee (The listed assignees may be inaccurate. Google has not performed a legal analysis and makes no representation or warranty as to the accuracy of the list.)
Hisense Home Appliances Group Co Ltd
Original Assignee
Hisense Home Appliances Group Co Ltd
Priority date (The priority date is an assumption and is not a legal conclusion. Google has not performed a legal analysis and makes no representation as to the accuracy of the date listed.)
Filing date
Publication date
Application filed by Hisense Home Appliances Group Co Ltd filed Critical Hisense Home Appliances Group Co Ltd
Priority to CN202210641769.6A priority Critical patent/CN115076686A/zh
Publication of CN115076686A publication Critical patent/CN115076686A/zh
Pending legal-status Critical Current

Links

Images

Classifications

    • FMECHANICAL ENGINEERING; LIGHTING; HEATING; WEAPONS; BLASTING
    • F23COMBUSTION APPARATUS; COMBUSTION PROCESSES
    • F23DBURNERS
    • F23D14/00Burners for combustion of a gas, e.g. of a gas stored under pressure as a liquid
    • F23D14/02Premix gas burners, i.e. in which gaseous fuel is mixed with combustion air upstream of the combustion zone
    • F23D14/04Premix gas burners, i.e. in which gaseous fuel is mixed with combustion air upstream of the combustion zone induction type, e.g. Bunsen burner
    • F23D14/08Premix gas burners, i.e. in which gaseous fuel is mixed with combustion air upstream of the combustion zone induction type, e.g. Bunsen burner with axial outlets at the burner head
    • FMECHANICAL ENGINEERING; LIGHTING; HEATING; WEAPONS; BLASTING
    • F23COMBUSTION APPARATUS; COMBUSTION PROCESSES
    • F23DBURNERS
    • F23D14/00Burners for combustion of a gas, e.g. of a gas stored under pressure as a liquid
    • F23D14/46Details
    • FMECHANICAL ENGINEERING; LIGHTING; HEATING; WEAPONS; BLASTING
    • F23COMBUSTION APPARATUS; COMBUSTION PROCESSES
    • F23DBURNERS
    • F23D14/00Burners for combustion of a gas, e.g. of a gas stored under pressure as a liquid
    • F23D14/46Details
    • F23D14/48Nozzles
    • F23D14/58Nozzles characterised by the shape or arrangement of the outlet or outlets from the nozzle, e.g. of annular configuration
    • FMECHANICAL ENGINEERING; LIGHTING; HEATING; WEAPONS; BLASTING
    • F23COMBUSTION APPARATUS; COMBUSTION PROCESSES
    • F23DBURNERS
    • F23D14/00Burners for combustion of a gas, e.g. of a gas stored under pressure as a liquid
    • F23D14/46Details
    • F23D14/60Devices for simultaneous control of gas and combustion air
    • FMECHANICAL ENGINEERING; LIGHTING; HEATING; WEAPONS; BLASTING
    • F23COMBUSTION APPARATUS; COMBUSTION PROCESSES
    • F23DBURNERS
    • F23D14/00Burners for combustion of a gas, e.g. of a gas stored under pressure as a liquid
    • F23D14/46Details
    • F23D14/62Mixing devices; Mixing tubes
    • F23D14/64Mixing devices; Mixing tubes with injectors
    • FMECHANICAL ENGINEERING; LIGHTING; HEATING; WEAPONS; BLASTING
    • F23COMBUSTION APPARATUS; COMBUSTION PROCESSES
    • F23DBURNERS
    • F23D14/00Burners for combustion of a gas, e.g. of a gas stored under pressure as a liquid
    • F23D14/46Details
    • F23D14/84Flame spreading or otherwise shaping
    • FMECHANICAL ENGINEERING; LIGHTING; HEATING; WEAPONS; BLASTING
    • F24HEATING; RANGES; VENTILATING
    • F24CDOMESTIC STOVES OR RANGES ; DETAILS OF DOMESTIC STOVES OR RANGES, OF GENERAL APPLICATION
    • F24C3/00Stoves or ranges for gaseous fuels
    • F24C3/08Arrangement or mounting of burners
    • F24C3/085Arrangement or mounting of burners on ranges

Landscapes

  • Engineering & Computer Science (AREA)
  • Chemical & Material Sciences (AREA)
  • Combustion & Propulsion (AREA)
  • Mechanical Engineering (AREA)
  • General Engineering & Computer Science (AREA)
  • Gas Burners (AREA)

Abstract

本申请公开一种燃烧器及燃气灶,涉及灶具技术领域,用于解决现有的燃烧器的火力较小,无法满足爆炒所需要的火力的问题。该燃烧器包括燃烧器主体、中心引射管组件、第一引射管、第二引射管以及第三引射管。燃烧器主体具有空气补充通道,空气补充通道用于补充燃气燃烧所需要的二次空气。燃烧器主体还包括依次环绕设置于空气补充通道外围的第一混气室、第二混气室以及第三混气室。中心引射管组件的一部分位于空气补充通道内,用于将燃气送至空气补充通道内。第一引射管与第一混气室连通,第二引射管与第二混气室连通,第三引射管与第三混气室连通。该燃烧器用于加热锅具。

Description

一种燃烧器及燃气灶
技术领域
本申请涉及灶具技术领域,尤其涉及一种燃烧器及燃气灶。
背景技术
随着人们生活水平的不断提高,燃气灶已经成为每个家庭中不可缺少的烹饪工具。燃气灶包括有燃烧器,燃烧器的火力大小是影响烹饪效果的一个重要因素。
爆炒是烹饪菜肴的一种常用手法,其需要借助燃烧器提供的大火力来完成对食物进行快速烹饪。但是,现有的燃烧器提供的火力较小,无法满足爆炒所需要的火力,导致烹饪效果较差。
发明内容
本申请提供了一种燃烧器及燃气灶,用于解决现有的燃烧器的火力较小,无法满足爆炒所需要的火力的问题。
为达到上述目的,本申请采用如下技术方案:
一方面,本申请实施例提供一种燃烧器。该燃烧器包括燃烧器主体、中心引射管组件、第一引射管、第二引射管以及第三引射管。燃烧器主体具有空气补充通道,空气补充通道用于补充燃气燃烧所需要的二次空气。燃烧器主体还包括依次环绕设置于空气补充通道外围的第一混气室、第二混气室以及第三混气室。中心引射管组件的一部分位于空气补充通道内,用于将燃气送至空气补充通道内。第一引射管与第一混气室连通,第二引射管与第二混气室连通,第三引射管与第三混气室连通。
本申请实施例提供的燃烧器,燃烧器主体形成有第一混气室、第二混气室以及第三混气室。与第一混气室连通的第一引射管可以将燃气和空气的混合气体送至第一混气室进行充分混合,并最终从第一混气室流出形成环火。与第二混气室连通的第二引射管也可以将燃气和空气的混合气体送至第二混气室进行充分混合,并最终从第二混气室流出形成环火。与第三混气室连通的第三引射管将燃气和空气的混合气体送至第三混气室进行充分混合,并最终从第三混气室流出形成环火。这样,燃烧器整体能够形成三环火,火力较大。
此外,燃烧器主体的空气补充通道可以在上述三环火燃烧过程中为燃气补充二次空气,保证燃气的充分燃烧,避免燃气燃烧不充分,产生有害气体的情况发生。并且,由于中心引射管组件的一部分位于空气补充通道内,可以形成中心火,进一步增大了燃烧器的火力,使得燃烧器能够满足爆炒的火力要求,实现较好的爆炒效果。
在一些实施例中,燃烧器主体包括炉头、内环火盖以及外环火盖。炉头形成有空气补充通道,还形成有依次环绕设置于空气补充通道外围的第一混气腔、第二混气腔以及第三混气腔。内环火盖盖设于第一混气腔以及第二混气腔。内环火盖与第一混气腔形成第一混气室,与第二混气腔形成第二混气室。外环火盖盖设于第三混气腔,与第三混气腔形成第三混气室。
在一些实施例中,中心引射管组件包括中心引射管以及中心火盖。中心引射管的一部分位于空气补充通道内。中心引射管位于空气补充通道内的部分形成有第四混气腔。中心火盖盖设于第四混气腔,与第四混气腔形成第四混气室。中心火盖开设有多个中心火孔。
在一些实施例中,内环火盖的内环面开设有多个内环火孔,内环火孔与第二混气腔连通。内环火盖靠近第一混气腔一侧与炉头之间具有出火缝隙,出火缝隙与第一混气腔连通。外环火盖的外环面开设有多个外环火孔,外环火孔与第三混气腔连通。
在一些实施例中,炉头包括底壁、第一环形侧壁、第二环形侧壁、第三环形侧壁以及第四环形侧壁。底壁为环状结构,具有中心孔。第一环形侧壁与底壁连接,围设于中心孔的周边。第一环形侧壁围成空气补充通道。第一环形侧壁远离底壁一端与内环火盖之间具有出火缝隙。第二环形侧壁与底壁连接,第二环形侧壁位于第一环形侧壁远离空气补充通道一侧。第二环形侧壁远离底壁一端与内环火盖连接。第三环形侧壁与底壁连接,第三环形侧壁位于第二环形侧壁远离第一环形侧壁一侧。第三环形侧壁远离底壁一端与内环火盖以及外环火盖连接。第四环形侧壁与底壁连接,位于第三环形侧壁远离第二环形侧壁一侧。第四环形侧壁远离底壁一端与外环火盖连接。
在一些实施例中,外环火盖包括第一盖板、第一分隔板以及第二分隔板。第一盖板包括第一连接部、第二连接部以及第三连接部。第一连接部、第二连接部以及第三连接部均为环状结构。第一连接部的内环与第二连接部连接,第一连接部的外环与第三连接部连接。其中,第二连接部远离第三混气腔一侧的表面为斜面,第二连接部与第一连接部连接的一端形成第一开口,远离第一连接部的一端形成第二开口。第一开口的尺寸大于第二开口的尺寸。第三连接部开设有外环火孔。第一分隔板位于第一盖板靠近第三混气腔一侧,一端与第二连接部连接,另一端与第三环形侧壁抵靠。第二分隔板位于第一盖板靠近第三混气腔一侧,一端与第三连接部连接,另一端与第四环形侧壁抵靠。
在一些实施例中,内环火盖包括第四连接部以及第五连接部。第四连接部以及第五连接部均为环状结构。第四连接部的外环与第一分隔板抵靠,第四连接部的内环与第五连接部连接。第五连接部远离第四连接部的一端与第二环形侧壁连接,且与第一环形侧壁形成出火缝隙。其中,第五连接部开设有内环火孔,且第五连接部远离第二混气腔一侧的表面为斜面。第五连接部连接第四连接部的一端形成第一开口,远离第四连接部的一端形成第二开口。第以开口的尺寸大于第二开口的尺寸。
在一些实施例中,第一环形侧壁远离底壁一端的端面具有多个凹槽。
在一些实施例中,燃烧器还包括壳体。壳体包括壳体底壁以及绕壳体底壁一周设置的壳体侧壁。壳体底壁和壳体侧壁围成安装腔,壳体底壁开设有避让口。其中,燃烧器主体以及中心引射管组件安装于安装腔内,避让口与空气补充通道连通。
另一方面,本申请实施例提供了一种燃气灶,包括底壳、面板以及上述任一种燃烧器。面板与底壳围成容纳空间,燃烧器安装于容纳空间。
由于本申请实施例提供燃气灶包括上述任一种燃烧器。因此,该燃气灶能够解决相同的问题,达到相同的技术效果,此处不再赘述。
附图说明
图1为本申请实施例提供的一种燃气灶的整体结构示意图;
图2为底壳与面板分离时的结构示意图;
图3为本申请实施例提供的一种燃烧器的结构示意图;
图4为本申请实施例提供的一种燃烧器的剖视图;
图5为本申请实施例提供的一种燃烧器的爆炸图;
图6为中心引射管组件的爆炸图;
图7为燃烧器主体的爆炸图;
图8为图4中A处的局部放大图;
图9为炉头的整体结构示意图;
图10为本申请实施例提供的燃烧器的另一种剖视图;
图11为图10中A处的局部放大图;
图12为图4中B处的局部放大图;
图13为图4中C处的局部放大图;
图14为本申请实施例提供的燃气灶的俯视图。
具体实施方式
下面结合附图对本申请实施例进行详细描述。
在本申请的描述中,需要理解的是,术语“中心”、“上”、“下”、“前”、“后”、“左”、“右”、“竖直”、“水平”、“顶”、“底”、“内”、“外”等指示的方位或位置关系为基于附图所示的方位或位置关系,仅是为了便于描述本申请和简化描述,而不是指示或暗示所指的装置或元件必须具有特定的方位、以特定的方位构造和操作,因此不能理解为对本申请的限制。术语“第一”、“第二”仅用于描述目的,而不能理解为指示或暗示相对重要性或者隐含指明所指示的技术特征的数量。由此,限定有“第一”、“第二”的特征可以明示或者隐含地包括一个或者更多个该特征。在本申请的描述中,除非另有说明,“多个”的含义是两个或两个以上。
在本申请的描述中,需要说明的是,除非另有明确的规定和限定,术语“安装”、“相连”、“连接”应做广义理解,例如,可以是固定连接,也可以是可拆卸连接,或一体地连接;可以是机械连接,也可以是电连接;可以是直接相连,也可以通过中间媒介间接相连,可以是两个元件内部的连接。对于本领域的普通技术人员而言,可以具体情况理解上述术语在本申请中的具体含义。
爆炒是一种常用的烹饪手法,其需要较大的火力支持才能够达到较好的烹饪效果。目前,大多数家庭通常采用燃气灶来进行烹饪,燃烧器的火力大小是影响爆炒效果的重要因素。
相关技术中,为了提升燃气灶的火力大小,燃气灶另外设有气管支路。这样,通过该气管支路可以增大燃气的进气量,进而达到提升燃烧器火力的效果。但是,在对食物进行爆炒的时候,上述燃气灶的火力还不够大,无法实现较好的爆炒效果。
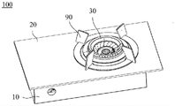
基于此,本申请实施例提供的一种燃气灶,如图1所示,图1为本申请实施例提供的一种燃气灶100的整体结构示意图。燃气灶100可以包括底壳10、面板20以及燃烧器30。
参照图2,图2为底壳10与面板20分离时的结构示意图,底壳10包括底壳底壁11以及绕底壳底壁11一周设置的底壳侧壁12。底壳底壁11和底壳侧壁12围成具有开口的容纳腔101。容纳腔101可以用于放置燃烧器30(图1)。可以理解的是,底壳10可以具有不同的外部形状,示例性的,如图2所示,底壳底壁11可以为矩形,所围成的容纳腔101可以为长方体状。
此外,如图2所示,底壳底壁11上可以开设有多个通气孔111。可知的,燃气在被点燃前以及燃烧过程中需要一定的空气。由此,通过设置通气孔111,外界的空气可顺利地进入到容纳腔101内,进而被燃烧器30(图1)所利用,保证燃气的充分燃烧。当然,底壳侧壁12上也可以开设有多个通气孔111。
继续参照图2,面板20可以扣合于底壳底壁11远离底壳侧壁12一侧(面板20与底壳10扣合时的状态可参照图1),面板20与底壳10围成容纳空间,燃烧器30(图1)放置于容纳空间。其中,容纳空间为底壳10和面板20围成的较为封闭的空间。
此外,如图2所示,为了方便燃烧器30(图1)伸出,面板20开设有灶口201。燃烧器30(图1)的一部分伸出灶口201。通过设置灶口201,使得燃烧器30能够从面板20伸出,使火焰直接对锅具的底部进行加热。
可以理解的是,灶口201的数量可以根据底壳10和面板20的尺寸设置。示例性的,如图2所示,当底壳10和面板20的尺寸较小时,面板20上可以仅设置一个灶口201。
当然,当底壳10和面板20的尺寸较大时,面板20上也可以设置有多个灶口201。灶口201的数量为多个时,每个灶口201处可以设置一个燃烧器30。面板20开设有多个灶口201时,可以同时利用多个燃烧器30来进行烹饪。
下面,对本申请实施例提供的燃烧器30做进一步介绍。如图3所示,图3为本申请实施例提供的一种燃烧器30的结构示意图,燃烧器30可以包括燃烧器主体31、中心引射管组件32、第一引射管33、第二引射管34以及第三引射管35。
如图4所示,图4为本申请实施例提供的一种燃烧器30的剖视图,燃烧器主体31具有空气补充通道311,空气补充通道311可以用于补充燃气燃烧所需要的二次空气。燃烧器主体31还具有依次环绕设置于空气补充通道311外围的第一混气室312、第二混气室313以及第三混气室314。
其中,可以理解的是,第一混气室312、第二混气室313以及第三混气室314均用于使空气与燃气进行充分混合,并且混合后的气体可以分别从第一混气室312、第二混气室313以及第三混气室314流出并进行燃烧。
第一引射管33与第一混气室312连通,第二引射管34与第二混气室313连通,第三引射管35与第三混气室314连通。
这样,第一引射管33可以将燃气和空气的混气气体送入至第一混气室312内进行充分混合,第二引射管34可以将燃气和空气的混气气体送入至第二混气室313内进行充分混合,第三引射管35可以将燃气和空气的混合气体送入至第三混气室314进行混合。
由此,燃气和空气的混合气体经过第一引射管33进行到第一混气室312内进行充分混合,然后从第一混气室312送出进行燃烧,形成环火。类似的,燃气和空气的混合气体从第二混气室313以及第三混气室314送出进行燃烧后也会形成环火。最终,燃烧器30可以形成火力较大的三环火。同时,由于燃烧器主体31具有空气补充通道311,可以使得燃气能够充分燃烧,避免燃气燃烧不足产生有害气体的情况发生。
此外,参照图3,中心引射管组件32的一部分位于空气补充通道311内,用于将燃气送至空气补充通道311内。这样,中心引射管组件32在空气补充通道311内可以形成中心火,进一步增大燃烧器30的火力,使得燃烧器30能够满足爆炒所需要的大火力。
基于此,本申请实施例提供的燃烧器30,燃烧器主体31形成有第一混气室312、第二混气室313以及第三混气室314。与第一混气室312连通的第一引射管33可以将燃气和空气的混合气体送至第一混气室312进行充分混合,并最终从第一混气室312流出形成环火。与第二混气室313连通的第二引射管34也可以将燃气和空气的混合气体送至第二混气室313进行充分混合,并最终从第二混气室313流出形成环火。与第三混气室314连通的第三引射管35将燃气和空气的混合气体送至第三混气室314进行充分混合,并最终从第三混气室314流出形成环火。这样,燃烧器30整体能够形成三环火,火力较大。
此外,燃烧器主体的空气补充通道311可以在上述三环火燃烧过程中为燃气补充二次空气,保证燃气的充分燃烧,避免燃气燃烧不充分,产生有害气体的情况发生。并且,由于中心引射管组件32的一部分位于空气补充通道311内,可以形成中心火,进一步增大了燃烧器30的火力,使得燃烧器30能够满足爆炒的火力要求,实现较好的爆炒效果。
如图5所示,图5为本申请实施例提供的一种燃烧器30的爆炸图,为了固定燃烧器主体31和中心引射管组件32,在一些实施例中,燃烧器30还可以包括壳体36,壳体36包括壳体底壁361以及绕壳体底壁361一周设置的壳体侧壁362。壳体底壁361和壳体侧壁362围成安装腔363。这样,安装腔363为燃烧器主体31和中心引射管组件32提供了安装空间。
由此,参照图5,燃烧器主体31和中心引射管组件32可以安装于安装腔363内。示例性的,燃烧器主体31可以与壳体底壁361连接,固定于壳体底壁361上。中心引射管组件32远离空气补充通道311一端也可以与壳体底壁361连接。在安装完成后,直接将壳体36与底壳10(图2)的底壁11(图2)连接,固定于底壁11(图2)上即可。
继续参照图5,壳体底壁361开设有避让口3611,避让口3611与空气补充通道311连通。这样,空气可通过避让口3611进入到空气补充通道311内。当壳体36与底壳10(图2)的底壁11(图1)连接时,避让口3611可以与通气孔111(图2)相对设置。
如图6所示,图6为中心引射管组件32的爆炸图,在一些实施例中,中心引射管组件32可以包括中心引射管321以及中心火盖322。
中心引射管321的一部分位于空气补充通道311(图5)内,中心引射管321位于空气补充通道311(图5)内的部分形成有第四混气腔3211。由此,便可以通过中心引射管321将燃气与空气的混合气体送至第四混气腔3211内进行充分混合。
中心火盖322盖设于第四混气腔3211,与第四混气腔3211形成第四混气室。中心火盖322上开设有多个中心火孔3221。由此,第四混气腔3211内的混合气体可通过中心火孔3221流出并进行燃烧,形成中心火,使燃烧器的火力提升,满足爆炒所需求的火力。
在一些实施例中,中心火孔3221垂直向上设置。这样,火焰正对锅具的底部,使得加热效率进一步提高。
继续参照图6,中心引射管组件32还可以包括第一喷嘴323,第一喷嘴323设置于中心引射管321远离中心火盖322一端。燃气可通过第一喷嘴323高速喷出,同时,喷嘴323的周围形成负压,外界的空气随着燃气一起流动至中心引射管321内并流动至第四混气腔3211内进行充分混合。
为了固定第一喷嘴323,如图6所示,中心引射管组件32还可以包括连接杆324以及固定底座325。连接杆324的一端与中心引射管321远离中心火盖322一端连接,另一端与固定底座325连接,第一喷嘴323与固定底座325连接。
这样,通过连接杆324以及固定底座325可以将第一喷嘴323进行固定。固定更加方便。当然,也可以直接将喷嘴323固定在中心引射管321远离中心火盖322的一端。
在一些实施例中,固定底座325与中心引射管321远离中心火盖322一端之间具有间隙。由于固定底座325与中心引射管321远离中心火盖322一端之间具有间隙,即第一喷嘴323与中心引射管321远离中心火盖322一端之间具有间隙。这样,第一喷嘴323在喷射燃气时,有足够的空气能够同燃气一起进入中心引射管321内部,确保一次空气的进气量。
同理的,如图5所示,燃烧器30还可以包括喷嘴固定座37以及三个第二喷嘴38。三个第二喷嘴38安装于喷嘴固定座37上。其中,第一引射管33、第二引射管34以及第三引射管35各自远离燃烧器主体31的一端分别设置有一个第二喷嘴38,以朝上述第一引射管33、第二引射管34以及第三引射管35喷射燃气。
其中,喷嘴固定座37可以与燃烧器主体31连接,也可以与壳体36连接。示例性的,如图5所示,壳体36还包括支架364,支架364与壳体侧壁362连接,位于安装腔363外。喷嘴固定座37与支架364连接,以实现喷嘴固定座37的固定。
此外,示例性的,如图5所示,第一引射管33、第二引射管34以及第三引射管35各自远离燃烧器主体31的一端与对应的第二喷嘴38之间具有间隔。这样,可以保证足够的外界空气在第二喷嘴38的作用下分别进入到第一引射管33、第二引射管34以及第三引射管35内。
下面,对燃烧器30中的燃烧器主体31做进一步介绍。如图7所示,图7为燃烧器主体31的爆炸图,在一些实施例中,燃烧器主体31可以包括炉头40、内环火盖50以及外环火盖60。炉头40形成有上述空气补充通道311,还形成有依次环绕设置于空气补充通道311外围的第一混气腔401、第二混气腔402以及第三混气腔403。
内环火盖50盖设于第一混气腔401以及第二混气腔402(如图4所示的状态)。内环火盖50与第一混气腔401形成第一混气室312(图4),与第二混气腔402形成第二混气室313(图4)。
外环火盖60盖设于第三混气腔403,与第三混气腔403形成第三混气室314(图4)。
由此,通过内环火盖50盖设在第一混气腔401以及第二混气腔402上形成第一混气室312以及第二混气室313,外环火盖60盖设在第三混气腔403来形成第三混气室314。内环火盖50和外环火盖60之间相互独立,方便各自进行拆卸和安装,组装更加方便。同时,通过内环火盖50与炉头40的配合,直接形成第一混气室312和第二混气室313,简化了燃烧器主体31的整体结构,使得结构相对简单。
当然,燃烧器主体31也可以包括单个火盖,该火盖直接盖设在炉头40的第一混气腔401、第二混气腔402以及第三混气腔403上。或者,燃烧器主体31也可以包括三个火盖,三个火盖分别盖设在炉头40的第一混气腔401、第二混气腔402以及第三混气腔403上。
继续参照图7,在一些实施例中,内环火盖50的内环面开设有多个内环火孔501,多个内环火孔501与第二混气腔402连通。如图4所示,第二混气室313内的混合气体可以通过多个内环火孔501中流出并进行燃烧,形成火孔型环火。
示例性的,如图7所示,多个内环火孔501沿内环火盖50的内环面的径向设置有多排,每排沿内环火盖50的内环面的周向间隔设置有多个内环火孔501。
在一些实施例中,内环火孔501的轴线与空气补充通道311的轴线异面,即内环火孔501的轴线不经过空气补充通道311的轴线。这样,多个内环火孔501可形成旋火,进一步提升火力。
同时,如图8所示,图8为图4中A处的局部放大图,内环火盖50靠近第一混气腔401一侧与炉头之间具有出火缝隙502,出火缝隙502与第一混气腔401连通。这样,第一混气腔401内的混合气体可通过出火缝隙502中流出并进行燃烧,形成缝隙环火。
当然,第一混气腔401内的混合气体也可以以不同的方式流出。例如,在另一些实施例中,内环火盖50上的一部分内环火孔501与第一混气腔401连通。这样,第一混气腔401内的混合气体也可以通过内环火孔501流出,形成环火。同时,内环火盖50靠近第一混气腔401一侧也可以具有上述出火缝隙502。此时,第一混气腔401的一部分混合气体从内环火孔501流出,形成火孔型环火,另一部分混合气体从出火缝隙502处流出形成缝隙型环火。
如图7所示,外环火盖60的外环面开设有多个外环火孔601,外环火孔601与第三混气腔403连通。这样,第三混气腔403内的混合气体通过外环火孔601流出并燃烧,形成火孔型环火。同时,由于外环火孔601位于外环火盖60的外环面,一方面可以更好的与外界空气接触,进行充分燃烧,另一方面也可以避免与从内环火盖50的内环火孔501处的火焰相互接触,减少火焰之间的相互干扰,保证燃烧效率。当然,外环火孔601也可以设置于外环火盖60的内环面上。
为了使炉头40能够形成空气补充通道311、第一混气腔401、第二混气腔402以及第三混气腔403。如图9所示,图9为炉头40的整体结构示意图,在一些实施例中,炉头40可以包括底壁41、第一环形侧壁42、第二环形侧壁43、第三环形侧壁44以及第四环形侧壁45。底壁41为环状结构,具有中心孔。
第一环形侧壁42与底壁41连接,围设于中心孔的周边。第一环形侧壁围成空气补充通道311。如图8所示,第一环形侧壁42远离底壁41(图9)一端与内环火盖50之间具有上述出火缝隙502。
如图10所示,图10为本申请实施例提供的燃烧器30的另一种剖视图,第二环形侧壁43与底壁41连接,位于第一环形侧壁42远离空气补充通道311一侧。第二环形侧壁43远离底壁41一端与内环火盖50连接。
由此,底壁41、第一环形侧壁42以及第二环形侧壁43围成上述第一混气腔401(图7)。由于第一环形侧壁42远离底壁41一端与内环火盖50之间具有上述出火缝隙502,第二环形侧壁43远离底壁41一端与内环火盖50连接。这样,第一混气腔401内的混合气体可以通过第一环形侧壁42远离底壁41一端与内环火盖50之间的出火缝隙502流出形成缝隙火。
继续参照图10,第三环形侧壁44位于第二环形侧壁43远离第一环形侧壁42一侧,第三环形侧壁44远离底壁41一端与内环火盖50以及外环火盖60连接。第四环形侧壁45与底壁41连接,位于第三环形侧壁44远离第二环形侧壁43一侧。第四环形侧壁45远离底壁41一端与外环火盖60连接。
由此,底壁41、第二环形侧壁43以及第三环形侧壁44围成第二混气腔402(图7)。底壁41、第三环形侧壁44以及第四环形侧壁45围成第三混气腔403(图7)。
为了使第三混气腔403与第二混气腔402相互分离,如图11所示,图11为图10中A处的局部放大图,在一些实施例中,外环火盖60可以包括第一盖板61、第一分隔板62以及第二分隔板63。
第一盖板61包括第一连接部611、第二连接部612以及第三连接部613。第一连接部611、第二连接部612以及第三连接部613均为环状结构。第一连接部611的内环与第二连接部612连接,第一连接部611的外环与第三连接部613连接。第三连接部613开设有外环火孔601。
第一分隔板62位于第一盖板61靠近第三混气腔403一侧,一端与第二连接部612连接,另一端与第三环形侧壁44抵靠。第二分隔板63位于盖板61靠近第三混气腔403一侧,一端与第三连接部613连接,另一端与第四环形侧壁45抵靠。由此,第一分隔板62和第二分隔板63将第三混气腔403与第二混气腔402相互分隔。
如图12所示,图12为图4中B处的局部放大图,在一些实施例中,第三连接部613靠近第四环形侧壁45的一端与第四环形侧壁45之间具有间隙。第二分隔板63上可以开设有第一通气火孔631,第一通气火孔631与第三混气腔403连通。这样,第三混气腔403中的一部分混合气体可以从第一通气火孔631处流出,并经过第三连接部613与第四环形侧壁45之间的间隙流出,从该缝隙流出的混气气体燃烧后可对从外环火孔601处的火焰进行加热,提高外环火孔601处的燃烧效率,防止出现离焰现象。
参照图11,在一些实施例中,内环火盖50可以包括第四连接部51以及第五连接部52。第四连接部51以及第五连接部52均为环状结构。第四连接部51的外环与第一分隔板62抵靠,第四连接部51的内环与第五连接部52连接。第五连接部52远离第四连接部51的一端与第二环形侧壁43(图10)抵靠,且与第一环形侧壁42(图10)形成出火缝隙502(图8)。由此,通过第四连接部51和第五连接部52,将第一混气腔401和第二混气腔402相互分隔开来。
其中,如图10所示,第五连接部52开设有内环火孔501,且第五连接部52远离第二混气腔402(图11)的表面为斜面。第五连接部52连接第四连接部51的一端形成第一开口,远离第四连接部51的一端形成第二开口。第一开口的尺寸大于第二开口的尺寸。这样,如图10所示,第五连接部52形成一个朝下倾斜的斜面,进而使得从内环火孔501处喷出的火焰朝向中心的方向,形成的火焰更加聚拢,加热效果更好。
类似的,如图11所示,第三连接部613远离第三混气腔403一侧的表面为斜面,第三连接部613与第一连接部611连接的一端形成第三开口,远离第一连接部611的一端形成第四开口,第三开口的尺寸大于第四开口的尺寸。这样,第三连接部613上的外环火孔601可以朝外喷射,对锅具底部的外边缘起到较好的加热效果,使得锅具加热更加均衡。
在一些实施例中,如图13所示,图13为图4中C处的局部放大图,第二连接部612远离第一连接部611(图11)的一端与第四连接部51之间具有间隙,第四连接部51可以开设有第二通气火孔511,第二通气火孔511与第二混气腔402连通。由此,第二混气腔402中的部分气体可通过第二通气火孔511流出,在内环火孔501的外侧形成一圈稳焰火,起到稳焰作用,防止出现离焰现象。
为了增大第一混气腔401中混气气体的出气量,如图9所示,在一些实施例中,第一环形侧壁42远离底壁41一端的端面具有多个凹槽421。这样,第一混气腔401(图8)中的混合气体可通过凹槽421处流出,增大了混合气体的出气量,形成的缝隙型环火的火力较大。
为了使第一环形侧壁42周向的各个位置处的出气量相同,多个凹槽421可以沿第一环形侧壁42远离底壁41一端端面的周向均匀排布,以保证各个该端面的各个位置处的出气量相同,出火更加均匀。
如图14所示,图14为本申请实施例提供的燃气灶100的俯视图,为了保证燃气的流动以及控制燃气灶100的打开和关闭。燃气灶100还包括燃气管路70以及阀体80。
其中,燃气管路70可以包括第一主通气管路71以及第二主通气管路72。阀体80可以包括开关阀体81。第一主通气管路71的一端与开关阀体81连接,第一主通气管路71的另一端用于与燃气管连接。第二主通气管路72的一端与开关阀体81连接。
由此,燃气经过第一主通气管路71流动至开关阀体81处。当开关阀体81打开时,燃气通过开关阀体81流动至第二主通气管路72处。当开关阀体81关闭时,整个燃气灶100处于关闭状态。
此外,为了使得燃气灶100能够实现不同的火力挡位,燃气管路70还包括第一出气管路73和三个第二出气管路74。阀体80还包括第一比例阀体82和第二比例阀体83。
其中,第一比例阀体82与第二主通气管路72连通,第一出气管路73的一端与第一喷嘴323(图6)连通,另一端与第一比例阀体82连通。由此,通过控制第一比例阀体82,可以打开和关闭中心引射管组件32(图3)对应的中心火。
通过第一比例阀体82的打开程度可以控制中心火的火力大小。第一比例阀体82完全打开时,中心火的火力最大,第一比例阀体82打开程度最小时,中心火的火力最小。
可以理解的是,中心火的最大火力和最小火力可根据实际情况进行设置。例如,第一比例阀体82完全打开时,中心火的热负荷为500W,第一比例阀体82打开程度最小时,中心火的热负荷可以为200W。其中,热负荷代表火力大小,数值越高,火力越大。
第二比例阀体83与第二主通气管路72连通,三个第二出气管路74的一端分别与一个第二喷嘴38连通,另一端与第二比例阀体83连通。这样,通过调节第二比例阀体83打开的程度,可以使得燃气喷射至第一引射管33(图5)、第二引射管34(图5)以及第三引射管35(图5)中的一个或者多个中,以实现不同大小的火力。
第二比例阀体83可以具有多个挡位,不同挡位对应不同的流通方式。示例性的,第二比例阀体83可以具有九个挡位。当第二比例阀体83处于一档时,燃气经过一条第二出气管路74进入到第一引射管33(图5)内,并从第一混气室312(图4)内流出形成缝隙火。此时,燃烧器的火力较小。
当第二比例阀体83处于二档至六档时,燃气通过两条第二出气管路74分别进入到第一引射管33(图5)以及第二引射管34(图5)内,并最终形成缝隙火以及中环火。
其中,当第二比例阀体83处于二档时,便可以形成缝隙火以及中环火。三档至六档可以调节进入到第二引射管34(图5)内的燃气的流量,进而调整形成的中环火的火力大小。同样的,中环火的火力的调节范围可根据实际情况进行设定,例如,当第二比例阀体83处于二档时,中环火的热负荷可以为200W,档第二比例阀体83处于六档时,中环火的热负荷可以为500W。
当第二比例阀体83处于七档至九档时,燃气通过三条第二出气管路74分别进入到第一引射管33(图5)、第二引射管34(图5)以及第三引射管35(图5)内,最终形成缝隙火、内环火以及外环火,此时,燃烧器为三环火,火力较高。
类似的,外环火的火力大小可以调节,当第二比例阀体83处于七档时,便可以形成三环火,八档和九档可以调节进入第三引射管35(图5)内的燃气的流量,进而调节外环火的火力大小。同样的,外环火的火力调节范围可根据实际情况设置,此处不再说明。
由此,通过第一比例阀体82和第二比例阀体83,可以选择不同的火力大小进行烹饪。示例性的,当使用燃烧器进行煲汤时,需要的火力较小。此情况下,可以打开燃气灶的开关阀体81以及第一比例阀体82,关闭第二比例阀体83。这样,只有中心引射管组件32(图3)形成的中心火打开,火力较小,可以慢慢加热。
当进行爆炒时,同时完全打开第一比例阀体82以及第二比例阀体83,使得燃烧器的火力最大,满足爆炒需求。此时,作为示例的,燃烧器的整体的热负荷可以达到5.7KW,完全可以满足爆炒所需的火力要求。当然,燃烧器整体的热负荷可根据燃烧器的整体结构来进行设计,此处仅作为示例。
此外,如图1所示,为了固定锅具,燃气灶100还可以包括锅支架90,锅支架90放置于面板20上,位于所述燃烧器30的周边,可以支撑锅具,同时使锅具与燃烧器30之间具有一定的间隔,从而使得火焰能够充分接触到外部空气,燃烧更加充分。
以上所述,仅为本申请的具体实施方式,但本申请的保护范围并不局限于此,任何熟悉本技术领域的技术人员在本申请揭露的技术范围内,可轻易想到变化或替换,都应涵盖在本申请的保护范围之内。因此,本申请的保护范围应以所述权利要求的保护范围为准。

Claims (10)

1.一种燃烧器,其特征在于,包括:
燃烧器主体,具有空气补充通道;所述空气补充通道用于补充燃气燃烧所需要的二次空气;所述燃烧器主体还具有依次环绕设置于所述空气补充通道外围的第一混气室、第二混气室以及第三混气室;
中心引射管组件,所述中心引射管组件的一部分位于所述空气补充通道内;所述中心引射管组件用于将燃气送至所述空气补充通道内;
第一引射管,与所述第一混气室连通;
第二引射管,与所述第二混气室连通;以及,
第三引射管,与所述第三混气室连通。
2.根据权利要求1所述的燃烧器,其特征在于,所述燃烧器主体包括:
炉头,所述炉头形成有所述空气补充通道,还形成有依次环绕设置于所述空气补充通道外围的第一混气腔、第二混气腔以及第三混气腔;
内环火盖,盖设于所述第一混气腔以及所述第二混气腔;所述内环火盖与所述第一混气腔形成所述第一混气室;所述内环火盖与所述第二混气腔形成所述第二混气室;
外环火盖,盖设于所述第三混气腔;所述外环火盖与所述第三混气腔形成所述第三混气室。
3.根据权利要求1所述的燃烧器,其特征在于,所述中心引射管组件包括:
中心引射管,所述中心引射管的一部分位于所述空气补充通道内,所述中心引射管位于所述空气补充通道内的部分形成有第四混气腔;以及,
中心火盖,所述中心火盖盖设于所述第四混气腔,与所述第四混气腔形成第四混气室;所述中心火盖开设有多个中心火孔。
4.根据权利要求2所述的燃烧器,其特征在于,所述内环火盖的内环面开设有多个内环火孔;所述内环火孔与所述第二混气腔连通;所述内环火盖靠近所述第一混气腔一侧与所述炉头之间具有出火缝隙;所述出火缝隙与所述第一混气腔连通;
所述外环火盖的外环面开设有多个外环火孔;所述外环火孔与所述第三混气腔连通。
5.根据权利要求4所述的燃烧器,其特征在于,所述炉头包括:
底壁,为环状结构,具有中心孔;
第一环形侧壁,与所述底壁连接,围设于所述中心孔的周边;所述第一环形侧壁围成所述空气补充通道;所述第一环形侧壁远离所述底壁一端与所述内环火盖之间具有所述出火缝隙;
第二环形侧壁,与所述底壁连接;所述第二环形侧壁位于所述第一环形侧壁远离所述空气补充通道一侧;所述第二环形侧壁远离所述底壁一端与所述内环火盖连接;
第三环形侧壁,与所述底壁连接;所述第三环形侧壁位于所述第二环形侧壁远离所述第一环形侧壁一侧;所述第三环形侧壁远离所述底壁一端与所述内环火盖和所述外环火盖连接;以及,
第四环形侧壁,与所述底壁连接;所述第四环形侧壁位于所述第三环形侧壁远离所述第二环形侧壁一侧;所述第四环形侧壁远离所述底壁一端与所述外环火盖连接。
6.根据权利要求5所述的燃烧器,其特征在于,所述外环火盖包括:
第一盖板,包括第一连接部、第二连接部以及第三连接部;所述第一连接部、所述第二连接部以及所述第三连接部均为环状结构;所述第一连接部的内环与所述第二连接部连接,所述第一连接部的外环与所述第三连接部连接;所述第三连接部开设有所述外环火孔;
第一分隔板,位于所述第一盖板靠近所述第三混气腔一侧;所述第一分隔板的一端与所述第二连接部连接,另一端与所述第三环形侧壁抵靠;以及,
第二分隔板,位于所述第一盖板靠近所述第三混气腔一侧;所述第二分隔板的一端与所述第三连接部连接,另一端与所述第四环形侧壁抵靠。
7.根据权利要求6所述的燃烧器,其特征在于,所述内环火盖包括第四连接部以及第五连接部;所述第四连接部以及所述第五连接部均为环状结构;所述第四连接部的外环与所述第一分隔板抵靠,所述第四连接部的内环与所述第五连接部连接;所述第五连接部远离所述第四连接部的一端与所述第二环形侧壁连接,且与所述第一环形侧壁形成所述出火缝隙;
其中,所述第五连接部开设有所述内环火孔,且所述第五连接部远离所述第二混气腔一侧的表面为斜面;所述第五连接部连接所述第四连接部的一端形成第一开口,远离所述第四连接部的一端形成第二开口;所述第一开口的尺寸大于所述第二开口的尺寸。
8.根据权利要求5所述的燃烧器,其特征在于,所述第一环形侧壁远离所述底壁一端的端面具有多个凹槽。
9.根据权利要求1所述的燃烧器,其特征在于,所述燃烧器还包括:
壳体,所述壳体包括壳体底壁以及绕所述壳体底壁一周设置的壳体侧壁;所述壳体底壁与所述壳体侧壁围成安装腔;所述壳体底壁开设有避让口;
其中,所述燃烧器主体以及所述中心引射管组件安装于所述安装腔,所述避让口与所述空气补充通道连通。
10.一种燃气灶,其特征在于,包括底壳、面板以及权利要求1~9中任一项所述的燃烧器;所述面板与所述底壳围成容纳空间,所述燃烧器安装于所述容纳空间。
CN202210641769.6A 2022-06-08 2022-06-08 一种燃烧器及燃气灶 Pending CN115076686A (zh)

Priority Applications (1)

Application Number Priority Date Filing Date Title
CN202210641769.6A CN115076686A (zh) 2022-06-08 2022-06-08 一种燃烧器及燃气灶

Applications Claiming Priority (1)

Application Number Priority Date Filing Date Title
CN202210641769.6A CN115076686A (zh) 2022-06-08 2022-06-08 一种燃烧器及燃气灶

Publications (1)

Publication Number Publication Date
CN115076686A true CN115076686A (zh) 2022-09-20

Family

ID=83250694

Family Applications (1)

Application Number Title Priority Date Filing Date
CN202210641769.6A Pending CN115076686A (zh) 2022-06-08 2022-06-08 一种燃烧器及燃气灶

Country Status (1)

Country Link
CN (1) CN115076686A (zh)

Cited By (1)

* Cited by examiner, † Cited by third party
Publication number Priority date Publication date Assignee Title
CN115854343A (zh) * 2022-12-27 2023-03-28 广东汉普韦尔电子科技有限公司 大气式中餐炒炉燃烧器

Citations (8)

* Cited by examiner, † Cited by third party
Publication number Priority date Publication date Assignee Title
ITVE20010043A1 (it) * 2001-10-24 2003-04-24 Ohg Defendi S R L Bruciatore a gas a piu' settori di fiamma
CN204730202U (zh) * 2015-06-15 2015-10-28 宁波方太厨具有限公司 一种燃气灶火盖
CN205669808U (zh) * 2016-06-16 2016-11-02 广东海信家电有限公司 一种高效三环火燃烧器及燃气灶
CN107525074A (zh) * 2017-09-11 2017-12-29 佛山市云米电器科技有限公司 节能燃烧器
CN213066108U (zh) * 2020-08-28 2021-04-27 佛山市顺德区美的洗涤电器制造有限公司 底杯、燃烧器和灶具
CN214009287U (zh) * 2020-11-30 2021-08-20 宁波方太厨具有限公司 灶具燃烧器
CN214370385U (zh) * 2020-11-27 2021-10-08 广东万和新电气股份有限公司 一种用于燃气灶的分火器及燃烧器
CN214581069U (zh) * 2021-01-11 2021-11-02 青岛海尔智慧厨房电器有限公司 燃烧器及燃气灶

Patent Citations (8)

* Cited by examiner, † Cited by third party
Publication number Priority date Publication date Assignee Title
ITVE20010043A1 (it) * 2001-10-24 2003-04-24 Ohg Defendi S R L Bruciatore a gas a piu' settori di fiamma
CN204730202U (zh) * 2015-06-15 2015-10-28 宁波方太厨具有限公司 一种燃气灶火盖
CN205669808U (zh) * 2016-06-16 2016-11-02 广东海信家电有限公司 一种高效三环火燃烧器及燃气灶
CN107525074A (zh) * 2017-09-11 2017-12-29 佛山市云米电器科技有限公司 节能燃烧器
CN213066108U (zh) * 2020-08-28 2021-04-27 佛山市顺德区美的洗涤电器制造有限公司 底杯、燃烧器和灶具
CN214370385U (zh) * 2020-11-27 2021-10-08 广东万和新电气股份有限公司 一种用于燃气灶的分火器及燃烧器
CN214009287U (zh) * 2020-11-30 2021-08-20 宁波方太厨具有限公司 灶具燃烧器
CN214581069U (zh) * 2021-01-11 2021-11-02 青岛海尔智慧厨房电器有限公司 燃烧器及燃气灶

Cited By (1)

* Cited by examiner, † Cited by third party
Publication number Priority date Publication date Assignee Title
CN115854343A (zh) * 2022-12-27 2023-03-28 广东汉普韦尔电子科技有限公司 大气式中餐炒炉燃烧器

Similar Documents

Publication Publication Date Title
CN110410784A (zh) 炉头、燃烧器和燃气灶
CN210951313U (zh) 燃烧器和燃气灶
CN114811583A (zh) 分气盘、燃烧器及燃气灶
CN217464428U (zh) 用于燃烧器的火盖、燃烧器及燃气灶
CN201672516U (zh) 一种烤炉燃烧器
CN115076686A (zh) 一种燃烧器及燃气灶
CN217464431U (zh) 用于燃烧器的火盖及燃气灶
CN210179623U (zh) 一种高效聚能炉头
CN210624515U (zh) 炉头、燃烧器和燃气灶
CN110285449B (zh) 一种高效聚能上进风炉头
CN220750119U (zh) 一种上进风型灶具燃烧器及集成灶
CN217464429U (zh) 用于燃烧器的火盖、燃烧器及燃气灶
CN217464430U (zh) 用于燃烧器的火盖组件及燃气灶
CN217464424U (zh) 火盖、燃烧器及燃气灶
CN216844675U (zh) 燃烧器火盖及燃烧器具
CN212377969U (zh) 一种灶具燃烧器及灶具
CN119245028A (zh) 火盖组件、燃烧器及燃气灶
CN114278938A (zh) 燃烧器火盖及燃烧器具
CN223204344U (zh) 燃烧器及燃气灶
CN223537632U (zh) 一种燃气灶
CN221005061U (zh) 燃烧器的火盖组件、燃烧器及燃气灶
CN112097254A (zh) 一种燃烧器和燃气灶
CN217464419U (zh) 燃烧器及燃气灶
CN212746462U (zh) 一种新型炉头
CN117553296B (zh) 燃烧器及灶具

Legal Events

Date Code Title Description
PB01 Publication
PB01 Publication
SE01 Entry into force of request for substantive examination
SE01 Entry into force of request for substantive examination