CN115069863A - 一种电机加工用冲压工装 - Google Patents

一种电机加工用冲压工装 Download PDF

Info

Publication number
CN115069863A
CN115069863A CN202210997661.0A CN202210997661A CN115069863A CN 115069863 A CN115069863 A CN 115069863A CN 202210997661 A CN202210997661 A CN 202210997661A CN 115069863 A CN115069863 A CN 115069863A
Authority
CN
China
Prior art keywords
punching
fixed
motor
block
stamping
Prior art date
Legal status (The legal status is an assumption and is not a legal conclusion. Google has not performed a legal analysis and makes no representation as to the accuracy of the status listed.)
Pending
Application number
CN202210997661.0A
Other languages
English (en)
Inventor
潘砚福
Current Assignee (The listed assignees may be inaccurate. Google has not performed a legal analysis and makes no representation or warranty as to the accuracy of the list.)
Zhucheng Kaiyuan Energy Saving Technology Co ltd
Original Assignee
Zhucheng Kaiyuan Energy Saving Technology Co ltd
Priority date (The priority date is an assumption and is not a legal conclusion. Google has not performed a legal analysis and makes no representation as to the accuracy of the date listed.)
Filing date
Publication date
Application filed by Zhucheng Kaiyuan Energy Saving Technology Co ltd filed Critical Zhucheng Kaiyuan Energy Saving Technology Co ltd
Priority to CN202210997661.0A priority Critical patent/CN115069863A/zh
Publication of CN115069863A publication Critical patent/CN115069863A/zh
Pending legal-status Critical Current

Links

Images

Classifications

    • BPERFORMING OPERATIONS; TRANSPORTING
    • B21MECHANICAL METAL-WORKING WITHOUT ESSENTIALLY REMOVING MATERIAL; PUNCHING METAL
    • B21DWORKING OR PROCESSING OF SHEET METAL OR METAL TUBES, RODS OR PROFILES WITHOUT ESSENTIALLY REMOVING MATERIAL; PUNCHING METAL
    • B21D22/00Shaping without cutting, by stamping, spinning, or deep-drawing
    • B21D22/02Stamping using rigid devices or tools
    • BPERFORMING OPERATIONS; TRANSPORTING
    • B21MECHANICAL METAL-WORKING WITHOUT ESSENTIALLY REMOVING MATERIAL; PUNCHING METAL
    • B21DWORKING OR PROCESSING OF SHEET METAL OR METAL TUBES, RODS OR PROFILES WITHOUT ESSENTIALLY REMOVING MATERIAL; PUNCHING METAL
    • B21D43/00Feeding, positioning or storing devices combined with, or arranged in, or specially adapted for use in connection with, apparatus for working or processing sheet metal, metal tubes or metal profiles; Associations therewith of cutting devices
    • B21D43/003Positioning devices
    • HELECTRICITY
    • H02GENERATION; CONVERSION OR DISTRIBUTION OF ELECTRIC POWER
    • H02KDYNAMO-ELECTRIC MACHINES
    • H02K15/00Processes or apparatus specially adapted for manufacturing, assembling, maintaining or repairing of dynamo-electric machines

Landscapes

  • Engineering & Computer Science (AREA)
  • Mechanical Engineering (AREA)
  • Manufacturing & Machinery (AREA)
  • Power Engineering (AREA)
  • Press Drives And Press Lines (AREA)

Abstract

本发明涉及电机加工设备技术领域,公开了一种电机加工用冲压工装,包括固定底座,所述固定底座上端后侧固定安装伸缩缸,伸缩缸的输出端安装有支撑架,支撑架上安装有变径机构,变径机构的输出端安装有冲压机构,所述固定底座上端两侧对称固定安装有导轨架,导轨架内部设置有导轨槽,导轨架上滑动设置有导柱,导柱上设置有夹持机构,所述固定底座底上还设置有用于对两个夹持机构进行水平驱动的动力机构。本发明,实现了待加工的电机部件的有效夹持固定,确保了电机部件在冲压时不会发生晃动,同时在变径机构的配合下,使得冲压机构可以对夹持状态下的电机部件进行任意位置的冲压,进一步提高了冲压工装的可靠性,并且整个操作过程快捷方便。

Description

一种电机加工用冲压工装
技术领域
本发明涉及电机加工设备技术领域,具体是一种电机加工用冲压工装。
背景技术
电机是指依据电磁感应定律实现电能转换或传递的一种电磁装置。冲压是靠压力机和模具对板材、带材、管材和型材等施加外力,使之产生塑性变形或分离,从而获得所需形状和尺寸的工件冲压件的成形加工方法。冲压和锻造同属塑性加工或称压力加工,合称锻压。冲压的坯料主要是热轧和冷轧的钢板和钢带。全世界的钢材中,有60~70%是板材,其中大部分经过冲压制成成。
目前在电机加工行业中,对于电机中的大多零件都需要使用冲压工装进行加工,然而现有技术中的电机加工工装在进行加工时,一旦电机部件进行夹持固定之后,每次只能进行单次位置的冲压操作,当需要在该电机部件进行其他位置的冲压时,则需要重新对电机部件进行相应位置的夹持改变,费时费力,因此,需要进一步的改进。
发明内容
本发明的目的在于提供一种电机加工用冲压工装,以解决上述背景技术中提出的问题。
为实现上述目的,本发明提供如下技术方案:
一种电机加工用冲压工装,包括固定底座,所述固定底座上端后侧固定安装伸缩缸,伸缩缸的输出端安装有支撑架,支撑架上安装有变径机构,变径机构的输出端安装有冲压机构,所述固定底座上端两侧对称固定安装有导轨架,导轨架内部设置有导轨槽,导轨架上滑动设置有导柱,导柱上设置有夹持机构,所述固定底座底上还设置有用于对两个夹持机构进行水平驱动的动力机构。
作为本发明的一种改进方案:所述变径机构包括固定在支撑架上的固定筒,固定筒上铰接安装有连杆架a,连杆架a上铰接有连杆架b,所述变径机构还包括用于驱动冲压机构进行运动的驱动组件。
作为本发明的一种改进方案:所述驱动组件包括竖直转动设置在固定筒上的带轮a,带轮a外侧通过皮带a连接有带轮b,带轮b上固定安装有中间轴,中间轴穿过连杆架a和连杆架b之间的铰接处安装有带轮c,带轮c外侧通过皮带b连接有带轮d。
作为本发明的一种改进方案:所述冲压机构包括固定在连杆架b上的冲压筒,冲压筒内部转动安装有旋转块,旋转块下侧通过斜截面接触有冲压块,冲压块外侧设置有限位部,所述冲压块底部安装有冲压柱,冲压柱底部穿过冲压筒连接有拆卸块,拆卸块上安装有不同类型的冲压件,所述冲压块与冲压筒内壁底侧之间的冲压柱外侧套设有冲压弹簧。
作为本发明的一种改进方案:所述旋转块上侧固定安装旋转轴,旋转轴上端穿过连杆架b连接有带轮d。
作为本发明的一种改进方案:所述限位部包括固定在冲压筒内壁的限位块以及设置在冲压块外侧的限位槽,所述限位块滑动设置在限位槽内。
作为本发明的一种改进方案:所述支撑架上安装有冲压电机,冲压电机的输出端连接有带轮a。
作为本发明的一种改进方案:所述夹持机构包括固定在导柱上的移动板,移动板两端分别铰接有夹紧杆a,所述移动板上对称安装有固定板,固定板之间滑动设置有滑动块,滑动块上对称铰接有夹紧杆b,不同滑动块上的夹紧杆b之间、夹紧杆b与夹紧杆a之间分别铰接安装有夹持块。
作为本发明的一种改进方案:所述动力机构包括固定在固定底座底部的双轴电机,双轴电机的两侧输出端连接有转动轴,转动轴两侧分别通过带轮组安装有丝杠,丝杠通过螺纹结构安装有固定在移动板上移动筒,所述丝杠转动设置于固定在固定底座上的导向架上。
作为本发明的一种改进方案:所述固定底座底部四角位置固定安装有支撑腿。
与现有技术相比,本发明的有益效果是:
所述一种电机加工用冲压工装,结构合理,设计新颖,通过设置的动力机构以及夹持机构的相互配合,实现了待加工的电机部件的有效夹持固定,确保了电机部件在冲压时不会发生晃动,同时在变径机构的配合下,使得冲压机构可以对夹持状态下的电机部件进行任意位置的冲压,进一步提高了冲压工装的可靠性,并且整个操作过程快捷方便,值得推广使用。
附图说明
图1为本发明的整体正视结构示意图;
图2为本发明的整体侧视结构示意图;
图3为本发明的整体仰视结构示意图;
图4为本发明的整体俯视结构示意图;
图5为本发明中冲压机构的结构示意图;
图6为本发明中冲压块的结构示意图。
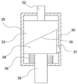
图中:1、固定底座;2、支撑腿;3、导轨架;4、导柱;5、移动板;6、夹紧杆a;7、夹持块;8、带轮组;9、导向架;10、丝杠;11、移动筒;12、夹紧杆b;13、伸缩缸;14、支撑架;15、冲压电机;16、固定筒;17、带轮a;18、皮带a;19、带轮b;20、连杆架a;21、带轮c;22、连杆架b;23、皮带b;24、带轮d;25、冲压筒;26、导轨槽;27、中间轴;28、固定板;29、滑动块;30、双轴电机;31、转动轴;32、旋转轴;33、旋转块;34、冲压块;35、冲压弹簧;36、冲压柱;37、限位块;38、斜截面;39、限位槽。
具体实施方式
需要说明的是,在不冲突的情况下,本发明中的实施例及实施例中的特征可以相互组合。
在本发明的描述中,需要理解的是,术语“中心”、“纵向”、“横向”、“上”、“下”、“前”、“后”、“左”、“右”、“竖直”、“水平”、“顶”、“底”、“内”、“外”等指示的方位或位置关系为基于附图所示的方位或位置关系,仅是为了便于描述本发明和简化描述,而不是指示或暗示所指的装置或元件必须具有特定的方位、以特定的方位构造和操作,因此不能理解为对本发明的限制,此外,术语“第一”、“第二”等仅用于描述目的,而不能理解为指示或暗示相对重要性或者隐含指明所指示的技术特征的数量,由此,限定有“第一”、“第二”等的特征可以明示或者隐含地包括一个或者更多个该特征,在本发明的描述中,除非另有说明,“多个”的含义是两个或两个以上。
在本发明的描述中,需要说明的是,除非另有明确的规定和限定,术语“安装”、“相连”、“连接”应做广义理解,例如,可以是固定连接,也可以是可拆卸连接,或一体地连接;可以是机械连接,也可以是电连接;可以是直接相连,也可以通过中间媒介间接相连,可以是两个元件内部的连通,对于本领域的普通技术人员而言,可以通过具体情况理解上述术语在本发明中的具体含义。
下面将参考附图并结合实施例来详细说明本发明。
实施例1
参阅图1~6,本发明实施例中,一种电机加工用冲压工装,包括固定底座1,所述固定底座1上端后侧固定安装伸缩缸13,伸缩缸13的输出端安装有支撑架14,所述伸缩缸13采用气缸或者液压缸结构,最终对支撑架14的上下高度进行调节,所述支撑架14上安装有变径机构,变径机构的输出端安装有冲压机构,通过设置变径机构,可以对冲压机构在电机部件上水平面的任意位置进行冲压,所述固定底座1上端两侧对称固定安装有导轨架3,导轨架3内部设置有导轨槽26,导轨架3上滑动设置有导柱4,导柱4上设置有夹持机构,为了更好的确保夹持机构水平移动时的稳定精度,所述导轨槽26为燕尾槽结构,所述导柱4上设置有梯形块结构,所述固定底座1底上还设置有用于对两个夹持机构进行水平驱动的动力机构,进而确保了两个夹持机构之间的水平位置可以进行调节,最终实现了对于待加工的电机部件的有效夹持固定作用。
本实施例的一种情况中,所述变径机构包括固定在支撑架14上的固定筒16,固定筒16上铰接安装有连杆架a20,连杆架a20上铰接有连杆架b22,所述变径机构还包括用于驱动冲压机构进行运动的驱动组件,通过连杆架a20以及连杆架b22之间的限制作用,使得冲压机构在水平上位置进行移动调节的同时还不影响了冲压机构自身的工作,进一步提高了装置的可靠性。
本实施例的一种情况中,所述驱动组件包括竖直转动设置在固定筒16上的带轮a17,带轮a17外侧通过皮带a18连接有带轮b19,带轮b19上固定安装有中间轴27,中间轴27穿过连杆架a20和连杆架b22之间的铰接处安装有带轮c21,带轮c21外侧通过皮带b23连接有带轮d24,通过设置上述的多个带轮以及皮带,可以有效确保了冲压机构的有效工作。
本实施例的一种情况中,所述冲压机构包括固定在连杆架b22上的冲压筒25,冲压筒25内部转动安装有旋转块33,旋转块33下侧通过斜截面38接触有冲压块34,冲压块34外侧设置有限位部,从而可以有效的将旋转块33的旋转运动转化为冲压块34的上下直线运动,所述冲压块34底部安装有冲压柱36,冲压柱36底部穿过冲压筒25连接有拆卸块,拆卸块上安装有不同类型的冲压件,所述冲压块34与冲压筒25内壁底侧之间的冲压柱36外侧套设有冲压弹簧35,具体的,工作时,所述旋转块33进行转动,之后在斜截面38以及限位部的作用下,使得冲压块34在冲压弹簧35的作用下,可以进行上下往复运动,最终使得冲压件可以对电机部件进行有效的冲压。
本实施例的一种情况中,所述旋转块33上侧固定安装旋转轴32,旋转轴32上端穿过连杆架b22连接有带轮d24,进而可以将驱动组件的扭矩有效的传递给冲压机构上,进一步确保了装置的可靠性。
本实施例的一种情况中,所述限位部包括固定在冲压筒25内壁的限位块37以及设置在冲压块34外侧的限位槽39,所述限位块37滑动设置在限位槽39内,所述限位块37固定安装在冲压筒25内壁上,通过设置限位槽39以及限位块37之间的限制作用,使得冲压块34不会发生旋转运动而只会发生升降运动。
本实施例的一种情况中,所述支撑架14上安装有冲压电机15,冲压电机15的输出端连接有带轮a17,用于实现了整个冲压机构的有效工作。
本实施例的一种情况中,所述夹持机构包括固定在导柱4上的移动板5,移动板5两端分别铰接有夹紧杆a6,所述移动板5上对称安装有固定板28,固定板28之间滑动设置有滑动块29,滑动块29上对称铰接有夹紧杆b12,不同滑动块29上的夹紧杆b12之间、夹紧杆b12与夹紧杆a6之间分别铰接安装有夹持块7,通过设置上述技术部件,使得夹持块7在对电机部件进行夹持时不会发生直接硬性碰撞,从而可以更好稳定的对电机部件进行夹持,进一步确保了夹持装置中的稳定性。
本实施例的一种情况中,所述动力机构包括固定在固定底座1底部的双轴电机30,双轴电机30的两侧输出端连接有转动轴31,转动轴31两侧分别通过带轮组8安装有丝杠10,丝杠10通过螺纹结构安装有固定在移动板5上移动筒11,所述丝杠10转动设置于固定在固定底座1上的导向架9上,具体的,所述双轴电机30启动时,带动了丝杠10进行同步转动,最终转化为移动筒11的水平直线运动,最终为实现了夹持块7之间距离的改变,从而确保了对于电机部件的夹持固定。
实施例2
本发明的另外一种实施例中,该实施例与上述实施例的区别之处在于,其中,所述固定底座1底部四角位置固定安装有支撑腿2,用于实现了整个冲压工装的有效支撑目的。
本发明的工作原理是:工作时,将需要进行加工的电机部件放置在固定底座1上且位于夹持机构之间,之后启动了双轴电机30,使得夹持机构工作,实现了对于上述对电机部件的有效夹持固定,之后换上对应冲孔的冲压件,然后通过伸缩缸13调节冲压机构的上下高度,之后驱动冲压电机15,使得冲压机构工作,实现了对于电机部件的有效冲压作用,当需要对冲压的位置进行调节时,则通过调节变径机构的角度,则可满足不同位置的冲压需要,整个操作过程快捷方便,值得推广使用。
以上所述仅为本发明的较佳实施例而已,并不用以限制本发明,凡在本发明的精神和原则之内,所作的任何修改、等同替换、改进等,均应包含在本发明的保护范围之内。

Claims (8)

1.一种电机加工用冲压工装,包括固定底座(1),其特征在于,所述固定底座(1)上端后侧固定安装伸缩缸(13),伸缩缸(13)的输出端安装有支撑架(14),支撑架(14)上安装有变径机构,变径机构的输出端安装有冲压机构,所述固定底座(1)上端两侧对称固定安装有导轨架(3),导轨架(3)内部设置有导轨槽(26),导轨架(3)上滑动设置有导柱(4),导柱(4)上设置有夹持机构,所述固定底座(1)底上还设置有用于对两个夹持机构进行水平驱动的动力机构;
所述变径机构包括固定在支撑架(14)上的固定筒(16),固定筒(16)上铰接安装有连杆架a(20),连杆架a(20)上铰接有连杆架b(22),所述变径机构还包括用于驱动冲压机构进行运动的驱动组件;
所述驱动组件包括竖直转动设置在固定筒(16)上的带轮a(17),带轮a(17)外侧通过皮带a(18)连接有带轮b(19),带轮b(19)上固定安装有中间轴(27),中间轴(27)穿过连杆架a(20)和连杆架b(22)之间的铰接处安装有带轮c(21),带轮c(21)外侧通过皮带b(23)连接有带轮d(24)。
2.根据权利要求1所述的一种电机加工用冲压工装,其特征在于,所述冲压机构包括固定在连杆架b(22)上的冲压筒(25),冲压筒(25)内部转动安装有旋转块(33),旋转块(33)下侧通过斜截面(38)接触有冲压块(34),冲压块(34)外侧设置有限位部,所述冲压块(34)底部安装有冲压柱(36),冲压柱(36)底部穿过冲压筒(25)连接有拆卸块,拆卸块上安装有不同类型的冲压件,所述冲压块(34)与冲压筒(25)内壁底侧之间的冲压柱(36)外侧套设有冲压弹簧(35)。
3.根据权利要求2所述的一种电机加工用冲压工装,其特征在于,所述旋转块(33)上侧固定安装旋转轴(32),旋转轴(32)上端穿过连杆架b(22)连接有带轮d(24)。
4.根据权利要求2所述的一种电机加工用冲压工装,其特征在于,所述限位部包括固定在冲压筒(25)内壁的限位块(37)以及设置在冲压块(34)外侧的限位槽(39),所述限位块(37)滑动设置在限位槽(39)内。
5.根据权利要求1所述的一种电机加工用冲压工装,其特征在于,所述支撑架(14)上安装有冲压电机(15),冲压电机(15)的输出端连接有带轮a(17)。
6.根据权利要求1所述的一种电机加工用冲压工装,其特征在于,所述夹持机构包括固定在导柱(4)上的移动板(5),移动板(5)两端分别铰接有夹紧杆a(6),所述移动板(5)上对称安装有固定板(28),固定板(28)之间滑动设置有滑动块(29),滑动块(29)上对称铰接有夹紧杆b(12),不同滑动块(29)上的夹紧杆b(12)之间、夹紧杆b(12)与夹紧杆a(6)之间分别铰接安装有夹持块(7)。
7.根据权利要求6所述的一种电机加工用冲压工装,其特征在于,所述动力机构包括固定在固定底座(1)底部的双轴电机(30),双轴电机(30)的两侧输出端连接有转动轴(31),转动轴(31)两侧分别通过带轮组(8)安装有丝杠(10),丝杠(10)通过螺纹结构安装有固定在移动板(5)上移动筒(11),所述丝杠(10)转动设置于固定在固定底座(1)上的导向架(9)上。
8.根据权利要求1所述的一种电机加工用冲压工装,其特征在于,所述固定底座(1)底部四角位置固定安装有支撑腿(2)。
CN202210997661.0A 2022-08-19 2022-08-19 一种电机加工用冲压工装 Pending CN115069863A (zh)

Priority Applications (1)

Application Number Priority Date Filing Date Title
CN202210997661.0A CN115069863A (zh) 2022-08-19 2022-08-19 一种电机加工用冲压工装

Applications Claiming Priority (1)

Application Number Priority Date Filing Date Title
CN202210997661.0A CN115069863A (zh) 2022-08-19 2022-08-19 一种电机加工用冲压工装

Publications (1)

Publication Number Publication Date
CN115069863A true CN115069863A (zh) 2022-09-20

Family

ID=83245102

Family Applications (1)

Application Number Title Priority Date Filing Date
CN202210997661.0A Pending CN115069863A (zh) 2022-08-19 2022-08-19 一种电机加工用冲压工装

Country Status (1)

Country Link
CN (1) CN115069863A (zh)

Cited By (1)

* Cited by examiner, † Cited by third party
Publication number Priority date Publication date Assignee Title
CN117020023A (zh) * 2023-10-09 2023-11-10 山东中航泰达复合材料有限公司 一种复合材料弯曲成型模具

Citations (7)

* Cited by examiner, † Cited by third party
Publication number Priority date Publication date Assignee Title
KR20040006097A (ko) * 2002-07-09 2004-01-24 현대자동차주식회사 프레스용 피어싱 장치
CN107297521A (zh) * 2017-07-14 2017-10-27 合肥雷呈信息技术有限公司 一种用于计算机主机箱结构的稳定钻孔装置
CN108889797A (zh) * 2018-09-26 2018-11-27 温州盛瓯机电信息技术有限公司 一种型材矫直机的夹持装置
CN209124667U (zh) * 2018-11-15 2019-07-19 江苏感恩机械有限公司 一种汽车配件加工用冲压设备
CN110480049A (zh) * 2019-09-17 2019-11-22 潘丽 一种自动退屑的钻孔机器人
CN216680291U (zh) * 2021-07-12 2022-06-07 蚌埠兴力传感系统工程有限公司 一种用于传感器生产用打孔装置
CN114700431A (zh) * 2022-03-25 2022-07-05 盐城泓盈汽车零部件有限公司 一种用于汽车零部件的冲压装置及其使用方法

Patent Citations (7)

* Cited by examiner, † Cited by third party
Publication number Priority date Publication date Assignee Title
KR20040006097A (ko) * 2002-07-09 2004-01-24 현대자동차주식회사 프레스용 피어싱 장치
CN107297521A (zh) * 2017-07-14 2017-10-27 合肥雷呈信息技术有限公司 一种用于计算机主机箱结构的稳定钻孔装置
CN108889797A (zh) * 2018-09-26 2018-11-27 温州盛瓯机电信息技术有限公司 一种型材矫直机的夹持装置
CN209124667U (zh) * 2018-11-15 2019-07-19 江苏感恩机械有限公司 一种汽车配件加工用冲压设备
CN110480049A (zh) * 2019-09-17 2019-11-22 潘丽 一种自动退屑的钻孔机器人
CN216680291U (zh) * 2021-07-12 2022-06-07 蚌埠兴力传感系统工程有限公司 一种用于传感器生产用打孔装置
CN114700431A (zh) * 2022-03-25 2022-07-05 盐城泓盈汽车零部件有限公司 一种用于汽车零部件的冲压装置及其使用方法

Cited By (1)

* Cited by examiner, † Cited by third party
Publication number Priority date Publication date Assignee Title
CN117020023A (zh) * 2023-10-09 2023-11-10 山东中航泰达复合材料有限公司 一种复合材料弯曲成型模具

Similar Documents

Publication Publication Date Title
CN115069863A (zh) 一种电机加工用冲压工装
CN210820079U (zh) 一种混凝土构件成型机
CN217289989U (zh) 一种可提高成品受力均匀度的汽车端盖冲压模具
CN219130514U (zh) 一种汽车钣金件连续冲压模具
CN114951403B (zh) 一种汽车配件加工用冲压设备
CN216679753U (zh) 一种能够防止板材变形的数控冲床
CN116652002B (zh) 一种金属冲压成型装置
CN113976724A (zh) 一种新能源汽车加工用板件冲孔装置
CN114346041A (zh) 一种板材加工用冲压装置及冲压方法
CN220178009U (zh) 一种五金制品加工用冲床限位夹具
CN220049625U (zh) 一种便于调节金属件加工角度的连续冲压模具
CN216828324U (zh) 一种具有间距调节结构的冲压件设备
CN216828065U (zh) 一种电机、液压驱动的型材折弯机
CN210907489U (zh) 一种耐冲击模具钢校直装置
CN210614876U (zh) 一种侧压料芯导向限位结构
CN222198597U (zh) 板材冲压模具
CN218556762U (zh) 一种气缸安装板加工用的夹紧工装
CN221715491U (zh) 一种冲压型金属铸造模具
CN222999518U (zh) 一种高效的汽车钣金件冲压模具
CN218395499U (zh) 一种金属合金材料加工用冲压装置
CN220161028U (zh) 一种喇叭音盆用的冲床
CN221336264U (zh) 一种汽车钣金冲压模具
CN219357576U (zh) 一种铜棒上冲孔用冲床
CN221657596U (zh) 一种用于配电柜生产的折弯装置
CN222370026U (zh) 一种防脱落的钣金折弯设备

Legal Events

Date Code Title Description
PB01 Publication
PB01 Publication
SE01 Entry into force of request for substantive examination
SE01 Entry into force of request for substantive examination
RJ01 Rejection of invention patent application after publication
RJ01 Rejection of invention patent application after publication

Application publication date: 20220920