CN115069387A - 一种组合式破碎水洗选矿系统 - Google Patents
一种组合式破碎水洗选矿系统 Download PDFInfo
- Publication number
- CN115069387A CN115069387A CN202210627629.3A CN202210627629A CN115069387A CN 115069387 A CN115069387 A CN 115069387A CN 202210627629 A CN202210627629 A CN 202210627629A CN 115069387 A CN115069387 A CN 115069387A
- Authority
- CN
- China
- Prior art keywords
- stage
- ore
- washing
- crushing
- level
- Prior art date
- Legal status (The legal status is an assumption and is not a legal conclusion. Google has not performed a legal analysis and makes no representation as to the accuracy of the status listed.)
- Pending
Links
- 238000005406 washing Methods 0.000 title claims abstract description 288
- 229910052500 inorganic mineral Inorganic materials 0.000 title claims abstract description 64
- 239000011707 mineral Substances 0.000 title claims abstract description 64
- 238000012545 processing Methods 0.000 title claims abstract description 28
- XLYOFNOQVPJJNP-UHFFFAOYSA-N water Substances O XLYOFNOQVPJJNP-UHFFFAOYSA-N 0.000 claims abstract description 226
- 239000010865 sewage Substances 0.000 claims abstract description 158
- 238000000926 separation method Methods 0.000 claims abstract description 65
- 230000006641 stabilisation Effects 0.000 claims abstract description 50
- 238000013016 damping Methods 0.000 claims abstract description 19
- 238000009434 installation Methods 0.000 claims description 132
- 239000004576 sand Substances 0.000 claims description 106
- 235000019580 granularity Nutrition 0.000 claims description 40
- 229910000831 Steel Inorganic materials 0.000 claims description 27
- 239000010959 steel Substances 0.000 claims description 27
- 238000012546 transfer Methods 0.000 claims description 27
- 239000000463 material Substances 0.000 claims description 20
- 238000004140 cleaning Methods 0.000 claims description 18
- 238000005086 pumping Methods 0.000 claims description 10
- 230000000087 stabilizing effect Effects 0.000 claims description 7
- 238000011105 stabilization Methods 0.000 abstract description 49
- 238000004519 manufacturing process Methods 0.000 abstract description 10
- 238000013461 design Methods 0.000 abstract description 5
- 238000005265 energy consumption Methods 0.000 abstract description 5
- 238000010276 construction Methods 0.000 abstract description 3
- 238000004134 energy conservation Methods 0.000 abstract description 2
- 230000007613 environmental effect Effects 0.000 abstract description 2
- 239000011265 semifinished product Substances 0.000 abstract description 2
- 238000010586 diagram Methods 0.000 description 32
- 230000002787 reinforcement Effects 0.000 description 22
- 239000000047 product Substances 0.000 description 18
- 238000007599 discharging Methods 0.000 description 16
- 238000003860 storage Methods 0.000 description 16
- 239000002245 particle Substances 0.000 description 9
- 101100310388 Arabidopsis thaliana SLK1 gene Proteins 0.000 description 6
- 101100310389 Arabidopsis thaliana SLK2 gene Proteins 0.000 description 6
- 101100310390 Arabidopsis thaliana SLK3 gene Proteins 0.000 description 6
- 101100111302 Saccharomyces cerevisiae (strain ATCC 204508 / S288c) BCK1 gene Proteins 0.000 description 6
- 238000000034 method Methods 0.000 description 5
- 238000012216 screening Methods 0.000 description 5
- 230000000903 blocking effect Effects 0.000 description 4
- 238000005192 partition Methods 0.000 description 4
- 239000011164 primary particle Substances 0.000 description 4
- 239000002994 raw material Substances 0.000 description 4
- 239000011163 secondary particle Substances 0.000 description 4
- 239000002351 wastewater Substances 0.000 description 4
- 239000011150 reinforced concrete Substances 0.000 description 3
- 239000002352 surface water Substances 0.000 description 3
- 238000010521 absorption reaction Methods 0.000 description 2
- 239000004567 concrete Substances 0.000 description 2
- 239000000945 filler Substances 0.000 description 2
- 239000012535 impurity Substances 0.000 description 2
- 230000035939 shock Effects 0.000 description 2
- 230000009286 beneficial effect Effects 0.000 description 1
- 239000003245 coal Substances 0.000 description 1
- 230000007547 defect Effects 0.000 description 1
- 238000009826 distribution Methods 0.000 description 1
- 239000000428 dust Substances 0.000 description 1
- 230000000694 effects Effects 0.000 description 1
- -1 gravel Substances 0.000 description 1
- 238000011900 installation process Methods 0.000 description 1
- 238000012423 maintenance Methods 0.000 description 1
- 239000002184 metal Substances 0.000 description 1
- 238000005065 mining Methods 0.000 description 1
- 230000021715 photosynthesis, light harvesting Effects 0.000 description 1
- 230000002035 prolonged effect Effects 0.000 description 1
- 238000011160 research Methods 0.000 description 1
- 239000010802 sludge Substances 0.000 description 1
- 239000007787 solid Substances 0.000 description 1
- 238000012876 topography Methods 0.000 description 1
Images
Classifications
-
- B—PERFORMING OPERATIONS; TRANSPORTING
- B02—CRUSHING, PULVERISING, OR DISINTEGRATING; PREPARATORY TREATMENT OF GRAIN FOR MILLING
- B02C—CRUSHING, PULVERISING, OR DISINTEGRATING IN GENERAL; MILLING GRAIN
- B02C21/00—Disintegrating plant with or without drying of the material
-
- B—PERFORMING OPERATIONS; TRANSPORTING
- B02—CRUSHING, PULVERISING, OR DISINTEGRATING; PREPARATORY TREATMENT OF GRAIN FOR MILLING
- B02C—CRUSHING, PULVERISING, OR DISINTEGRATING IN GENERAL; MILLING GRAIN
- B02C23/00—Auxiliary methods or auxiliary devices or accessories specially adapted for crushing or disintegrating not provided for in preceding groups or not specially adapted to apparatus covered by a single preceding group
- B02C23/18—Adding fluid, other than for crushing or disintegrating by fluid energy
-
- B—PERFORMING OPERATIONS; TRANSPORTING
- B02—CRUSHING, PULVERISING, OR DISINTEGRATING; PREPARATORY TREATMENT OF GRAIN FOR MILLING
- B02C—CRUSHING, PULVERISING, OR DISINTEGRATING IN GENERAL; MILLING GRAIN
- B02C25/00—Control arrangements specially adapted for crushing or disintegrating
-
- B—PERFORMING OPERATIONS; TRANSPORTING
- B03—SEPARATION OF SOLID MATERIALS USING LIQUIDS OR USING PNEUMATIC TABLES OR JIGS; MAGNETIC OR ELECTROSTATIC SEPARATION OF SOLID MATERIALS FROM SOLID MATERIALS OR FLUIDS; SEPARATION BY HIGH-VOLTAGE ELECTRIC FIELDS
- B03B—SEPARATING SOLID MATERIALS USING LIQUIDS OR USING PNEUMATIC TABLES OR JIGS
- B03B9/00—General arrangement of separating plant, e.g. flow sheets
-
- B—PERFORMING OPERATIONS; TRANSPORTING
- B08—CLEANING
- B08B—CLEANING IN GENERAL; PREVENTION OF FOULING IN GENERAL
- B08B3/00—Cleaning by methods involving the use or presence of liquid or steam
- B08B3/04—Cleaning involving contact with liquid
- B08B3/048—Overflow-type cleaning, e.g. tanks in which the liquid flows over the tank in which the articles are placed
-
- Y—GENERAL TAGGING OF NEW TECHNOLOGICAL DEVELOPMENTS; GENERAL TAGGING OF CROSS-SECTIONAL TECHNOLOGIES SPANNING OVER SEVERAL SECTIONS OF THE IPC; TECHNICAL SUBJECTS COVERED BY FORMER USPC CROSS-REFERENCE ART COLLECTIONS [XRACs] AND DIGESTS
- Y02—TECHNOLOGIES OR APPLICATIONS FOR MITIGATION OR ADAPTATION AGAINST CLIMATE CHANGE
- Y02W—CLIMATE CHANGE MITIGATION TECHNOLOGIES RELATED TO WASTEWATER TREATMENT OR WASTE MANAGEMENT
- Y02W30/00—Technologies for solid waste management
- Y02W30/50—Reuse, recycling or recovery technologies
- Y02W30/52—Mechanical processing of waste for the recovery of materials, e.g. crushing, shredding, separation or disassembly
Landscapes
- Engineering & Computer Science (AREA)
- Food Science & Technology (AREA)
- Crushing And Grinding (AREA)
Abstract
一种组合式破碎水洗选矿系统,特别涉及一种组合式安装平台的破碎水洗选矿系统,本发明的目的在于提供一种占地小、能耗小、设备合理堆叠安装、破碎比大、生产效率高、多级破碎并多级分选的矿石破碎水洗选矿系统;本发明特征是采用模块化设计,项目建设周期短,设备适应性广,对模块旋转安装后可以适应不同场地;抗抖晃摆动稳定系统对整个平台及设备进行稳定,利用自重及水的阻尼降低了平台及设备产生的晃动问题,本发明还有对半成品淘洗功能、污水处理功能,达到节能环保、低投资高回报的目的,实用性大。
Description
技术领域
本发明涉及一种组合式破碎水洗选矿系统,特别涉及一种组合式安装平台的破碎水洗选矿系统。
背景技术
在矿产开采以后,一般要对原矿进行破碎,然后对破碎后的矿石根据粒径大小进行分级分选,分级分选通常是不同粒径的原材料或成品料。
现有的破碎及筛分设备一般分为平面分布式安装与立体堆叠式安装;平面分布式安装的设备占地面积大,中间输送设备多,无用功耗多,因此投资大且耗能多;例如目前大部分的原煤破碎分选流水线和制砂流水线,主体设备占地几亩至几十亩,厂房巨大,功耗巨大,存在很多弊端。
目前立体堆叠式安装的设备虽然减少了面积,但是一般以干法加工,其除尘设备复杂,产品破碎比小;例如现有技术制砂楼的一般进料要求粒径5厘米以下, 制砂楼的前端还必须增加一级破碎设备和二级破碎设备和分选设备,多个堆料场及重型皮带输送机,制砂楼破碎后矿石的颗粒形状差,因此从整体设备看占用场地大、生产效率低。
经检索后查获公开发明“一种制沙洗沙组合式一体机CN 111097593 A”虽然将多台破碎机和链斗式洗砂提升机组合,但是存在破碎后的矿石不能有效分级分选,以及不能够多次分级破碎的弊端。
目前矿石破碎及分选系统针对上述问题,目前矿石破碎及分选系统均无法综合且有效的解决。
发明内容
本发明的发明目的是:为克服现有技术矿石破碎及分选系统设备庞大、高投资、高能耗、立体堆叠式安装无法水洗加工等问题,本发明的目的在于提供一种占地小、能耗小、设备合理堆叠安装、破碎比大、生产效率高、多级破碎并多级分选的矿石破碎水洗选矿系统及其专用的组合式安装平台;达到节能环保、低投资高回报的目的,实用性大。
本发明是通过如下技术方案实现的:本技术方案一种组合式破碎水洗选矿系统主要分为矿石破碎、水洗、分选、污水处理设备及其专用的组合式安装平台;
一种破碎水洗选矿系统的组合式包括组合式安装平台,组合式安装平台还包括三级破碎设备安装平台模块及二级破碎设备安装平台模块,所述的二级破碎设备安装平台模块包括二级污水池、二级洗矿池、二级清水池及分级清洗池,二级洗矿池在二级污水池和二级清水池的中间平行排列;分级清洗池与二级洗矿池之间垂直排列;
所述的三级破碎设备安装平台模块包括三级污水池、三级洗矿池及三级清水池,三级洗矿池在三级污水池和三级清水池的中间平行排列;
所述的三级破碎设备安装平台和二级破碎设备安装平台大部分埋在地面以下,地面以下的外部以回填料进行回填,三级破碎设备安装平台和二级破碎设备安装平台内部注入水;
所述的三级污水池、二级污水池内安装有污水泵送设备;
所述的三级洗矿池、二级洗矿池内安装有洗矿输送设备;
所述的分级清洗池内的一端安装有洗矿输送设备,另一端安装有矿石筛分分选设备;
所述的三级污水池、三级清水池、二级污水池、二级清水池之上根据需要架空安装设备钢板平台,设备钢板平台上安装破碎设备、输送设备及污水处理设备,设备的底部与设备钢板平台连接处一直深入到池底连接加固,并在池内加固;
所述的三级破碎设备安装平台模块的四个侧面的任意一面与二级破碎设备安装平台模块四个侧面的任意一面连接组合,形成破碎水洗选矿系统的组合式安装平台;
所述的二级洗矿池的两侧的设备钢板平台上安装至少一台二级破碎机,二级破碎机的排料直接排入二级洗矿池,二级破碎机的底部与设备钢板平台连接,连接处一直深入到池底连接加固,同时在池内加固;二级洗矿池内还安装有二级链斗式洗砂提升机;
所述的分级清洗池的一端安装有二级第二链斗式洗砂提升机,另一端安装有矿石分级筛,矿石分级筛的进料口低于二级链斗式洗砂提升机的出料口,二级第二链斗式洗砂提升机的进料口低于矿石分级筛最低位置的最细出料的出料口;
所述的三级洗矿池的两侧的设备钢板平台上安装至少一台三级破碎机,三级破碎机的排料直接排入三级洗矿池,三级破碎机的底部与设备钢板平台连接,连接处一直深入到池底连接加固,同时在池内加固;三级洗矿池内还安装有三级链斗式洗砂提升机;
所述的三级污水池、二级污水池内安装有污水泵送设备将污水泵送至污水处理设备,污水经处理后的清水返回三级清水池和二级清水池;
所述的二级清水池和三级清水池内安装清水泵,清水泵将清水泵送入二级破碎机和三级破碎机,清水经二级破碎机后流入二级洗矿池,清水经三级破碎机后流入三级洗矿池;
所述的二级洗矿池和二级污水池中间有溢流口,当二级洗矿池内的污水增多时,二级洗矿池内的污水溢流入二级污水池中;所述的三级洗矿池和三级污水池中间有溢流口,当三级洗矿池内的污水增多时,三级洗矿池内的污水溢流入三级污水池中;
所述的二级清水池和二级污水池中间有溢流口,当二级污水池中的污水泵送设备将污水泵送至污水处理设备造成水位下降后,二级清水池内的清水溢流入二级污水池中;所述的三级清水池和三级污水池中间有溢流口,当三级污水池中的污水泵送设备将污水泵送至污水处理设备造成水位下降后,三级清水池内的清水溢流入三级污水池中;
在破碎水洗选矿系统的组合式安装平台上安装上述机器后,形成矿石组合式破碎水洗选矿系统。
一种更加优选的组合式破碎水洗选矿系统,组合式安装平台还包括抗抖晃摆动稳定系统,抗抖晃摆动稳定系统包括框架、阻尼配重负载、索具;所述的抗抖晃摆动稳定系统的框架安装在靠近破碎水洗选矿系统的组合式安装平台中心位置;框架顶部的中心通过索具悬挂有阻尼配重负载,悬挂的阻尼配重负载透空穿过钢板平台,阻尼配重负载的局部浸入到三级破碎设备安装平台模块或二级破碎设备安装平台模块的水中;框架的最高处高于组合式破碎水洗选矿系统内安装的所有设备,框架的顶部或侧边与组合式破碎水洗选矿系统中所有设备的最高点连接,其连接方式可以采用直接连接或间接连接。
一种更加优选的组合式破碎水洗选矿系统还包括输送设备及料仓,所述的二级破碎机的上面安装有二破输送机,二破输送机的另一端安装在二级中转仓的底部;
所述的二级第二链斗式洗砂提升机的出料口连接细矿砂输送带,细矿砂输送带的另一端安装在成品细矿砂仓的上部;
所述的矿石分级筛分级后的排料口分别与一级粒度砾矿石输送带、二级粒度砾矿石输送带、三级粒度砾矿石输送带、返料输送带连接;一级粒度砾矿石输送带的另一端安装在成品一级粒度砾矿石仓的上部,二级粒度砾矿石输送带的另一端安装在成品二级粒度砾矿石仓的上部,三级粒度砾矿石输送带的另一端安装在成品三级粒度砾矿石仓的上部;返料输送带的另一端安装在三级中转仓的上部;
所述的三级破碎机的上面安装有喂料机,喂料机的上面安装有料斗,料斗的上面安装有三破输送机,三破输送机的另一端安装在三级中转仓的底部;
三级链斗式洗砂提升机的出料口连接中粗矿砂输送带,中粗矿砂输送带的另一端安装在成品中粗矿砂仓的上部。
一种更加优选的组合式破碎水洗选矿系统还包括输送设备及料仓,所述组合式破碎水洗选矿系统,根据场地不同建设二级中转仓,二破输送机可以以二破输送机为圆心调整安装角度;
根据场地不同建设成品细矿砂仓,细矿砂输送带可以以第二链斗式洗砂提升机的出料口为圆心调整安装角度;
根据场地不同建设成品一级粒度砾矿石仓,一级粒度砾矿石输送带可以以矿石分级筛的出料口为圆心调整安装角度;
根据场地不同建设成品二级粒度砾矿石仓,二级粒度砾矿石输送带可以以矿石分级筛的出料口为圆心调整安装角度;
根据场地不同建设成品三级粒度砾矿石仓,三级粒度砾矿石输送带可以以矿石分级筛的出料口为圆心调整安装角度;
根据场地不同建设三级中转仓,返料输送带可以以矿石分级筛的出料口为圆心调整安装角度。
一种更加优选的组合式破碎水洗选矿系统,所述的矿石分级筛分级后的最粗的砾矿石通过返料输送带从矿石分级筛输送至三级中转仓;根据生产的产品粒度大小的需要,可以分别或者同时关闭矿石分级筛与一级粒度砾矿石输送带、二级粒度砾矿石输送带、三级粒度砾矿石输送带的排料口,以及分别或者同时关闭一级粒度砾矿石输送带、二级粒度砾矿石输送带、三级粒度砾矿石输送带,使矿石分级筛所分级的不同粒度的砾矿石根据需求通过返料输送带输送至三级中转仓。
一种更加优选的组合式破碎水洗选矿系统,所述的三级破碎设备安装平台模块的四个侧面的任意一面与二级破碎设备安装平台模块四个侧面的任意一面连接组合还包括组合后的水平镜像及垂直镜像。
一种更加优选的组合式破碎水洗选矿系统,如果连接组合后三级污水池和二级污水池相互连接,则取消三级污水池和二级污水池之间的分隔;如果连接组合后三级污水池和二级污水池不能相互连接,则通过管道连接;
如果连接组合后三级清水池和二级清水池相互连接,则取消三级清水池和二级清水池之间的分隔;如果连接组合后三级清水池和二级清水池不能相互连接,则通过管道连接。
一种更加优选的组合式破碎水洗选矿系统,所述的二级中转仓的前面还有一级破碎皮带输送机、颚式破碎机及棒条式喂料机,颚式破碎机的进料口的上面安装有棒条式喂料机,颚式破碎机的出料口的下面连接一级破碎皮带输送机,一级破碎皮带输送机的另一端安装在二级中转仓的上部。
一种更加优选的组合式破碎水洗选矿系统,传感器分别对每一台二级破碎机的电动机进行检测,当传感器检测出二级破碎机的电动机的电流大于阈值时,控制器对二破输送机发出指令,降低或停止二破输送运动速度机,减少或停止二级破碎机进料,当传感器检测出二级破碎机的电动机的电流恢复正常时,控制器对二破输送机发出指令,二破输送机恢复转速,恢复二级破碎机进料的速度;
传感器分别对每一台三级破碎机的电动机进行检测,当传感器检测出三级破碎机的电动机的电流大于阈值时,控制器对喂料机发出指令,降低或停止喂料机运动速度,减少或停止喂料机进料,当传感器检测出三级破碎机的电动机的电流恢复正常时,控制器对喂料机发出指令,喂料机恢复转速,恢复三级破碎机进料的速度;
传感器对三级破碎机上面的料斗进行检测,当传感器检测出料斗内部原料高于设定阈值时,控制器对三破输送机发出指令,降低或停止三破输送机运动速度,减少或停止料斗进料,当传感器检测出料斗内部原料低于设定阈值时,控制器对三破输送机发出指令,料斗内部原料恢复转速,恢复料斗进料的速度。
本发明取得的有益技术效果是:
1)本发明采用模块化设计,项目建设周期短,设备适应性广,对模块旋转安装后可以适应不同场地;本发明平台内部的设备采用立体安装,根据实际情况通过对设备安装高度调节,减少输送机之间相互干扰,对场地综合利用率高;降低了选矿系统制作和安装的综合造价。
2)本发明的抗抖晃摆动稳定系统对整个平台及设备进行稳定,利用自重及水的阻尼降低了平台及设备产生的晃动问题。
3)本发明的组合式破碎水洗选矿系统采用多次破碎及分级,破碎比大;二级破碎和三级破碎时大量喷水,提高污泥清洗能力,降低设备对原矿的要求,矿石经二级破碎和三级破碎后直接排入洗矿池,结合二级洗矿池、二级链斗式洗砂提升机和三级洗矿池、三级链斗式洗砂提升机多次对矿砂进行淘洗,提高了矿砂的产品质量,同时减少半成品矿中转输送,缩短工艺流程,减少设备及设备能耗,降低选矿系统制作和安装的综合造价,也降低了生产成本。
4)本发明的破碎水洗选矿系统的组合式安装平台除了具有设备安装平台的功能外,还有对半成品淘洗功能、污水处理功能,采用二级洗矿池和三级洗矿池向污水池溢流的设计,可以使轻质杂物及泥质杂物有效分离,全系统内部的水一边生产一边处理,全部水都处于内部闭路循环,没有污水外流,无污水对环境污染;
5)本发明的破碎水洗选矿系统的自动控制方案消除了二级破碎和三级破碎设备、因排料不及时造成的堵死问题,降低了设备故障率,提高了生产效率,解决了设备堵车的技术难题。
附图说明
图1是本发明三级破碎设备安装平台俯视示意图。
图2是本发明二级破碎设备安装平台俯视示意图。
图3是本发明三级破碎设备安装平台设备安装后的俯视示意图。
图4是本发明二级破碎设备安装平台设备安装后的俯视示意图。
图5是本发明图3的C-C截面示意图。
图6是本发明图4的D-D截面示意图。
图7是本发明图4的E-E截面示意图。
图8是本发明图3外围增加输送机及料仓的俯视示意图。
图9是本发明图4外围增加输送机及料仓的俯视示意图。
图10是本发明破碎水洗选矿系统的组合式安装平台抗抖晃摆动稳定系统示意图。
图11是本发明破碎水洗选矿系统的三级破碎设备安装平台的第一侧面与二级破碎设备安装平台第一侧面组合后,以及平台抗抖晃摆动稳定系统安装位置示意图。
图12是本发明破碎水洗选矿系统的三级破碎设备安装平台的第二侧面与二级破碎设备安装平台第一侧面组合后,以及平台抗抖晃摆动稳定系统安装位置示意图。
图13是本发明破碎水洗选矿系统的三级破碎设备安装平台的第三侧面与二级破碎设备安装平台第一侧面组合后,以及平台抗抖晃摆动稳定系统安装位置示意图。
图14是本发明破碎水洗选矿系统的三级破碎设备安装平台的第四侧面与二级破碎设备安装平台第一侧面组合后,以及平台抗抖晃摆动稳定系统安装位置示意图。
图15是本发明破碎水洗选矿系统的三级破碎设备安装平台的第一侧面与二级破碎设备安装平台第二侧面组合后,以及平台抗抖晃摆动稳定系统安装位置示意图。
图16是本发明破碎水洗选矿系统的三级破碎设备安装平台的第二侧面与二级破碎设备安装平台第二侧面组合后,以及平台抗抖晃摆动稳定系统安装位置示意图。
图17是本发明破碎水洗选矿系统的三级破碎设备安装平台的第三侧面与二级破碎设备安装平台第二侧面组合后,以及平台抗抖晃摆动稳定系统安装位置示意图。
图18是本发明破碎水洗选矿系统的三级破碎设备安装平台的第四侧面与二级破碎设备安装平台第二侧面组合后,以及平台抗抖晃摆动稳定系统安装位置示意图。
图19是本发明破碎水洗选矿系统的三级破碎设备安装平台的第一侧面与二级破碎设备安装平台第三侧面组合后,以及平台抗抖晃摆动稳定系统安装位置示意图。
图20是本发明破碎水洗选矿系统的三级破碎设备安装平台的第二侧面与二级破碎设备安装平台第三侧面组合后,以及平台抗抖晃摆动稳定系统安装位置示意图。
图21是本发明破碎水洗选矿系统的三级破碎设备安装平台的第三侧面与二级破碎设备安装平台第三侧面组合后,以及平台抗抖晃摆动稳定系统安装位置示意图。
图22是本发明破碎水洗选矿系统的三级破碎设备安装平台的第四侧面与二级破碎设备安装平台第三侧面组合后,以及平台抗抖晃摆动稳定系统安装位置示意图。
图23是本发明破碎水洗选矿系统的三级破碎设备安装平台的第一侧面与二级破碎设备安装平台第四侧面组合后,以及平台抗抖晃摆动稳定系统安装位置示意图。
图24是本发明破碎水洗选矿系统的三级破碎设备安装平台的第二侧面与二级破碎设备安装平台第四侧面组合后,以及平台抗抖晃摆动稳定系统安装位置示意图。
图25是本发明破碎水洗选矿系统的三级破碎设备安装平台的第三侧面与二级破碎设备安装平台第四侧面组合后,以及平台抗抖晃摆动稳定系统安装位置示意图。
图26是本发明破碎水洗选矿系统的三级破碎设备安装平台的第四侧面与二级破碎设备安装平台第四侧面组合后,以及平台抗抖晃摆动稳定系统安装位置示意图。
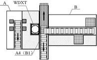
图中:11.三级污水池;12.三级洗矿池;13.三级清水池;14.三级破碎机;15.三级链斗式洗砂提升机;21.二级污水池;22.二级洗矿池;23.二级清水池;24.二级破碎机;25.二级链斗式洗砂提升机;26.矿石分级筛;27.二级第二链斗式洗砂提升机;A.三级破碎设备安装平台;A1. 三级破碎设备安装平台的第一侧面; A2. 三级破碎设备安装平台的第二侧面; A3. 三级破碎设备安装平台的第三侧面; A4. 三级破碎设备安装平台的第四侧面;B.二级破碎设备安装平台;B1. 二级破碎设备安装平台的第一侧面; B2. 二级破碎设备安装平台的第二侧面; B3. 二级破碎设备安装平台的第三侧面; B4. 二级破碎设备安装平台的第四侧面;CPXK.成品细矿砂仓;CPZK.成品中粗矿砂仓;CPLK1.一级粒度砾矿石仓;CPLK2.二级粒度砾矿石仓;CPLK3.三级粒度砾矿石仓;FGQX.分级清洗池;GPT.设备钢板平台;HT.回填料;KJ.框架;LD.料斗;SJ.索具;S2.二破输送机;S3.三破输送机;SFL返料输送带;S-XK.细矿砂输送带;S-ZK.中粗矿砂输送带;SLK1一级粒度砾矿石输送带;SLK2二级粒度砾矿石输送带;SLK3三级粒度砾矿石输送带;WDXT.抗抖晃摆动稳定系统;Z2.二级中转仓;Z3.三级中转仓;ZNSX.阻尼配重负载。
具体实施方式
以下结合具体实施例对本发明做进一步说明,但本发明所要求的保护范围并不局限于具体实施例所描述的范围。
实例1:如图1至图26的本技术方案的一种组合式破碎水洗选矿系统主要分为矿石破碎、水洗、分选、污水处理设备及其专用的组合式安装平台;
一种破碎水洗选矿系统的组合式安装平台包括三级破碎设备安装平台A及二级破碎设备安装平台B;所述的二级破碎设备安装平台B包括二级污水池21、二级洗矿池22、二级清水池23及分级清洗池FJQX,二级洗矿池22在二级污水池21和二级清水池23的中间平行排列;分级清洗池FJQX与二级洗矿池22之间垂直排列;所述的三级破碎设备安装平台A包括三级污水池11、三级洗矿池12及三级清水池13,三级洗矿池12在三级污水池11和三级清水池13的中间平行排列;所述的三级破碎设备安装平台A和二级破碎设备安装平台B大部分埋在地面以下,地面以下的外部以回填料HT进行回填,三级破碎设备安装平台A和二级破碎设备安装平台B内部注入水;所述的三级洗矿池12、二级洗矿池22内安装有洗矿输送设备;所述的分级清洗池FJQX内的一端安装有洗矿输送设备,另一端安装有矿石筛分分选设备;所述的三级污水池11、三级清水池13、二级污水池21、二级清水池23之上根据需要架空安装设备钢板平台GPT,设备钢板平台GPT上安装破碎设备、输送设备及污水处理设备,设备的底部与设备钢板平台GPT连接处一直深入到池底连接加固,并在池内加固;
所述的二级洗矿池22的两侧的设备钢板平台GPT上安装至少一台二级破碎机24,二级破碎机24的排料直接排入二级洗矿池22,二级破碎机24的底部与设备钢板平台GPT连接,连接处一直深入到池底连接加固,同时在池内加固;二级洗矿池22内还安装有二级链斗式洗砂提升机25;
所述的分级清洗池FJQX的一端安装有二级第二链斗式洗砂提升机27,另一端安装有矿石分级筛26,矿石分级筛26的进料口低于二级链斗式洗砂提升机25的出料口,二级第二链斗式洗砂提升机27的进料口低于矿石分级筛26最低位置的最细出料的出料口;所述的三级洗矿池12的两侧的设备钢板平台GPT上安装至少一台三级破碎机14,三级破碎机14的排料直接排入三级洗矿池12,三级破碎机14的底部与设备钢板平台GPT连接,连接处一直深入到池底连接加固,同时在池内加固;三级洗矿池12内还安装有三级链斗式洗砂提升机15;
所述的三级污水池11、二级污水池21内安装有污水泵送设备将污水泵送至污水处理设备,污水经处理后的清水返回三级清水池13和二级清水池23;
所述的三级污水池11、二级污水池21内安装有污水泵送设备;所述的三级清水池13和二级清水池23内安装有清水泵送设备;清水泵将清水泵送入二级破碎机24和三级破碎机14,清水经二级破碎机24后流入二级洗矿池22,清水经三级破碎机14后流入三级洗矿池12;二级洗矿池22和二级污水池21中间有溢流口,当二级洗矿池22内的污水增多时,二级洗矿池22内的污水溢流入二级污水池21中;所述的三级洗矿池12和三级污水池11中间有溢流口,当三级洗矿池12内的污水增多时,三级洗矿池12内的污水溢流入三级污水池11中;所述的二级清水池23和二级污水池21中间有溢流口,当二级污水池21中的污水水位下降后,二级清水池23内的清水溢流入二级污水池21中;所述的三级清水池13和三级污水池11中间有溢流口,当三级污水池11中的污水水位下降后,三级清水池13内的清水溢流入三级污水池11中。
实例2:如图1至图26的本技术方案的一种组合式破碎水洗选矿系统,在建造破碎水洗选矿系统的组合式安装平台时先根据现场地形设计好三级破碎设备安装平台A及二级破碎设备安装平台B的平面布置的位置,根据设计图纸对现场放样,然后开挖基坑;建造破碎水洗选矿系统的组合式安装平台前先在基坑内填入碎石,然后在碎石上采用全钢板预制或现场制作安装破碎水洗选矿系统的组合式安装平台,在破碎水洗选矿系统的组合式安装平台制作安装完成后,在其四周以碎石作为回填料HT填满基坑;基坑回填后,破碎水洗选矿系统的组合式安装平台的大部分埋在标高±0.00以下,标高±0.00以上只有小部分作用时防止地表水直接流入清水池;例如某矿山建造破碎水洗选矿系统的组合式安装平台,破碎水洗选矿系统的组合式安装平台总高度3米,其中2.5米埋在标高±0.00以下,标高±0.00以上0.5米;再例如某矿山建造破碎水洗选矿系统的组合式安装平台,破碎水洗选矿系统的组合式安装平台总高度3米,其中2.8米埋在标高±0.00以下,标高±0.00以上0.2米;破碎水洗选矿系统的组合式安装平台埋设比例越大,设备抖晃越小,因此最佳埋设深度大于平台总高度的50%且小于平台总高度的95%;
为了解决整个加工场地的地表水问题,可以在破碎水洗选矿系统的组合式安装平台四周建导流明沟,在导流明沟的最低处挖集水井,地表水通过导流明沟流入集水井,然后通过水泵泵送至二级污水池21或三级污水池11中;
用这种方法建造破碎水洗选矿系统的组合式安装平台,碎石可以起到减震的效果,其原理和铁路钢轨底部铺碎石减震系统,其次这种方法减少了普通钢筋混凝土结构的成本避免了混凝土保养等时间成本,因此这个方法速度快且造价低;使用时破碎水洗选矿系统的组合式安装平台的内部灌满水;由于水和自身钢板重量及四周碎石的挤压密实且摩擦力大,设备开机后平台震动很小;例如某矿山建造破碎水洗选矿系统的组合式安装平台,底面积约400平方,水深2.8米,使用10mm钢板约1000平方米,破碎水洗选矿系统的组合式安装平台加水总重量约1200吨,再加上破碎水洗选矿系统的组合式安装平台上部安装的所有设备,整个破碎水洗选矿系统总重量大于1500吨,破碎水洗选矿系统的组合式安装平台四周碎石的挤压密实及且摩擦力大,设备开机后平台震动与钢筋混凝土结构的设备基础相当;当然破碎水洗选矿系统的组合式安装平台也可以采用普通的钢筋混凝土结构进行建造。
实例3:如图1至图26的本技术方案的一种组合式破碎水洗选矿系统,由于本发明的设备是安装在破碎水洗选矿系统的组合式安装平台之上,而且平台上的设备是立体化安装,最高的设备顶端高度大于10米,再加上多台二级破碎机、三级破碎机以及振动筛同时启动,不可避免的整个组合式破碎水洗选矿系统会产生一定程度的震动和抖晃,震动和抖晃会加剧设备紧固件的松动及部分零部件的疲劳,减少设备及平台的使用寿命,为了避免上述问题,使整个组合式破碎水洗选矿系统的震动和抖晃摆动降低,本发明进一步研发了一种破碎水洗选矿系统的组合式安装平台抗抖晃摆动稳定系统,抗抖晃摆动稳定系统WDXT包括框架KJ、阻尼配重负载ZNSX、索具SJ;所述的抗抖晃摆动稳定系统WDXT的框架KJ安装在靠近破碎水洗选矿系统的组合式安装平台中心位置;框架KJ顶部的中心通过索具SJ悬挂有阻尼配重负载ZNSX,悬挂的阻尼配重负载ZNSX透空穿过钢板平台GPT,阻尼配重负载ZNSX的局部浸入到三级破碎设备安装平台A或二级破碎设备安装平台B的水中;框架KJ的最高处高于组合式破碎水洗选矿系统内安装的所有设备,框架KJ的顶部或侧边与组合式破碎水洗选矿系统中所有设备的最高点连接,其连接方式可以采用直接连接或间接连接;
进一步的对破碎水洗选矿系统的组合式安装平台抗抖晃摆动稳定系统进行改进,阻尼配重负载ZNSX可以采用实心负载或空心的负载,空心负载再使用时内部必须加入填料,其常见填料是水、砂、砾石、金属、素砼等等;
组合式破碎水洗选矿系统开机后,所有设备矿石运转,整个系统会产生一定震动和抖晃,当设备的最高点将抖晃摆动传递给抗抖晃摆动稳定系统WDXT的框架KJ,框架KJ通过索具SJ将抖晃摆动传递给阻尼配重负载ZNSX,阻尼配重负载ZNSX再水的阻滞作用使自身抖晃摆动与组合式破碎水洗选矿系统的抖晃摆动的频率及方向不同,通过这种与组合式破碎水洗选矿系统不同频率及不同方向的反作用力来减震消能,抵消组合式破碎水洗选矿系统的部分震动和抖晃摆动,提供了设备稳定性,减少了设备故障率,达到延长设备使用寿命的目的。
实例4:如图1至图26的本技术方案的一种组合式破碎水洗选矿系统,所述的二级破碎机24的上面安装有二破输送机S2,二破输送机S2的另一端安装在二级中转仓Z2的底部;所述的二级第二链斗式洗砂提升机27的出料口连接细矿砂输送带S-XK,细矿砂输送带S-XK的另一端安装在成品细矿砂仓CPXK的上部;所述的矿石分级筛26分级后的排料口分别与一级粒度砾矿石输送带SLK1、二级粒度砾矿石输送带SLK2、三级粒度砾矿石输送带SLK3、返料输送带SFL连接;一级粒度砾矿石输送带SLK1的另一端安装在成品一级粒度砾矿石仓CPLK1的上部,二级粒度砾矿石输送带SLK2的另一端安装在成品二级粒度砾矿石仓CPLK2的上部,三级粒度砾矿石输送带SLK3的另一端安装在成品三级粒度砾矿石仓CPLK3的上部;返料输送带SFL的另一端安装在三级中转仓Z3的上部;所述的三级破碎机14的上面安装有喂料机,喂料机的上面安装有料斗LD,料斗LD的上面安装有三破输送机S3,三破输送机S3的另一端安装在三级中转仓Z3的底部;三级链斗式洗砂提升机15的出料口连接中粗矿砂输送带S-ZK,中粗矿砂输送带S-ZK的另一端安装在成品中粗矿砂仓CPZK的上部;
进一步的根据场地不同建设二级中转仓Z2,二破输送机S2可以以二破输送机S2为圆心调整安装角度;根据场地不同建设成品细矿砂仓CPXK,细矿砂输送带S-XK可以以第二链斗式洗砂提升机27的出料口为圆心调整安装角度;
所述的矿石分级筛26采用多级筛分设备,根据分级出来不同粗细的砾矿石建立仓库,矿石分级筛26与各仓库之间通过输送机连接;根据场地不同建设成品一级粒度砾矿石仓CPLK1,一级粒度砾矿石输送带SLK1可以以矿石分级筛26的出料口为圆心调整安装角度;根据场地不同建设成品二级粒度砾矿石仓CPLK2,二级粒度砾矿石输送带SLK2可以以矿石分级筛26的出料口为圆心调整安装角度;根据场地不同建设成品三级粒度砾矿石仓CPLK3,三级粒度砾矿石输送带SLK3可以以矿石分级筛26的出料口为圆心调整安装角度;根据场地不同建设三级中转仓Z3,返料输送带SFL可以以矿石分级筛26的出料口为圆心调整安装角度;
更进一步的在制作安装设备时通过调整二级第二链斗式洗砂提升机27的出料口、三级链斗式洗砂提升机15的出料口、矿石分级筛26的出料口及料斗LD的高度在不同的水平面,这样制作安装设备后可以避免输送机之间相互交叉干涉。
实例5:如图1至图26的本技术方案的一种组合式破碎水洗选矿系统,
所述的矿石分级筛26分级后的最粗的砾矿石通过返料输送带SFL从矿石分级筛26输送至三级中转仓Z3;
根据生产的产品粒度大小的需要,可以分别或者同时关闭矿石分级筛26与一级粒度砾矿石输送带SLK1、二级粒度砾矿石输送带SLK2、三级粒度砾矿石输送带SLK3的排料口,以及分别或者同时关闭一级粒度砾矿石输送带SLK1、二级粒度砾矿石输送带SLK2、三级粒度砾矿石输送带SLK3,使矿石分级筛26所分级的不同粒度的砾矿石根据需求通过返料输送带SFL输送至三级中转仓Z3;材料达到三级中转仓Z3后再通过三破输送机S3输送至料斗LD及喂料机,然后重新进入三破输送机S3进行破碎,通过再次破碎后,生产出达到设计要求的产品粒度大小,与现有技术相比较,通过上述加工方法,减少了不合格产品的中间搬运及中间存储,缩短了工艺流程,达到减少中转设备、节省能源消耗、节省场地的目的。
实例6:如图1至图26的本技术方案的一种组合式破碎水洗选矿系统,所述的三级破碎设备安装平台A的四个侧面的任意一面与二级破碎设备安装平台B四个侧面的任意一面连接组合,形成破碎水洗选矿系统的组合式安装平台;所述的三级破碎设备安装平台A的四个侧面的任意一面与二级破碎设备安装平台B四个侧面的任意一面连接组合还包括组合后的水平镜像及垂直镜像;如果连接组合后三级污水池11和二级污水池21相互连接,则取消三级污水池11和二级污水池21之间的分隔;如果连接组合后三级污水池11和二级污水池21不能相互连接,则通过管道连接;
如果连接组合后三级清水池13和二级清水池23相互连接,则取消三级清水池13和二级清水池23之间的分隔;如果连接组合后三级清水池13和二级清水池23不能相互连接,则通过管道连接;
在制作安装的过程中会遇到各种形状不同的场地,同时为了适应不同场地还会考虑不同的堆料位置等等,因此为了提高设备的通用性做了进一步的研究得出破碎水洗选矿系统的组合式安装平台至少有以下十六种组合形式:
组合形式一:参考图11是本发明破碎水洗选矿系统的三级破碎设备安装平台的第一侧面与二级破碎设备安装平台第一侧面组合后,以及平台抗抖晃摆动稳定系统安装位置示意图;组合后三级清水池13和二级清水池23相互连接,为了减少设备内部隔板对水流的阻滞,除了设备内部必要的加强及连接以外,取消三级清水池13和二级清水池23之间的分隔取消三级清水池13和二级清水池23之间的分隔;组合后三级污水池11和二级污水池21之间相互连接,除了设备内部必要的加强及连接以外,取消三级清水池13和二级清水池23之间的分隔;抗抖晃摆动稳定系统WDXT的框架KJ安装在靠近破碎水洗选矿系统的组合式安装平台中心位置,具体在三级破碎设备安装平台A及二级破碎设备安装平台B之间的位置,尽量便于设备安装,根据三级破碎机14、三级链斗式洗砂提升机15、二级破碎机24、二级链斗式洗砂提升机25、矿石分级筛26、二级第二链斗式洗砂提升机27的位置及进料与出料方向,在设备外围建设料仓,利用设备之间的高度不同,避免各输送机之间产生交叉及相互干涉问题;
组合形式二:参考图12是本发明破碎水洗选矿系统的三级破碎设备安装平台的第二侧面与二级破碎设备安装平台第一侧面组合后,以及平台抗抖晃摆动稳定系统安装位置示意图;组合后三级清水池13和二级清水池23不能相互连接,因此利用管道使三级清水池13和二级清水池23之间连通;组合后三级污水池11和二级污水池21之间相互连接,除了设备内部必要的加强及连接以外,取消三级清水池13和二级清水池23之间的分隔;抗抖晃摆动稳定系统WDXT的框架KJ安装在靠近破碎水洗选矿系统的组合式安装平台中心位置,具体在三级破碎设备安装平台A及二级破碎设备安装平台B之间的位置,尽量便于设备安装,根据三级破碎机14、三级链斗式洗砂提升机15、二级破碎机24、二级链斗式洗砂提升机25、矿石分级筛26、二级第二链斗式洗砂提升机27的位置及进料与出料方向,在设备外围建设料仓,利用设备之间的高度不同,避免各输送机之间产生交叉及相互干涉问题;
组合形式三:参考图13是本发明破碎水洗选矿系统的三级破碎设备安装平台的第三侧面与二级破碎设备安装平台第一侧面组合后,以及平台抗抖晃摆动稳定系统安装位置示意图;组合后三级清水池13和二级清水池23相互连接,为了减少设备内部隔板对水流的阻滞,除了设备内部必要的加强及连接以外,取消三级清水池13和二级清水池23之间的分隔取消三级清水池13和二级清水池23之间的分隔;组合后三级污水池11和二级污水池21之间相互连接,除了设备内部必要的加强及连接以外,取消三级清水池13和二级清水池23之间的分隔;抗抖晃摆动稳定系统WDXT的框架KJ安装在靠近破碎水洗选矿系统的组合式安装平台中心位置,具体在三级破碎设备安装平台A及二级破碎设备安装平台B之间的位置,尽量便于设备安装,根据三级破碎机14、三级链斗式洗砂提升机15、二级破碎机24、二级链斗式洗砂提升机25、矿石分级筛26、二级第二链斗式洗砂提升机27的位置及进料与出料方向,在设备外围建设料仓,利用设备之间的高度不同,避免各输送机之间产生交叉及相互干涉问题;
组合形式四:参考 图14是本发明破碎水洗选矿系统的三级破碎设备安装平台的第四侧面与二级破碎设备安装平台第一侧面组合后,以及平台抗抖晃摆动稳定系统安装位置示意图;组合后三级清水池13和二级清水池23不能相互连接,因此利用管道使三级清水池13和二级清水池23之间连通;组合后三级污水池11和二级污水池21之间相互连接,除了设备内部必要的加强及连接以外,取消三级清水池13和二级清水池23之间的分隔;抗抖晃摆动稳定系统WDXT的框架KJ安装在靠近破碎水洗选矿系统的组合式安装平台中心位置,具体在三级破碎设备安装平台A及二级破碎设备安装平台B之间的位置,尽量便于设备安装,根据三级破碎机14、三级链斗式洗砂提升机15、二级破碎机24、二级链斗式洗砂提升机25、矿石分级筛26、二级第二链斗式洗砂提升机27的位置及进料与出料方向,在设备外围建设料仓,利用设备之间的高度不同,避免各输送机之间产生交叉及相互干涉问题;
组合形式五:参考图15是本发明破碎水洗选矿系统的三级破碎设备安装平台的第一侧面与二级破碎设备安装平台第二侧面组合后,以及平台抗抖晃摆动稳定系统安装位置示意图;组合后三级清水池13和二级清水池23不能相互连接,因此利用管道使三级清水池13和二级清水池23之间连通;组合后三级污水池11和二级污水池21之间相互连接,除了设备内部必要的加强及连接以外,取消三级清水池13和二级清水池23之间的分隔;抗抖晃摆动稳定系统WDXT的框架KJ安装在靠近破碎水洗选矿系统的组合式安装平台中心位置,具体在三级破碎设备安装平台A及二级破碎设备安装平台B之间的位置,尽量便于设备安装,根据三级破碎机14、三级链斗式洗砂提升机15、二级破碎机24、二级链斗式洗砂提升机25、矿石分级筛26、二级第二链斗式洗砂提升机27的位置及进料与出料方向,在设备外围建设料仓,利用设备之间的高度不同,避免各输送机之间产生交叉及相互干涉问题;
组合形式六:参考图16是本发明破碎水洗选矿系统的三级破碎设备安装平台的第二侧面与二级破碎设备安装平台第二侧面组合后,以及平台抗抖晃摆动稳定系统安装位置示意图;组合后三级清水池13和二级清水池23不能相互连接,因此利用管道使三级清水池13和二级清水池23之间连通;组合后三级污水池11和二级污水池21之间相互连接,除了设备内部必要的加强及连接以外,取消三级清水池13和二级清水池23之间的分隔;抗抖晃摆动稳定系统WDXT的框架KJ安装在靠近破碎水洗选矿系统的组合式安装平台中心位置,具体在三级破碎设备安装平台A及二级破碎设备安装平台B之间的位置,尽量便于设备安装,根据三级破碎机14、三级链斗式洗砂提升机15、二级破碎机24、二级链斗式洗砂提升机25、矿石分级筛26、二级第二链斗式洗砂提升机27的位置及进料与出料方向,在设备外围建设料仓,利用设备之间的高度不同,避免各输送机之间产生交叉及相互干涉问题;
组合形式七:参考图17是本发明破碎水洗选矿系统的三级破碎设备安装平台的第三侧面与二级破碎设备安装平台第二侧面组合后,以及平台抗抖晃摆动稳定系统安装位置示意图;组合后三级清水池13和二级清水池23不能相互连接,因此利用管道使三级清水池13和二级清水池23之间连通;组合后三级污水池11和二级污水池21之间相互连接,除了设备内部必要的加强及连接以外,取消三级清水池13和二级清水池23之间的分隔;抗抖晃摆动稳定系统WDXT的框架KJ安装在靠近破碎水洗选矿系统的组合式安装平台中心位置,具体在三级破碎设备安装平台A及二级破碎设备安装平台B之间的位置,尽量便于设备安装,根据三级破碎机14、三级链斗式洗砂提升机15、二级破碎机24、二级链斗式洗砂提升机25、矿石分级筛26、二级第二链斗式洗砂提升机27的位置及进料与出料方向,在设备外围建设料仓,利用设备之间的高度不同,避免各输送机之间产生交叉及相互干涉问题;
组合形式八:参考图18是本发明破碎水洗选矿系统的三级破碎设备安装平台的第四侧面与二级破碎设备安装平台第二侧面组合后,以及平台抗抖晃摆动稳定系统安装位置示意图;组合后三级清水池13和二级清水池23不能相互连接,因此利用管道使三级清水池13和二级清水池23之间连通;组合后三级污水池11和二级污水池21之间相互连接,除了设备内部必要的加强及连接以外,取消三级清水池13和二级清水池23之间的分隔;抗抖晃摆动稳定系统WDXT的框架KJ安装在靠近破碎水洗选矿系统的组合式安装平台中心位置,具体在三级破碎设备安装平台A及二级破碎设备安装平台B之间的位置,尽量便于设备安装,根据三级破碎机14、三级链斗式洗砂提升机15、二级破碎机24、二级链斗式洗砂提升机25、矿石分级筛26、二级第二链斗式洗砂提升机27的位置及进料与出料方向,在设备外围建设料仓,利用设备之间的高度不同,避免各输送机之间产生交叉及相互干涉问题;
组合形式九:参考图19是本发明破碎水洗选矿系统的三级破碎设备安装平台的第一侧面与二级破碎设备安装平台第三侧面组合后,以及平台抗抖晃摆动稳定系统安装位置示意图;组合后三级清水池13和二级清水池23相互连接,为了减少设备内部隔板对水流的阻滞,除了设备内部必要的加强及连接以外,取消三级清水池13和二级清水池23之间的分隔取消三级清水池13和二级清水池23之间的分隔;组合后三级污水池11和二级污水池21之间相互连接,除了设备内部必要的加强及连接以外,取消三级清水池13和二级清水池23之间的分隔;抗抖晃摆动稳定系统WDXT的框架KJ安装在靠近破碎水洗选矿系统的组合式安装平台中心位置,具体在三级破碎设备安装平台A及二级破碎设备安装平台B之间的位置,尽量便于设备安装,根据三级破碎机14、三级链斗式洗砂提升机15、二级破碎机24、二级链斗式洗砂提升机25、矿石分级筛26、二级第二链斗式洗砂提升机27的位置及进料与出料方向,在设备外围建设料仓,利用设备之间的高度不同,避免各输送机之间产生交叉及相互干涉问题;
组合形式十:参考图20是本发明破碎水洗选矿系统的三级破碎设备安装平台的第二侧面与二级破碎设备安装平台第三侧面组合后,以及平台抗抖晃摆动稳定系统安装位置示意图;组合后三级清水池13和二级清水池23不能相互连接,因此利用管道使三级清水池13和二级清水池23之间连通;组合后三级污水池11和二级污水池21之间相互连接,除了设备内部必要的加强及连接以外,取消三级清水池13和二级清水池23之间的分隔;抗抖晃摆动稳定系统WDXT的框架KJ安装在靠近破碎水洗选矿系统的组合式安装平台中心位置,具体在三级破碎设备安装平台A及二级破碎设备安装平台B之间的位置,尽量便于设备安装,根据三级破碎机14、三级链斗式洗砂提升机15、二级破碎机24、二级链斗式洗砂提升机25、矿石分级筛26、二级第二链斗式洗砂提升机27的位置及进料与出料方向,在设备外围建设料仓,利用设备之间的高度不同,避免各输送机之间产生交叉及相互干涉问题;
组合形式十一:参考图21是本发明破碎水洗选矿系统的三级破碎设备安装平台的第三侧面与二级破碎设备安装平台第三侧面组合后,以及平台抗抖晃摆动稳定系统安装位置示意图;组合后三级清水池13和二级清水池23相互连接,为了减少设备内部隔板对水流的阻滞,除了设备内部必要的加强及连接以外,取消三级清水池13和二级清水池23之间的分隔取消三级清水池13和二级清水池23之间的分隔;组合后三级污水池11和二级污水池21之间相互连接,除了设备内部必要的加强及连接以外,取消三级清水池13和二级清水池23之间的分隔;抗抖晃摆动稳定系统WDXT的框架KJ安装在靠近破碎水洗选矿系统的组合式安装平台中心位置,具体在三级破碎设备安装平台A及二级破碎设备安装平台B之间的位置,尽量便于设备安装,根据三级破碎机14、三级链斗式洗砂提升机15、二级破碎机24、二级链斗式洗砂提升机25、矿石分级筛26、二级第二链斗式洗砂提升机27的位置及进料与出料方向,在设备外围建设料仓,利用设备之间的高度不同,避免各输送机之间产生交叉及相互干涉问题;
组合形式十二:参考图22是本发明破碎水洗选矿系统的三级破碎设备安装平台的第四侧面与二级破碎设备安装平台第三侧面组合后,以及平台抗抖晃摆动稳定系统安装位置示意图;组合后三级清水池13和二级清水池23不能相互连接,因此利用管道使三级清水池13和二级清水池23之间连通;组合后三级污水池11和二级污水池21之间相互连接,除了设备内部必要的加强及连接以外,取消三级清水池13和二级清水池23之间的分隔;抗抖晃摆动稳定系统WDXT的框架KJ安装在靠近破碎水洗选矿系统的组合式安装平台中心位置,具体在三级破碎设备安装平台A及二级破碎设备安装平台B之间的位置,尽量便于设备安装,根据三级破碎机14、三级链斗式洗砂提升机15、二级破碎机24、二级链斗式洗砂提升机25、矿石分级筛26、二级第二链斗式洗砂提升机27的位置及进料与出料方向,在设备外围建设料仓,利用设备之间的高度不同,避免各输送机之间产生交叉及相互干涉问题;
组合形式十三:参考图23是本发明破碎水洗选矿系统的三级破碎设备安装平台的第一侧面与二级破碎设备安装平台第四侧面组合后,以及平台抗抖晃摆动稳定系统安装位置示意图;组合后三级清水池13和二级清水池23不能相互连接,因此利用管道使三级清水池13和二级清水池23之间连通;组合后三级污水池11和二级污水池21之间相互连接,除了设备内部必要的加强及连接以外,取消三级清水池13和二级清水池23之间的分隔;抗抖晃摆动稳定系统WDXT的框架KJ安装在靠近破碎水洗选矿系统的组合式安装平台中心位置,具体在三级破碎设备安装平台A及二级破碎设备安装平台B之间的位置,尽量便于设备安装,根据三级破碎机14、三级链斗式洗砂提升机15、二级破碎机24、二级链斗式洗砂提升机25、矿石分级筛26、二级第二链斗式洗砂提升机27的位置及进料与出料方向,在设备外围建设料仓,利用设备之间的高度不同,避免各输送机之间产生交叉及相互干涉问题;
组合形式十四:参考图24是本发明破碎水洗选矿系统的三级破碎设备安装平台的第二侧面与二级破碎设备安装平台第四侧面组合后,以及平台抗抖晃摆动稳定系统安装位置示意图;组合后三级清水池13和二级清水池23不能相互连接,因此利用管道使三级清水池13和二级清水池23之间连通;组合后三级污水池11和二级污水池21之间相互连接,除了设备内部必要的加强及连接以外,取消三级清水池13和二级清水池23之间的分隔;抗抖晃摆动稳定系统WDXT的框架KJ安装在靠近破碎水洗选矿系统的组合式安装平台中心位置,具体在三级破碎设备安装平台A及二级破碎设备安装平台B之间的位置,尽量便于设备安装,根据三级破碎机14、三级链斗式洗砂提升机15、二级破碎机24、二级链斗式洗砂提升机25、矿石分级筛26、二级第二链斗式洗砂提升机27的位置及进料与出料方向,在设备外围建设料仓,利用设备之间的高度不同,避免各输送机之间产生交叉及相互干涉问题;
组合形式十五:参考图25是本发明破碎水洗选矿系统的三级破碎设备安装平台的第三侧面与二级破碎设备安装平台第四侧面组合后,以及平台抗抖晃摆动稳定系统安装位置示意图;组合后三级清水池13和二级清水池23不能相互连接,因此利用管道使三级清水池13和二级清水池23之间连通;组合后三级污水池11和二级污水池21之间相互连接,除了设备内部必要的加强及连接以外,取消三级清水池13和二级清水池23之间的分隔;抗抖晃摆动稳定系统WDXT的框架KJ安装在靠近破碎水洗选矿系统的组合式安装平台中心位置,具体在三级破碎设备安装平台A及二级破碎设备安装平台B之间的位置,尽量便于设备安装,根据三级破碎机14、三级链斗式洗砂提升机15、二级破碎机24、二级链斗式洗砂提升机25、矿石分级筛26、二级第二链斗式洗砂提升机27的位置及进料与出料方向,在设备外围建设料仓,利用设备之间的高度不同,避免各输送机之间产生交叉及相互干涉问题;
组合形式十六:参考图26是本发明破碎水洗选矿系统的三级破碎设备安装平台的第四侧面与二级破碎设备安装平台第四侧面组合后,以及平台抗抖晃摆动稳定系统安装位置示意图;组合后三级清水池13和二级清水池23不能相互连接,因此利用管道使三级清水池13和二级清水池23之间连通;组合后三级污水池11和二级污水池21之间相互连接,除了设备内部必要的加强及连接以外,取消三级清水池13和二级清水池23之间的分隔;抗抖晃摆动稳定系统WDXT的框架KJ安装在靠近破碎水洗选矿系统的组合式安装平台中心位置,具体在三级破碎设备安装平台A及二级破碎设备安装平台B之间的位置,尽量便于设备安装,根据三级破碎机14、三级链斗式洗砂提升机15、二级破碎机24、二级链斗式洗砂提升机25、矿石分级筛26、二级第二链斗式洗砂提升机27的位置及进料与出料方向,在设备外围建设料仓,利用设备之间的高度不同,避免各输送机之间产生交叉及相互干涉问题;
实例7:如图1至图26的本技术方案的一种组合式破碎水洗选矿系统,所述组合式安装平台的三级破碎设备安装平台A的四个侧面的任意一面与二级破碎设备安装平台B四个侧面的任意一面连接组合还包括组合后的水平镜像及垂直镜像;
根据实例6所述破碎水洗选矿系统的组合式安装平台十六种组合形式,进一步的,在此十六种基本组合形式的基础上可以得出十六种水平镜像的组合形式;
更加进一步的,在上述三十二种组合形式基础上,对这三十二种组合形式垂直镜像还能得出三十二种组合形式的变化;
综上,通过对破碎水洗选矿系统的组合式安装平台十六种基本组合的变化可以形成六十四中组合形式,这六十四种组合形式可以适用各种不同场地变化。
以上结合附图对本发明的实施方式作了详细说明,但本发明不限于此,在所属技术领域的技术人员所具备的知识范围内,在不脱离本发明宗旨的前提下还可以做出各种变化,所属技术领域的技术人员从上述的构思出发,不经创造性的劳动,所作出的种种变换,均落在本发明的保护范围之内。
Claims (7)
1.一种组合式破碎水洗选矿系统包括三级破碎设备安装平台(A)及二级破碎设备安装平台(B)组成,其特征是:
所述的二级破碎设备安装平台(B)包括二级污水池(21)、二级洗矿池(22)、二级清水池(23)及分级清洗池(FJQX),二级洗矿池(22)在二级污水池(21)和二级清水池(23)的中间平行排列;分级清洗池(FJQX)与二级洗矿池(22)之间垂直排列;
所述的三级破碎设备安装平台(A)包括三级污水池(11)、三级洗矿池(12)及三级清水池(13),三级洗矿池(12)在三级污水池(11)和三级清水池(13)的中间平行排列;
所述的三级破碎设备安装平台(A)和二级破碎设备安装平台(B)大部分埋在地面以下,地面以下的外部以回填料(HT)进行回填,三级破碎设备安装平台(A)和二级破碎设备安装平台(B)内部注入水;
所述的二级洗矿池(22)的两侧的设备钢板平台(GPT)上安装至少一台二级破碎机(24),二级破碎机(24)的排料直接排入二级洗矿池(22),二级破碎机(24)的底部与设备钢板平台(GPT)连接,连接处一直深入到池底连接加固,同时在池内加固;二级洗矿池(22)内还安装有二级链斗式洗砂提升机(25);
所述的分级清洗池(FJQX)的一端安装有二级第二链斗式洗砂提升机(27),另一端安装有矿石分级筛(26),矿石分级筛(26)的进料口低于二级链斗式洗砂提升机(25)的出料口,二级第二链斗式洗砂提升机(27)的进料口低于矿石分级筛(26)最低位置的最细出料的出料口;
所述的三级污水池(11)、三级清水池(13)、二级污水池(21)、二级清水池(23)之上根据需要架空安装设备钢板平台(GPT);
所述的三级洗矿池(12)的两侧的设备钢板平台(GPT)上安装至少一台三级破碎机(14),三级破碎机(14)的排料直接排入三级洗矿池(12),三级破碎机(14)的底部与设备钢板平台(GPT)连接,连接处一直深入到池底连接加固,同时在池内加固;三级洗矿池(12)内还安装有三级链斗式洗砂提升机(15);
所述的三级污水池(11)、二级污水池(21)内安装有污水泵送设备将污水泵送至污水处理设备,污水经处理后的清水返回三级清水池(13)和二级清水池(23);
所述的二级清水池(23)和三级清水池(13)内安装清水泵,清水泵将潜水泵送入二级破碎机(24)和三级破碎机(14),清水经二级破碎机(24)后流入二级洗矿池(22),清水经三级破碎机(14)后流入三级洗矿池(12);
所述的二级洗矿池(22)和二级污水池(21)中间有溢流口,当二级洗矿池(22)内的污水增多时,二级洗矿池(22)内的污水溢流入二级污水池(21)中;所述的三级洗矿池(12)和三级污水池(11)中间有溢流口,当三级洗矿池(12)内的污水增多时,三级洗矿池(12)内的污水溢流入三级污水池(11)中;
所述的二级清水池(23)和二级污水池(21)中间有溢流口,当二级污水池(21)中的污水泵送设备将污水泵送至污水处理设备造成水位下降后,二级清水池(23)内的清水溢流入二级污水池(21)中;所述的三级清水池(13)和三级污水池(11)中间有溢流口,当三级污水池(11)中的污水泵送设备将污水泵送至污水处理设备造成水位下降后,三级清水池(13)内的清水溢流入三级污水池(11)中;
形成组合式破碎水洗选矿系统。
2.根据权利要求书1所述的一种组合式破碎水洗选矿系统还包括抗抖晃摆动稳定系统(WDXT),抗抖晃摆动稳定系统(WDXT)包括框架(KJ)、阻尼配重负载(ZNSX)、索具(SJ),其特征是:
所述的抗抖晃摆动稳定系统(WDXT)的框架(KJ)安装在靠近破碎水洗选矿系统的组合式安装平台中心位置;框架(KJ)顶部的中心通过索具(SJ)悬挂有阻尼配重负载(ZNSX),悬挂的阻尼配重负载(ZNSX)透空穿过钢板平台(GPT),阻尼配重负载(ZNSX)的局部浸入到三级破碎设备安装平台(A)或二级破碎设备安装平台(B)的水中;框架(KJ)的最高处高于组合式破碎水洗选矿系统内安装的所有设备,框架(KJ)的顶部或侧边与组合式破碎水洗选矿系统中所有设备的最高点连接,其连接方式可以采用直接连接或间接连接。
3.根据权利要求书1所述的一种组合式破碎水洗选矿系统还包括输送设备及料仓,其特征是:
所述的二级破碎机(24)的上面安装有二破输送机(S2),二破输送机(S2)的另一端安装在二级中转仓(Z2)的底部;
所述的二级第二链斗式洗砂提升机(27)的出料口连接细矿砂输送带(S-XK),细矿砂输送带(S-XK)的另一端安装在成品细矿砂仓(CPXK)的上部;
所述的矿石分级筛(26)分级后的排料口分别与一级粒度砾矿石输送带(SLK1)、二级粒度砾矿石输送带(SLK2)、三级粒度砾矿石输送带(SLK3)、返料输送带(SFL)连接;一级粒度砾矿石输送带(SLK1)的另一端安装在成品一级粒度砾矿石仓(CPLK1)的上部,二级粒度砾矿石输送带(SLK2)的另一端安装在成品二级粒度砾矿石仓(CPLK2)的上部,三级粒度砾矿石输送带(SLK3)的另一端安装在成品三级粒度砾矿石仓(CPLK3)的上部;返料输送带(SFL)的另一端安装在三级中转仓(Z3)的上部;
所述的三级破碎机(14)的上面安装有喂料机,喂料机的上面安装有料斗(LD),料斗(LD)的上面安装有三破输送机(S3),三破输送机(S3)的另一端安装在三级中转仓(Z3)的底部;
三级链斗式洗砂提升机(15)的出料口连接中粗矿砂输送带(S-ZK),中粗矿砂输送带(S-ZK)的另一端安装在成品中粗矿砂仓(CPZK)的上部。
4.根据权利要求书3所述的一种组合式破碎水洗选矿系统其特征是:
根据场地不同建设二级中转仓(Z2),二破输送机(S2)可以以二破输送机(S2)为圆心调整安装角度;
根据场地不同建设成品细矿砂仓(CPXK),细矿砂输送带(S-XK)可以以第二链斗式洗砂提升机(27)的出料口为圆心调整安装角度;
根据场地不同建设成品一级粒度砾矿石仓(CPLK1),一级粒度砾矿石输送带(SLK1)可以以矿石分级筛(26)的出料口为圆心调整安装角度;
根据场地不同建设成品二级粒度砾矿石仓(CPLK2),二级粒度砾矿石输送带(SLK2)可以以矿石分级筛(26)的出料口为圆心调整安装角度;
根据场地不同建设成品三级粒度砾矿石仓(CPLK3),三级粒度砾矿石输送带(SLK3)可以以矿石分级筛(26)的出料口为圆心调整安装角度;
根据场地不同建设三级中转仓(Z3),返料输送带(SFL)可以以矿石分级筛(26)的出料口为圆心调整安装角度。
5.根据权利要求书3或4所述的一种组合式破碎水洗选矿系统其特征是:
所述的矿石分级筛(26)分级后的最粗的砾矿石通过返料输送带(SFL)从矿石分级筛(26)输送至三级中转仓(Z3);
根据生产的产品粒度大小的需要,可以分别或者同时关闭矿石分级筛(26)与一级粒度砾矿石输送带(SLK1)、二级粒度砾矿石输送带(SLK2)、三级粒度砾矿石输送带(SLK3)的排料口,以及分别或者同时关闭一级粒度砾矿石输送带(SLK1)、二级粒度砾矿石输送带(SLK2)、三级粒度砾矿石输送带(SLK3),使矿石分级筛(26)所分级的不同粒度的砾矿石根据需求通过返料输送带(SFL)输送至三级中转仓(Z3)。
6.根据权利要求书1或2所述的一种组合式破碎水洗选矿系统其特征是:所述的三级破碎设备安装平台(A)的四个侧面的任意一面与二级破碎设备安装平台(B)四个侧面的任意一面连接组合;
所述的三级破碎设备安装平台(A)的四个侧面的任意一面与二级破碎设备安装平台(B)四个侧面的任意一面连接组合还包括组合后的水平镜像及垂直镜像。
7.根据权利要求书1所述的一种组合式破碎水洗选矿系统其特征是:如果连接组合后三级污水池(11)和二级污水池(21)相互连接,则取消三级污水池(11)和二级污水池(21)之间的分隔;如果连接组合后三级污水池(11)和二级污水池(21)不能相互连接,则通过管道连接;
如果连接组合后三级清水池(13)和二级清水池(23)相互连接,则取消三级清水池(13)和二级清水池(23)之间的分隔;如果连接组合后三级清水池(13)和二级清水池(23)不能相互连接,则通过管道连接。
Priority Applications (2)
| Application Number | Priority Date | Filing Date | Title |
|---|---|---|---|
| CN202210627629.3A CN115069387A (zh) | 2022-06-06 | 2022-06-06 | 一种组合式破碎水洗选矿系统 |
| CN202310639064.5A CN116637703A (zh) | 2022-06-06 | 2023-05-31 | 组合式矿石仿生河砂多级破碎整形系统 |
Applications Claiming Priority (1)
| Application Number | Priority Date | Filing Date | Title |
|---|---|---|---|
| CN202210627629.3A CN115069387A (zh) | 2022-06-06 | 2022-06-06 | 一种组合式破碎水洗选矿系统 |
Publications (1)
| Publication Number | Publication Date |
|---|---|
| CN115069387A true CN115069387A (zh) | 2022-09-20 |
Family
ID=83249314
Family Applications (2)
| Application Number | Title | Priority Date | Filing Date |
|---|---|---|---|
| CN202210627629.3A Pending CN115069387A (zh) | 2022-06-06 | 2022-06-06 | 一种组合式破碎水洗选矿系统 |
| CN202310639064.5A Pending CN116637703A (zh) | 2022-06-06 | 2023-05-31 | 组合式矿石仿生河砂多级破碎整形系统 |
Family Applications After (1)
| Application Number | Title | Priority Date | Filing Date |
|---|---|---|---|
| CN202310639064.5A Pending CN116637703A (zh) | 2022-06-06 | 2023-05-31 | 组合式矿石仿生河砂多级破碎整形系统 |
Country Status (1)
| Country | Link |
|---|---|
| CN (2) | CN115069387A (zh) |
Cited By (2)
| Publication number | Priority date | Publication date | Assignee | Title |
|---|---|---|---|---|
| CN115531975A (zh) * | 2022-10-28 | 2022-12-30 | 贵州省元石矿产资源研究院有限公司 | 湿式精砂破碎整形用污水循环处理系统 |
| CN115569684A (zh) * | 2022-10-28 | 2023-01-06 | 贵州省元石矿产资源研究院有限公司 | 湿式破碎整形系统 |
Citations (13)
| Publication number | Priority date | Publication date | Assignee | Title |
|---|---|---|---|---|
| US4002462A (en) * | 1974-12-31 | 1977-01-11 | Maddox Chesford M | Ore beneficiation method and apparatus |
| CN107362896A (zh) * | 2017-08-31 | 2017-11-21 | 陕西冶金设计研究院有限公司 | 一种铁路特级碎石道砟的生产工艺流程和设备 |
| CN107497580A (zh) * | 2017-08-29 | 2017-12-22 | 遵义同兴源建材有限公司 | 一种砂石生产线 |
| CN108787134A (zh) * | 2018-07-23 | 2018-11-13 | 广州市顺兴石场有限公司 | 一种用于矿石破碎和筛分的生产系统及其生产方法 |
| CN109317285A (zh) * | 2017-08-01 | 2019-02-12 | 辽宁煜梽新型建材有限公司 | 一种砂石骨料生产系统 |
| CN110016962A (zh) * | 2019-04-25 | 2019-07-16 | 郑州航空工业管理学院 | 一种抗震钢结构支架 |
| CN111013804A (zh) * | 2019-12-30 | 2020-04-17 | 徐杰 | 一种制沙洗沙一体化生产流水线 |
| CN111097593A (zh) * | 2019-12-30 | 2020-05-05 | 徐杰 | 一种制沙洗沙组合式一体机 |
| CN112452502A (zh) * | 2020-10-26 | 2021-03-09 | 青岛方特远矿山机械有限公司 | 一种精品玄武岩机制砂石骨料生产线及其工艺流程 |
| CN113578498A (zh) * | 2021-09-08 | 2021-11-02 | 成都大宏立机器股份有限公司 | 一种砂石料骨料绿色环保湿法生产设备 |
| CN215843476U (zh) * | 2021-08-24 | 2022-02-18 | 安徽南玻石英材料有限公司 | 矿石前处理系统 |
| CN114247560A (zh) * | 2021-12-20 | 2022-03-29 | 长沙矿山研究院有限责任公司 | 矿石全粒级预处理工艺及装置 |
| CN216616348U (zh) * | 2021-11-25 | 2022-05-27 | 兰州交通大学 | 一种用于建筑工程的新型抗震结构 |
-
2022
- 2022-06-06 CN CN202210627629.3A patent/CN115069387A/zh active Pending
-
2023
- 2023-05-31 CN CN202310639064.5A patent/CN116637703A/zh active Pending
Patent Citations (13)
| Publication number | Priority date | Publication date | Assignee | Title |
|---|---|---|---|---|
| US4002462A (en) * | 1974-12-31 | 1977-01-11 | Maddox Chesford M | Ore beneficiation method and apparatus |
| CN109317285A (zh) * | 2017-08-01 | 2019-02-12 | 辽宁煜梽新型建材有限公司 | 一种砂石骨料生产系统 |
| CN107497580A (zh) * | 2017-08-29 | 2017-12-22 | 遵义同兴源建材有限公司 | 一种砂石生产线 |
| CN107362896A (zh) * | 2017-08-31 | 2017-11-21 | 陕西冶金设计研究院有限公司 | 一种铁路特级碎石道砟的生产工艺流程和设备 |
| CN108787134A (zh) * | 2018-07-23 | 2018-11-13 | 广州市顺兴石场有限公司 | 一种用于矿石破碎和筛分的生产系统及其生产方法 |
| CN110016962A (zh) * | 2019-04-25 | 2019-07-16 | 郑州航空工业管理学院 | 一种抗震钢结构支架 |
| CN111013804A (zh) * | 2019-12-30 | 2020-04-17 | 徐杰 | 一种制沙洗沙一体化生产流水线 |
| CN111097593A (zh) * | 2019-12-30 | 2020-05-05 | 徐杰 | 一种制沙洗沙组合式一体机 |
| CN112452502A (zh) * | 2020-10-26 | 2021-03-09 | 青岛方特远矿山机械有限公司 | 一种精品玄武岩机制砂石骨料生产线及其工艺流程 |
| CN215843476U (zh) * | 2021-08-24 | 2022-02-18 | 安徽南玻石英材料有限公司 | 矿石前处理系统 |
| CN113578498A (zh) * | 2021-09-08 | 2021-11-02 | 成都大宏立机器股份有限公司 | 一种砂石料骨料绿色环保湿法生产设备 |
| CN216616348U (zh) * | 2021-11-25 | 2022-05-27 | 兰州交通大学 | 一种用于建筑工程的新型抗震结构 |
| CN114247560A (zh) * | 2021-12-20 | 2022-03-29 | 长沙矿山研究院有限责任公司 | 矿石全粒级预处理工艺及装置 |
Cited By (2)
| Publication number | Priority date | Publication date | Assignee | Title |
|---|---|---|---|---|
| CN115531975A (zh) * | 2022-10-28 | 2022-12-30 | 贵州省元石矿产资源研究院有限公司 | 湿式精砂破碎整形用污水循环处理系统 |
| CN115569684A (zh) * | 2022-10-28 | 2023-01-06 | 贵州省元石矿产资源研究院有限公司 | 湿式破碎整形系统 |
Also Published As
| Publication number | Publication date |
|---|---|
| CN116637703A (zh) | 2023-08-25 |
Similar Documents
| Publication | Publication Date | Title |
|---|---|---|
| CN112452502B (zh) | 一种精品玄武岩机制砂石骨料生产线及其工艺流程 | |
| CN115069387A (zh) | 一种组合式破碎水洗选矿系统 | |
| CN107246279A (zh) | 井下采选筛拌充一体化矸石胶结构造充填系统及方法 | |
| CN103480482B (zh) | 槽选工艺煤矿井下排矸系统 | |
| CN102284350A (zh) | 炉渣综合利用之分选分离工艺 | |
| WO2021218078A1 (zh) | 一种基坑土方运输及破碎处理的施工方法 | |
| CN108237135A (zh) | 一种建筑垃圾预处理系统的设备 | |
| CN112871627A (zh) | 一种矿业生产用环保高效型矿料筛分机 | |
| CN107364740B (zh) | 一种建筑类物料卸料分选设备 | |
| CN215611805U (zh) | 一种采矿废石制备骨料用具有高效除尘的生产设备 | |
| CN101670310A (zh) | 重介浅槽分选井下排矸系统 | |
| CN212285250U (zh) | 一种新型建筑垃圾破碎分类装置 | |
| CN212791747U (zh) | 一种建筑垃圾的分拣回收装置 | |
| CN106733625A (zh) | 一种煤矸石碎石料筛分设备 | |
| CN220195096U (zh) | 一种可生产粗、细骨料的楼式砂石骨料一体化装备 | |
| CN107116086B (zh) | 一种建筑垃圾回收系统 | |
| CN208928371U (zh) | 一种集成模块式重介质选矿机组 | |
| CN115069386A (zh) | 一种破碎水洗选矿系统的组合式安装平台 | |
| CN201500577U (zh) | 重介浅槽分选井下排矸系统 | |
| CN213468864U (zh) | 一种预拌厂移动式粗骨料循环水清洗装置 | |
| CN219400966U (zh) | 一种滚筒式多级机制砂连续筛分系统 | |
| CN203494634U (zh) | 槽选工艺煤矿井下排矸系统 | |
| CN203526190U (zh) | 建筑垃圾处理系统 | |
| CN217615203U (zh) | 预拌混凝土砂石骨料生产筛分系统 | |
| CN1242722A (zh) | 无网孔振动筛分机 |
Legal Events
| Date | Code | Title | Description |
|---|---|---|---|
| PB01 | Publication | ||
| PB01 | Publication | ||
| SE01 | Entry into force of request for substantive examination | ||
| SE01 | Entry into force of request for substantive examination | ||
| WD01 | Invention patent application deemed withdrawn after publication | ||
| WD01 | Invention patent application deemed withdrawn after publication |
Application publication date: 20220920 |