CN115064970A - 一种具有除湿除尘功能的配电柜 - Google Patents
一种具有除湿除尘功能的配电柜 Download PDFInfo
- Publication number
- CN115064970A CN115064970A CN202210803740.3A CN202210803740A CN115064970A CN 115064970 A CN115064970 A CN 115064970A CN 202210803740 A CN202210803740 A CN 202210803740A CN 115064970 A CN115064970 A CN 115064970A
- Authority
- CN
- China
- Prior art keywords
- cabinet body
- fixedly connected
- dehumidification
- dust removal
- dust
- Prior art date
- Legal status (The legal status is an assumption and is not a legal conclusion. Google has not performed a legal analysis and makes no representation as to the accuracy of the status listed.)
- Withdrawn
Links
- 239000000428 dust Substances 0.000 title claims abstract description 75
- 238000007791 dehumidification Methods 0.000 title claims abstract description 23
- 238000009423 ventilation Methods 0.000 claims abstract description 18
- 238000004140 cleaning Methods 0.000 claims description 16
- 239000002250 absorbent Substances 0.000 claims description 8
- 230000002745 absorbent Effects 0.000 claims description 8
- 238000005485 electric heating Methods 0.000 claims description 7
- 230000000903 blocking effect Effects 0.000 claims description 3
- 230000000149 penetrating effect Effects 0.000 claims 2
- 230000000694 effects Effects 0.000 abstract description 5
- 239000011148 porous material Substances 0.000 abstract description 3
- 230000017525 heat dissipation Effects 0.000 abstract description 2
- 238000003780 insertion Methods 0.000 description 6
- 230000037431 insertion Effects 0.000 description 6
- 238000010586 diagram Methods 0.000 description 3
- 230000010405 clearance mechanism Effects 0.000 description 2
- 230000007547 defect Effects 0.000 description 2
- 239000003230 hygroscopic agent Substances 0.000 description 2
- 239000007858 starting material Substances 0.000 description 2
- VYPSYNLAJGMNEJ-UHFFFAOYSA-N Silicium dioxide Chemical compound O=[Si]=O VYPSYNLAJGMNEJ-UHFFFAOYSA-N 0.000 description 1
- 239000006096 absorbing agent Substances 0.000 description 1
- 238000005273 aeration Methods 0.000 description 1
- 230000009286 beneficial effect Effects 0.000 description 1
- 238000001816 cooling Methods 0.000 description 1
- 238000012986 modification Methods 0.000 description 1
- 230000004048 modification Effects 0.000 description 1
- 239000002245 particle Substances 0.000 description 1
- 239000000741 silica gel Substances 0.000 description 1
- 229910002027 silica gel Inorganic materials 0.000 description 1
Images
Classifications
-
- H—ELECTRICITY
- H02—GENERATION; CONVERSION OR DISTRIBUTION OF ELECTRIC POWER
- H02B—BOARDS, SUBSTATIONS OR SWITCHING ARRANGEMENTS FOR THE SUPPLY OR DISTRIBUTION OF ELECTRIC POWER
- H02B1/00—Frameworks, boards, panels, desks, casings; Details of substations or switching arrangements
- H02B1/56—Cooling; Ventilation
- H02B1/565—Cooling; Ventilation for cabinets
-
- B—PERFORMING OPERATIONS; TRANSPORTING
- B01—PHYSICAL OR CHEMICAL PROCESSES OR APPARATUS IN GENERAL
- B01D—SEPARATION
- B01D46/00—Filters or filtering processes specially modified for separating dispersed particles from gases or vapours
- B01D46/10—Particle separators, e.g. dust precipitators, using filter plates, sheets or pads having plane surfaces
- B01D46/12—Particle separators, e.g. dust precipitators, using filter plates, sheets or pads having plane surfaces in multiple arrangements
-
- B—PERFORMING OPERATIONS; TRANSPORTING
- B01—PHYSICAL OR CHEMICAL PROCESSES OR APPARATUS IN GENERAL
- B01D—SEPARATION
- B01D46/00—Filters or filtering processes specially modified for separating dispersed particles from gases or vapours
- B01D46/66—Regeneration of the filtering material or filter elements inside the filter
- B01D46/68—Regeneration of the filtering material or filter elements inside the filter by means acting on the cake side involving movement with regard to the filter elements
- B01D46/681—Regeneration of the filtering material or filter elements inside the filter by means acting on the cake side involving movement with regard to the filter elements by scrapers, brushes or the like
-
- H—ELECTRICITY
- H02—GENERATION; CONVERSION OR DISTRIBUTION OF ELECTRIC POWER
- H02B—BOARDS, SUBSTATIONS OR SWITCHING ARRANGEMENTS FOR THE SUPPLY OR DISTRIBUTION OF ELECTRIC POWER
- H02B1/00—Frameworks, boards, panels, desks, casings; Details of substations or switching arrangements
- H02B1/26—Casings; Parts thereof or accessories therefor
- H02B1/28—Casings; Parts thereof or accessories therefor dustproof, splashproof, drip-proof, waterproof or flameproof
-
- H—ELECTRICITY
- H02—GENERATION; CONVERSION OR DISTRIBUTION OF ELECTRIC POWER
- H02B—BOARDS, SUBSTATIONS OR SWITCHING ARRANGEMENTS FOR THE SUPPLY OR DISTRIBUTION OF ELECTRIC POWER
- H02B1/00—Frameworks, boards, panels, desks, casings; Details of substations or switching arrangements
- H02B1/26—Casings; Parts thereof or accessories therefor
- H02B1/30—Cabinet-type casings; Parts thereof or accessories therefor
-
- H—ELECTRICITY
- H02—GENERATION; CONVERSION OR DISTRIBUTION OF ELECTRIC POWER
- H02B—BOARDS, SUBSTATIONS OR SWITCHING ARRANGEMENTS FOR THE SUPPLY OR DISTRIBUTION OF ELECTRIC POWER
- H02B1/00—Frameworks, boards, panels, desks, casings; Details of substations or switching arrangements
- H02B1/26—Casings; Parts thereof or accessories therefor
- H02B1/30—Cabinet-type casings; Parts thereof or accessories therefor
- H02B1/32—Mounting of devices therein
-
- H—ELECTRICITY
- H02—GENERATION; CONVERSION OR DISTRIBUTION OF ELECTRIC POWER
- H02B—BOARDS, SUBSTATIONS OR SWITCHING ARRANGEMENTS FOR THE SUPPLY OR DISTRIBUTION OF ELECTRIC POWER
- H02B1/00—Frameworks, boards, panels, desks, casings; Details of substations or switching arrangements
- H02B1/26—Casings; Parts thereof or accessories therefor
- H02B1/50—Pedestal- or pad-mounted casings; Parts thereof or accessories therefor
-
- Y—GENERAL TAGGING OF NEW TECHNOLOGICAL DEVELOPMENTS; GENERAL TAGGING OF CROSS-SECTIONAL TECHNOLOGIES SPANNING OVER SEVERAL SECTIONS OF THE IPC; TECHNICAL SUBJECTS COVERED BY FORMER USPC CROSS-REFERENCE ART COLLECTIONS [XRACs] AND DIGESTS
- Y02—TECHNOLOGIES OR APPLICATIONS FOR MITIGATION OR ADAPTATION AGAINST CLIMATE CHANGE
- Y02A—TECHNOLOGIES FOR ADAPTATION TO CLIMATE CHANGE
- Y02A30/00—Adapting or protecting infrastructure or their operation
- Y02A30/14—Extreme weather resilient electric power supply systems, e.g. strengthening power lines or underground power cables
Landscapes
- Engineering & Computer Science (AREA)
- Power Engineering (AREA)
- Chemical & Material Sciences (AREA)
- Chemical Kinetics & Catalysis (AREA)
- Cooling Or The Like Of Electrical Apparatus (AREA)
Abstract
本发明公开了一种具有除湿除尘功能的配电柜,包括柜体、柜门,所述柜体的底部固定连接有底座,所述柜体的顶部固定连接有出风管,所述出风管的内部安装有排气扇,所述柜体的顶部连接有位于出风管上方的遮挡机构,所述柜体的内部固定连接有孔板,所述柜体的底部固定连接有进风管,所述进风管的内部安装有进气扇,所述进风管的下端连接有套筒,所述套筒的内部下侧固定嵌装有第二防尘网,所述套筒的内部固定连接有围板,所述围板的底部固定嵌装有第二透气板。本发明具有除湿除尘的功能,能够有效避免灰尘、湿气进入柜体内部,并能够进行灰尘清理,保证进风管良好的通气性能,保持柜体内部良好的通气、散热效果。
Description
技术领域
本发明涉及配电柜技术领域,尤其涉及一种具有除湿除尘功能的配电柜。
背景技术
配电柜是一种连接高压或低压线缆的设备,配电柜一般使用在负荷比较分散、回路较少的场合,大多数配电柜是安装在室外的,因此,现有的配电柜还存在一定缺陷。
现有的配电柜底端直接与地面接触,防潮效果比较差,导致配电柜内的电气设备容易受潮损坏,且现有通常会安装防尘网实现防尘效果,但是防尘网长时间使用后会在表面积附较多灰尘而造成堵塞,影响了配电柜内部通风散热的性能,因此,现需设计一种具有除湿除尘功能的配电柜。
发明内容
本发明的目的是为了解决现有技术中存在的缺点,而提出的一种具有除湿除尘功能的配电柜。
为了实现上述目的,本发明采用了如下技术方案:
一种具有除湿除尘功能的配电柜,包括柜体、柜门,所述柜体的底部固定连接有底座,所述柜体的顶部固定连接有出风管,所述出风管的内部安装有排气扇,所述柜体的顶部连接有位于出风管上方的遮挡机构,所述柜体的内部固定连接有孔板,所述柜体的底部固定连接有进风管,所述进风管的内部安装有进气扇,所述进风管的下端连接有套筒,所述套筒的内部下侧固定嵌装有第二防尘网,所述套筒的内部固定连接有围板,所述围板的底部固定嵌装有第二透气板,所述围板的内侧设有吸潮剂,所述柜体的底部设有用于对第二防尘网清理的清理机构,所述柜门上设有锁具。
作为本发明的进一步改进,所述遮挡机构包括设置在出风管上方的挡盖,所述挡盖的底部两侧均固定连接有固定杆,所述柜体的顶部设有与固定杆适配的插槽,所述固定杆插装在插槽内部。
作为本发明的进一步改进,所述清理机构包括固定连接在柜体底部的固定轴,所述固定轴的下端转动连接有摆动块,所述摆动块的侧壁上设有连接槽,所述连接槽的内部设有清洁件,所述柜体的底部设有与摆动块连接的驱动结构。
作为本发明的进一步改进,所述清洁件包括位于连接槽内侧的刷杆,所述刷杆上贯穿设有连接轴,所述连接轴与刷杆转动连接,所述连接轴的两端均固定连接在连接槽的内壁上,所述摆动块的下端贯穿设有与其滑动连接的锁紧插杆,所述刷杆上贯穿设有与锁紧插杆对应的锁紧孔,所述锁紧插杆插设在锁紧孔中,所述锁紧插杆位于摆动块下方的侧壁上套装有拉簧,所述拉簧的一端连接在摆动块上,所述拉簧的另一端连接在锁紧插杆上。
作为本发明的进一步改进,所述驱动结构包括安装在柜体底部的电机,所述固定轴的侧壁上固定安装有轴座,所述轴座上安装有转轴,所述电机输出轴固定连接在转轴上端,所述转轴的下端固定连接有转盘,所述转盘的下盘面边缘处固定连接有牙柱,所述摆动块的上端开设有条形槽,所述牙柱滑动连接在条形槽内侧。
作为本发明的进一步改进,所述套筒螺纹套接在进风管的外侧。
作为本发明的进一步改进,所述进风管的内侧上部固定嵌装有第一透气板,所述进风管的内部安装有电热丝,所述电热丝位于第一透气板、进气扇之间。
作为本发明的进一步改进,所述出风管的内侧上部固定嵌装有第一防尘网。
作为本发明的进一步改进,所述底座的侧壁上开设有透风孔,所述底座的侧壁上开设有抽拉槽,所述抽拉槽内设有集尘盒,所述集尘盒的侧壁上设有扣槽。
本发明的有益效果:
通过设置出风管、进风管、第一防尘网、第二防尘网,通过第一防尘网、第二防尘网能够对出风管、进风管有效防尘,避免灰尘进入柜体内部。
通过设置套筒、围板、吸潮剂,通过吸潮剂可以对通过进风管内部进入柜体内部的空气进行吸潮,去除空气中湿气,进而有效避免湿气对柜体内部元器件造成损坏。
通过设置清理机构,通过启动电机,驱动摆动块摆动,进而打动刷杆摆动,对第二防尘网的表面进行扫尘,有效去除第二防尘网上的灰尘,避免第二防尘网堵塞,进而保证进风管良好的通气性能,保持柜体内部良好的通气、散热效果。
本发明具有除湿除尘的功能,能够有效避免灰尘、湿气进入柜体内部,并能够进行灰尘清理,保证进风管良好的通气性能,保持柜体内部良好的通气、散热效果。
附图说明
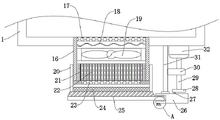
图1为本发明提出的一种具有除湿除尘功能的配电柜的结构示意图;
图2为本发明提出的一种具有除湿除尘功能的配电柜的出风管、第一防尘网、排气扇、遮挡机构的结构示意图;
图3为本发明提出的一种具有除湿除尘功能的配电柜的进风管、套筒内部及清理机构的结构示意图;
图4为本发明提出的一种具有除湿除尘功能的配电柜的摆动块、条形槽的结构示意图;
图5为图3中A处放大图。
图中:1柜体、2底座、3透风孔、4抽拉槽、5集尘盒、6扣槽、7柜门、8锁具、9孔板、10固定杆、11挡盖、12出风管、13插槽、14第一防尘网、15排气扇、16进风管、17第一透气板、18电热丝、19进气扇、20套筒、21围板、22吸潮剂、23第二透气板、24第二防尘网、25刷杆、26摆动块、27牙柱、28转盘、29转轴、30轴座、31固定轴、32电机、33条形槽、34连接槽、35连接轴、36拉簧、37锁紧插杆。
具体实施方式
下面将结合本发明实施例中的附图,对本发明实施例中的技术方案进行清楚、完整地描述,显然,所描述的实施例仅仅是本发明一部分实施例,而不是全部的实施例。
参照图1-5,一种具有除湿除尘功能的配电柜,包括柜体1、柜门7,柜体1的底部固定连接有底座2,柜体1的顶部固定连接有出风管12,出风管12的内侧上部固定嵌装有第一防尘网14,出风管12的内部安装有排气扇15,柜体1的顶部连接有位于出风管12上方的遮挡机构,柜体1的内部固定连接有孔板9,柜体1的底部固定连接有进风管16,进风管16的内部安装有进气扇19,进风管16的下端连接有套筒20,套筒20的内部下侧固定嵌装有第二防尘网24,套筒20的内部固定连接有围板21,围板21的底部固定嵌装有第二透气板23,围板21的内侧设有吸潮剂22,吸潮剂22可采用硅胶颗粒,套筒20螺纹套接在进风管16的外侧,使得套筒20与进风管16拆装便捷,便于对围板21内侧的吸潮剂22进行更换,柜体1的底部设有用于对第二防尘网24清理的清理机构,柜门7上设有锁具8。
本发明中,遮挡机构包括设置在出风管12上方的挡盖11,挡盖11的底部两侧均固定连接有固定杆10,柜体1的顶部设有与固定杆10适配的插槽13,固定杆10插装在插槽13内部,挡盖11能够对出风管12的顶部进行遮挡,避免雨水进入出风管12内部。
清理机构包括固定连接在柜体1底部的固定轴31,固定轴31的下端转动连接有摆动块26,摆动块26的侧壁上设有连接槽34,连接槽34的内部设有清洁件,柜体1的底部设有与摆动块26连接的驱动结构。
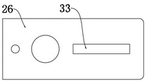
清洁件包括位于连接槽34内侧的刷杆25,刷杆25上贯穿设有连接轴35,连接轴35与刷杆25转动连接,连接轴35的两端均固定连接在连接槽34的内壁上,摆动块26的下端贯穿设有与其滑动连接的锁紧插杆37,刷杆25上贯穿设有与锁紧插杆37对应的锁紧孔,锁紧插杆37插设在锁紧孔中,锁紧插杆37位于摆动块26下方的侧壁上套装有拉簧36,拉簧36的一端连接在摆动块26上,拉簧36的另一端连接在锁紧插杆37上。
驱动结构包括安装在柜体1底部的电机32,固定轴31的侧壁上固定安装有轴座30,轴座30上安装有转轴29,电机32输出轴固定连接在转轴29上端,转轴29的下端固定连接有转盘28,转盘28的下盘面边缘处固定连接有牙柱27,摆动块26的上端开设有条形槽33,牙柱27滑动连接在条形槽33内侧,通过启动电机32,驱动摆动块26摆动,进而打动刷杆25摆动,对第二防尘网24的表面进行扫尘,有效去除第二防尘网24上的灰尘,避免第二防尘网24堵塞。
进风管16的内侧上部固定嵌装有第一透气板17,进风管16的内部安装有电热丝18,电热丝18位于第一透气板17、进气扇19之间,当柜体1内部温度较低或有潮气需要进一步除湿,可通过将电热丝18通电发热,对柜体1的内部进行升温或加热除湿。
底座2的侧壁上开设有透风孔3,底座2的侧壁上开设有抽拉槽4,抽拉槽4内设有集尘盒5,集尘盒5的侧壁上设有扣槽6,便于将集尘盒5抽出,可通过集尘盒5对清理的灰尘进行收集,同时集尘盒5能够方便抽拉出进行清理。
本发明使用时,启动进气扇19、排气扇15,即可对柜体1内部进行通风,通过第一防尘网14、第二防尘网24能够对出风管12、进风管16有效防尘,避免灰尘进入柜体1内部,通过吸潮剂22可以对通过进风管16内部进入柜体1内部的空气进行吸潮,去除空气中湿气,进风管16进气会在第二防尘网24下表面积附较多灰尘,启动电机32,驱动转轴29转动,带动转盘28转动,由于牙柱27滑动连接在条形槽33内部,且摆动块26与固定轴31转动连接,即可驱动摆动块26摆动,进而打动刷杆25摆动,对第二防尘网24的表面进行扫尘,有效去除第二防尘网24上的灰尘,避免第二防尘网24堵塞,进而保证进风管16良好的通气性能;
且需要对吸潮剂22进行更换时,通过拉动锁紧插杆37移出刷杆25上的锁紧孔,将刷杆25转离第二防尘网24的下方,即可将套筒20从进风管16下端拆卸,并对围板21内的吸潮剂22进行更换。
以上,仅为本发明较佳的具体实施方式,但本发明的保护范围并不局限于此,任何熟悉本技术领域的技术人员在本发明揭露的技术范围内,根据本发明的技术方案及其发明构思加以等同替换或改变,都应涵盖在本发明的保护范围之内。
Claims (9)
1.一种具有除湿除尘功能的配电柜,包括柜体(1)、柜门(7),其特征在于,所述柜体(1)的底部固定连接有底座(2),所述柜体(1)的顶部固定连接有出风管(12),所述出风管(12)的内部安装有排气扇(15),所述柜体(1)的顶部连接有位于出风管(12)上方的遮挡机构,所述柜体(1)的内部固定连接有孔板(9),所述柜体(1)的底部固定连接有进风管(16),所述进风管(16)的内部安装有进气扇(19),所述进风管(16)的下端连接有套筒(20),所述套筒(20)的内部下侧固定嵌装有第二防尘网(24),所述套筒(20)的内部固定连接有围板(21),所述围板(21)的底部固定嵌装有第二透气板(23),所述围板(21)的内侧设有吸潮剂(22),所述柜体(1)的底部设有用于对第二防尘网(24)清理的清理机构,所述柜门(7)上设有锁具(8)。
2.根据权利要求1所述的一种具有除湿除尘功能的配电柜,其特征在于,所述遮挡机构包括设置在出风管(12)上方的挡盖(11),所述挡盖(11)的底部两侧均固定连接有固定杆(10),所述柜体(1)的顶部设有与固定杆(10)适配的插槽(13),所述固定杆(10)插装在插槽(13)内部。
3.根据权利要求1所述的一种具有除湿除尘功能的配电柜,其特征在于,所述清理机构包括固定连接在柜体(1)底部的固定轴(31),所述固定轴(31)的下端转动连接有摆动块(26),所述摆动块(26)的侧壁上设有连接槽(34),所述连接槽(34)的内部设有清洁件,所述柜体(1)的底部设有与摆动块(26)连接的驱动结构。
4.根据权利要求3所述的一种具有除湿除尘功能的配电柜,其特征在于,所述清洁件包括位于连接槽(34)内侧的刷杆(25),所述刷杆(25)上贯穿设有连接轴(35),所述连接轴(35)与刷杆(25)转动连接,所述连接轴(35)的两端均固定连接在连接槽(34)的内壁上,所述摆动块(26)的下端贯穿设有与其滑动连接的锁紧插杆(37),所述刷杆(25)上贯穿设有与锁紧插杆(37)对应的锁紧孔,所述锁紧插杆(37)插设在锁紧孔中,所述锁紧插杆(37)位于摆动块(26)下方的侧壁上套装有拉簧(36),所述拉簧(36)的一端连接在摆动块(26)上,所述拉簧(36)的另一端连接在锁紧插杆(37)上。
5.根据权利要求3所述的一种具有除湿除尘功能的配电柜,其特征在于,所述驱动结构包括安装在柜体(1)底部的电机(32),所述固定轴(31)的侧壁上固定安装有轴座(30),所述轴座(30)上安装有转轴(29),所述电机(32)输出轴固定连接在转轴(29)上端,所述转轴(29)的下端固定连接有转盘(28),所述转盘(28)的下盘面边缘处固定连接有牙柱(27),所述摆动块(26)的上端开设有条形槽(33),所述牙柱(27)滑动连接在条形槽(33)内侧。
6.根据权利要求1所述的一种具有除湿除尘功能的配电柜,其特征在于,所述套筒(20)螺纹套接在进风管(16)的外侧。
7.根据权利要求1所述的一种具有除湿除尘功能的配电柜,其特征在于,所述进风管(16)的内侧上部固定嵌装有第一透气板(17),所述进风管(16)的内部安装有电热丝(18),所述电热丝(18)位于第一透气板(17)、进气扇(19)之间。
8.根据权利要求1所述的一种具有除湿除尘功能的配电柜,其特征在于,所述出风管(12)的内侧上部固定嵌装有第一防尘网(14)。
9.根据权利要求1所述的一种具有除湿除尘功能的配电柜,其特征在于,所述底座(2)的侧壁上开设有透风孔(3),所述底座(2)的侧壁上开设有抽拉槽(4),所述抽拉槽(4)内设有集尘盒(5),所述集尘盒(5)的侧壁上设有扣槽(6)。
Priority Applications (1)
| Application Number | Priority Date | Filing Date | Title |
|---|---|---|---|
| CN202210803740.3A CN115064970A (zh) | 2022-07-09 | 2022-07-09 | 一种具有除湿除尘功能的配电柜 |
Applications Claiming Priority (1)
| Application Number | Priority Date | Filing Date | Title |
|---|---|---|---|
| CN202210803740.3A CN115064970A (zh) | 2022-07-09 | 2022-07-09 | 一种具有除湿除尘功能的配电柜 |
Publications (1)
| Publication Number | Publication Date |
|---|---|
| CN115064970A true CN115064970A (zh) | 2022-09-16 |
Family
ID=83206488
Family Applications (1)
| Application Number | Title | Priority Date | Filing Date |
|---|---|---|---|
| CN202210803740.3A Withdrawn CN115064970A (zh) | 2022-07-09 | 2022-07-09 | 一种具有除湿除尘功能的配电柜 |
Country Status (1)
| Country | Link |
|---|---|
| CN (1) | CN115064970A (zh) |
Cited By (1)
| Publication number | Priority date | Publication date | Assignee | Title |
|---|---|---|---|---|
| CN118833091A (zh) * | 2024-09-20 | 2024-10-25 | 中建科工集团有限公司 | 用于充电桩的散热智能控制方法、装置、设备及充电桩 |
-
2022
- 2022-07-09 CN CN202210803740.3A patent/CN115064970A/zh not_active Withdrawn
Cited By (1)
| Publication number | Priority date | Publication date | Assignee | Title |
|---|---|---|---|---|
| CN118833091A (zh) * | 2024-09-20 | 2024-10-25 | 中建科工集团有限公司 | 用于充电桩的散热智能控制方法、装置、设备及充电桩 |
Similar Documents
| Publication | Publication Date | Title |
|---|---|---|
| CN219643339U (zh) | 一种便于检修的低压配电柜 | |
| CN214899544U (zh) | 一种具有防潮降温功能的配电柜 | |
| CN115064970A (zh) | 一种具有除湿除尘功能的配电柜 | |
| CN219535258U (zh) | 一种新型箱式变电站 | |
| CN211151120U (zh) | 一种具有除尘功能的配电柜 | |
| CN114269098A (zh) | 一种建筑电气施工安全防护装置 | |
| CN222531153U (zh) | 一种箱式变电站用通风结构 | |
| CN220795773U (zh) | 一种机箱散热结构 | |
| CN217656290U (zh) | 一种具有防尘防水功能的馈线柜 | |
| CN211481804U (zh) | 一种高铁变流器柜辅助散热系统 | |
| CN115842288A (zh) | 一种计量箱除湿驱潮装置及其使用方法 | |
| CN214045257U (zh) | 一种隔爆型三相异步电动机的防尘电机壳 | |
| CN207718737U (zh) | 一种户外舞台显示屏 | |
| CN212845581U (zh) | 一种具有散热功能的带电显示装置 | |
| CN215817000U (zh) | 一种具有通风和除湿功能的开关柜 | |
| CN223297243U (zh) | 一种便于安装的配电柜散热组件 | |
| CN221043492U (zh) | 一种具有自动除尘功能的计算机机箱 | |
| CN219352227U (zh) | 一种织网机控制箱 | |
| CN220173540U (zh) | 一种具有防尘功能的电气柜 | |
| CN219843299U (zh) | 一种高效散热的防尘式配电柜 | |
| CN222981035U (zh) | 一种具有自洁功能的配电柜 | |
| CN221633204U (zh) | 一种室外配电柜的安全防护装置 | |
| CN221529638U (zh) | 一种风冷电抗器的散热装置 | |
| CN220871106U (zh) | 一种防尘效果好的空调主机面板 | |
| CN221530630U (zh) | 一种具有防尘结构的电气柜 |
Legal Events
| Date | Code | Title | Description |
|---|---|---|---|
| PB01 | Publication | ||
| PB01 | Publication | ||
| WW01 | Invention patent application withdrawn after publication |
Application publication date: 20220916 |
|
| WW01 | Invention patent application withdrawn after publication |