CN115027944A - Electronic product processing equipment - Google Patents
Electronic product processing equipment Download PDFInfo
- Publication number
- CN115027944A CN115027944A CN202210568089.6A CN202210568089A CN115027944A CN 115027944 A CN115027944 A CN 115027944A CN 202210568089 A CN202210568089 A CN 202210568089A CN 115027944 A CN115027944 A CN 115027944A
- Authority
- CN
- China
- Prior art keywords
- shaft
- clamping rod
- electronic product
- product processing
- workstation
- Prior art date
- Legal status (The legal status is an assumption and is not a legal conclusion. Google has not performed a legal analysis and makes no representation as to the accuracy of the status listed.)
- Withdrawn
Links
- 230000007246 mechanism Effects 0.000 claims description 27
- 230000002093 peripheral effect Effects 0.000 claims description 9
- 238000005498 polishing Methods 0.000 claims description 9
- 230000005540 biological transmission Effects 0.000 claims description 5
- 230000003028 elevating effect Effects 0.000 claims description 4
- 230000000694 effects Effects 0.000 claims description 2
- 230000015572 biosynthetic process Effects 0.000 claims 1
- 230000009471 action Effects 0.000 abstract description 6
- 238000000034 method Methods 0.000 description 3
- 238000003825 pressing Methods 0.000 description 3
- 230000001629 suppression Effects 0.000 description 3
- 230000008569 process Effects 0.000 description 2
- 238000010586 diagram Methods 0.000 description 1
- 206010016766 flatulence Diseases 0.000 description 1
- 238000004519 manufacturing process Methods 0.000 description 1
- 230000013011 mating Effects 0.000 description 1
- 229910052751 metal Inorganic materials 0.000 description 1
- 239000002184 metal Substances 0.000 description 1
- 150000002739 metals Chemical class 0.000 description 1
- 238000012986 modification Methods 0.000 description 1
- 230000004048 modification Effects 0.000 description 1
Images
Classifications
-
- B—PERFORMING OPERATIONS; TRANSPORTING
- B65—CONVEYING; PACKING; STORING; HANDLING THIN OR FILAMENTARY MATERIAL
- B65G—TRANSPORT OR STORAGE DEVICES, e.g. CONVEYORS FOR LOADING OR TIPPING, SHOP CONVEYOR SYSTEMS OR PNEUMATIC TUBE CONVEYORS
- B65G47/00—Article or material-handling devices associated with conveyors; Methods employing such devices
- B65G47/74—Feeding, transfer, or discharging devices of particular kinds or types
- B65G47/90—Devices for picking-up and depositing articles or materials
-
- B—PERFORMING OPERATIONS; TRANSPORTING
- B23—MACHINE TOOLS; METAL-WORKING NOT OTHERWISE PROVIDED FOR
- B23P—METAL-WORKING NOT OTHERWISE PROVIDED FOR; COMBINED OPERATIONS; UNIVERSAL MACHINE TOOLS
- B23P19/00—Machines for simply fitting together or separating metal parts or objects, or metal and non-metal parts, whether or not involving some deformation; Tools or devices therefor so far as not provided for in other classes
- B23P19/02—Machines for simply fitting together or separating metal parts or objects, or metal and non-metal parts, whether or not involving some deformation; Tools or devices therefor so far as not provided for in other classes for connecting objects by press fit or for detaching same
-
- B—PERFORMING OPERATIONS; TRANSPORTING
- B24—GRINDING; POLISHING
- B24B—MACHINES, DEVICES, OR PROCESSES FOR GRINDING OR POLISHING; DRESSING OR CONDITIONING OF ABRADING SURFACES; FEEDING OF GRINDING, POLISHING, OR LAPPING AGENTS
- B24B19/00—Single-purpose machines or devices for particular grinding operations not covered by any other main group
- B24B19/02—Single-purpose machines or devices for particular grinding operations not covered by any other main group for grinding grooves, e.g. on shafts, in casings, in tubes, homokinetic joint elements
-
- B—PERFORMING OPERATIONS; TRANSPORTING
- B65—CONVEYING; PACKING; STORING; HANDLING THIN OR FILAMENTARY MATERIAL
- B65G—TRANSPORT OR STORAGE DEVICES, e.g. CONVEYORS FOR LOADING OR TIPPING, SHOP CONVEYOR SYSTEMS OR PNEUMATIC TUBE CONVEYORS
- B65G47/00—Article or material-handling devices associated with conveyors; Methods employing such devices
- B65G47/02—Devices for feeding articles or materials to conveyors
- B65G47/04—Devices for feeding articles or materials to conveyors for feeding articles
Landscapes
- Engineering & Computer Science (AREA)
- Mechanical Engineering (AREA)
- Grinding And Polishing Of Tertiary Curved Surfaces And Surfaces With Complex Shapes (AREA)
Abstract
The invention discloses electronic product processing equipment, and particularly relates to the field of electronic products. According to the invention, the telescopic cylinder extends, the workbench is driven to deflect under the action of the rocker arm, the clamp is released, so that the assembled workpiece slides down from the upper table surface of the workbench, falls on the conveying device, and is conveyed to the next station by the conveying device, and the function of automatically taking out the pressed charger from the clamp after the charger is pressed is realized.
Description
Technical Field
The invention relates to the technical field of electronic products, in particular to electronic product processing equipment.
Background
Mobile phone charger is also known as: the mobile phone adapter is formed by a stable power supply (mainly a voltage-stabilized power supply, a stable working voltage and enough current) and necessary control circuits of constant current, voltage limitation, time limitation and the like.
In the assembly process of cell-phone charger, need to be in the same place five metals charging pin and casing pressfitting, realize seamless assembly, but current charger suppression equipment still has more shortcoming when in actual use, if after the charger suppression is accomplished, often need the manual work to take out the charger that the suppression is good from anchor clamps, or through the mode that the arm was taken out, can reduce the degree of automation of processing production line on the one hand, on the other hand can increase a cost that equipment used again through the mode of arm.
Disclosure of Invention
The invention provides electronic product processing equipment, which aims to solve the problems that: the existing charger processing equipment is not convenient for taking out the processed workpiece.
In order to achieve the purpose, the invention provides the following technical scheme: the utility model provides an electronic product processing equipment, including the rigging equipment, the rigging equipment includes elevating system, the dress chuck is installed to elevating system's one end, the dress chuck will charge on the foot pressure equipment to the work piece casing, the base is installed to the bottom of rigging equipment, the workstation is installed at the top of base, the both sides of workstation all are equipped with telescopic cylinder, telescopic cylinder's flexible end is articulated to have the rocking arm, telescopic cylinder's one end is kept away from to the rocking arm is articulated with the workstation, the top fixed mounting of base has the stopper, the bottom butt of stopper and workstation, one side of base is equipped with conveyor, telescopic cylinder extension drive workstation slope, work piece landing on the workstation is to conveyor, one side of workstation is equipped with anchor clamps, anchor clamps press from both sides the work piece tightly at the workstation top.
In a preferred embodiment, the clamp comprises a screw rod driving part, two slide blocks moving in opposite directions are slidably sleeved on the screw rod driving part, a clamping plate is installed at one end of each slide block, and the screw rod driving part drives the slide blocks and the clamping plate to move towards each other to clamp the workpiece.
Through adopting above-mentioned technical scheme, the lead screw rotates and realizes that the slider moves about, presss from both sides the work piece.
In a preferred embodiment, the clamping plate is of an L-shaped structure, the sliding block is hinged with the clamping plate, a crank is arranged on one side of the sliding block, a worm is arranged on one side of the crank, the worm is movably arranged between the inner walls of the sliding block, a turbine is fixedly arranged on a hinged shaft of the clamping plate and the sliding block, and the turbine is meshed with the worm.
Through adopting above-mentioned technical scheme, rotate the crank, the worm drive turbine is rotatory to it is rotatory to drive the splint, and then adjusts the terminal position of splint, is convenient for adapt to the work piece of co-altitude not.
In a preferred embodiment, the clamping plate comprises a first clamping rod and a second clamping rod, the first clamping rod and the second clamping rod are connected through an elastic piece, a polishing mechanism is arranged on one side of the first clamping rod, and a driving mechanism for driving the polishing mechanism to rotate and polish is arranged between the first clamping rod and the second clamping rod.
Through adopting above-mentioned technical scheme, realize can also polishing out the recess to work piece both sides when anchor clamps press from both sides tight work piece.
In a preferred embodiment, the grinding mechanism comprises a rotating shaft, the rotating shaft is mounted on the first clamping rod, a grinding ball is fixedly sleeved on the shaft wall of the rotating shaft, and the grinding ball rotates to grind the outer wall of the workpiece to form a spherical groove.
Through adopting above-mentioned technical scheme, realize polishing out spherical recess in work piece both sides.
In a preferred embodiment, the driving mechanism comprises a motor, the motor is installed on one side of the first clamping rod, an output shaft of the motor is fixedly connected with an air expansion shaft, the air expansion shaft is rotatably arranged on the inner side of the first clamping rod, a piston is movably installed inside the air expansion shaft, and the end, far away from the air expansion shaft, of the piston is fixedly connected with the second clamping rod.
By adopting the technical scheme, the air pressure in the air expansion shaft is increased while the clamping rod I and the clamping rod II move mutually.
In a preferred embodiment, a plurality of inflatable keys are movably mounted on the outer peripheral side of the inflatable shaft, a bevel gear is sleeved on the outer peripheral side of the inflatable shaft, a plurality of key slots are formed in the inner side of the bevel gear, the inflatable keys are matched with the key slots, and the bevel gear is in transmission connection with the rotating shaft.
By adopting the technical scheme, the air pressure in the air expansion shaft is increased, so that the transmission mechanisms are linked with each other.
In a preferred embodiment, the outer side of the inflatable shaft is provided with threads, the outer peripheral side of the inflatable shaft is sleeved with a push plate, the rotating shaft is fixedly connected with the clamping rod I through a telescopic rod, the push plate is fixedly sleeved on the telescopic rod through a bearing, and the push plate pushes the rotating shaft to axially move along the telescopic rod.
Through adopting above-mentioned technical scheme, promote grinding machanism to be close to the work piece side to polish out spherical groove.
The invention has the technical effects and advantages that:
1. according to the invention, the telescopic cylinder extends, the workbench is driven to deflect under the action of the rocker arm, the clamp is released, so that the assembled workpiece slides down from the upper table surface of the workbench, falls on the conveying device, and is conveyed to the next station by the conveying device, and the function of automatically taking out the pressed charger from the clamp after the charger is pressed is realized;
2. the two clamping rods are extruded with the side wall of the workpiece, air in the air expansion shaft is compressed, air pressure is increased, the air expansion key protrudes and is matched with a key groove of the bevel gear, the rotating shaft drives the polishing ball to rotate under the transmission action of the bevel gear set, and the surface of the air expansion key is provided with threads to drive the push plate to move, so that the bevel gear is pushed to move and the telescopic rod extends, the rotating polishing ball is in contact with the side surface of the workpiece, and a spherical groove is polished.
Drawings
FIG. 1 is a schematic side view of the overall structure of the present invention in a first state;
FIG. 2 is a schematic diagram of a side view of the overall structure of the present invention in a first state;
FIG. 3 is a schematic view of a first state of the clamp and table in accordance with the present invention;
FIG. 4 is a schematic view of a second state of the clamp and table of the present invention engaged;
FIG. 5 is a schematic perspective view of the fixture and the table of the present invention;
FIG. 6 is a side view of the clamp of the present invention;
FIG. 7 is a schematic front view of the worktable according to the present invention;
FIG. 8 is a schematic view of the drive mechanism and grinding mechanism of the present invention in combination;
FIG. 9 is a schematic view of the mating structure of the bevel gear and the air shaft of the present invention;
FIG. 10 is a schematic view of a workpiece according to the present invention.
The reference signs are: 1. assembling equipment; 11. a lifting mechanism; 12. a guide bar; 13. assembling a chuck; 14. a base; 15. a limiting block; 2. a work table; 21. a telescopic cylinder; 22. a rocker arm; 23. a resisting plate; 3. a conveying device; 4. a clamp; 41. a lead screw driving part; 42. a slider; 43. a splint; 431. a first clamping rod; 432. a second clamping rod; 44. a crank; 441. a worm; 45. a turbine; 5. a polishing mechanism; 51. a rotating shaft; 52. grinding the ball; 53. a telescopic rod; 6. a drive mechanism; 61. a motor; 62. an air expansion shaft; 621. an flatulence key; 63. a piston; 64. a bevel gear; 641. a keyway; 65. pushing a plate; 10. a workpiece; 101. a charging pin; 102. a spherical groove.
Detailed Description
The technical solutions in the embodiments of the present invention will be clearly and completely described below with reference to the drawings in the embodiments of the present invention, and it is obvious that the described embodiments are only a part of the embodiments of the present invention, and not all of the embodiments. All other embodiments, which can be derived by a person skilled in the art from the embodiments given herein without making any creative effort, shall fall within the protection scope of the present invention.
Examples
Referring to the attached drawings 1-10 of the specification, an electronic product processing device comprises an assembling device 1, wherein the assembling device 1 comprises a lifting mechanism 11, a clamping head 13 is installed at one end of the lifting mechanism 11, a charging pin 101 is pressed on a shell of a workpiece 10 by the clamping head 13, a base 14 is installed at the bottom of the assembling device 1, a workbench 2 is installed at the top of the base 14, telescopic cylinders 21 are arranged on two sides of the workbench 2, a rocker arm 22 is hinged to a telescopic end of each telescopic cylinder 21, one end, away from the telescopic cylinder 21, of each rocker arm 22 is hinged to the workbench 2, a limiting block 15 is fixedly installed at the top of the base 14, the limiting block 15 is abutted to the bottom of the workbench 2, a conveying device 3 is arranged on one side of the base 14, the telescopic cylinders 21 extend to drive the workbench 2 to incline, the workpiece 10 on the workbench 2 slides onto the conveying device 3, a clamp 4 is arranged on one side of the workbench 2, and the clamp 4 clamps the workpiece 10 on the top of the workbench 2;
the assembling equipment 1 is also provided with a guide rod 12, the guide rod 12 is used for guiding the lifting mechanism 11, and the lifting mechanism 11 is of a linear guide rail driving mechanism structure;
the working procedure of the workpiece 10 comprises the steps of pressing the charging pin 101 on the shell of the workpiece 10; and then, two sides of the shell of the workpiece 10 are polished to form spherical grooves, so that the use by a user is facilitated.
In this embodiment, the implementation scenario specifically includes: installing a shell of a workpiece 10 on a workbench 2 through a clamp 4, enabling the workbench 2 to be in contact with a limiting block 15, enabling the workbench 2 to be in a horizontal state, driving a clamping head 13 to lift by a lifting mechanism 11, and pressing a charging pin 101 on the shell of the workpiece 10 on the workbench 2;
and then the telescopic cylinder 21 is controlled to extend, the workbench 2 is driven to deflect under the action of the rocker arm 22, the clamp 4 is loosened, the assembled workpiece 10 slides down from the top surface of the workbench 2 and falls on the conveying device 3, and then the workpiece is conveyed to the next station by the conveying device 3, so that the function that the pressed charger is automatically taken out of the clamp 4 and falls on the conveying device 3 to be conveyed to the next station after the charger is pressed by the equipment is realized.
As shown in fig. 5, the fixture 4 includes a screw driving part 41, two sliders 42 moving in opposite directions are slidably sleeved on the screw driving part 41, a clamping plate 43 is installed at one end of the slider 42, and the screw driving part 41 drives the slider 42 and the clamping plate 43 to move in opposite directions to clamp the workpiece 10; the screw rod driving part 41 comprises a driving motor, a screw rod and a guide rod, the sliding block 42 is sleeved on the screw rod and the guide rod and moves left and right along with the rotation of the screw rod, and threads on the screw rod are symmetrically arranged.
As shown in fig. 6, the clamping plate 43 is of an L-shaped structure, the sliding block 42 is hinged with the clamping plate 43, one side of the sliding block 42 is provided with a crank 44, one side of the crank 44 is provided with a worm 441, the worm 441 is movably arranged between the inner walls of the sliding block 42, a turbine 45 is fixedly arranged on a hinged shaft of the clamping plate 43 and the sliding block 42, and the turbine 45 is meshed with the worm 441;
the crank 44 is rotated, the worm 441 drives the worm wheel 45 to rotate, so as to drive the clamping plate 43 to rotate, and therefore the position of the tail end of the clamping plate 43 is adjusted, the clamping device is convenient to adapt to workpieces 10 with different heights, and the clamping stability of the clamping plate 43 is improved.
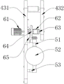
As shown in fig. 7 and 8, the clamping plate 43 includes a first clamping rod 431 and a second clamping rod 432, the first clamping rod 431 and the second clamping rod 432 are connected through an elastic member (such as an elastic telescopic rod or a spring), a grinding mechanism 5 is disposed on one side of the first clamping rod 431, a driving mechanism 6 for driving the grinding mechanism 5 to grind in a rotating manner is disposed between the first clamping rod 431 and the second clamping rod 432, a supporting plate 23 is fixedly mounted on one side of the worktable 2, and the supporting plate 23 is used for supporting one side of the workpiece 10.
As shown in fig. 7 and 8, the grinding mechanism 5 comprises a rotating shaft 51, the rotating shaft 51 is mounted on a first clamping rod 431, a grinding ball 52 is fixedly sleeved on the shaft wall of the rotating shaft 51, and the grinding ball 52 rotates to grind the outer wall of the workpiece 10 to form a spherical groove 102.
As shown in fig. 8, the driving mechanism 6 includes a motor 61, the motor 61 is installed on one side of the first clamping bar 431, an output shaft of the motor 61 is fixedly connected with an air expansion shaft 62, the air expansion shaft 62 is rotatably installed on the inner side of the first clamping bar 431, a piston 63 is movably installed inside the air expansion shaft 62, and an end portion of the piston 63 far away from the air expansion shaft 62 is fixedly connected with a second clamping bar 432.
As shown in fig. 9, a plurality of expansion keys 621 are movably mounted on the outer peripheral side of the expansion shaft 62, the expansion keys 621 are arranged in an annular array, a bevel gear 64 is sleeved on the outer peripheral side of the expansion shaft 62, a plurality of key slots 641 are formed in the inner side of the bevel gear 64, the expansion keys 621 are matched with the key slots 641, and the bevel gear 64 is in transmission connection with the rotating shaft 51.
As shown in fig. 9, the outer side of the inflatable shaft 62 is provided with a thread, a push plate 65 is sleeved on the outer peripheral side of the inflatable shaft 62, the rotating shaft 51 and the clamping rod one 431 are fixedly connected through the telescopic rod 53, the push plate 65 is fixedly sleeved on the telescopic rod 53 through a bearing, and the push plate 65 pushes the rotating shaft 51 to move axially along the telescopic rod 53.
In this embodiment, the implementation scenario specifically includes: firstly, the angle of the clamp 4 is adjusted according to the actual size and height of the workpiece 10, the crank 44 is rotated, the worm 441 drives the turbine 45 to rotate, so that the clamping plate 43 is driven to rotate, and the position of the tail end of the clamping plate 43 is adjusted;
the shell of the workpiece 10 is arranged on the workbench 2 through the clamp 4, the shell of the workpiece 10 is firstly placed on the workbench 2 in a horizontal state, the slide block 42 and the clamping plate 43 are driven by the screw rod driving part 41 to move oppositely to clamp the workpiece 10, then the lifting mechanism 11 drives the clamping head 13 to lift, and the charging pins 101 are pressed on the shell of the workpiece 10 on the workbench 2;
in the process that the clamp 4 clamps the workpiece (as shown in fig. 7), the second clamping rod 432 is extruded with the side wall of the workpiece 10, the second clamping rod 432 is stressed to drive the piston 63 to move towards the inside of the air expansion shaft 62, air inside the air expansion shaft 62 is compressed, air pressure is increased, the bulge of the air expansion key 621 is matched with the key groove 641 of the bevel gear 64, the motor 61 is started, the air expansion shaft 62 drives the bevel gear 64 to rotate, the rotating shaft 51 drives the grinding ball 52 to rotate under the matching of the bevel gear 64, and the surface of the air expansion key 621 is provided with threads, so that when the air expansion key 621 rotates along with the air expansion shaft 62, the push plate 65 is driven to move under the action of the threads, the bevel gear 64 is driven to move, the telescopic rod 53 is extended, the rotating grinding ball 52 is in contact with the side surface of the workpiece 10, and a spherical groove is ground;
after the processing is finished, the telescopic cylinder 21 is controlled to extend, the workbench 2 is driven to deflect under the action of the rocker arm 22, the clamp 4 is loosened, the assembled workpiece 10 slides down from the top of the workbench 2 and falls on the conveying device 3, and then the workpiece is conveyed to the next station by the conveying device 3, so that the function that the pressed charger is automatically taken out of the clamp 4 and falls on the conveying device 3 to be conveyed to the next station after the charger pressing of the equipment is finished is realized.
And finally: the above description is only for the purpose of illustrating the preferred embodiments of the present invention and is not to be construed as limiting the invention, and any modifications, equivalents, improvements and the like that are within the spirit and principle of the present invention are intended to be included in the scope of the present invention.
Claims (8)
1. The utility model provides an electronic product processing equipment, includes rigging equipment (1), rigging equipment (1) includes elevating system (11), dress chuck (13) are installed to the one end of elevating system (11), dress chuck (13) are with charging foot (101) pressure equipment to work piece (10) casing, base (14), its characterized in that are installed to the bottom of rigging equipment (1): workstation (2) are installed at the top of base (14), the both sides of workstation (2) all are equipped with telescopic cylinder (21), telescopic cylinder (21) flexible end articulates there is rocking arm (22), the one end that telescopic cylinder (21) were kept away from in rocking arm (22) is articulated with workstation (2), the top fixed mounting of base (14) has stopper (15), stopper (15) and the bottom butt of workstation (2), one side of base (14) is equipped with conveyor (3), telescopic cylinder (21) extension drive workstation (2) slope, work piece (10) on workstation (2) slide to conveyor (3) on, one side of workstation (2) is equipped with anchor clamps (4), anchor clamps (4) press from both sides tightly work piece (10) at workstation (2) top.
2. The electronic product processing apparatus of claim 1, wherein: anchor clamps (4) include lead screw drive part (41), sliding sleeve is equipped with two reverse motion's slider (42) on lead screw drive part (41), splint (43) are installed to the one end of slider (42), lead screw drive part (41) drive slider (42) and splint (43) move in opposite directions and press from both sides tight work piece (10).
3. The electronic product processing apparatus of claim 2, wherein: splint (43) are L shape structure, just slider (42) are articulated with splint (43), one side of slider (42) is equipped with crank (44), worm (441) are installed to one side of crank (44), worm (441) activity is located between slider (42) inner wall, fixed mounting has turbine (45) on the articulated shaft of splint (43) and slider (42), turbine (45) and worm (441) meshing.
4. The electronic product processing apparatus of claim 2, wherein: the clamping plate (43) comprises a first clamping rod (431) and a second clamping rod (432), the first clamping rod (431) and the second clamping rod (432) are connected through an elastic piece, a polishing mechanism (5) is arranged on one side of the first clamping rod (431), and a driving mechanism (6) for driving the polishing mechanism (5) to rotate and polish is arranged between the first clamping rod (431) and the second clamping rod (432).
5. The electronic product processing apparatus of claim 4, wherein: grinding machanism (5) are including pivot (51), pivot (51) are installed on clamping bar (431), fixed cover is equipped with grinding ball (52) on the shaft wall of pivot (51), grinding ball (52) rotation polishes the outer wall formation spherical groove (102) of work piece (10).
6. The electronic product processing apparatus of claim 5, wherein: the driving mechanism (6) comprises a motor (61), the motor (61) is installed on one side of the first clamping rod (431), an output shaft of the motor (61) is fixedly connected with an air expansion shaft (62), the air expansion shaft (62) is rotatably arranged on the inner side of the first clamping rod (431), a piston (63) is movably installed inside the air expansion shaft (62), and the end part, far away from the air expansion shaft (62), of the piston (63) is fixedly connected with the second clamping rod (432).
7. The electronic product processing apparatus of claim 6, wherein: the inflatable shaft is characterized in that a plurality of inflatable keys (621) are movably mounted on the outer peripheral side of the inflatable shaft (62), a bevel gear (64) is sleeved on the outer peripheral side of the inflatable shaft (62), a plurality of key slots (641) are formed in the inner side of the bevel gear (64), the inflatable keys (621) are matched with the key slots (641), and the bevel gear (64) is in transmission connection with the rotating shaft (51).
8. The electronic product processing apparatus of claim 7, wherein: the outer side of the inflatable shaft (62) is provided with threads, a push plate (65) is sleeved on the outer peripheral side of the inflatable shaft (62), the rotating shaft (51) is fixedly connected with the clamping rod I (431) through a telescopic rod (53), the push plate (65) is fixedly sleeved on the telescopic rod (53) through a bearing, and the push plate (65) pushes the rotating shaft (51) to axially move along the telescopic rod (53).
Priority Applications (1)
| Application Number | Priority Date | Filing Date | Title |
|---|---|---|---|
| CN202210568089.6A CN115027944A (en) | 2022-05-24 | 2022-05-24 | Electronic product processing equipment |
Applications Claiming Priority (1)
| Application Number | Priority Date | Filing Date | Title |
|---|---|---|---|
| CN202210568089.6A CN115027944A (en) | 2022-05-24 | 2022-05-24 | Electronic product processing equipment |
Publications (1)
| Publication Number | Publication Date |
|---|---|
| CN115027944A true CN115027944A (en) | 2022-09-09 |
Family
ID=83120537
Family Applications (1)
| Application Number | Title | Priority Date | Filing Date |
|---|---|---|---|
| CN202210568089.6A Withdrawn CN115027944A (en) | 2022-05-24 | 2022-05-24 | Electronic product processing equipment |
Country Status (1)
| Country | Link |
|---|---|
| CN (1) | CN115027944A (en) |
Cited By (1)
| Publication number | Priority date | Publication date | Assignee | Title |
|---|---|---|---|---|
| CN117021018A (en) * | 2023-07-20 | 2023-11-10 | 博世通(青岛)智能装备有限公司 | Six-face key assembly equipment and method |
-
2022
- 2022-05-24 CN CN202210568089.6A patent/CN115027944A/en not_active Withdrawn
Cited By (1)
| Publication number | Priority date | Publication date | Assignee | Title |
|---|---|---|---|---|
| CN117021018A (en) * | 2023-07-20 | 2023-11-10 | 博世通(青岛)智能装备有限公司 | Six-face key assembly equipment and method |
Similar Documents
| Publication | Publication Date | Title |
|---|---|---|
| CN116160363A (en) | Clamping device for bearing polishing | |
| CN115027944A (en) | Electronic product processing equipment | |
| CN213166028U (en) | Blank trimming device for ceramic processing | |
| CN214489926U (en) | Automatic grinding device of drum type inner wall | |
| CN113814831A (en) | Multi-functional grinding device of pig iron casting | |
| CN208961715U (en) | A kind of high-speed rail train C-shaped support casting grinding equipment | |
| CN112338708A (en) | System for automatically polishing and processing copper bar of new energy battery | |
| CN219379365U (en) | LOGO machine | |
| CN219293642U (en) | Outer burnishing machine of steel pipe surface treatment | |
| CN217394511U (en) | Grinding device is used in processing of pneumatic cylinder piston rod | |
| CN213290287U (en) | Disc-shaped workpiece discharging intelligent mechanical arm for machining | |
| CN110405578A (en) | Grinding device is used in a kind of processing of Computerized flat knitting machine accessory | |
| CN211193369U (en) | Machining is with two-way equipment of polishing | |
| CN211444321U (en) | Paper conveying device for folding machine | |
| CN222037845U (en) | Grinding device is used in cubical switchboard casing processing | |
| CN214817196U (en) | Part machining equipment based on mechanical design | |
| CN219837606U (en) | Polishing machine for machining mechanical parts | |
| CN217571787U (en) | Machine tool rotary workbench stable in operation | |
| CN223265412U (en) | A comprehensive precision polishing machine | |
| CN217776481U (en) | Automatic deburring equipment for coupling | |
| CN223160680U (en) | Exchange table type polisher | |
| CN218397559U (en) | Outer polishing mechanism for end socket of steel cylinder | |
| CN221248211U (en) | Grinding device is used in machining of machine parts | |
| CN219853988U (en) | Grinding rod clamping device | |
| CN217255076U (en) | Tire mould antifriction board terminal surface grinding device |
Legal Events
| Date | Code | Title | Description |
|---|---|---|---|
| PB01 | Publication | ||
| PB01 | Publication | ||
| SE01 | Entry into force of request for substantive examination | ||
| SE01 | Entry into force of request for substantive examination | ||
| WW01 | Invention patent application withdrawn after publication | ||
| WW01 | Invention patent application withdrawn after publication |
Application publication date: 20220909 |