CN115026178A - Stamping die subassembly to semi-circular panel beating goods - Google Patents

Stamping die subassembly to semi-circular panel beating goods Download PDF

Info

Publication number
CN115026178A
CN115026178A CN202210862472.2A CN202210862472A CN115026178A CN 115026178 A CN115026178 A CN 115026178A CN 202210862472 A CN202210862472 A CN 202210862472A CN 115026178 A CN115026178 A CN 115026178A
Authority
CN
China
Prior art keywords
fixed
base
die
assembly
transmission
Prior art date
Legal status (The legal status is an assumption and is not a legal conclusion. Google has not performed a legal analysis and makes no representation as to the accuracy of the status listed.)
Pending
Application number
CN202210862472.2A
Other languages
Chinese (zh)
Inventor
王由发
Current Assignee (The listed assignees may be inaccurate. Google has not performed a legal analysis and makes no representation or warranty as to the accuracy of the list.)
Jiangsu Minghan Intelligent Technology Co ltd
Original Assignee
Jiangsu Minghan Intelligent Technology Co ltd
Priority date (The priority date is an assumption and is not a legal conclusion. Google has not performed a legal analysis and makes no representation as to the accuracy of the date listed.)
Filing date
Publication date
Application filed by Jiangsu Minghan Intelligent Technology Co ltd filed Critical Jiangsu Minghan Intelligent Technology Co ltd
Priority to CN202210862472.2A priority Critical patent/CN115026178A/en
Publication of CN115026178A publication Critical patent/CN115026178A/en
Pending legal-status Critical Current

Links

Images

Classifications

    • BPERFORMING OPERATIONS; TRANSPORTING
    • B21MECHANICAL METAL-WORKING WITHOUT ESSENTIALLY REMOVING MATERIAL; PUNCHING METAL
    • B21DWORKING OR PROCESSING OF SHEET METAL OR METAL TUBES, RODS OR PROFILES WITHOUT ESSENTIALLY REMOVING MATERIAL; PUNCHING METAL
    • B21D37/00Tools as parts of machines covered by this subclass
    • B21D37/10Die sets; Pillar guides
    • BPERFORMING OPERATIONS; TRANSPORTING
    • B21MECHANICAL METAL-WORKING WITHOUT ESSENTIALLY REMOVING MATERIAL; PUNCHING METAL
    • B21DWORKING OR PROCESSING OF SHEET METAL OR METAL TUBES, RODS OR PROFILES WITHOUT ESSENTIALLY REMOVING MATERIAL; PUNCHING METAL
    • B21D22/00Shaping without cutting, by stamping, spinning, or deep-drawing
    • B21D22/02Stamping using rigid devices or tools
    • BPERFORMING OPERATIONS; TRANSPORTING
    • B21MECHANICAL METAL-WORKING WITHOUT ESSENTIALLY REMOVING MATERIAL; PUNCHING METAL
    • B21DWORKING OR PROCESSING OF SHEET METAL OR METAL TUBES, RODS OR PROFILES WITHOUT ESSENTIALLY REMOVING MATERIAL; PUNCHING METAL
    • B21D43/00Feeding, positioning or storing devices combined with, or arranged in, or specially adapted for use in connection with, apparatus for working or processing sheet metal, metal tubes or metal profiles; Associations therewith of cutting devices
    • B21D43/02Advancing work in relation to the stroke of the die or tool
    • B21D43/04Advancing work in relation to the stroke of the die or tool by means in mechanical engagement with the work
    • BPERFORMING OPERATIONS; TRANSPORTING
    • B21MECHANICAL METAL-WORKING WITHOUT ESSENTIALLY REMOVING MATERIAL; PUNCHING METAL
    • B21DWORKING OR PROCESSING OF SHEET METAL OR METAL TUBES, RODS OR PROFILES WITHOUT ESSENTIALLY REMOVING MATERIAL; PUNCHING METAL
    • B21D43/00Feeding, positioning or storing devices combined with, or arranged in, or specially adapted for use in connection with, apparatus for working or processing sheet metal, metal tubes or metal profiles; Associations therewith of cutting devices
    • B21D43/20Storage arrangements; Piling or unpiling
    • BPERFORMING OPERATIONS; TRANSPORTING
    • B21MECHANICAL METAL-WORKING WITHOUT ESSENTIALLY REMOVING MATERIAL; PUNCHING METAL
    • B21DWORKING OR PROCESSING OF SHEET METAL OR METAL TUBES, RODS OR PROFILES WITHOUT ESSENTIALLY REMOVING MATERIAL; PUNCHING METAL
    • B21D45/00Ejecting or stripping-off devices arranged in machines or tools dealt with in this subclass

Landscapes

  • Engineering & Computer Science (AREA)
  • Mechanical Engineering (AREA)
  • Press Drives And Press Lines (AREA)

Abstract

本发明公开了一种针对半圆形钣金制品的冲压模具组件,涉及钣金制品加工技术领域。本发明包括基座;基座的上方从下至上并排设置有下模座和上模座;下模座包括一对对称设置的支模体;两支模体之间可形成呈半圆形结构的模腔;两支模体均装设于一承载组件上;上模座的下部具有与模腔相配套的冲压头;上模座装设于一升降组件上;升降组件与承载组件均装设于基座的上表面上;基座的上表面放置有上部为敞口结构的接料箱;接料箱设置于下模座的下方;接料箱的一侧装设有供料组件;供料组件的上方装设有推料组件。本发明不仅结构设计合理、使用便捷,而且有效地提高了对半圆形钣金制品的加工效率。

Figure 202210862472

The invention discloses a stamping die assembly for semicircular sheet metal products, and relates to the technical field of sheet metal product processing. The invention includes a base; a lower die base and an upper die base are arranged side by side from bottom to top above the base; the lower die base comprises a pair of symmetrically arranged support mold bodies; a semicircular structure can be formed between the two support mold bodies The two mold bodies are installed on a bearing component; the lower part of the upper die base has a punching head matched with the die cavity; the upper die base is installed on a lifting component; the lifting component and the bearing component are installed It is arranged on the upper surface of the base; the upper surface of the base is placed with a material receiving box whose upper part is an open structure; the material receiving box is arranged below the lower die base; A pusher assembly is installed above the feeder assembly. The invention not only has reasonable structural design and convenient use, but also effectively improves the processing efficiency of semicircular sheet metal products.

Figure 202210862472

Description

Stamping die subassembly to semi-circular panel beating goods
Technical Field
The invention belongs to the technical field of sheet metal product processing, and particularly relates to a stamping die assembly for a semicircular sheet metal product.
Background
In many products, it is desirable to use sheet metal products that are semi-circular in configuration. When such a semicircular sheet metal product is manufactured, it is conventionally generally processed by stamping. In the prior art, a stamping die assembly for a semicircular sheet metal product generally needs to manually place a piece to be stamped between an upper die base and a lower die base and manually take down the piece to be stamped, so that the production efficiency is low. Therefore, a stamping die assembly for a semicircular sheet metal product is needed to solve the above problems.
Disclosure of Invention
The invention aims to provide a stamping die component for a semicircular sheet metal product, and aims to solve the technical problems in the background technology.
In order to solve the technical problems, the invention is realized by the following technical scheme:
the invention relates to a stamping die component for a semicircular sheet metal product, which comprises a base; a lower die base and an upper die base are arranged above the base side by side from bottom to top; the lower die base comprises a pair of symmetrically arranged die supporting bodies; a semi-circular mold cavity can be formed between the two mold supporting bodies; the two supporting mold bodies are arranged on a bearing component; the two supporting die bodies can move oppositely or oppositely on the bearing assembly; the lower part of the upper die holder is provided with a stamping head matched with the die cavity; the upper die base is arranged on a lifting component; the lifting component and the bearing component are both arranged on the upper surface of the base; a material receiving box with an open structure at the upper part is arranged on the upper surface of the base; the material receiving box is arranged below the lower die base; one side of the material receiving box is provided with a material supply assembly; and a pushing assembly used for pushing a single piece to be pressed on the feeding assembly to the lower die seat is arranged above the feeding assembly.
As a preferred technical scheme of the invention, the bearing assembly comprises a pair of first mounting plates which are respectively and vertically fixed on the opposite outer side surfaces of the two die bodies; a pair of directional sleeves are fixed on the lower edge of the first mounting plate side by side; a first guide rod is inserted in the directional sleeve in a sliding manner; the length direction of the first guide rod is parallel to the movement direction of the supporting die body; two ends of two first guide rods on the first mounting plate are respectively connected through a pair of bearing strips arranged side by side; the bearing strip is fixed on the upper surface of the base through the first supporting frame.
As a preferred technical scheme of the invention, the lifting assembly comprises a pair of second supporting frames which are vertically fixed on the opposite outer sides of the two die bodies side by side; the upper parts of the two second supporting frames are connected through a second mounting plate which is horizontally arranged; a hydraulic cylinder is vertically fixed on the second mounting plate; the output end of the hydraulic cylinder penetrates and extends to the lower part of the second mounting plate, and a driving plate is horizontally fixed on the output end of the hydraulic cylinder; the lower surface of the driving plate is connected with the upper part of the upper die holder.
As a preferred technical scheme of the invention, the lifting assembly is connected with the lower die holder through a transmission assembly; the transmission assembly comprises a pair of first U-shaped blocks which are respectively fixed on the opposite outer side surfaces of the two die bodies; the inner side of the first U-shaped block is rotatably connected with a first transmission rod; the other end of the first transmission rod is rotatably connected with a second U-shaped block; a second transmission rod which is horizontally arranged is vertically fixed in the middle of the second U-shaped block; a sliding block is fixed at one end of the second transmission rod; a second guide rod which is vertically arranged is slidably inserted on the sliding block; the upper end of the second guide rod is fixed on the lower surface of the second mounting plate; a lifting bar having a reverse-L-shaped structure is disposed at one side of the second guide bar; the horizontal section of the lifting bar is slidably sleeved on the second guide rod, and the horizontal section of the lifting bar is fixed on the driving plate; a positioning groove corresponding to the second transmission rod is formed in the vertical section of the lifting strip; the second transmission rod is inserted into the positioning groove in a sliding mode; the horizontal section of the lifting bar is connected with the sliding block through a first spring; the first spring is sleeved on the second guide rod.
As a preferred technical scheme of the invention, the feeding assembly comprises a feeding box with an open structure at the upper part; a plurality of pieces to be pressed can be stacked side by side in the feeding box; two opposite side walls of the feeding box are provided with gap structures; the feeding box is fixed on the upper surface of the base through a pair of third supporting frames arranged side by side; a first driving motor is vertically fixed on one side wall of the feeding box; a first belt wheel is horizontally fixed on an output shaft of the first driving motor; second belt wheels are horizontally arranged on two opposite sides of the first belt wheel; the two second belt wheels are in transmission connection with the first belt wheel through a synchronous belt; the two second belt wheels are respectively and fixedly sleeved on a pair of vertically arranged transmission screw rods; the two transmission screw rods are respectively vertically arranged on two opposite sides of the feeding box; the lower end of the transmission screw rod is rotatably connected to the upper surface of the base; a transmission screw nut is sleeved on the transmission screw rod; a lifting plate for lifting the part to be pressed in the feeding box is arranged between the two transmission nuts; the board level of lifting sets up in the feed tank, just the both ends of the board of lifting slide respectively and pass two breach structures of feed tank and be fixed in respectively on two transmission screws.
As a preferred technical scheme of the invention, the material pushing assembly comprises a second driving motor which is vertically fixed on one side wall of the material supply box; a first bevel gear is horizontally fixed on an output shaft of the second driving motor; a second bevel gear is meshed with the first bevel gear; the second bevel gear is fixed on one end of a cylindrical cam which is horizontally arranged; one end of the cylindrical cam is rotatably connected to the upper end of a third mounting plate which is vertically arranged; the lower end of the third mounting plate is fixed on one side wall of the feeding box; a vertically arranged movable column is inserted in the working groove of the cylindrical cam in a sliding manner; a driving block is fixed at the lower end of the movable column; a third guide rod which is horizontally arranged is inserted on the driving block in a sliding manner; one end of the third guide rod is vertically fixed on one side surface of the third mounting plate; the third guide rod is sleeved with a second spring; two ends of the second spring are respectively connected to the driving block and the third mounting plate; the driving block is fixed on one edge of a horizontally arranged pushing frame; the material pushing frame is arranged above the material feeding box.
The invention has the following beneficial effects:
according to the invention, a single piece to be pressed on the feeding assembly is pushed to the upper part of the die cavity of the lower die base through the pushing assembly, the upper die base is driven to move downwards by the lifting assembly, so that the single piece to be pressed is pressed, and after the pressing is finished, the two die supporting bodies are separated to enable the semicircular sheet metal product in the die cavity to fall into the material receiving box, so that the mechanical placement of the piece to be pressed between the upper die base and the lower die base is realized, and the semicircular sheet metal product is automatically separated from the lower die base, therefore, the processing efficiency of the semicircular sheet metal product is effectively improved, and the semi-circular sheet metal product has higher market application value.
Of course, it is not necessary for any product to practice the invention to achieve all of the above-described advantages at the same time.
Drawings
In order to more clearly illustrate the technical solutions of the embodiments of the present invention, the drawings used in the description of the embodiments will be briefly introduced below, and it is obvious that the drawings in the following description are only some embodiments of the present invention, and it is obvious for those skilled in the art that other drawings can be obtained according to the drawings without creative efforts.
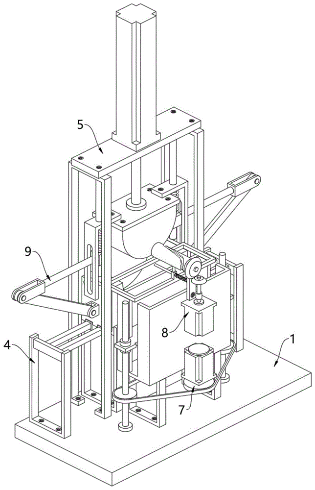
Fig. 1 is a schematic structural diagram of a stamping die assembly for a semicircular sheet metal product according to the present invention.
Fig. 2 is a schematic structural diagram of the connection among the lower die holder, the upper die holder, the bearing assembly and the lifting assembly.
FIG. 3 is a schematic structural view of the connection between the lower die base and the carrier assembly of the present invention.
Fig. 4 is a schematic structural view of the connection between the upper die holder and the lifting assembly of the present invention.
Fig. 5 is a front view of the structure of fig. 4.
Fig. 6 is a schematic structural view of the connection between the feeding assembly and the pushing assembly according to the present invention.
Fig. 7 is a side view of the structure of fig. 6.
Fig. 8 is a schematic structural diagram of the pusher assembly of the present invention.
In the drawings, the components represented by the respective reference numerals are listed below:
1-a base, 2-a lower die holder, 3-an upper die holder, 4-a bearing assembly, 5-a lifting assembly, 6-a material receiving box, 7-a feeding assembly, 8-a material pushing assembly, 9-a transmission assembly, 201-a die body, 401-a first mounting plate, 402-a directional sleeve, 403-a first guide rod, 404-a bearing strip, 405-a first support frame, 501-a second support frame, 502-a second mounting plate, 503-a hydraulic cylinder, 504-a driving plate, 701-a feeding box, 702-a third support frame, 703-a first driving motor, 704-a first belt wheel, 705-a second belt wheel, 706-a transmission screw rod, 707-a lifting plate, 801-a second driving motor, 802-a first bevel gear and 803-a second bevel gear, 804-cylindrical cam, 805-third mounting plate, 806-movable column, 807-third guide rod, 808-second spring, 809-material pushing frame, 901-first U-shaped block, 902-first transmission rod, 903-second U-shaped block, 904-second transmission rod, 905-sliding block, 906-second guide rod, 907-lifting bar, 908-first spring and 9071-positioning groove.
Detailed Description
The technical solutions in the embodiments of the present invention will be clearly and completely described below with reference to the drawings in the embodiments of the present invention, and it is obvious that the described embodiments are only a part of the embodiments of the present invention, and not all of the embodiments. All other embodiments, which can be derived by a person skilled in the art from the embodiments given herein without making any creative effort, shall fall within the protection scope of the present invention.
The first embodiment is as follows:
referring to fig. 1, the present invention is a stamping die assembly for a semicircular sheet metal product, including a base 1; a lower die holder 2 and an upper die holder 3 are arranged above the base 1 side by side from bottom to top; the lower die holder 2 comprises a pair of symmetrically arranged supporting die bodies 201; a semi-circular mold cavity can be formed between the two mold bodies 201; two mold bodies 201 are both arranged on a bearing component 4; the two mold bodies 201 can move oppositely or oppositely on the bearing component 4; the lower part of the upper die holder 3 is provided with a stamping head matched with the die cavity; the upper die base 3 is arranged on a lifting component 5; the lifting component 5 and the bearing component 4 are both arranged on the upper surface of the base 1; a material receiving box 6 with an open structure at the upper part is arranged on the upper surface of the base 1; the material receiving box 6 is arranged below the lower die base 2; one side of the material receiving box 6 is provided with a material supply component 7; and a pushing assembly 8 for pushing the single piece to be pressed on the feeding assembly 7 to the lower die seat 2 is arranged above the feeding assembly 7. During the use, the pushing assembly 8 pushes a single piece to be pressed on the feeding assembly 7 to the upper side of the die cavity of the lower die holder 2, the lifting assembly 5 is utilized to drive the upper die holder 3 to move downwards, so that the single piece to be pressed is punched, and after the punching is finished, the two die bodies 201 are separated to enable the semicircular sheet metal product in the die cavity to fall into the material receiving box 6, so that the mechanical placement of the piece to be pressed between the upper die holder 3 and the lower die holder 2 is realized, the semicircular sheet metal product is automatically separated from the lower die holder 2, and the processing efficiency of the semicircular sheet metal product is effectively improved.
The second embodiment is as follows:
on the basis of the first embodiment, the present embodiment is different in that:
as shown in fig. 2-3, the supporting member 4 includes a pair of first mounting plates 401 vertically fixed to opposite outer sides of the two mold bodies 201; a pair of orientation sleeves 402 are fixed on the lower edge of the first mounting plate 401 side by side; a first guide rod 403 is inserted in the orientation sleeve 402 in a sliding way; the length direction of the first guide rod 403 is parallel to the movement direction of the formwork body 201; two ends of two first guide rods 403 on the first mounting plate 401 are respectively connected through a pair of carrying bars 404 arranged side by side; the carrier bar 404 is fixed to the upper surface of the base 1 by a first support frame 405.
As shown in fig. 2 and 4-5, the lifting assembly 5 includes a pair of second supporting frames 501 vertically fixed side by side on opposite outer sides of the two mold bodies 201; the upper parts of the two second supporting frames 501 are connected through a second mounting plate 502 which is horizontally arranged; a conventional hydraulic cylinder 503 in the field is vertically fixed on the second mounting plate 502; the output end of the hydraulic cylinder 503 extends to the lower part of the second mounting plate 502 in a penetrating way and is horizontally fixed with a driving plate 504; the lower surface of the driving plate 504 is connected to the upper portion of the upper die base 3.
As shown in fig. 4-5, the lifting assembly 5 is connected with the lower die holder 2 through a transmission assembly 9; the transmission assembly 9 comprises a pair of first U-shaped blocks 901 fixed to the opposite outer side surfaces of the two mold bodies 201; a first transmission rod 902 is rotatably connected to the inner side of the first U-shaped block 901; the other end of the first transmission rod 902 is rotatably connected with a second U-shaped block 903; a horizontally arranged second transmission rod 904 is vertically fixed in the middle of the second U-shaped block 903; the second transmission rod 904 is arranged between the two second U-shaped blocks 903; a slide block 905 is fixed at one end of the second transmission rod 904; a second guide rod 906 which is vertically arranged is slidably inserted on the sliding block 905; the upper end of the second guide bar 906 is fixed to the lower surface of the second mounting plate 502; a lifting bar 907 having a reverse-l-shaped structure is provided at one side of the second guide bar 906; the horizontal section of the lifting bar 907 is slidably sleeved on the second guide rod 906, and the horizontal section of the lifting bar 907 is fixed on the driving plate 504; a positioning groove 9071 corresponding to the second transmission rod 904 is formed in the vertical section of the lifting bar 907; the second transmission rod 904 is inserted into the positioning groove 9071 in a sliding mode; the horizontal section of the lifting bar 907 is connected with the sliding block 905 through a first spring 908; the first spring 908 is disposed on the second guiding rod 906. When the upper die holder 3 is driven to the uppermost end of the movement stroke by the lifting assembly 5, the distance between the two die bodies 201 is the largest (the distance can meet the requirement that a semicircular sheet metal product falls into the material receiving box 6 from the die cavity), and at the moment, the second transmission rod 904 abuts against the lower end of the positioning groove 9071; when the upper die holder 3 moves downwards, the two die bodies 201 are driven to move relatively by the first spring 908, the sliding block 905, the second transmission rod 904, the second U-shaped block 903, the first transmission rod 902 and the first U-shaped block 901, so that the two die bodies 201 are merged to form a die cavity; due to the arrangement of the first spring 908, the upper die holder 3 can press the piece to be pressed to move downwards continuously, so that the piece to be pressed can be pressed; after the pressing piece is pressed, the upper die base 3 moves upwards, and when the second transmission rod 904 abuts against the lower end of the positioning groove 9071, the lifting strip 907 drives the second transmission rod 904 to move upwards, and then the two die bodies 201 are driven to move back to back through the second U-shaped block 903, the first transmission rod 902 and the first U-shaped block 901, so that the two die bodies 201 are separated, and the semicircular metal plate product between the two die bodies 201 is discharged into the material receiving box 6.
The third concrete example:
on the basis of the second embodiment, the present embodiment is different in that:
as shown in fig. 6 to 7, the supply assembly 7 includes a supply tank 701 having an open upper portion; a plurality of pieces to be pressed can be stacked side by side in the feeding box 701; two opposite side walls of the feeding box 701 are provided with gap structures; the supply tank 701 is fixed to the upper surface of the base 1 by a pair of third support frames 702 arranged side by side; a first driving motor 703 is vertically fixed on one side wall of the feeding tank 701; a first pulley 704 is horizontally fixed to an output shaft of the first driving motor 703; the opposite two sides of the first belt pulley 704 are horizontally provided with second belt pulleys 705; the two second belt wheels 705 are connected with the first belt wheel 704 through a synchronous belt; the two second belt wheels 705 are fixedly sleeved on a pair of vertically arranged transmission screw rods 706 respectively; the two transmission screw rods 706 are respectively vertically arranged on two opposite sides of the feeding box 701; the lower end of the transmission screw rod 706 is rotatably connected to the upper surface of the base 1; a transmission screw nut is sleeved on the transmission screw rod 706; a lifting plate 707 for lifting the part to be pressed in the feeding box 701 is arranged between the two transmission nuts; the lifting plate 707 is horizontally disposed in the feeding box 701, and two ends of the lifting plate 707 respectively slide through the two notch structures of the feeding box 701 and are respectively fixed to the two driving screws. When the pressure-applying device is used, the lifting plate 707 is driven by the first driving motor 703 through the first belt pulley 704, the second belt pulley 705, the transmission screw 706 and the transmission screw nut to move up and down in the feeding box 701, so that a single piece to be pressed can be lifted out of the open structure of the feeding box 701.
As shown in fig. 7 to 8, the pushing assembly 8 includes a second driving motor 801 vertically fixed on a side wall of the supply tank 701; a first bevel gear 802 is horizontally fixed on an output shaft of the second driving motor 801; a second bevel gear 803 is meshed with the first bevel gear 802; the second bevel gear 803 is fixed to one end of a horizontally disposed cylindrical cam 804; one end of the cylindrical cam 804 is rotatably connected to the upper end of a third mounting plate 805 which is vertically arranged; the lower end of the third mounting plate 805 is fixed to a side wall of the supply tank 701; a vertically arranged movable column 806 is inserted in the working groove of the cylindrical cam 804 in a sliding manner; a driving block is fixed at the lower end of the movable column 806; a horizontally arranged third guide rod 807 is inserted on the driving block in a sliding way; one end of the third guide bar 807 is vertically fixed to one side surface of the third mounting plate 805; the third guide rod 807 is sleeved with a second spring 808; two ends of the second spring 808 are respectively connected to the driving block and the third mounting plate 805; the driving block is fixed on one edge of a horizontally arranged material pushing frame 809; the material pushing frame 809 is disposed above the material supply tank 701. When the material pushing frame 809 is located right above the open structure of the material feeding box 701, a single piece to be pressed is lifted out of the open structure of the material feeding box 701 by the lifting plate 707 and is prompted to be located on the inner side of the material pushing frame 809, and then the second driving motor 801 drives the cylindrical cam 804 to rotate through the first bevel gear 802 and the second bevel gear 803, so that the movable column 806 is prompted to drive the material pushing frame 809 to move, and the material pushing frame 809 is prompted to drive the pressing piece to move from the open structure of the material feeding box 701 to the lower die base 2, thereby realizing the mechanized transportation of the pressing piece.
The preferred embodiments of the invention disclosed above are intended to be illustrative only. The preferred embodiments are not intended to be exhaustive or to limit the invention to the precise embodiments disclosed. Obviously, many modifications and variations are possible in light of the above teaching. The embodiments were chosen and described in order to best explain the principles of the invention and the practical application, to thereby enable others skilled in the art to best utilize the invention. The invention is limited only by the claims and their full scope and equivalents.

Claims (6)

1. A stamping die assembly for a semicircular sheet metal product comprises a base (1); a lower die base (2) and an upper die base (3) are arranged above the base (1) side by side from bottom to top; the method is characterized in that:
the lower die base (2) comprises a pair of symmetrically arranged die supporting bodies (201); a semi-circular mold cavity can be formed between the two mold supporting bodies (201); the two supporting mold bodies (201) are arranged on a bearing component (4); the two supporting die bodies (201) can move oppositely or oppositely on the bearing component (4);
the lower part of the upper die holder (3) is provided with a stamping head matched with the die cavity; the upper die base (3) is arranged on a lifting component (5); the lifting component (5) and the bearing component (4) are both arranged on the upper surface of the base (1);
a material receiving box (6) with an open structure at the upper part is arranged on the upper surface of the base (1); the material receiving box (6) is arranged below the lower die base (2); a feeding assembly (7) is arranged on one side of the material receiving box (6); and a pushing assembly (8) used for pushing a single piece to be pressed on the feeding assembly (7) to the lower die seat (2) is arranged above the feeding assembly (7).
2. The stamping die assembly for the semicircular sheet metal products as claimed in claim 1, wherein the bearing assembly (4) comprises a pair of first mounting plates (401) vertically fixed on opposite outer side surfaces of the two die bodies (201) respectively; a pair of orientation sleeves (402) are fixed on the lower edge of the first mounting plate (401) side by side; a first guide rod (403) is inserted in the orientation sleeve (402) in a sliding way; the length direction of the first guide rod (403) is parallel to the movement direction of the supporting die body (201); two ends of two first guide rods (403) on the first mounting plate (401) are respectively connected through a pair of side-by-side bearing strips (404); the carrying strip (404) is fixed on the upper surface of the base (1) through a first supporting frame (405).
3. A stamping die assembly for semicircular sheet metal products according to claim 1 or 2, characterized in that the lifting assembly (5) comprises a pair of second supporting frames (501) vertically fixed side by side on opposite outer sides of the two die bodies (201); the upper parts of the two second supporting frames (501) are connected through a second mounting plate (502) which is horizontally arranged; a hydraulic cylinder (503) is vertically fixed on the second mounting plate (502); the output end of the hydraulic cylinder (503) extends to the lower part of the second mounting plate (502) in a penetrating way and is horizontally fixed with a driving plate (504); the lower surface of the driving plate (504) is connected with the upper part of the upper die holder (3).
4. The stamping die component for the semicircular sheet metal products as claimed in claim 3, wherein the lifting component (5) is connected with the lower die holder (2) through a transmission component (9); the transmission assembly (9) comprises a pair of first U-shaped blocks (901) which are respectively fixed on the opposite outer side surfaces of the two die bodies (201); the inner side of the first U-shaped block (901) is rotatably connected with a first transmission rod (902); the other end of the first transmission rod (902) is rotatably connected with a second U-shaped block (903); a second transmission rod (904) which is horizontally arranged is vertically fixed in the middle of the second U-shaped block (903); a sliding block (905) is fixed at one end of the second transmission rod (904); a second guide rod (906) which is vertically arranged is slidably inserted in the sliding block (905); the upper end of the second guide rod (906) is fixed on the lower surface of the second mounting plate (502); a lifting bar 907 having a reverse-type structure is provided at one side of the second guide bar 906; the horizontal section of the lifting bar (907) is slidably sleeved on the second guide rod (906), and the horizontal section of the lifting bar (907) is fixed on the driving plate (504); a positioning groove (9071) corresponding to the second transmission rod (904) is formed in the vertical section of the lifting bar (907); the second transmission rod (904) is inserted into the positioning groove (9071) in a sliding mode; the horizontal section of the lifting bar (907) is connected with the sliding block (905) through a first spring (908); the first spring (908) is sleeved on the second guide rod (906).
5. A stamping die assembly for semi-circular sheet metal products according to claim 4, characterized in that the feed assembly (7) comprises a feed box (701) with an open top; a plurality of pieces to be pressed can be stacked side by side in the feeding box (701); two opposite side walls of the feeding box (701) are provided with gap structures; the feeding box (701) is fixed on the upper surface of the base (1) through a pair of third supporting frames (702) arranged side by side; a first driving motor (703) is vertically fixed on one side wall of the feeding box (701); a first belt wheel (704) is horizontally fixed on an output shaft of the first driving motor (703); two opposite sides of the first belt wheel (704) are horizontally provided with second belt wheels (705); the two second belt wheels (705) are in transmission connection with the first belt wheel (704) through a synchronous belt; the two second belt wheels (705) are fixedly sleeved on a pair of vertically arranged transmission screw rods (706) respectively; the two transmission screw rods (706) are respectively and vertically arranged on two opposite sides of the feeding box (701); the lower end of the transmission screw rod (706) is rotatably connected to the upper surface of the base (1); a transmission screw nut is sleeved on the transmission screw rod (706); a lifting plate (707) for lifting the part to be pressed in the feeding box (701) is arranged between the two transmission nuts; lift board (707) level sets up in feed tank (701), just the both ends of lifting board (707) slide respectively and pass two breach structures of feed tank (701) and are fixed in respectively on two transmission screws.
6. A stamping die assembly for semicircular sheet metal products according to claim 5, characterized in that the pushing assembly (8) comprises a second driving motor (801) fixed vertically on a side wall of the supply tank (701); a first bevel gear (802) is horizontally fixed on an output shaft of the second driving motor (801); a second bevel gear (803) is meshed with the first bevel gear (802); the second bevel gear (803) is fixed on one end of a cylindrical cam (804) which is horizontally arranged; one end of the cylindrical cam (804) is rotatably connected to the upper end of a third mounting plate (805) which is vertically arranged; the lower end of the third mounting plate (805) is fixed on one side wall of the feeding tank (701); a movable column (806) which is vertically arranged is inserted in the working groove of the cylindrical cam (804) in a sliding manner; a driving block is fixed at the lower end of the movable column (806); a third guide rod (807) which is horizontally arranged is inserted on the driving block in a sliding way; one end of the third guide rod (807) is vertically fixed on one side surface of the third mounting plate (805); the third guide rod (807) is sleeved with a second spring (808); two ends of the second spring (808) are respectively connected to the driving block and the third mounting plate (805); the driving block is fixed on one edge of a horizontally arranged material pushing frame (809); the material pushing frame (809) is arranged above the material supply box (701).
CN202210862472.2A 2022-07-21 2022-07-21 Stamping die subassembly to semi-circular panel beating goods Pending CN115026178A (en)

Priority Applications (1)

Application Number Priority Date Filing Date Title
CN202210862472.2A CN115026178A (en) 2022-07-21 2022-07-21 Stamping die subassembly to semi-circular panel beating goods

Applications Claiming Priority (1)

Application Number Priority Date Filing Date Title
CN202210862472.2A CN115026178A (en) 2022-07-21 2022-07-21 Stamping die subassembly to semi-circular panel beating goods

Publications (1)

Publication Number Publication Date
CN115026178A true CN115026178A (en) 2022-09-09

Family

ID=83130878

Family Applications (1)

Application Number Title Priority Date Filing Date
CN202210862472.2A Pending CN115026178A (en) 2022-07-21 2022-07-21 Stamping die subassembly to semi-circular panel beating goods

Country Status (1)

Country Link
CN (1) CN115026178A (en)

Cited By (3)

* Cited by examiner, † Cited by third party
Publication number Priority date Publication date Assignee Title
CN115318917A (en) * 2022-09-14 2022-11-11 东莞市曼科五金制品有限公司 Metal product stamping die and metal product formed by stamping and molding same
CN116278126A (en) * 2023-04-14 2023-06-23 江西德乐智能科技有限公司 A compressed particle 3D device
CN120515855A (en) * 2025-07-24 2025-08-22 江苏丰源船舶工程有限公司 A kind of equipment for producing and shaping U-shaped clamps

Citations (5)

* Cited by examiner, † Cited by third party
Publication number Priority date Publication date Assignee Title
CN108655243A (en) * 2016-03-21 2018-10-16 钱培玉 Punching machine
CN209238737U (en) * 2018-12-24 2019-08-13 河南华通铝业有限公司 A kind of aluminium sheet pressuring flat device
CN111360160A (en) * 2020-03-20 2020-07-03 合肥正特机械有限公司 Stamping die for hoop forming
CN113118278A (en) * 2021-03-11 2021-07-16 合肥正特机械有限公司 Stamping device for hoop forming
CN216065196U (en) * 2021-09-30 2022-03-18 重庆协成五金制造有限公司 Stamping die for sheet metal part of seat back plate

Patent Citations (5)

* Cited by examiner, † Cited by third party
Publication number Priority date Publication date Assignee Title
CN108655243A (en) * 2016-03-21 2018-10-16 钱培玉 Punching machine
CN209238737U (en) * 2018-12-24 2019-08-13 河南华通铝业有限公司 A kind of aluminium sheet pressuring flat device
CN111360160A (en) * 2020-03-20 2020-07-03 合肥正特机械有限公司 Stamping die for hoop forming
CN113118278A (en) * 2021-03-11 2021-07-16 合肥正特机械有限公司 Stamping device for hoop forming
CN216065196U (en) * 2021-09-30 2022-03-18 重庆协成五金制造有限公司 Stamping die for sheet metal part of seat back plate

Cited By (6)

* Cited by examiner, † Cited by third party
Publication number Priority date Publication date Assignee Title
CN115318917A (en) * 2022-09-14 2022-11-11 东莞市曼科五金制品有限公司 Metal product stamping die and metal product formed by stamping and molding same
CN115318917B (en) * 2022-09-14 2024-09-13 东莞市曼科五金制品有限公司 Metal product stamping die and metal product formed by stamping by die
CN116278126A (en) * 2023-04-14 2023-06-23 江西德乐智能科技有限公司 A compressed particle 3D device
CN116278126B (en) * 2023-04-14 2025-12-02 江西德乐智能科技有限公司 A compressed particle 3D device
CN120515855A (en) * 2025-07-24 2025-08-22 江苏丰源船舶工程有限公司 A kind of equipment for producing and shaping U-shaped clamps
CN120515855B (en) * 2025-07-24 2025-09-16 江苏丰源船舶工程有限公司 A kind of equipment for producing and shaping U-shaped clamps

Similar Documents

Publication Publication Date Title
CN115026178A (en) Stamping die subassembly to semi-circular panel beating goods
CN221935114U (en) Cabinet panel stamping forming device
CN115106427A (en) A stamping die for metal workpiece processing and stamping method
CN104923662B (en) Die for forming barb type side bending
CN112893681B (en) Automobile buckle stamping device
KR101096674B1 (en) Mold assembly for press and strip bending method using the same
CN107718158B (en) Full-automatic material stamping device that moves
CN215199295U (en) Processing die for contact elastic sheet adopting continuous stamping
CN106182166B (en) Decorative strip punching equipment
CN218692920U (en) Metal backboard multi-station punching machine for switch socket
CN216606843U (en) Copper sheet forming device
CN214161004U (en) LCD screen frame anchor clamps of bending
CN210966653U (en) Assembling die for hardware processing
CN109436687B (en) Double-bridge rice cake machine transmission mechanism
CN222625894U (en) Hot stamping forming equipment for galvanized steel sheet
CN222805981U (en) A punching machine for automatically loading and unloading hardware
CN220659026U (en) Stamping blanking device for metal products
CN210652478U (en) Novel alloy chopstick embossing equipment
CN216175679U (en) Uninterrupted metal forming and pressing press
CN213104193U (en) Hardware stamping die's liftout mechanism
CN218079972U (en) Forming die for stamping washing machine shell
CN219851617U (en) Gasket stamping mechanism
CN217617171U (en) Stamping die convenient for blanking
CN116116964B (en) A corner arm seat bending progressive forming device
CN214023050U (en) Adjustable mould structure of cavity degree of depth

Legal Events

Date Code Title Description
PB01 Publication
PB01 Publication
SE01 Entry into force of request for substantive examination
SE01 Entry into force of request for substantive examination
RJ01 Rejection of invention patent application after publication

Application publication date: 20220909

RJ01 Rejection of invention patent application after publication