CN115014943A - A copper foil tensile test device - Google Patents
A copper foil tensile test device Download PDFInfo
- Publication number
- CN115014943A CN115014943A CN202210648366.4A CN202210648366A CN115014943A CN 115014943 A CN115014943 A CN 115014943A CN 202210648366 A CN202210648366 A CN 202210648366A CN 115014943 A CN115014943 A CN 115014943A
- Authority
- CN
- China
- Prior art keywords
- plate
- sliding
- copper foil
- fixedly connected
- fixed
- Prior art date
- Legal status (The legal status is an assumption and is not a legal conclusion. Google has not performed a legal analysis and makes no representation as to the accuracy of the status listed.)
- Pending
Links
- RYGMFSIKBFXOCR-UHFFFAOYSA-N Copper Chemical compound [Cu] RYGMFSIKBFXOCR-UHFFFAOYSA-N 0.000 title claims abstract description 45
- 239000011889 copper foil Substances 0.000 title claims abstract description 45
- 238000009864 tensile test Methods 0.000 title abstract description 13
- 238000012360 testing method Methods 0.000 claims abstract description 18
- 230000006835 compression Effects 0.000 claims description 25
- 238000007906 compression Methods 0.000 claims description 25
- 230000008878 coupling Effects 0.000 claims description 20
- 238000010168 coupling process Methods 0.000 claims description 20
- 238000005859 coupling reaction Methods 0.000 claims description 20
- 230000007246 mechanism Effects 0.000 claims description 8
- 230000005540 biological transmission Effects 0.000 claims 3
- 230000000149 penetrating effect Effects 0.000 claims 3
- 238000009434 installation Methods 0.000 description 21
- 238000000034 method Methods 0.000 description 5
- 230000008569 process Effects 0.000 description 3
- 230000009471 action Effects 0.000 description 2
- 230000006378 damage Effects 0.000 description 1
- 230000000694 effects Effects 0.000 description 1
- 238000004519 manufacturing process Methods 0.000 description 1
- 239000000463 material Substances 0.000 description 1
- 238000012986 modification Methods 0.000 description 1
- 230000004048 modification Effects 0.000 description 1
- 230000002035 prolonged effect Effects 0.000 description 1
Images
Classifications
-
- G—PHYSICS
- G01—MEASURING; TESTING
- G01N—INVESTIGATING OR ANALYSING MATERIALS BY DETERMINING THEIR CHEMICAL OR PHYSICAL PROPERTIES
- G01N3/00—Investigating strength properties of solid materials by application of mechanical stress
- G01N3/02—Details
- G01N3/04—Chucks
-
- G—PHYSICS
- G01—MEASURING; TESTING
- G01N—INVESTIGATING OR ANALYSING MATERIALS BY DETERMINING THEIR CHEMICAL OR PHYSICAL PROPERTIES
- G01N3/00—Investigating strength properties of solid materials by application of mechanical stress
- G01N3/02—Details
-
- G—PHYSICS
- G01—MEASURING; TESTING
- G01N—INVESTIGATING OR ANALYSING MATERIALS BY DETERMINING THEIR CHEMICAL OR PHYSICAL PROPERTIES
- G01N3/00—Investigating strength properties of solid materials by application of mechanical stress
- G01N3/08—Investigating strength properties of solid materials by application of mechanical stress by applying steady tensile or compressive forces
-
- G—PHYSICS
- G01—MEASURING; TESTING
- G01N—INVESTIGATING OR ANALYSING MATERIALS BY DETERMINING THEIR CHEMICAL OR PHYSICAL PROPERTIES
- G01N2203/00—Investigating strength properties of solid materials by application of mechanical stress
- G01N2203/0001—Type of application of the stress
- G01N2203/0003—Steady
-
- G—PHYSICS
- G01—MEASURING; TESTING
- G01N—INVESTIGATING OR ANALYSING MATERIALS BY DETERMINING THEIR CHEMICAL OR PHYSICAL PROPERTIES
- G01N2203/00—Investigating strength properties of solid materials by application of mechanical stress
- G01N2203/0014—Type of force applied
- G01N2203/0016—Tensile or compressive
- G01N2203/0017—Tensile
Landscapes
- Physics & Mathematics (AREA)
- Health & Medical Sciences (AREA)
- Life Sciences & Earth Sciences (AREA)
- Chemical & Material Sciences (AREA)
- Analytical Chemistry (AREA)
- Biochemistry (AREA)
- General Health & Medical Sciences (AREA)
- General Physics & Mathematics (AREA)
- Immunology (AREA)
- Pathology (AREA)
- Investigating Strength Of Materials By Application Of Mechanical Stress (AREA)
Abstract
本发明公开一种铜箔拉力测试装置,包括:支撑部、动力部、上夹持部、下夹持部;动力部设置于支撑部的顶端;上夹持部设置于支撑部内,且与动力部传动连接,上夹持部与动力部之间设置有拉力传感器;下夹持部固定在支撑部的底部,且与上夹持部相对设置;上夹持部包括第一底座,下夹持部包括第二底座,第二底座上固接有第二固定夹块,第一底座上固接有第一固定夹块,第一固定夹块与第二固定夹块的夹持面位于同一竖直平面上。本发明能够防止铜箔夹持完成后铜箔的两端错位,在铜箔的夹紧处形成折痕,影响测试结果。
The invention discloses a copper foil tensile test device, comprising: a support part, a power part, an upper clamping part and a lower clamping part; the power part is arranged at the top end of the support part; the upper clamping part is arranged in the support part, and is connected with the power A tension sensor is arranged between the upper clamping part and the power part; the lower clamping part is fixed on the bottom of the supporting part and is opposite to the upper clamping part; the upper clamping part includes a first base, and the lower clamping part is The part includes a second base, a second fixed clamping block is fixed on the second base, a first fixed clamping block is fixed on the first base, and the clamping surfaces of the first fixed clamping block and the second fixed clamping block are located in the same vertical on a straight plane. The invention can prevent the dislocation of both ends of the copper foil after the clamping of the copper foil is completed, and a crease is formed at the clamping part of the copper foil, which affects the test result.
Description
技术领域technical field
本发明涉及铜箔拉力测试装置技术领域,特别是涉及一种铜箔拉力测试装置。The invention relates to the technical field of copper foil tensile testing devices, in particular to a copper foil tensile testing device.
背景技术Background technique
在铜箔的生产过程中,需要使用到拉力测试装置对铜箔样品进行拉力测试来分析其抗拉强度。In the production process of copper foil, it is necessary to use a tensile test device to perform a tensile test on the copper foil sample to analyze its tensile strength.
现有的拉力测试装置通常是通过夹持装置的两个夹块相向运动来对待测试铜箔的两端进行夹紧,然而铜箔的厚度较小,硬度较低,通过这样的方法测试铜箔拉力有可能导致铜箔的两端错位,在铜箔的夹紧处形成折痕,进而影响铜箔拉力测试结果的准确性。The existing tensile test device usually clamps the two ends of the copper foil to be tested by moving the two clamping blocks of the clamping device toward each other. However, the thickness of the copper foil is small and the hardness is low. This method is used to test the copper foil. The tensile force may cause the two ends of the copper foil to be dislocated, forming creases at the clamping place of the copper foil, thereby affecting the accuracy of the copper foil tensile test results.
发明内容SUMMARY OF THE INVENTION
本发明的目的是提供一种铜箔拉力测试装置,以解决上述现有技术存在的问题。The purpose of the present invention is to provide a copper foil tensile test device to solve the above-mentioned problems in the prior art.
为实现上述目的,本发明提供了如下方案:本发明提供一种铜箔拉力测试装置,包括:In order to achieve the above purpose, the present invention provides the following solutions: the present invention provides a copper foil tensile test device, comprising:
支撑部;support;
动力部,设置于所述支撑部的顶端;a power part, arranged on the top end of the support part;
上夹持部,设置于所述支撑部内,且与所述动力部传动连接,所述上夹持部与所述动力部之间设置有拉力传感器,所述上夹持部包括第一底座,所述第一底座的底端固接有第一固定夹块,所述第一底座的底面上开设有第一滑槽,所述第一滑槽内滑动连接有第一滑块,所述第一滑块的一端伸出所述第一滑槽且固接有第一滑动夹块,所述第一滑动夹块与所述第一固定夹块正对设置,所述第一滑块传动连接有第一夹持电机;The upper clamping part is arranged in the support part and is connected with the power part in a driving manner, a tension sensor is arranged between the upper clamping part and the power part, and the upper clamping part includes a first base, The bottom end of the first base is fixed with a first fixing clamp block, a first sliding groove is opened on the bottom surface of the first base, and a first sliding block is slidably connected in the first sliding groove, and the first sliding block is slidably connected to the first sliding groove. One end of a sliding block protrudes from the first sliding slot and is fixedly connected with a first sliding clamping block, the first sliding clamping block and the first fixed clamping block are arranged opposite, and the first sliding block is drivingly connected There is a first clamping motor;
下夹持部,固定在所述支撑部的底部,且与所述上夹持部相对设置,所述下夹持部包括第二底座,所述第二底座的顶端固接有第二固定夹块,所述第二底座的顶面上开设有第二滑槽,所述第二滑槽内滑动连接有第二滑块,所述第二滑块的一端伸出所述第二滑槽且固接有第二滑动夹块,所述第二滑动夹块与所述第二固定夹块正对设置,所述第二滑块传动连接有第二夹持电机;The lower clamping part is fixed on the bottom of the support part and is arranged opposite to the upper clamping part, the lower clamping part includes a second base, and the top of the second base is fixed with a second fixing clip The top surface of the second base is provided with a second chute, a second slider is slidably connected in the second chute, and one end of the second slider protrudes from the second chute and A second sliding clamping block is fixedly connected, the second sliding clamping block is arranged opposite to the second fixed clamping block, and the second sliding block is drivingly connected with a second clamping motor;
其中,所述第一固定夹块与所述第二固定夹块的夹持面位于同一竖直平面上。Wherein, the clamping surfaces of the first fixed clamping block and the second fixed clamping block are located on the same vertical plane.
优选的,所述支撑部包括底板,所述底板的顶面上固接有两支撑板,两所述支撑板分别位于所述底板的两端,两所述支撑板的顶端之间固接有顶板,所述动力部设置在所述顶板的顶面上,所述第一底座位于所述底板与所述顶板之间,所述第二底座固接在所述底板的顶面上。Preferably, the support portion includes a bottom plate, and two support plates are fixedly connected to the top surface of the bottom plate, the two support plates are respectively located at two ends of the bottom plate, and the top ends of the two support plates are fixedly connected with A top plate, the power part is arranged on the top surface of the top plate, the first base is located between the bottom plate and the top plate, and the second base is fixed on the top surface of the bottom plate.
优选的,所述动力部包括固接在所述顶板顶面的提升电机,所述提升电机的输出轴穿过所述顶板且固接有第一螺杆,所述第一螺杆转动连接在所述顶板与所述底板之间,所述第一螺杆上螺纹连接有第三滑块,所述第三滑块的顶面与底面均固接有横板,所述横板套设在所述第一螺杆的外侧,所述横板的两端穿设有竖直设置的限位杆,所述限位杆与所述横板滑动连接,两所述限位杆平行设置且以所述第一螺杆的轴线为轴对称设置,所述限位杆固接在顶板与所述底板之间。Preferably, the power part includes a lift motor fixed on the top surface of the top plate, the output shaft of the lift motor passes through the top plate and is fixed with a first screw, the first screw is rotatably connected to the top plate Between the top plate and the bottom plate, a third sliding block is threadedly connected to the first screw, the top surface and the bottom surface of the third sliding block are fixed with a horizontal plate, and the horizontal plate is sleeved on the first sliding block. On the outer side of a screw, two ends of the horizontal plate are provided with vertically arranged limit rods, the limit rods are slidably connected with the horizontal plate, and the two limit rods are arranged in parallel and with the first The axis of the screw rod is axially symmetrical, and the limit rod is fixedly connected between the top plate and the bottom plate.
优选的,两所述横板的一侧固接有L形板的一端,所述L形板的另一端水平设置,所述L形板的底面上固接有两限位柱,两所述限位柱分别位于所述L形板的两侧,所述限位柱的底端固接有第一限位帽,所述限位柱的外侧壁上套设有第一压缩弹簧,所述第一压缩弹簧的底端与所述第一限位帽固接,两所述限位柱上滑动连接有第一连接板,所述第一连接板位于所述第一压缩弹簧的上方,所述第一连接板与所述L形板之间还设置有过载保护机构。Preferably, one end of the L-shaped plate is fixed on one side of the two horizontal plates, the other end of the L-shaped plate is horizontally arranged, and two limit posts are fixed on the bottom surface of the L-shaped plate. The limiting columns are respectively located on both sides of the L-shaped plate, the bottom ends of the limiting columns are fixed with a first limiting cap, the outer side walls of the limiting columns are sleeved with a first compression spring, and the The bottom end of the first compression spring is fixedly connected with the first limit cap, and the two limit posts are slidably connected with a first connecting plate, the first connecting plate is located above the first compression spring, so An overload protection mechanism is also arranged between the first connecting plate and the L-shaped plate.
优选的,所述第一连接板的底面上固接有所述拉力传感器,所述拉力传感器的底端固接有第二连接板,所述第一底座固接在所述第二连接板的底面上。Preferably, the tension sensor is fixed on the bottom surface of the first connecting plate, the second connecting plate is fixed on the bottom end of the tension sensor, and the first base is fixed on the second connecting plate. on the underside.
优选的,所述第一夹持电机固接在所述第二连接板的底面上,所述第一夹持电机的输出轴上通过联轴器连接有第二螺杆,所述第二螺杆穿入所述第一滑槽内且与所述第一滑槽的轴线平行设置,所述第二螺杆与所述第一滑块螺纹连接。Preferably, the first clamping motor is fixed on the bottom surface of the second connecting plate, the output shaft of the first clamping motor is connected with a second screw through a coupling, and the second screw passes through into the first chute and parallel to the axis of the first chute, and the second screw is threadedly connected to the first slider.
优选的,所述第二夹持电机固接在所述底板的顶面上,所述第二夹持电机的输出轴上通过所述联轴器固接有第三螺杆,所述第三螺杆穿入所述第二滑槽内且与所述第二滑槽的轴线平行设置,所述第三螺杆与所述第二滑块螺纹连接。Preferably, the second clamping motor is fixed on the top surface of the bottom plate, the output shaft of the second clamping motor is fixed with a third screw through the coupling, and the third screw The third screw is screwed into the second sliding slot and is arranged in parallel with the axis of the second sliding slot.
优选的,所述过载保护机构包括安装盒,所述安装盒的底壁上穿设有两竖杆,两竖杆之间固接有第三连接板,所述第三连接板位于所述安装盒内,所述竖杆上套设有第二压缩弹簧,所述第二压缩弹簧位于所述第三连接板与所述安装盒的内侧壁之间,所述安装盒相对的两侧壁上穿设有两限位板,两所述限位板对称设置,所述限位板位于所述安装盒外侧的一端固接有限位片,所述限位板的外侧套设有第三压缩弹簧,所述第三压缩弹簧位于所述限位片与所述安装盒的外侧壁之间,所述限位板位于所述安装盒内的一端开设有凹槽,所述限位板上开设有通孔,所述通孔位于所述安装盒内,所述竖杆的顶端穿入所述通孔内,两所述凹槽之间设有圆柱,所述圆柱位于所述安装盒内的一端固接有第二限位帽,所述第二限位帽位于两所述凹槽之间,两所述竖杆均固接在所述第一连接板的顶面上,所述圆柱固接在所述L形板的底面上。Preferably, the overload protection mechanism includes an installation box, the bottom wall of the installation box is provided with two vertical rods, and a third connecting plate is fixedly connected between the two vertical rods, and the third connecting plate is located in the installation box. In the box, a second compression spring is sleeved on the vertical rod, and the second compression spring is located between the third connecting plate and the inner side wall of the installation box, on the opposite two side walls of the installation box Two limit plates are passed through, and the two limit plates are symmetrically arranged. One end of the limit plate located on the outer side of the installation box is fixed with a limit piece, and a third compression spring is sleeved on the outer side of the limit plate. , the third compression spring is located between the limit piece and the outer side wall of the installation box, one end of the limit plate located in the installation box is provided with a groove, and the limit plate is opened with a groove a through hole, the through hole is located in the installation box, the top end of the vertical rod penetrates into the through hole, a cylinder is arranged between the two grooves, and the cylinder is located at one end of the installation box A second limit cap is fixedly connected, the second limit cap is located between the two grooves, the two vertical rods are fixed on the top surface of the first connecting plate, and the cylinder is fixed on the bottom surface of the L-shaped plate.
优选的,所述第一固定夹块与所述第一滑动夹块相对的面上均固接有柔性夹板,两所述柔性夹板相对的面上均开设有若干圆孔。Preferably, flexible splints are fixedly fixed on the surfaces of the first fixed clamping block and the first sliding clamps, and a plurality of circular holes are formed on the opposite surfaces of the two flexible splints.
本发明公开了以下技术效果:The present invention discloses the following technical effects:
本发明中,测试铜箔的拉力时,首先将铜箔的一端放置在第一固定夹块与第一滑动夹块之间,然后驱动第一夹持电机带动第一滑块在第一滑槽内运动,进而使第一滑动夹块运动,将铜箔夹持在第一固定夹块与第一滑动夹块之间,然后将同比的另一端放入第二固定夹块与第二滑动夹块之间,驱动第二夹持电机使铜箔的另一端夹持在第二固定夹块与第二滑动夹块之间,第一固定夹块与第二固定夹块上下相对设置且夹持面位于同一竖直平面上,第一固定夹块与第二固定夹块其定位作用,防止铜箔夹持完成后铜箔的两端错位,在铜箔的夹紧处形成折痕,影响测试结果。In the present invention, when testing the tensile force of the copper foil, first place one end of the copper foil between the first fixed clamp block and the first sliding clamp block, and then drive the first clamping motor to drive the first slider in the first chute Then move the first sliding clamp block, clamp the copper foil between the first fixed clamp block and the first sliding clamp block, and then put the other end of the same ratio into the second fixed clamp block and the second sliding clamp. Between the blocks, the second clamping motor is driven so that the other end of the copper foil is clamped between the second fixed clamping block and the second sliding clamping block. The surfaces are located on the same vertical plane, and the positioning function of the first fixing block and the second fixing block prevents the two ends of the copper foil from being dislocated after the copper foil is clamped, and a crease is formed at the clamping place of the copper foil, which affects the test. result.
附图说明Description of drawings
为了更清楚地说明本发明实施例或现有技术中的技术方案,下面将对实施例中所需要使用的附图作简单地介绍,显而易见地,下面描述中的附图仅仅是本发明的一些实施例,对于本领域普通技术人员来讲,在不付出创造性劳动性的前提下,还可以根据这些附图获得其他的附图。In order to more clearly illustrate the embodiments of the present invention or the technical solutions in the prior art, the accompanying drawings required in the embodiments will be briefly introduced below. Obviously, the drawings in the following description are only some of the present invention. In the embodiments, for those of ordinary skill in the art, other drawings can also be obtained according to these drawings without creative labor.
图1为本发明一种铜箔拉力测试装置的主视图;1 is a front view of a copper foil tensile test device of the present invention;
图2为本发明一种铜箔拉力测试装置的右视图;Fig. 2 is the right side view of a kind of copper foil tensile test device of the present invention;
图3为本发明中过载保护机构的结构示意图;Fig. 3 is the structural representation of overload protection mechanism in the present invention;
图4为图1中A处的局部放大图;Fig. 4 is the partial enlarged view of A place in Fig. 1;
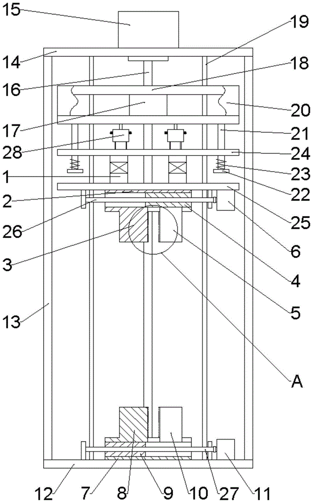
其中,1、拉力传感器;2、第一底座;3、第一固定夹块;4、第一滑块;5、第一滑动夹块;6、第一夹持电机;7、第二底座;8、第二固定夹块;9、第二滑块;10、第二滑动夹块;11、第二夹持电机;12、底板;13、支撑板;14、顶板;15、提升电机;16、第一螺杆;17、第三滑块;18、横板;19、限位杆;20、L形板;21、限位柱;22、第一限位帽;23、第一压缩弹簧;24、第一连接板;25、第二连接板;26、第二螺杆;27、第三螺杆;28、安装盒;29、竖杆;30、第三连接板;31、第二压缩弹簧;32、限位板;33、限位片;34、第三压缩弹簧;35、圆柱;36、第二限位帽;37、柔性夹板。Among them, 1. Tension sensor; 2. The first base; 3. The first fixed clamping block; 4. The first sliding block; 5. The first sliding clamping block; 6. The first clamping motor; 7. The second base; 8. Second fixed clamping block; 9. Second sliding block; 10. Second sliding clamping block; 11. Second clamping motor; 12. Bottom plate; 13. Support plate; 14. Top plate; 15. Lifting motor; 16 , the first screw; 17, the third slider; 18, the horizontal plate; 19, the limit rod; 20, the L-shaped plate; 21, the limit column; 22, the first limit cap; 23, the first compression spring; 24, the first connecting plate; 25, the second connecting plate; 26, the second screw; 27, the third screw; 28, the installation box; 29, the vertical rod; 30, the third connecting plate; 31, the second compression spring; 32, limit plate; 33, limit piece; 34, third compression spring; 35, cylinder; 36, second limit cap; 37, flexible splint.
具体实施方式Detailed ways
下面将结合本发明实施例中的附图,对本发明实施例中的技术方案进行清楚、完整地描述,显然,所描述的实施例仅仅是本发明一部分实施例,而不是全部的实施例。基于本发明中的实施例,本领域普通技术人员在没有做出创造性劳动前提下所获得的所有其他实施例,都属于本发明保护的范围。The technical solutions in the embodiments of the present invention will be clearly and completely described below with reference to the accompanying drawings in the embodiments of the present invention. Obviously, the described embodiments are only a part of the embodiments of the present invention, but not all of the embodiments. Based on the embodiments of the present invention, all other embodiments obtained by those of ordinary skill in the art without creative efforts shall fall within the protection scope of the present invention.
为使本发明的上述目的、特征和优点能够更加明显易懂,下面结合附图和具体实施方式对本发明作进一步详细的说明。In order to make the above objects, features and advantages of the present invention more clearly understood, the present invention will be described in further detail below with reference to the accompanying drawings and specific embodiments.
参照图1-4,本发明提供一种铜箔拉力测试装置,包括:1-4, the present invention provides a copper foil tensile test device, including:
支撑部;support;
动力部,设置于支撑部的顶端;The power part is arranged on the top end of the support part;
上夹持部,设置于支撑部内,且与动力部传动连接,上夹持部与动力部之间设置有拉力传感器1,上夹持部包括第一底座2,第一底座2的底端固接有第一固定夹块3,第一底座2的底面上开设有第一滑槽,第一滑槽内滑动连接有第一滑块4,第一滑块4的一端伸出第一滑槽且固接有第一滑动夹块5,第一滑动夹块5与第一固定夹块3正对设置,第一滑块4传动连接有第一夹持电机6;The upper clamping part is arranged in the supporting part and is connected with the power part. A
下夹持部,固定在支撑部的底部,且与上夹持部相对设置,下夹持部包括第二底座7,第二底座7的顶端固接有第二固定夹块8,第二底座7的顶面上开设有第二滑槽,第二滑槽内滑动连接有第二滑块9,第二滑块9的一端伸出第二滑槽且固接有第二滑动夹块10,第二滑动夹块10与第二固定夹块8正对设置,第二滑块9传动连接有第二夹持电机11;第二固定夹块8与第一固定夹块3上下对应设置;The lower clamping part is fixed on the bottom of the supporting part and is arranged opposite to the upper clamping part. The lower clamping part includes a
其中,第一固定夹块3与第二固定夹块8的夹持面位于同一竖直平面上。Wherein, the clamping surfaces of the first
本装置中,首先将铜箔的顶端放置在第一固定夹块3与第一滑动夹块5之间,驱动第一夹持电机6带动第一滑块4在第一滑槽内运动,进而带动第一滑动夹块5运动,将铜箔的顶端夹持在第一固定夹块3与第一滑动夹块5之间,然后将铜箔的另一端置入第二固定夹块8与第二滑动夹块10之间,驱动第二夹持电机11带动第二滑块9在第二滑槽内运动,进而带动第二滑动夹块10运动,将铜箔的底端夹持在第二固定夹块8与第二滑动夹块10之间,在此过程中,需要尽量使铜箔保持平整的状态,避免夹持不当导致测试结果出现误差。In this device, the top of the copper foil is first placed between the first
进一步优化方案,支撑部包括底板12,底板12的顶面上固接有两支撑板13,两支撑板13分别位于底板12的两端,两支撑板13的顶端之间固接有顶板14,动力部设置在顶板14的顶面上,第一底座2位于底板12与顶板14之间,第二底座7固接在底板12的顶面上。To further optimize the solution, the support portion includes a
进一步优化方案,动力部包括固接在顶板14顶面的提升电机15,提升电机15的输出轴穿过顶板14且固接有第一螺杆16,第一螺杆16转动连接在顶板14与底板12之间,第一螺杆16上螺纹连接有第三滑块17,第三滑块17的顶面与底面均固接有横板18,横板18套设在第一螺杆16的外侧,横板18的两端穿设有竖直设置的限位杆19,限位杆19与横板18滑动连接,两限位杆19平行设置且以第一螺杆16的轴线为轴对称设置,限位杆19固接在顶板14与底板12之间。通过提升电机15带动第一螺杆16转动,进而带动第三滑块17上升,第三滑块17上升带动两横板18上升。To further optimize the solution, the power unit includes a
其中,第三滑块17的顶面与底面均固接有横板18,是为了使测试过程中产生的倾斜于第一螺杆16轴线的力分担给限位杆19,避免第一螺杆16承受的倾斜力过大导致第一螺杆16损坏,延长装置的使用寿命。Wherein, the top and bottom surfaces of the
进一步优化方案,两横板18的一侧固接有L形板20的一端,L形板20的另一端水平设置,L形板20的底面上固接有两限位柱21,两限位柱21分别位于L形板20的两侧,限位柱21的底端固接有第一限位帽22,限位柱21的外侧壁上套设有第一压缩弹簧23,第一压缩弹簧23的底端与第一限位帽22固接,两限位柱21上滑动连接有第一连接板24,第一连接板24位于第一压缩弹簧23的上方,第一连接板24与L形板20之间还设置有过载保护机构。To further optimize the solution, one end of the L-shaped
进一步优化方案,第一连接板24的底面上固接有拉力传感器1,拉力传感器1的底端固接有第二连接板25,第一底座2固接在第二连接板25的底面上。In a further optimized solution, the
过载保护机构设置在L形板20与第一连接板24之间,可以避免在测试过程中因为拉力传感器1承受拉力过大导致拉力传感器1损坏,第一限位帽22可以防止第一连接板24完全脱离限位柱21。The overload protection mechanism is arranged between the L-shaped
进一步优化方案,第一夹持电机6固接在第二连接板25的底面上,第一夹持电机6的输出轴上通过联轴器连接有第二螺杆26,第二螺杆26穿入第一滑槽内且与第一滑槽的轴线平行设置,第二螺杆26与第一滑块4螺纹连接。To further optimize the solution, the
进一步优化方案,第二夹持电机11固接在底板12的顶面上,第二夹持电机11的输出轴上通过联轴器固接有第三螺杆27,第三螺杆27穿入第二滑槽内且与第二滑槽的轴线平行设置,第三螺杆27与第二滑块9螺纹连接。Further optimized solution, the
进一步优化方案,过载保护机构包括安装盒28,安装盒28的底壁上穿设有两竖杆29,两竖杆29之间固接有第三连接板30,第三连接板30位于安装盒28内,竖杆29上套设有第二压缩弹簧31,第二压缩弹簧31位于第三连接板30与安装盒28的内侧壁之间,安装盒28相对的两侧壁上穿设有两限位板32,两限位板32对称设置,限位板32位于安装盒28外侧的一端固接有限位片33,限位板32的外侧套设有第三压缩弹簧34,第三压缩弹簧34位于限位片33与安装盒28的外侧壁之间,限位板32位于安装盒28内的一端开设有凹槽,限位板32上开设有通孔,通孔位于安装盒28内,竖杆29的顶端穿入通孔内,两凹槽之间设有圆柱35,圆柱35位于安装盒28内的一端固接有第二限位帽36,第二限位帽36位于两凹槽之间,两竖杆29均固接在第一连接板24的顶面上,圆柱35固接在L形板20的底面上。使用时,L形板20上升,进而通过圆柱35带动整个安装盒28上升,此时竖杆29与通孔之间发生滑动,当拉力即将超过拉力传感器1的量程时,竖杆29脱出通孔,此时限位板32在第三压缩弹簧34的作用下弹出,限位板32不再对第二限位帽36起限位作用,安装盒28下落,降低拉力传感器1收到的拉力,避免拉力传感器1过载而损坏。其中,第一压缩弹簧23的作用是避免第一连接板24与第一限位帽22发生刚性接触。To further optimize the solution, the overload protection mechanism includes an
进一步优化方案,第一固定夹块3与第一滑动夹块5相对的面上均固接有柔性夹板37,两柔性夹板37相对的面上均开设有若干圆孔。柔性夹板37的作用是避免铜箔与第一固定夹块3以及第一滑动夹块5之间硬性接触,导致铜箔表面产生划痕或者压伤,影响测试结果,两柔性夹板37相对的面上均开设有若干圆孔,夹紧时圆孔内的空气排出,铜箔在大气压强的作用下与柔性夹板37贴合的更加紧密,防止铜箔在测试时脱出第一固定夹块3和第一滑动夹块5之间。柔性夹板37材质优选为橡胶。In a further optimized solution, the surfaces of the first
下夹持部与上夹持部的结构完全相同。The lower clamping part has the same structure as the upper clamping part.
在本发明的描述中,需要理解的是,术语“纵向”、“横向”、“上”、“下”、“前”、“后”、“左”、“右”、“竖直”、“水平”、“顶”、“底”、“内”、“外”等指示的方位或位置关系为基于附图所示的方位或位置关系,仅是为了便于描述本发明,而不是指示或暗示所指的装置或元件必须具有特定的方位、以特定的方位构造和操作,因此不能理解为对本发明的限制。In the description of the present invention, it should be understood that the terms "portrait", "horizontal", "upper", "lower", "front", "rear", "left", "right", "vertical", The orientation or positional relationship indicated by "horizontal", "top", "bottom", "inner", "outer", etc. is based on the orientation or positional relationship shown in the drawings, and is only for the convenience of describing the present invention, rather than indicating or It is implied that the device or element referred to must have a particular orientation, be constructed and operate in a particular orientation, and therefore should not be construed as limiting the invention.
以上所述的实施例仅是对本发明的优选方式进行描述,并非对本发明的范围进行限定,在不脱离本发明设计精神的前提下,本领域普通技术人员对本发明的技术方案做出的各种变形和改进,均应落入本发明权利要求书确定的保护范围内。The above-mentioned embodiments are only to describe the preferred modes of the present invention, but not to limit the scope of the present invention. Without departing from the design spirit of the present invention, those of ordinary skill in the art can make various modifications to the technical solutions of the present invention. Variations and improvements should fall within the protection scope determined by the claims of the present invention.
Claims (9)
Priority Applications (1)
| Application Number | Priority Date | Filing Date | Title |
|---|---|---|---|
| CN202210648366.4A CN115014943A (en) | 2022-06-09 | 2022-06-09 | A copper foil tensile test device |
Applications Claiming Priority (1)
| Application Number | Priority Date | Filing Date | Title |
|---|---|---|---|
| CN202210648366.4A CN115014943A (en) | 2022-06-09 | 2022-06-09 | A copper foil tensile test device |
Publications (1)
| Publication Number | Publication Date |
|---|---|
| CN115014943A true CN115014943A (en) | 2022-09-06 |
Family
ID=83072591
Family Applications (1)
| Application Number | Title | Priority Date | Filing Date |
|---|---|---|---|
| CN202210648366.4A Pending CN115014943A (en) | 2022-06-09 | 2022-06-09 | A copper foil tensile test device |
Country Status (1)
| Country | Link |
|---|---|
| CN (1) | CN115014943A (en) |
Citations (7)
| Publication number | Priority date | Publication date | Assignee | Title |
|---|---|---|---|---|
| CN204269474U (en) * | 2014-11-18 | 2015-04-15 | 湖南千山制药机械股份有限公司 | Device for testing tensile force |
| CN106625305A (en) * | 2017-02-13 | 2017-05-10 | 李志东 | Flat tongs fixture |
| CN212621871U (en) * | 2020-07-17 | 2021-02-26 | 杭州千石科技有限公司 | Sample clamp for pendulum impact tester |
| CN112504830A (en) * | 2021-02-07 | 2021-03-16 | 江西省江铜耶兹铜箔有限公司 | Copper foil tension testing device |
| CN212989028U (en) * | 2020-05-29 | 2021-04-16 | 麦加芯彩新材料科技(上海)股份有限公司 | Paint film drawing testing device |
| CN213714916U (en) * | 2020-12-01 | 2021-07-16 | 湖北中科铜箔科技有限公司 | Fixing device for copper foil tension detection |
| CN216484351U (en) * | 2021-12-23 | 2022-05-10 | 重庆商务职业学院 | A tensile testing device for teaching materials science and engineering |
-
2022
- 2022-06-09 CN CN202210648366.4A patent/CN115014943A/en active Pending
Patent Citations (7)
| Publication number | Priority date | Publication date | Assignee | Title |
|---|---|---|---|---|
| CN204269474U (en) * | 2014-11-18 | 2015-04-15 | 湖南千山制药机械股份有限公司 | Device for testing tensile force |
| CN106625305A (en) * | 2017-02-13 | 2017-05-10 | 李志东 | Flat tongs fixture |
| CN212989028U (en) * | 2020-05-29 | 2021-04-16 | 麦加芯彩新材料科技(上海)股份有限公司 | Paint film drawing testing device |
| CN212621871U (en) * | 2020-07-17 | 2021-02-26 | 杭州千石科技有限公司 | Sample clamp for pendulum impact tester |
| CN213714916U (en) * | 2020-12-01 | 2021-07-16 | 湖北中科铜箔科技有限公司 | Fixing device for copper foil tension detection |
| CN112504830A (en) * | 2021-02-07 | 2021-03-16 | 江西省江铜耶兹铜箔有限公司 | Copper foil tension testing device |
| CN216484351U (en) * | 2021-12-23 | 2022-05-10 | 重庆商务职业学院 | A tensile testing device for teaching materials science and engineering |
Similar Documents
| Publication | Publication Date | Title |
|---|---|---|
| CN114136575B (en) | New energy automobile battery anticollision detection device | |
| CN117091477B (en) | Bearing inner diameter detection device for bearing machining and manufacturing | |
| CN103336061A (en) | Fixing device for buffer material vibration transmission test | |
| CN115014943A (en) | A copper foil tensile test device | |
| CN212275438U (en) | Building wall compressive strength check out test set | |
| CN205138448U (en) | Flatness detection device based on optical fiber sensor | |
| CN215985547U (en) | A fastening detection device for steel structure engineering | |
| CN108801802A (en) | A kind of device and test method for T connector crooked test | |
| CN216349957U (en) | Hydraulic engineering concrete quality detection device | |
| CN109187134A (en) | A kind of vibrating compacting equipment measuring coarse-grained soil and over coarse grained soil maximum dry density | |
| CN210269387U (en) | Cement breaking press | |
| CN211904589U (en) | Detection device for steel structure building model shock resistance test | |
| CN111366465A (en) | A kind of concrete tile bearing capacity test and detection device | |
| CN210849093U (en) | Spindle press-fitting quality detection system | |
| CN221859870U (en) | Positioning tool and vibration testing machine | |
| CN108422394A (en) | Automatically-lifting clamping mechanism for detecting bent plate | |
| CN221849910U (en) | A positioning fixture for building door, window and curtain wall glass | |
| CN220188249U (en) | Concrete slab strength test detection device | |
| CN222761983U (en) | A new type of mechanical fixture for experimental film tensile testing machine | |
| CN219977747U (en) | Weight limiter detection device for tower crane inspection | |
| CN216978607U (en) | Spare part fixing device for detecting tensile property of spare part of aviation aircraft | |
| CN219829706U (en) | Battery thickness test fixture | |
| CN221725339U (en) | A protective buffer structure for a liquid level transmitter | |
| CN216348250U (en) | Measuring tool is used in inspection of special-shaped part thickness that protecting effect is good | |
| CN219935556U (en) | A battery product safety inspection system |
Legal Events
| Date | Code | Title | Description |
|---|---|---|---|
| PB01 | Publication | ||
| PB01 | Publication | ||
| SE01 | Entry into force of request for substantive examination | ||
| SE01 | Entry into force of request for substantive examination | ||
| RJ01 | Rejection of invention patent application after publication | ||
| RJ01 | Rejection of invention patent application after publication |
Application publication date: 20220906 |
