CN114976772B - 一种基于通信机柜的智能电源分配装置 - Google Patents
一种基于通信机柜的智能电源分配装置 Download PDFInfo
- Publication number
- CN114976772B CN114976772B CN202210549856.9A CN202210549856A CN114976772B CN 114976772 B CN114976772 B CN 114976772B CN 202210549856 A CN202210549856 A CN 202210549856A CN 114976772 B CN114976772 B CN 114976772B
- Authority
- CN
- China
- Prior art keywords
- power distribution
- rod
- plate
- communication cabinet
- distribution box
- Prior art date
- Legal status (The legal status is an assumption and is not a legal conclusion. Google has not performed a legal analysis and makes no representation as to the accuracy of the status listed.)
- Active
Links
- 238000004891 communication Methods 0.000 title claims abstract description 42
- 235000017166 Bambusa arundinacea Nutrition 0.000 claims description 6
- 235000017491 Bambusa tulda Nutrition 0.000 claims description 6
- 241001330002 Bambuseae Species 0.000 claims description 6
- 235000015334 Phyllostachys viridis Nutrition 0.000 claims description 6
- 239000011425 bamboo Substances 0.000 claims description 6
- 230000000149 penetrating effect Effects 0.000 claims description 4
- 238000010586 diagram Methods 0.000 description 8
- 230000000694 effects Effects 0.000 description 4
- 230000009286 beneficial effect Effects 0.000 description 1
- 238000011161 development Methods 0.000 description 1
- 238000005516 engineering process Methods 0.000 description 1
- 230000010354 integration Effects 0.000 description 1
- 230000007246 mechanism Effects 0.000 description 1
- 238000000034 method Methods 0.000 description 1
- 238000012986 modification Methods 0.000 description 1
- 230000004048 modification Effects 0.000 description 1
- 238000012544 monitoring process Methods 0.000 description 1
- 230000006855 networking Effects 0.000 description 1
- 230000008569 process Effects 0.000 description 1
- 230000001681 protective effect Effects 0.000 description 1
Images
Classifications
-
- H—ELECTRICITY
- H01—ELECTRIC ELEMENTS
- H01R—ELECTRICALLY-CONDUCTIVE CONNECTIONS; STRUCTURAL ASSOCIATIONS OF A PLURALITY OF MUTUALLY-INSULATED ELECTRICAL CONNECTING ELEMENTS; COUPLING DEVICES; CURRENT COLLECTORS
- H01R13/00—Details of coupling devices of the kinds covered by groups H01R12/70 or H01R24/00 - H01R33/00
- H01R13/62—Means for facilitating engagement or disengagement of coupling parts or for holding them in engagement
- H01R13/639—Additional means for holding or locking coupling parts together, after engagement, e.g. separate keylock, retainer strap
-
- H—ELECTRICITY
- H02—GENERATION; CONVERSION OR DISTRIBUTION OF ELECTRIC POWER
- H02B—BOARDS, SUBSTATIONS OR SWITCHING ARRANGEMENTS FOR THE SUPPLY OR DISTRIBUTION OF ELECTRIC POWER
- H02B1/00—Frameworks, boards, panels, desks, casings; Details of substations or switching arrangements
- H02B1/26—Casings; Parts thereof or accessories therefor
- H02B1/46—Boxes; Parts thereof or accessories therefor
-
- H—ELECTRICITY
- H02—GENERATION; CONVERSION OR DISTRIBUTION OF ELECTRIC POWER
- H02B—BOARDS, SUBSTATIONS OR SWITCHING ARRANGEMENTS FOR THE SUPPLY OR DISTRIBUTION OF ELECTRIC POWER
- H02B1/00—Frameworks, boards, panels, desks, casings; Details of substations or switching arrangements
- H02B1/26—Casings; Parts thereof or accessories therefor
- H02B1/46—Boxes; Parts thereof or accessories therefor
- H02B1/48—Mounting of devices therein
-
- Y—GENERAL TAGGING OF NEW TECHNOLOGICAL DEVELOPMENTS; GENERAL TAGGING OF CROSS-SECTIONAL TECHNOLOGIES SPANNING OVER SEVERAL SECTIONS OF THE IPC; TECHNICAL SUBJECTS COVERED BY FORMER USPC CROSS-REFERENCE ART COLLECTIONS [XRACs] AND DIGESTS
- Y04—INFORMATION OR COMMUNICATION TECHNOLOGIES HAVING AN IMPACT ON OTHER TECHNOLOGY AREAS
- Y04S—SYSTEMS INTEGRATING TECHNOLOGIES RELATED TO POWER NETWORK OPERATION, COMMUNICATION OR INFORMATION TECHNOLOGIES FOR IMPROVING THE ELECTRICAL POWER GENERATION, TRANSMISSION, DISTRIBUTION, MANAGEMENT OR USAGE, i.e. SMART GRIDS
- Y04S10/00—Systems supporting electrical power generation, transmission or distribution
- Y04S10/40—Display of information, e.g. of data or controls
Landscapes
- Engineering & Computer Science (AREA)
- Power Engineering (AREA)
- Distribution Board (AREA)
Abstract
本发明公开了一种基于通信机柜的智能电源分配装置,包括通信机柜,通信机柜的内部设置有电源分配箱体,电源分配箱体的前端中部设置有接口端,承接板的中部设置有插槽,承接板的一侧中部设置有固定组件,电源分配箱体的前端且位于接口端的一端对应设置有卡位装置,卡位装置包括位于接口端一端对应的限位板,限位板的两侧均设置有与插槽对应的卡板,卡板的中部设置有定位孔,限位板的中部上端设置有若干限位槽,限位板的内部设置有与限位槽相对应的线卡组件,限位板与卡板之间设置有弹性组件。有益效果:有效的避免了外界拉扯力容易使得导线端头与电源分配箱连接处脱离影响电源分配箱正常使用的问题。
Description
技术领域
本发明涉及电源分配技术领域,具体来说,涉及一种基于通信机柜的智能电源分配装置。
背景技术
随着电力通信承载业务的重要程度日益提高,通信设备电源在电力系统通信模块占据着重要位置,在科学技术飞速发展和通信理论不断完善的前提下,我国电力通信电源也得到了进一步提升,并朝着设备一体化、组网监控、免维修等方面发展。
目前因机柜中电源分配装置的数量与位置而限制架设位置,也导致于电源线及其它配线导线无法妥善的安置,使得电源分配箱对于配线导线连接处没有较好的导线固定机构,导线端头与电源分配箱的连接处容易受到外力的拉扯使两者产生脱离,因此,电源分配装置插孔位置没有防护措施,容易造成安全事故。
针对相关技术中的问题,目前尚未提出有效的解决方案。
发明内容
针对相关技术中的问题,本发明提出一种基于通信机柜的智能电源分配装置,以克服现有相关技术所存在的上述技术问题。
为此,本发明采用的具体技术方案如下:
一种基于通信机柜的智能电源分配装置,包括通信机柜,所述通信机柜的内部设置有电源分配箱体,所述电源分配箱体的前端中部设置有接口端,所述接口端上设置有若干连接插孔,所述接口端的上端一侧设置有显示屏,所述电源分配箱体的前端且位于所述接口端的两侧均设置有承接板,所述承接板的中部设置有插槽,所述承接板的一侧中部设置有固定组件,所述电源分配箱体的前端且位于所述接口端的一端对应设置有卡位装置,所述卡位装置包括位于所述接口端一端对应的限位板,所述限位板的两侧均设置有与所述插槽对应的卡板,所述卡板的中部设置有定位孔,所述限位板的中部上端设置有若干限位槽,所述限位板的内部设置有与所述限位槽相对应的线卡组件,所述限位板与所述卡板之间设置有弹性组件,所述通信机柜内设置有与所述电源分配箱体连接的电路板,所述电路板通过继电器、交流接触器一和交流接触器二与所述接口端连接,所述电路板上设置有分配控制电路。
进一步的,所述电源分配箱体的前端两侧均设置有安装板,所述安装板的中部两侧均设置有安装孔,所述安装板与所述电源分配箱体之间固定连接。
进一步的,所述电源分配箱体的前端且位于所述接口端的上方设置有状态警示灯,所述状态警示灯的数量为六个。
进一步的,所述固定组件包括位于所述承接板一侧的连接筒,所述连接筒的中部穿插设置有贯穿所述承接板一侧并延伸至所述插槽内部的定位杆,所述定位杆与所述定位孔相对应卡接。
进一步的,所述连接筒的中部另一端设置有贯穿设置的拉动杆,所述拉动杆与所述定位杆之间设置有活动板,所述活动板与所述拉动杆和所述定位杆之间为固定连接结构,所述拉动杆位于所述连接筒的内部且位于所述活动板的一侧套设有弹簧一,所述拉动杆的一端设置有拉环。
进一步的,所述连接筒的上端一侧中部设置有竖筒,所述竖筒的中部设置有穿插所述连接筒的竖杆,所述竖杆位于所述竖筒内部的下端设置有升降板,所述竖杆位于所述升降板的上端套设有弹簧二,所述竖杆的顶端设置有拉杆。
进一步的,所述线卡组件包括位于所述限位板内部的活动腔,所述限位板的下端设置有穿插所述活动腔的内部中部的转动杆,所述转动杆的顶端设置有连动螺杆,所述活动腔的中部且位于所述连动螺杆的顶端设置有固定杆,所述固定杆的两端均设置有支撑轴件。
进一步的,所述连动螺杆的中部套设有内螺纹块,所述固定杆的两端均设置有与所述支撑轴件相配合连接的摆动杆,所述摆动杆的一端设置有交错设置有连动板,所述连动板的相对应之间均设置有连动块,所述内螺纹块的两端与所述连动块之间通过活动轴相配合连接。
进一步的,所述摆动杆的中部相对应之间设置有伸缩杆,所述伸缩杆两端与所述摆动杆之间通过连接轴件相配合连接,所述摆动杆的前端之间设置有压块,所述压块的前端对应之间设置有弧形卡块,所述弧形卡块的对应前端均设置有防滑耐磨垫,所述弧形卡块与连接导线端头后侧的连接导线相连接。
进一步的,所述弹性组件包括位于所述限位板两侧内部的活动槽,所述卡板穿插所述活动槽的一端中部的开口槽,所述卡板位于所述活动槽的中部设置有移动板,所述移动板的两端均设置有若干弹簧三。
本发明的有益效果为:通过限位槽与连接导线的端头处稳固的抵接在一起,弧形卡块对中部的连接导线进行卡紧,从而达到了线卡的作用,提高了两者之间的连接稳固性,有效的避免了外界拉扯力容易使得导线端头与电源分配箱连接处脱离影响电源分配箱正常使用的问题,同时,也有助于对连接导线的卡接,避免出现连接导线交叉的现象。
附图说明
为了更清楚地说明本发明实施例或现有技术中的技术方案,下面将对实施例中所需要使用的附图作简单地介绍,显而易见地,下面描述中的附图仅仅是本发明的一些实施例,对于本领域普通技术人员来讲,在不付出创造性劳动的前提下,还可以根据这些附图获得其他的附图。
图1是根据本发明实施例的一种基于通信机柜的智能电源分配装置的结构示意图;
图2是根据本发明实施例的一种基于通信机柜的智能电源分配装置的通信机柜示意图;
图3是根据本发明实施例的一种基于通信机柜的智能电源分配装置的电源分配箱体示意图;
图4是根据本发明实施例的一种基于通信机柜的智能电源分配装置的限位板示意图;
图5是根据本发明实施例的一种基于通信机柜的智能电源分配装置的承接板示意图;
图6是根据本发明实施例的一种基于通信机柜的智能电源分配装置的固定组件示意图;
图7是根据本发明实施例的一种基于通信机柜的智能电源分配装置的线卡组件示意图;
图8是根据本发明实施例的一种基于通信机柜的智能电源分配装置的内螺纹块示意图;
图9是根据本发明实施例的一种基于通信机柜的智能电源分配装置的弹性组件示意图;
图10是根据本发明实施例的一种基于通信机柜的智能电源分配装置的电路板的电路图。
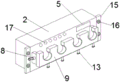
图中:
1、通信机柜;2、电源分配箱体;3、接口端;4、连接插孔;5、显示屏;6、承接板;7、插槽;8、固定组件;9、限位板;10、卡板;11、定位孔;12、限位槽;13、线卡组件;14、弹性组件;15、安装板;16、安装孔;17、状态警示灯;18、连接筒;19、定位杆;20、拉动杆;21、活动板;22、弹簧一;23、拉环;24、竖筒;25、竖杆;26、升降板;27、弹簧二;28、拉杆;29、转动杆;30、连动螺杆;31、固定杆;32、支撑轴件;33、内螺纹块;34、摆动杆;35、连动板;36、连动块;37、伸缩杆;38、连接轴件;39、压块;40、弧形卡块;41、防滑耐磨垫;42、活动槽;43、移动板;44、弹簧三。
具体实施方式
为进一步说明各实施例,本发明提供有附图,这些附图为本发明揭露内容的一部分,其主要用以说明实施例,并可配合说明书的相关描述来解释实施例的运作原理,配合参考这些内容,本领域普通技术人员应能理解其他可能的实施方式以及本发明的优点,图中的组件并未按比例绘制,而类似的组件符号通常用来表示类似的组件。
根据本发明的实施例,提供了一种基于通信机柜的智能电源分配装置。
实施例一:
如图1-10所示,根据本发明实施例的基于通信机柜的智能电源分配装置,包括通信机柜1,所述通信机柜1的内部设置有电源分配箱体2,所述电源分配箱体2的前端中部设置有接口端3,所述接口端3上设置有若干连接插孔4,所述接口端3的上端一侧设置有显示屏5,所述电源分配箱体2的前端且位于所述接口端3的两侧均设置有承接板6,所述承接板6的中部设置有插槽7,所述承接板6的一侧中部设置有固定组件8,所述电源分配箱体2的前端且位于所述接口端3的一端对应设置有卡位装置,所述卡位装置包括位于所述接口端3一端对应的限位板9,所述限位板9的两侧均设置有与所述插槽7对应的卡板10,所述卡板10的中部设置有定位孔11,所述限位板9的中部上端设置有若干限位槽12,所述限位板9的内部设置有与所述限位槽12相对应的线卡组件13,所述限位板9与所述卡板10之间设置有弹性组件14,所述通信机柜1内设置有与所述电源分配箱体2连接的电路板,所述电路板通过继电器、交流接触器一和交流接触器二与所述接口端3连接,所述电路板上设置有分配控制电路。
借助于上述技术方案,通过先将连接导线的端头插入到连接插孔4上,再将限位板9上的限位槽12顺着连接导线下端靠近电源分配箱体2的前端,通过将卡板10与承接板6通过固定组件8卡接连接,使得限位板9的限位槽12套接在连接导线端头后侧的连接导线外,通过两侧弹性组件14内的弹簧三44进一步的对连接导线的端头处进行适当挤压限位,能够使得连接导线的端头处与限位槽12稳固的抵接在一起,通过对转动杆29进行转动,进而连动上端的连动螺杆30对内螺纹块33进行调节,从而使得内螺纹块33对两端的连动块36在活动轴下进行调节,进而使得两端的连动板35带动摆动杆34进行摆动调节距离,同时,中部的伸缩杆37进行收缩,进而使得弧形卡块40对中部的连接导线进行卡紧,从而达到了线卡的作用,提高了两者之间的连接稳固性,有效的避免了外界拉扯力容易使得导线端头与电源分配箱连接处脱离影响电源分配箱正常使用的问题;
通过拉动竖杆25,使得升降板26对弹簧二27压缩,将整个竖杆25从连接筒18内收缩,再拉动下端拉动杆20对活动板21和定位杆19向一侧移动,拉动到位于竖杆25的一侧,松开拉杆28将竖杆25下降,使得对活动板21进行限位,进而使得定位杆19从卡板10的定位孔11中抽出,从而对承接板6和卡板10进行拆开,能够实现之间限位板9与电源分配箱体2的快速拆装,便于使用。
实施例二:
如图1-10所示,所述电源分配箱体2的前端两侧均设置有安装板15,所述安装板15的中部两侧均设置有安装孔16,所述安装板15与所述电源分配箱体2之间固定连接。所述电源分配箱体2的前端且位于所述接口端3的上方设置有状态警示灯17,所述状态警示灯17的数量为六个。所述固定组件8包括位于所述承接板6一侧的连接筒18,所述连接筒18的中部穿插设置有贯穿所述承接板6一侧并延伸至所述插槽7内部的定位杆19,所述定位杆19与所述定位孔11相对应卡接。所述连接筒18的中部另一端设置有贯穿设置的拉动杆20,所述拉动杆20与所述定位杆19之间设置有活动板21,所述活动板21与所述拉动杆20和所述定位杆19之间为固定连接结构,所述拉动杆20位于所述连接筒18的内部且位于所述活动板21的一侧套设有弹簧一22,所述拉动杆20的一端设置有拉环23。所述连接筒18的上端一侧中部设置有竖筒24,所述竖筒24的中部设置有穿插所述连接筒18的竖杆25,所述竖杆25位于所述竖筒24内部的下端设置有升降板26,所述竖杆25位于所述升降板26的上端套设有弹簧二27,所述竖杆25的顶端设置有拉杆28。
如图1-10所示,所述线卡组件13包括位于所述限位板9内部的活动腔,所述限位板9的下端设置有穿插所述活动腔的内部中部的转动杆29,所述转动杆29的顶端设置有连动螺杆30,所述活动腔的中部且位于所述连动螺杆30的顶端设置有固定杆31,所述固定杆31的两端均设置有支撑轴件32。所述连动螺杆30的中部套设有内螺纹块33,所述固定杆31的两端均设置有与所述支撑轴件32相配合连接的摆动杆34,所述摆动杆34的一端设置有交错设置有连动板35,所述连动板35的相对应之间均设置有连动块36,所述内螺纹块33的两端与所述连动块36之间通过活动轴相配合连接。所述摆动杆34的中部相对应之间设置有伸缩杆37,所述伸缩杆37两端与所述摆动杆34之间通过连接轴件38相配合连接,所述摆动杆34的前端之间设置有压块39,所述压块39的前端对应之间设置有弧形卡块40,所述弧形卡块40的对应前端均设置有防滑耐磨垫41,所述弧形卡块40与连接导线端头后侧的连接导线相连接。所述弹性组件14包括位于所述限位板9两侧内部的活动槽42,所述卡板10穿插所述活动槽42的一端中部的开口槽,所述卡板10位于所述活动槽42的中部设置有移动板43,所述移动板43的两端均设置有若干弹簧三44。
为了方便理解本发明的上述技术方案,以下就本发明在实际过程中的工作原理或者操作方式进行详细说明。
在实际应用时,通过先将连接导线的端头插入到连接插孔4上,再将限位板9上的限位槽12顺着连接导线下端靠近电源分配箱体2的前端,通过将卡板10与承接板6通过固定组件8卡接连接,使得限位板9的限位槽12套接在连接导线端头后侧的连接导线外,通过两侧弹性组件14内的弹簧三44进一步的对连接导线的端头处进行适当挤压限位,能够使得连接导线的端头处与限位槽12稳固的抵接在一起,通过对转动杆29进行转动,进而连动上端的连动螺杆30对内螺纹块33进行调节,从而使得内螺纹块33对两端的连动块36在活动轴下进行调节,进而使得两端的连动板35带动摆动杆34进行摆动调节距离,同时,中部的伸缩杆37进行收缩,进而使得弧形卡块40对中部的连接导线进行卡紧,从而达到了线卡的作用,提高了两者之间的连接稳固性,有效的避免了外界拉扯力容易使得导线端头与电源分配箱连接处脱离影响电源分配箱正常使用的问题;
通过拉动竖杆25,使得升降板26对弹簧二27压缩,将整个竖杆25从连接筒18内收缩,再拉动下端拉动杆20对活动板21和定位杆19向一侧移动,拉动到位于竖杆25的一侧,松开拉杆28将竖杆25下降,使得对活动板21进行限位,进而使得定位杆19从卡板10的定位孔11中抽出,从而对承接板6和卡板10进行拆开,能够实现之间限位板9与电源分配箱体2的快速拆装,便于使用。
综上所述,借助于本发明的上述技术方案,通过限位槽12与连接导线的端头处稳固的抵接在一起,弧形卡块40对中部的连接导线进行卡紧,从而达到了线卡的作用,提高了两者之间的连接稳固性,有效的避免了外界拉扯力容易使得导线端头与电源分配箱连接处脱离影响电源分配箱正常使用的问题,同时,也有助于对连接导线的卡接,避免出现连接导线交叉的现象。
以上所述仅为本发明的较佳实施例而已,并不用以限制本发明,凡在本发明的精神和原则之内,所作的任何修改、等同替换、改进等,均应包含在本发明的保护范围之内。
Claims (7)
1.一种基于通信机柜的智能电源分配装置,其特征在于,包括通信机柜(1),所述通信机柜(1)的内部设置有电源分配箱体(2),所述电源分配箱体(2)的前端中部设置有接口端(3),所述接口端(3)上设置有若干连接插孔(4),所述接口端(3)的上端一侧设置有显示屏(5),所述电源分配箱体(2)的前端且位于所述接口端(3)的两侧均设置有承接板(6),所述承接板(6)的中部设置有插槽(7),所述承接板(6)的一侧中部设置有固定组件(8),所述电源分配箱体(2)的前端且位于所述接口端(3)的一端对应设置有卡位装置,所述卡位装置包括位于所述接口端(3)一端对应的限位板(9),所述限位板(9)的两侧均设置有与所述插槽(7)对应的卡板(10),所述卡板(10)的中部设置有定位孔(11),所述限位板(9)的中部上端设置有若干限位槽(12),所述限位板(9)的内部设置有与所述限位槽(12)相对应的线卡组件(13),所述限位板(9)与所述卡板(10)之间设置有弹性组件(14),所述通信机柜(1)内设置有与所述电源分配箱体(2)连接的电路板,所述电路板通过继电器、交流接触器一和交流接触器二与所述接口端(3)连接,所述电路板上设置有分配控制电路;所述固定组件(8)包括位于所述承接板(6)一侧的连接筒(18),所述连接筒(18)的中部穿插设置有贯穿所述承接板(6)一侧并延伸至所述插槽(7)内部的定位杆(19),所述定位杆(19)与所述定位孔(11)相对应卡接;所述连接筒(18)的中部另一端设置有贯穿设置的拉动杆(20),所述拉动杆(20)与所述定位杆(19)之间设置有活动板(21),所述活动板(21)与所述拉动杆(20)和所述定位杆(19)之间为固定连接结构,所述拉动杆(20)位于所述连接筒(18)的内部且位于所述活动板(21)的一侧套设有弹簧一(22),所述拉动杆(20)的一端设置有拉环(23);所述连接筒(18)的上端一侧中部设置有竖筒(24),所述竖筒(24)的中部设置有穿插所述连接筒(18)的竖杆(25),所述竖杆(25)位于所述竖筒(24)内部的下端设置有升降板(26),所述竖杆(25)位于所述升降板(26)的上端套设有弹簧二(27),所述竖杆(25)的顶端设置有拉杆(28)。
2.根据权利要求1所述的一种基于通信机柜的智能电源分配装置,其特征在于,所述电源分配箱体(2)的前端两侧均设置有安装板(15),所述安装板(15)的中部两侧均设置有安装孔(16),所述安装板(15)与所述电源分配箱体(2)之间固定连接。
3.根据权利要求1所述的一种基于通信机柜的智能电源分配装置,其特征在于,所述电源分配箱体(2)的前端且位于所述接口端(3)的上方设置有状态警示灯(17),所述状态警示灯(17)的数量为六个。
4.根据权利要求1所述的一种基于通信机柜的智能电源分配装置,其特征在于,所述线卡组件(13)包括位于所述限位板(9)内部的活动腔,所述限位板(9)的下端设置有穿插所述活动腔的内部中部的转动杆(29),所述转动杆(29)的顶端设置有连动螺杆(30),所述活动腔的中部且位于所述连动螺杆(30)的顶端设置有固定杆(31),所述固定杆(31)的两端均设置有支撑轴件(32)。
5.根据权利要求4所述的一种基于通信机柜的智能电源分配装置,其特征在于,所述连动螺杆(30)的中部套设有内螺纹块(33),所述固定杆(31)的两端均设置有与所述支撑轴件(32)相配合连接的摆动杆(34),所述摆动杆(34)的一端设置有交错设置有连动板(35),所述连动板(35)的相对应之间均设置有连动块(36),所述内螺纹块(33)的两端与所述连动块(36)之间通过活动轴相配合连接。
6.根据权利要求5所述的一种基于通信机柜的智能电源分配装置,其特征在于,所述摆动杆(34)的中部相对应之间设置有伸缩杆(37),所述伸缩杆(37)两端与所述摆动杆(34)之间通过连接轴件(38)相配合连接,所述摆动杆(34)的前端之间设置有压块(39),所述压块(39)的前端对应之间设置有弧形卡块(40),所述弧形卡块(40)的对应前端均设置有防滑耐磨垫(41),所述弧形卡块(40)与连接导线端头后侧的连接导线相连接。
7.根据权利要求1所述的一种基于通信机柜的智能电源分配装置,其特征在于,所述弹性组件(14)包括位于所述限位板(9)两侧内部的活动槽(42),所述卡板(10)穿插所述活动槽(42)的一端中部的开口槽,所述卡板(10)位于所述活动槽(42)的中部设置有移动板(43),所述移动板(43)的两端均设置有若干弹簧三(44)。
Priority Applications (1)
| Application Number | Priority Date | Filing Date | Title |
|---|---|---|---|
| CN202210549856.9A CN114976772B (zh) | 2022-05-20 | 2022-05-20 | 一种基于通信机柜的智能电源分配装置 |
Applications Claiming Priority (1)
| Application Number | Priority Date | Filing Date | Title |
|---|---|---|---|
| CN202210549856.9A CN114976772B (zh) | 2022-05-20 | 2022-05-20 | 一种基于通信机柜的智能电源分配装置 |
Publications (2)
| Publication Number | Publication Date |
|---|---|
| CN114976772A CN114976772A (zh) | 2022-08-30 |
| CN114976772B true CN114976772B (zh) | 2023-03-24 |
Family
ID=82986232
Family Applications (1)
| Application Number | Title | Priority Date | Filing Date |
|---|---|---|---|
| CN202210549856.9A Active CN114976772B (zh) | 2022-05-20 | 2022-05-20 | 一种基于通信机柜的智能电源分配装置 |
Country Status (1)
| Country | Link |
|---|---|
| CN (1) | CN114976772B (zh) |
Family Cites Families (7)
| Publication number | Priority date | Publication date | Assignee | Title |
|---|---|---|---|---|
| CN105703136B (zh) * | 2016-01-19 | 2018-12-25 | 宁波腾浪网络通信设备有限公司 | 电源分配装置 |
| CN206041086U (zh) * | 2016-09-05 | 2017-03-22 | 国家电网公司 | 一种多功能单独插拔式pdu |
| JP6970943B2 (ja) * | 2018-04-25 | 2021-11-24 | パナソニックIpマネジメント株式会社 | コンセント |
| CN208489414U (zh) * | 2018-07-20 | 2019-02-12 | 国家电网有限公司 | 一种电源分配装置 |
| CN210156682U (zh) * | 2019-07-17 | 2020-03-17 | 江西省邮电规划设计院有限公司 | 一种通信机柜电源分配装置 |
| CN212874968U (zh) * | 2020-08-18 | 2021-04-02 | 南京道尔斯特电气有限公司 | 一种具有远程控制功能的工业pdu |
| CN214754717U (zh) * | 2021-04-30 | 2021-11-16 | 佛山容纳科技有限公司 | 一种智能型机柜电源分配装置 |
-
2022
- 2022-05-20 CN CN202210549856.9A patent/CN114976772B/zh active Active
Also Published As
| Publication number | Publication date |
|---|---|
| CN114976772A (zh) | 2022-08-30 |
Similar Documents
| Publication | Publication Date | Title |
|---|---|---|
| CN219123592U (zh) | 一种低压配电接入结构 | |
| CN114976772B (zh) | 一种基于通信机柜的智能电源分配装置 | |
| CN214957402U (zh) | 一种用于配电线路的接地装置 | |
| CN211742858U (zh) | 一种干式变压器抗震支撑结构 | |
| CN220413181U (zh) | 皮秒激光玻璃切割设备 | |
| CN114135778B (zh) | 一种户外通信设备便于取下检修的安装支架 | |
| CN215136366U (zh) | 一种消防泵自动巡检设备 | |
| CN115799851A (zh) | 一种新型电触头及其使用方法 | |
| CN210451553U (zh) | 一种开关电源生产用焊接装置 | |
| CN212258252U (zh) | 一种输电线路直线杆架空地线检修支架 | |
| CN211654435U (zh) | 一种方便安装的绝缘子 | |
| CN220073849U (zh) | 一种光器件尾纤拆解装置 | |
| CN218918749U (zh) | 一种柱上断路器安装结构 | |
| CN215221218U (zh) | 一种安全性高的卡接灯座 | |
| CN208186270U (zh) | 一种led雨棚灯的电板结构 | |
| CN223039583U (zh) | 一种卡接式低压母线槽 | |
| CN114156673B (zh) | 一种用于变电站维护的接地线拆装装置 | |
| CN212723932U (zh) | 一种数据中心用配电设备 | |
| CN220123148U (zh) | 一种环保的电路板表面处理挂架 | |
| CN207116954U (zh) | 具有节能灯具的新型电力柜 | |
| CN221261309U (zh) | 智能系统光纤现场对接装置 | |
| CN216384056U (zh) | 一种便于安装固定的发光二极管 | |
| CN212725189U (zh) | 一种可调节的断路器的支架 | |
| CN112803306B (zh) | 配电柜引线器及其配电柜 | |
| CN216805189U (zh) | 一种方便更换绝缘子的高铁接触网支架 |
Legal Events
| Date | Code | Title | Description |
|---|---|---|---|
| PB01 | Publication | ||
| PB01 | Publication | ||
| SE01 | Entry into force of request for substantive examination | ||
| SE01 | Entry into force of request for substantive examination | ||
| GR01 | Patent grant | ||
| GR01 | Patent grant |