CN114962555A - Idler shaft supporting structure - Google Patents
Idler shaft supporting structure Download PDFInfo
- Publication number
- CN114962555A CN114962555A CN202210747077.XA CN202210747077A CN114962555A CN 114962555 A CN114962555 A CN 114962555A CN 202210747077 A CN202210747077 A CN 202210747077A CN 114962555 A CN114962555 A CN 114962555A
- Authority
- CN
- China
- Prior art keywords
- idler shaft
- support point
- idler
- end cover
- gear
- Prior art date
- Legal status (The legal status is an assumption and is not a legal conclusion. Google has not performed a legal analysis and makes no representation as to the accuracy of the status listed.)
- Pending
Links
Images
Classifications
-
- F—MECHANICAL ENGINEERING; LIGHTING; HEATING; WEAPONS; BLASTING
- F16—ENGINEERING ELEMENTS AND UNITS; GENERAL MEASURES FOR PRODUCING AND MAINTAINING EFFECTIVE FUNCTIONING OF MACHINES OR INSTALLATIONS; THERMAL INSULATION IN GENERAL
- F16H—GEARING
- F16H1/00—Toothed gearings for conveying rotary motion
- F16H1/02—Toothed gearings for conveying rotary motion without gears having orbital motion
- F16H1/20—Toothed gearings for conveying rotary motion without gears having orbital motion involving more than two intermeshing members
- F16H1/22—Toothed gearings for conveying rotary motion without gears having orbital motion involving more than two intermeshing members with a plurality of driving or driven shafts; with arrangements for dividing torque between two or more intermediate shafts
-
- F—MECHANICAL ENGINEERING; LIGHTING; HEATING; WEAPONS; BLASTING
- F16—ENGINEERING ELEMENTS AND UNITS; GENERAL MEASURES FOR PRODUCING AND MAINTAINING EFFECTIVE FUNCTIONING OF MACHINES OR INSTALLATIONS; THERMAL INSULATION IN GENERAL
- F16H—GEARING
- F16H57/00—General details of gearing
- F16H57/02—Gearboxes; Mounting gearing therein
- F16H57/021—Shaft support structures, e.g. partition walls, bearing eyes, casing walls or covers with bearings
-
- F—MECHANICAL ENGINEERING; LIGHTING; HEATING; WEAPONS; BLASTING
- F16—ENGINEERING ELEMENTS AND UNITS; GENERAL MEASURES FOR PRODUCING AND MAINTAINING EFFECTIVE FUNCTIONING OF MACHINES OR INSTALLATIONS; THERMAL INSULATION IN GENERAL
- F16H—GEARING
- F16H57/00—General details of gearing
- F16H57/02—Gearboxes; Mounting gearing therein
- F16H57/023—Mounting or installation of gears or shafts in the gearboxes, e.g. methods or means for assembly
Landscapes
- Engineering & Computer Science (AREA)
- General Engineering & Computer Science (AREA)
- Mechanical Engineering (AREA)
- General Details Of Gearings (AREA)
Abstract
本发明涉及一种惰轮轴支承结构,涉及工程机械发动机的领域,其包括分动箱,分动箱上设有惰轮轴、分别与惰轮轴两端支承配合的第一端盖和第二端盖。本发明满足惰齿轮的固定及动力传输,且为双板支撑结构,齿轮受载后轴不易产生弯曲变形,有效提高齿轮和轴承零件的可靠性。
The invention relates to an idler shaft supporting structure, and relates to the field of engineering machinery engines. . The invention satisfies the fixation and power transmission of the idler gear, and is a double-plate support structure, the shaft is not easily deformed after the gear is loaded, and the reliability of the gear and bearing parts is effectively improved.
Description
技术领域technical field
本发明涉及工程机械发动机的领域,尤其是涉及一种工程机械发动机中惰轮轴的支承结构。The invention relates to the field of construction machinery engines, in particular to a support structure for idler shafts in construction machinery engines.
背景技术Background technique
在工程机械发动机中,除了飞轮进行动力输出,还有其他接口传递动力,为满足动力传动,惰齿轮需存在于曲轴主动齿轮和分动力输出齿轮之间。惰齿轮通常安装在惰轮轴上,惰轮轴固定在分动箱上。In the construction machinery engine, in addition to the flywheel for power output, there are other interfaces to transmit power. In order to meet the power transmission, the idler gear needs to exist between the crankshaft driving gear and the split power output gear. The idler gear is usually mounted on the idler shaft, which is fixed to the transfer case.
如附图1至附图4所示,现有发动机上惰轮轴是单边支承,即惰轮轴仅左侧支承在分动箱上。具体结构为:惰轮轴6通过三颗均布的螺栓9固定在分动箱5上;双列圆锥滚子轴承7装在惰轮轴6上,左侧用惰轮轴6的凸台定位,右侧用惰齿轮轴压板10和螺栓9固定;惰齿轮4安装在双列圆锥滚子轴承7上。As shown in Figures 1 to 4, the idler shaft on the existing engine is unilaterally supported, that is, only the left side of the idler shaft is supported on the transfer case. The specific structure is: the
该结构中惰轮轴6仅左侧有支撑,即惰轮轴6左侧圆柱面21支承在分动箱5的第一光孔15上,三颗螺栓9通过惰轮轴6上均布的三个第二光孔16将惰轮轴6紧固在分动箱上的螺纹孔20内。In this structure, the
该结构虽满足了惰齿轮的固定及动力传输,但:单边支撑,轴为悬臂结构,齿轮受载后,轴易产生弯曲变形,齿轮和轴承随着倾斜,造成齿轮和轴撑承受载荷不均匀,影响齿轮和轴承零件的可靠性。Although this structure satisfies the fixation and power transmission of the idler gear, it is supported on one side and the shaft is a cantilever structure. After the gear is loaded, the shaft is prone to bending deformation, and the gear and bearing are inclined with the inclination, causing the gear and the bearing to bear the load. uniform, affecting the reliability of gear and bearing parts.
发明内容SUMMARY OF THE INVENTION
本发明的目的在于提供一种惰轮轴双边支承的结构,使结构中的惰轮轴两侧均有支承点,提高齿轮和轴承零件的可靠性。The purpose of the present invention is to provide a double-sided supporting structure of the idler shaft, so that there are supporting points on both sides of the idler shaft in the structure, so as to improve the reliability of gears and bearing parts.
为了达到上述目的,本发明的技术方案提供了一种惰轮轴支承结构,包括分动箱,所述分动箱上设有惰轮轴、分别与所述惰轮轴两端支承配合的第一端盖和第二端盖。In order to achieve the above purpose, the technical solution of the present invention provides an idler shaft support structure, including a transfer case, the transfer case is provided with an idler shaft and a first end cover which is respectively supported and matched with both ends of the idler shaft and second end cap.
优选的,所述惰轮轴两端分别设有第一支承点和第二支承点,所述第一端盖设有与所述第一支承点配合的第一光孔,所述第二端盖设有与所述第二支承点配合的第二光孔。Preferably, both ends of the idler shaft are respectively provided with a first support point and a second support point, the first end cover is provided with a first light hole matched with the first support point, and the second end cover is provided with a first light hole matched with the first support point. A second light hole matched with the second support point is provided.
优选的,所述惰轮轴设有凸台,所述第二支承点设于所述凸台外圈。Preferably, the idler shaft is provided with a boss, and the second support point is set on the outer ring of the boss.
优选的,所述惰轮轴套设有双列圆锥滚子轴承,所述双列圆锥滚子轴承位于所述第一端盖与所述凸台之间。Preferably, the idler shaft sleeve is provided with a double-row tapered roller bearing, and the double-row tapered roller bearing is located between the first end cover and the boss.
优选的,所述凸台外圈远离所述第一支承点的位置还设有凸环,所述凸环抵接所述第二端盖远离所述第一端盖的表面。Preferably, the outer ring of the boss is further provided with a convex ring at a position away from the first support point, and the convex ring abuts the surface of the second end cap away from the first end cap.
优选的,所述惰轮轴在所述第一支承点所在端部还设有螺纹,所述第一端盖设有与所述螺纹配合的螺纹孔。Preferably, the idler shaft is further provided with a thread at the end where the first support point is located, and the first end cover is provided with a threaded hole matched with the thread.
优选的,所述螺纹位于所述第一支承点远离所述第二支承点位置,所述螺纹孔位于所述第一光孔远离所述第二光孔位置。Preferably, the thread is located at a position where the first support point is far away from the second support point, and the threaded hole is located at a position where the first light hole is far away from the second light hole.
优选的,所述螺纹规格为M47.5x2,所述螺纹孔规格为M48x2。Preferably, the thread size is M47.5x2, and the threaded hole size is M48x2.
综上所述,本发明包括以下有益技术效果:To sum up, the present invention includes the following beneficial technical effects:
本发明满足惰齿轮的固定及动力传输功能,且为双板支撑结构,齿轮受载后轴不易产生弯曲变形,有效提高齿轮和轴承零件的可靠性。The invention satisfies the fixing and power transmission functions of the idler gear, and is a double-plate support structure, so that the shaft is not easily deformed after the gear is loaded, and the reliability of the gear and bearing parts is effectively improved.
附图说明Description of drawings
图1是现有技术中的装配图;Fig. 1 is the assembly drawing in the prior art;
图2是图1中A区放大示意图;Fig. 2 is the enlarged schematic diagram of A area in Fig. 1;
图3是现有技术中的分动箱的剖视图;3 is a cross-sectional view of a transfer case in the prior art;
图4是现有技术中的惰轮轴的剖视图;4 is a cross-sectional view of an idler shaft in the prior art;
图5是本发明的装配图;Fig. 5 is the assembly drawing of the present invention;
图6是图5中B区放大示意图;Fig. 6 is the enlarged schematic diagram of B area in Fig. 5;
图7是本发明的分动箱的剖视图;Fig. 7 is the sectional view of the transfer case of the present invention;
图8是图7中C区放大示意图;Fig. 8 is the enlarged schematic diagram of C area in Fig. 7;
图9是本发明中的惰轮轴的剖视图。9 is a cross-sectional view of an idler shaft in the present invention.
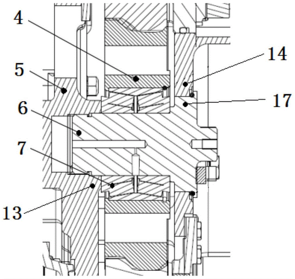
附图标记:1、输出齿轮;2、输出轴;3、主动齿轮;4、惰齿轮;5、分动箱;6、惰轮轴;7、双列圆锥滚子轴承;8、输出齿轮轴;9、螺栓;10、惰齿轮轴压板;11、第一支承点;12、第二支承点;13、第一端盖;14、第二端盖;15、第一光孔;16、第二光孔;17、凸台;18、凸环;19、螺纹;20、螺纹孔;21、圆柱面。Reference numerals: 1, output gear; 2, output shaft; 3, driving gear; 4, idler gear; 5, transfer case; 6, idler shaft; 7, double row tapered roller bearing; 8, output gear shaft; 9. Bolt; 10. Idler gear shaft pressure plate; 11. The first support point; 12, The second support point; 13, The first end cover; 14, The second end cover; 15, The first light hole; 16, The second Light hole; 17, boss; 18, convex ring; 19, thread; 20, threaded hole; 21, cylindrical surface.
具体实施方式Detailed ways
以下结合附图5至附图9对本发明作进一步详细说明。The present invention will be further described in detail below with reference to Fig. 5 to Fig. 9 .
本发明实施例公开一种惰轮轴支承结构,包括分动箱5,分动箱5上设有输出轴2、主动齿轮3、设于输出轴2与主动齿轮3之间的惰轮轴6、套设于输出轴2上的输出齿轮1、装设于惰轮轴6上的双列圆锥滚子轴承7、以及套设于双列圆锥滚子轴承7的惰齿轮4。The embodiment of the present invention discloses an idler shaft supporting structure, which includes a
惰轮轴6的一端设有第一支承点11,另一端外周一体成型有凸台17,凸台17外圈设有第二支承点12;分动箱5上设有分别与惰轮轴6两端连接的第一端盖13和第二端盖14;第一端盖13设有与第一支承点11插接配合的第一光孔15,第二端盖14设有与第二支承点12插接配合的第二光孔16。凸台17在外圈远离第一支承点11的位置还设有凸环18,凸环18抵接第二端盖14远离第一端盖13的表面。One end of the
第一端盖13和第二端盖14沿惰轮轴6轴向分别位于双列圆锥滚子轴承7的两侧,双列圆锥滚子轴承7的左侧用分动箱5的第一端盖13定位,右侧用惰轮轴6的凸台17定位;惰齿轮4装在双列圆锥滚子轴承7上。实现动力由主动齿轮3经过惰齿轮4传递到输出齿轮1,最终由输出轴2输出。The
此外,惰轮轴6远离凸台17的端部还设有螺纹19,螺纹19位于第一支承点11远离第二支承点12一侧,第一端盖13在第一光孔15内侧还设有与螺纹19配合的螺纹孔20。In addition, the end of the
惰轮轴6的第一支承点11和第二支承点12分别支承在分动箱5的第一光孔15和第二光孔16内,惰轮轴6左侧为M47.5x2的螺纹19,该螺纹19和第一端盖13的M48x2的螺纹孔20配合。通常,同等规格的螺纹19相互配合,在此处采用的是不同规格的螺纹19相互配合,即M48x2的螺纹孔20与M47.5x2的轴配合,即保证了轴的紧固,又解决了惰轮轴6过定位的问题。The
以上均为本发明的较佳实施例,并非依此限制本发明的保护范围,故:凡依本申请的结构、形状、原理所做的等效变化,均应涵盖于本发明的保护范围之内。The above are all preferred embodiments of the present invention, and do not limit the protection scope of the present invention accordingly. Therefore: all equivalent changes made according to the structure, shape and principle of the present application should be included in the protection scope of the present invention. Inside.
Claims (8)
Priority Applications (1)
| Application Number | Priority Date | Filing Date | Title |
|---|---|---|---|
| CN202210747077.XA CN114962555A (en) | 2022-06-29 | 2022-06-29 | Idler shaft supporting structure |
Applications Claiming Priority (1)
| Application Number | Priority Date | Filing Date | Title |
|---|---|---|---|
| CN202210747077.XA CN114962555A (en) | 2022-06-29 | 2022-06-29 | Idler shaft supporting structure |
Publications (1)
| Publication Number | Publication Date |
|---|---|
| CN114962555A true CN114962555A (en) | 2022-08-30 |
Family
ID=82971686
Family Applications (1)
| Application Number | Title | Priority Date | Filing Date |
|---|---|---|---|
| CN202210747077.XA Pending CN114962555A (en) | 2022-06-29 | 2022-06-29 | Idler shaft supporting structure |
Country Status (1)
| Country | Link |
|---|---|
| CN (1) | CN114962555A (en) |
Citations (10)
| Publication number | Priority date | Publication date | Assignee | Title |
|---|---|---|---|---|
| JPS5540369A (en) * | 1978-09-18 | 1980-03-21 | Nissan Motor Co Ltd | Idle gear fixing device of automatic transmission gear |
| KR19980019596U (en) * | 1996-10-04 | 1998-07-15 | 김영귀 | Reverse idle shaft of manual transmission |
| JP2002139134A (en) * | 2000-11-06 | 2002-05-17 | Nissan Motor Co Ltd | Idler gear support structure |
| JP2006275157A (en) * | 2005-03-29 | 2006-10-12 | Fuji Heavy Ind Ltd | Transmission idler gear shaft support structure |
| JP2010190289A (en) * | 2009-02-17 | 2010-09-02 | Aichi Mach Ind Co Ltd | Transmission and manufacturing method thereof |
| DE102013102652A1 (en) * | 2012-03-19 | 2013-09-19 | Suzuki Motor Corp. | Return axle holding structure of a gearbox |
| WO2020238280A1 (en) * | 2019-05-29 | 2020-12-03 | 威海团中变速器有限公司 | Continuously variable transmission |
| CN112343996A (en) * | 2020-11-05 | 2021-02-09 | 中国航发沈阳发动机研究所 | Aeroengine accessory case idler structure |
| CN213655658U (en) * | 2020-10-09 | 2021-07-09 | 龙工(福建)桥箱有限公司 | Loader gearbox idler shaft assembly |
| CN217898659U (en) * | 2022-06-29 | 2022-11-25 | 上海新动力汽车科技股份有限公司 | Idler shaft supporting structure |
-
2022
- 2022-06-29 CN CN202210747077.XA patent/CN114962555A/en active Pending
Patent Citations (10)
| Publication number | Priority date | Publication date | Assignee | Title |
|---|---|---|---|---|
| JPS5540369A (en) * | 1978-09-18 | 1980-03-21 | Nissan Motor Co Ltd | Idle gear fixing device of automatic transmission gear |
| KR19980019596U (en) * | 1996-10-04 | 1998-07-15 | 김영귀 | Reverse idle shaft of manual transmission |
| JP2002139134A (en) * | 2000-11-06 | 2002-05-17 | Nissan Motor Co Ltd | Idler gear support structure |
| JP2006275157A (en) * | 2005-03-29 | 2006-10-12 | Fuji Heavy Ind Ltd | Transmission idler gear shaft support structure |
| JP2010190289A (en) * | 2009-02-17 | 2010-09-02 | Aichi Mach Ind Co Ltd | Transmission and manufacturing method thereof |
| DE102013102652A1 (en) * | 2012-03-19 | 2013-09-19 | Suzuki Motor Corp. | Return axle holding structure of a gearbox |
| WO2020238280A1 (en) * | 2019-05-29 | 2020-12-03 | 威海团中变速器有限公司 | Continuously variable transmission |
| CN213655658U (en) * | 2020-10-09 | 2021-07-09 | 龙工(福建)桥箱有限公司 | Loader gearbox idler shaft assembly |
| CN112343996A (en) * | 2020-11-05 | 2021-02-09 | 中国航发沈阳发动机研究所 | Aeroengine accessory case idler structure |
| CN217898659U (en) * | 2022-06-29 | 2022-11-25 | 上海新动力汽车科技股份有限公司 | Idler shaft supporting structure |
Non-Patent Citations (1)
| Title |
|---|
| 朱春雷: "轴系定位安装工艺", 船舶工业技术经济信息, no. 06, 20 June 2004 (2004-06-20), pages 11 - 14 * |
Similar Documents
| Publication | Publication Date | Title |
|---|---|---|
| US11085509B2 (en) | Bending meshing type gear device | |
| US8758190B2 (en) | Gear assembly with asymmetric flex pin | |
| US8348803B2 (en) | Planetary reduction gear apparatus | |
| CN1813143B (en) | gear unit with planetary carrier | |
| US8216108B2 (en) | Gear assembly with tapered flex pin | |
| US11268604B2 (en) | Gear device and manufacturing method for gear device | |
| CN116717570A (en) | A harmonic reducer, robotic arm and robot | |
| WO2020056963A1 (en) | Speed reducer and robot | |
| CN108799417A (en) | Harmonic speed reducer with flexible roller bearing | |
| JP2010190256A (en) | Step-up planetary gear | |
| CN114962555A (en) | Idler shaft supporting structure | |
| CN217898659U (en) | Idler shaft supporting structure | |
| CN212155664U (en) | Planetary transmission device | |
| CN206988374U (en) | Decelerator | |
| CN201265634Y (en) | Bearing support of coupler gearbox for oil field | |
| CN100588856C (en) | Guiding mechanism based on elastic elements | |
| CN203532697U (en) | Vehicle power driving device | |
| CN209385597U (en) | Harmonic reducer with flexible bearings fully loaded with ball rollers | |
| CN219119746U (en) | A flexible gear sleeve connecting ring | |
| CN207999490U (en) | The mounting structure of bearing and babinet | |
| CN108775382A (en) | Harmonic speed reducer with one group of ball bearing arranged side by side | |
| CN106763645A (en) | Cycloidal pin-wheel drive device and its correction method based on floating pin tooth | |
| CN219119729U (en) | Wind power gearbox with floating connection between ring gear and main shaft bearing seat | |
| CN204512390U (en) | A kind of elastic axis structure based on planetary gears | |
| CN222377160U (en) | Transmission shaft limiting structure of variable speed pump |
Legal Events
| Date | Code | Title | Description |
|---|---|---|---|
| PB01 | Publication | ||
| PB01 | Publication | ||
| SE01 | Entry into force of request for substantive examination | ||
| SE01 | Entry into force of request for substantive examination |
