CN114955690A - Film tearing structure and film tearing device - Google Patents

Film tearing structure and film tearing device Download PDF

Info

Publication number
CN114955690A
CN114955690A CN202210800868.4A CN202210800868A CN114955690A CN 114955690 A CN114955690 A CN 114955690A CN 202210800868 A CN202210800868 A CN 202210800868A CN 114955690 A CN114955690 A CN 114955690A
Authority
CN
China
Prior art keywords
film
torn
limiting column
tearing
pressure limiting
Prior art date
Legal status (The legal status is an assumption and is not a legal conclusion. Google has not performed a legal analysis and makes no representation as to the accuracy of the status listed.)
Granted
Application number
CN202210800868.4A
Other languages
Chinese (zh)
Other versions
CN114955690B (en
Inventor
谭婷婷
Current Assignee (The listed assignees may be inaccurate. Google has not performed a legal analysis and makes no representation or warranty as to the accuracy of the list.)
Interface Optoelectronics Shenzhen Co Ltd
Interface Technology Chengdu Co Ltd
General Interface Solution Ltd
Original Assignee
Interface Optoelectronics Shenzhen Co Ltd
Interface Technology Chengdu Co Ltd
General Interface Solution Ltd
Priority date (The priority date is an assumption and is not a legal conclusion. Google has not performed a legal analysis and makes no representation as to the accuracy of the date listed.)
Filing date
Publication date
Application filed by Interface Optoelectronics Shenzhen Co Ltd, Interface Technology Chengdu Co Ltd, General Interface Solution Ltd filed Critical Interface Optoelectronics Shenzhen Co Ltd
Priority to CN202210800868.4A priority Critical patent/CN114955690B/en
Publication of CN114955690A publication Critical patent/CN114955690A/en
Application granted granted Critical
Publication of CN114955690B publication Critical patent/CN114955690B/en
Active legal-status Critical Current
Anticipated expiration legal-status Critical

Links

Images

Classifications

    • BPERFORMING OPERATIONS; TRANSPORTING
    • B65CONVEYING; PACKING; STORING; HANDLING THIN OR FILAMENTARY MATERIAL
    • B65HHANDLING THIN OR FILAMENTARY MATERIAL, e.g. SHEETS, WEBS, CABLES
    • B65H41/00Machines for separating superposed webs

Landscapes

  • Adhesive Tapes (AREA)

Abstract

本申请涉及撕膜结构及撕膜装置,所述撕膜结构包括本体、气缸、固定臂及夹持臂,所述气缸及所述固定臂均安装于所述本体上,通过气缸驱动夹持臂配合固定臂形成夹持动作,通过本体平移进行撕膜;所述撕膜结构还包括固定于所述本体上的压力限位柱;在所述夹持臂配合所述固定臂夹持待撕膜的状态下,所述压力限位柱设置为接触所述待撕膜。上述撕膜结构,在撕膜时通过压力限位柱抵住待撕膜尤其是其起撕端,解决了撕膜带胶的问题,无需更换保护膜或者更换撕膜相关装置,亦不影响其他生产工艺,且由于压力限位柱在空间占用方面完全不影响当前生产设备,无需更换导电胶带及其保护膜,亦无需调整机台尺寸,因此不仅节约了改造成本,而且易于推广应用。

Figure 202210800868

The present application relates to a film tearing structure and a film tearing device. The film tearing structure includes a main body, an air cylinder, a fixing arm and a clamping arm. The air cylinder and the fixing arm are both mounted on the main body, and the clamping arm is driven by the air cylinder. A clamping action is formed in cooperation with the fixed arm, and the film is torn through translation of the body; the film-tear structure also includes a pressure limit post fixed on the body; the clamping arm cooperates with the fixed arm to clamp the film to be torn. In the state of , the pressure limit post is arranged to contact the to-be-tear film. The above-mentioned tearing film structure, when tearing the film, uses the pressure limit column to resist the film to be torn, especially the tearing end, which solves the problem of tearing the film with glue, does not need to replace the protective film or replace the tearing film related devices, and does not affect other In addition, because the pressure limit column does not affect the current production equipment in terms of space occupation, there is no need to replace the conductive tape and its protective film, and there is no need to adjust the size of the machine, so it not only saves the cost of transformation, but also is easy to popularize and apply.

Figure 202210800868

Description

Film tearing structure and film tearing device
Technical Field
The application relates to the field of machine film tearing, in particular to a film tearing structure and a film tearing device.
Background
In the development process of some electronic products, a conductive Tape (ITO Tape) with an ITO conductive film is attached to the product, which is attached to the surface layer of the product, and as shown in fig. 1, the surface layer 100 of the product is attached with the conductive Tape, which sequentially includes a main Tape material 200, a protective film 300 and a carrier film 400, wherein the main Tape material 200 is adjacent to the surface layer 100. The protective film 300 and the carrier film 400 may be different colors. When the product is delivered, the bearing film needs to be torn off, and the protective film is reserved.
A conventional film tearing structure 500 is shown in fig. 2, and includes a body 510, a cylinder 520, a fixing arm 530 and a holding arm 540; the cylinder 520 and the fixing arm 530 are both mounted on the body 510, the clamping arm 540 is driven by the cylinder 520 to cooperate with the fixing arm 530 to form a clamping action, and then the body 510 is translated to complete a film tearing process. As shown in fig. 3, when a three-layer conductive tape is attached to a product, the carrier film 400 needs to be peeled off from the protective film 300 by the film tearing structure 500. However, the conventional film tearing structure is designed in such a manner that the ends of the holding arms 540 form a claw in cooperation with the fixing arm 530, and the tearing structure is rotated and moved backward to tear off the carrier film 400 after one end of the carrier film is grasped. In this process, the primer of the carrier film 400 is often adhered to the upper surface of the protective film 300, so that the protective film 300 is lifted by the carrier film 400, thereby affecting the product quality and increasing the working hours and the repeated working ratio; in actual tests, the reject ratio is as high as 11.0%.
Because the conductive adhesive tape is difficult to replace, production equipment needs to be adjusted if the conductive adhesive tape is replaced, or the production process needs to be readjusted, the size of a machine table is limited, the length of the protective film cannot be increased, and the protective film is made of a specific material, is only 0.05mm thick, soft in hardness and easy to bend, and the cost is greatly increased if the production process and the production equipment need to be adjusted to replace the protective film. And thus cannot be improved from the source of the conductive tape and its protective film.
Disclosure of Invention
In view of the above, it is necessary to provide a film tearing structure and a film tearing device.
A film tearing structure comprises a body, an air cylinder, a fixing arm and a clamping arm, wherein the air cylinder and the fixing arm are both arranged on the body, the clamping arm is driven by the air cylinder to cooperate with the fixing arm to form clamping action, and film tearing is carried out through translation of the body; the film tearing structure further comprises a pressure limiting column fixed on the body;
the clamping arm is matched with the fixed arm to clamp the film to be torn, and the pressure limiting column is arranged to be in contact with the film to be torn.
Above-mentioned dyestripping structure supports through the spacing post of pressure when dyestripping and treats the dyestripping especially its plays and tears the end, has solved the problem that the dyestripping area is glued, need not to change the protection film or change the relevant device of dyestripping, also does not influence other production technology, and because the spacing post of pressure does not influence current production facility in the aspect of the space occupies completely, need not to change electrically conductive sticky tape and protection film, also need not to adjust board size, consequently not only practiced thrift transformation cost, easily popularization and application moreover.
Furthermore, the position, contacting the film to be torn, of the pressure limiting column is perpendicular to the plane of the film to be torn in the pasting state.
In one embodiment, the pressure limiting column is an elastic limiting column or a flexible limiting column and is used for deforming to a certain extent when contacting the film to be torn.
Further, in one embodiment, the pressure limiting column is used for deforming to a certain extent when contacting the film to be torn and in a film tearing state.
In one embodiment, the distance between the position of the pressure limiting column, which is in contact with the film to be torn, and the extending tail end of the object attached with the film to be torn is less than 5 mm.
In one embodiment, the distance between the position where the pressure limiting column contacts the film to be torn and the tail end of the adhesive tape main material, where the protective film attached to the film to be torn extends, is greater than 2mm and less than 5 mm.
In one embodiment, the pressure limiting column is provided with a flexible end part, and the flexible end part is arranged to contact the film to be torn.
In one embodiment, the flexible end portion comprises a full flexible structure and a partial flexible structure; and/or the presence of a catalyst in the reaction mixture,
the shape of the flexible end portion comprises hemispherical, cylindrical, prismatic, or conical; and/or the like, and/or,
the pressure limiting column is further provided with an installation part, the installation part is fixed on the body, and the flexible end part is installed on the installation part.
In one embodiment, the flexible end is made of silicone, foam or rubber.
In one embodiment, the partially flexible structure has a brush structure or a groove structure.
In one embodiment, the flexible end portion is fixed outside the mounting portion; or,
the flexible end part is sleeved on the mounting part; or,
the flexible end part is inserted under the mounting part.
In one embodiment, the partially flexible structure is made of polyamide fiber, polypropylene, polyethylene terephthalate or polybutylene terephthalate; and/or the presence of a catalyst in the reaction mixture,
the film tearing structure further comprises an air guide pipe arranged in the body, an air inlet of the air guide pipe is used for being connected with an air heater, and an air outlet of the air guide pipe is arranged close to the hairbrush structure or the groove structure so as to output hot air at the hairbrush structure or the groove structure, or the air outlet of the air guide pipe is arranged in the hairbrush structure so as to output hot air through the hollow hairbrush structure or the groove structure; or,
the film tearing structure further comprises an electric heating body and a conductive wire, the electric heating body is arranged close to the brush structure or the groove structure, the conductive wire is arranged in the body, and the electric heating body is used for being connected with a power supply assembly through the conductive wire so as to output heat energy at the brush structure or the groove structure.
In one embodiment, the mounting part is bent, so that the pressure limiting column is in a position where the pressure limiting column contacts the film to be torn, and the force application position of the flexible end part is perpendicular to the plane of the film to be torn in the pasting state; or,
the pressure limiting column is further provided with a rigid bending part connected with the installation part, the flexible end part is installed on the rigid bending part, the rigid bending part and the extension direction and the translation direction of the body form bending, so that the pressure limiting column is in contact with the position of the film to be torn, and the force application position of the flexible end part is perpendicular to the plane of the film to be torn in the sticking and covering state.
In one embodiment, the film tearing device comprises a translation structure and a film tearing structure, wherein the film tearing structure comprises a body, a cylinder, a fixed arm, a clamping arm and a pressure limiting column fixed on the body, the cylinder and the fixed arm are both arranged on the body, and the cylinder drives the clamping arm to cooperate with the fixed arm to form a clamping action; the pressure limiting column is arranged to be in contact with the film to be torn under the condition that the clamping arm is matched with the fixing arm to clamp the film to be torn; the translation structure drives the body to translate to tear the film.
Drawings
In order to more clearly illustrate the technical solutions in the embodiments or the conventional technologies of the present application, the drawings used in the descriptions of the embodiments or the conventional technologies will be briefly introduced below, it is obvious that the drawings in the following descriptions are only some embodiments of the present application, and for those skilled in the art, other drawings can be obtained according to the drawings without creative efforts.
Fig. 1 is a schematic view illustrating a conventional conductive adhesive tape attached to a product.
Fig. 2 is a schematic view of a conventional tear film structure.
Fig. 3 is a schematic view illustrating a process of peeling the conductive adhesive tape shown in fig. 1 by using the peeling structure shown in fig. 2.
Fig. 4 is a schematic diagram of a tear-off film structure according to an embodiment of the present application.
Fig. 5 is a schematic view of a tear film process using the tear film structure shown in fig. 4.
Fig. 6 is a schematic diagram of a tear film structure according to another embodiment of the present application.
Fig. 7 is a schematic view of a tear film structure according to another embodiment of the present application.
Fig. 8 is a schematic view of a tear film structure according to another embodiment of the present application.
Fig. 9 is a schematic view of a tear film structure according to another embodiment of the present application.
Fig. 10 is a schematic view of a tear film structure according to another embodiment of the present application.
Fig. 11 is a schematic view of a tear film structure according to another embodiment of the present application.
Fig. 12 is a schematic view of stress analysis of the conventional tear film structure shown in fig. 3 for tear film processing.
Fig. 13 is a schematic diagram of stress analysis of the tear film structure shown in fig. 6 according to the present application.
Reference numerals:
100: surface layer
200: adhesive tape main material
300: protective film 3
400: carrier film
410: tear-off end
500: film tearing structure
510: body
520: cylinder
530: fixed arm
540; clamping arm
600: direction of movement
700: pressure limiting column
710: mounting part
720: rigid bend
730: flexible tip
740: air guide pipe
750: hot air
760: conductive wire
770: electric heating body
F: adhesive force
F1: resisting and holding force
L: extension length
L1: length under force
Detailed Description
In order to make the aforementioned objects, features and advantages of the present application more comprehensible, embodiments accompanying the present application are described in detail below with reference to the accompanying drawings. In the following description, numerous specific details are set forth in order to provide a thorough understanding of the present application. This application is capable of embodiment in many different forms than those described herein and those skilled in the art will be able to make similar modifications without departing from the spirit of the application and therefore the application is not limited to the specific embodiments disclosed below.
It will be understood that when an element is referred to as being "secured to" or "disposed on" another element, it can be directly on the other element or intervening elements may also be present. When a component is referred to as being "connected" to another component, it can be directly connected to the other component or intervening components may also be present. The terms "vertical," "horizontal," "upper," "lower," "left," "right," and the like as used in the description of the present application are for illustrative purposes only and do not represent the only embodiments.
Furthermore, the terms "first", "second" and "first" are used for descriptive purposes only and are not to be construed as indicating or implying relative importance or implicitly indicating the number of technical features indicated. Thus, a feature defined as "first" or "second" may explicitly or implicitly include at least one such feature. In the description of the present application, "plurality" means at least two, e.g., two, three, etc., unless specifically limited otherwise.
In this application, unless expressly stated or limited otherwise, the first feature "on" or "under" the second feature may mean that the first feature is in direct contact with the second feature, or that the first feature and the second feature are in indirect contact via an intermediate. Also, a first feature "on," "over," and "above" a second feature may be directly or diagonally above the second feature, or may simply indicate that the first feature is at a higher level than the second feature. A first feature being "under," "below," and "beneath" a second feature may be directly under or obliquely under the first feature, or may simply mean that the first feature is at a lesser elevation than the second feature.
Unless defined otherwise, all technical and scientific terms used herein have the same meaning as commonly understood by one of ordinary skill in the art to which this application belongs. The terminology used in the description of the present application is for the purpose of describing particular embodiments only and is not intended to be limiting of the application. As used in the description of the present application, the term "and/or" includes any and all combinations of one or more of the associated listed items.
By analyzing and comparing the conventional film tearing structure shown in fig. 3, when tearing the film, the surface layer 100, the tape main material 200 and the protection film 300 are fixed to be kept still, the tearing structure 500 clamps the tearing end 410 of the carrier film 400 and moves in the moving direction 600, at this time, the portion of the protection film 300 contacting the tape main material 200 is subjected to the downward adhesive force of the tape main material 200, and the protruding portion of the protection film 300 protruding out of the tape main material 200 and not contacting the tape main material 200 is subjected to the upward adhesive force F of the carrier film, that is, the adhesive force F of the carrier film to the protection film. The portion of the protection film 300 extending out of the main tape material 200 has an extending length L, i.e. the distance that the protection film 300 extends out of the surface layer 100 of the product, so the protection film 300 is subjected to an adhesion moment F × L, which is greater than the bending strength M of the protection film 300 itself, and the protection film 300 is bent and deformed to adhere to the carrier film 400 and cannot be separated from the carrier film 400, so that the protection film 300 is torn off together, and the product is not good.
To reduce the moment, a method of reducing F and L can be adopted, the traditional method is to increase the viscosity between the protective film and the main material of the adhesive tape to reduce the viscosity between the carrier film and the protective film, but because the carrier film with the lowest viscosity is adopted in the design of the conductive adhesive tape, F cannot be reduced; the length of L is specified by the product manufacturing process and needs to satisfy the appropriate distance for manual film tearing, so L cannot be reduced. Therefore, considering the factors of instrument and equipment, process cost and materials, the design of the materials cannot be improved, and only the structure of the tearing film structure can be improved.
In one embodiment of the application, the film tearing structure and the film tearing device comprise part of or all of the following embodiments; namely, the film tearing structure and the film tearing device comprise the following technical characteristics in part or all. In one embodiment, the film tearing structure comprises a body, an air cylinder, a fixing arm and a clamping arm, wherein the air cylinder and the fixing arm are both arranged on the body, the clamping arm is driven by the air cylinder to cooperate with the fixing arm to form clamping action, and the film tearing is carried out by the translation of the body; the film tearing structure further comprises a pressure limiting column fixed on the body; the clamping arm is matched with the fixed arm to clamp the film to be torn, and the pressure limiting column is arranged to be in contact with the film to be torn. Above-mentioned dyestripping structure supports through the spacing post of pressure when dyestripping and treats the dyestripping especially its plays and tears the end, has solved the problem that the dyestripping area is glued, need not to change the protection film or change the relevant device of dyestripping, also does not influence other production technology, and because the spacing post of pressure does not influence current production facility in the aspect of the space occupies completely, need not to change electrically conductive sticky tape and protection film, also need not to adjust board size, consequently not only practiced thrift transformation cost, easily popularization and application moreover.
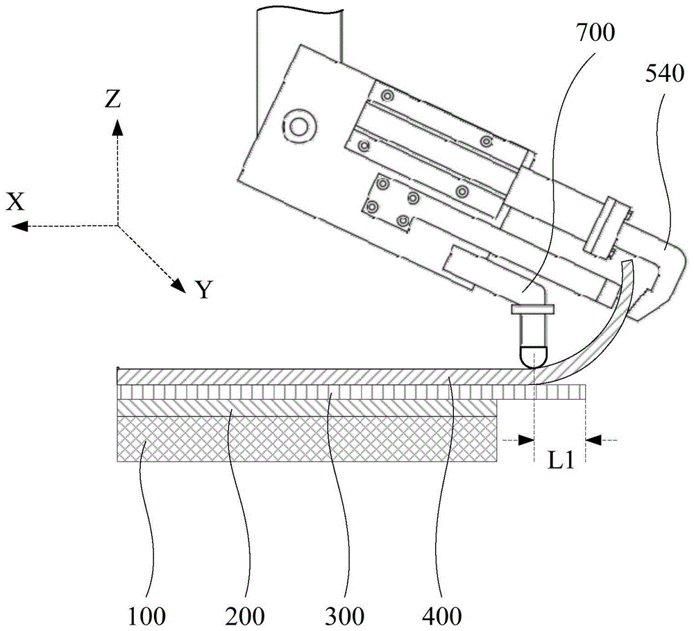
In one embodiment, as shown in fig. 4, a film tearing structure includes a body 510, a cylinder 520, a fixing arm 530, a clamping arm 540, and a pressure-limiting column 700, where the pressure-limiting column 700, the cylinder 520, and the fixing arm 530 are all mounted on the body 510, and with reference to fig. 5, the cylinder 520 drives the clamping arm 540 to extend and contract relative to the body 510 so as to cooperate with the fixing arm 530 to form a clamping action on a tearing start end 410 of a carrier film 400, and in a state where the clamping arm 540 cooperates with the fixing arm 530 to clamp the carrier film 400 to be torn, the pressure-limiting column 700 contacts the carrier film 400 in a Z direction; in this state, the body 510 can be translated along the X direction to tear the film, that is, the body 510 is translated along the X direction, at this time, since the clamping arm 540 cooperates with the fixing arm 530 to clamp the tearing end 410 of the carrier film 400, and the pressure limiting column 700 improves the separation effect on the protective film 300, the problem that the carrier film 400 has the tearing end of the protective film 300 to tear the film with the adhesive is solved, and the product reject ratio is reduced.
Furthermore, the pressure limiting column is in contact with the position of the to-be-torn film, and an included angle of 80-100 degrees is formed between the pressure limiting column and the plane of the to-be-torn film in the pasting state. Further, in one embodiment, the position of the pressure limiting column contacting the film to be torn is perpendicular to the plane of the film to be torn in the attached state, that is, an included angle of 90 degrees is formed. Further, the clamping arm is matched with the fixed arm to clamp the to-be-torn film, and the pressure limiting column is arranged to abut against the to-be-torn film. Further, the pressure limiting column is provided with a flexible end portion, and the flexible end portion is arranged to abut against the film to be torn. In the embodiment shown in fig. 4 and 5, the position of the pressure-limiting column 700 contacting the carrier film 400 in the Z-direction is perpendicular to the surface layer 100 and the main tape material 200 of the product, i.e. perpendicular to the plane of the carrier film 400 in the attached state. Such a design is advantageous for controlling the force application direction, i.e. the direction of the reaction force of the adhesive force F, i.e. the abutting force F1 applied by the pressure-limiting pillar 700, so that the adhesive moment applied to the protective film 300 is (F-F1) × L smaller than the bending strength M of the protective film 300 itself. Referring to fig. 6, when the tearing structure 500 clamps the tearing-starting end 410 of the carrier film 400, the pressure-limiting post 700 rotates downward until it is perpendicular to the surface of the carrier film 400, so as to limit the Z-direction freedom of the carrier film 400. The distance between the pressure-limiting pillars 700 and the end of the protection film 300, i.e., the starting end, can be 2mm < L1<5mm, and can be adjusted according to the material characteristics of different protection film materials. When the pressure-limiting pillars 700 are only in contact with the carrier film 400, but not in contact with the carrier film, the protective film 300 is subjected to the following adhesive force: f × L1< M, the protective film 300 is also not bent and deformed so as to be smoothly separated from the carrier film 400.
In view of the feeding and processing problems, in order to avoid blocking, an adjustment process is added, and further, in one embodiment, the pressure limiting column and the bending part thereof are only arranged to contact the film to be torn, and in the film tearing state, because the film to be torn bends towards the pressure limiting column, a holding force F1 exists between the pressure limiting column and the pressure limiting column, which is also one of the pressure forces. In one embodiment, the flexible end of the pressure limiting column contacts the film to be torn. Further, the bending part comprises an elastic bending part and a rigid bending part. Due to the design, the film to be torn can freely reach the position for tearing treatment during feeding, and the additional adjusting process caused by the blocking of the pressure limiting column is avoided.
In one embodiment, the distance between the position of the pressure limiting column, which is in contact with the film to be torn, and the extending tail end of the object attached with the film to be torn is less than 5 mm. In one embodiment, the distance between the position where the pressure limiting column contacts the film to be torn and the tail end of the adhesive tape main material, where the protective film attached to the film to be torn extends, is greater than 2mm and less than 5 mm. In one embodiment, the tearing structure is shown in fig. 6, and different from the embodiment shown in fig. 5, an object to which the carrier film 400 is attached is the protective film 300, and a distance between a position where the pressure limiting pillar 700 contacts the carrier film 400 and an extending end of the protective film 300 is greater than 2mm and less than 5mm, that is, a stressed length L1 of the protective film 300 is greater than 2mm and less than 5mm, that is, 2mm < L1<5 mm. Such a design is advantageous for controlling the force application direction and force application torque, so that the adhesion torque F × (L-L1) applied to the protection film 300 is smaller than the bending strength M of the protection film 300 itself; or, the adhesion torque applied to the protection film 300 is (F-F1) × (L-L1) smaller than the bending strength M of the protection film 300 itself, because the lowest adhesive carrier film has been used in the conventional technology, and the adhesion torque of (F-F1) × (L-L1) is favorable for achieving a breakthrough improvement with respect to the adhesion torque of F × L on the premise that the carrier film and the protection film are difficult to break through from the structural aspect and the size of the working machine is difficult to adjust, so that the adhesion relationship between the protection film 300 and the tape main material 200 is maintained under the effect of the bending strength M of the protection film 300 itself, thereby avoiding the product defect caused by the tearing of the protection film 300 due to the tearing of the carrier film 400, and the defect rate can be reduced from 11.0% to below 0.2% after the improvement of this embodiment.
In order to protect the film to be torn and the object to be covered by the film, in one embodiment, the pressure limiting column is an elastic limiting column or a flexible limiting column, and is configured to deform to a certain extent when contacting the film to be torn so as to prevent the pressure limiting column from damaging the film to be torn or the object to be covered by the film to be torn, the film to be torn is usually a carrier film, and the object to be covered by the film to be torn includes a surface layer, a main material of an adhesive tape, and/or a protective film; furthermore, the pressure limiting column is an elastic limiting column or a flexible limiting column and is used for contacting the film to be torn and is in a state of tearing the film to deform to a certain degree. In one embodiment, the object to be covered with the film to be torn is a protective film, or the object to be covered with the film to be torn is a protective film and a main material of an adhesive tape; or the objects to be pasted by the film to be torn are a protective film, an adhesive tape main material and a surface layer. In one embodiment, the pressure limiting column is provided with a flexible end part, and the flexible end part is arranged to contact the film to be torn. In one embodiment, the flexible end portion comprises a full flexible structure and a partial flexible structure; the whole flexible structure, namely the flexible end part is a whole, and holes can be formed in the whole flexible structure or the whole flexible end part can be completely filled from a macroscopic view; the partially flexible structure, i.e., the flexible end portion, is an assembly in which there may be holes or gaps, or a loose combination structure. In one embodiment, the shape of the flexible end includes hemispherical, cylindrical, prismatic, or conical; in other embodiments, the shape of the flexible end portion further includes a combination of the above shapes. In one embodiment, the shape of the ensemble of flexible structures includes hemispherical, cylindrical, prismatic, or conical; in one embodiment, the shape of the partially flexible structure as a whole is hemispherical, cylindrical, prismatic or conical; the rest of the embodiments are analogized and are not described in detail. In one embodiment, the flexible end portion or the flexible structure of the whole body is made of silicon rubber, foam or rubber. In one embodiment, the shape of the flexible end portion comprises a hemisphere, a cylinder, a prism or a cone, and the flexible end portion is made of silicon rubber, foam or rubber. The rest of the embodiments are analogized and are not described in detail. This embodiment is through structural the spacing post of a pressure that increases at traditional dyestripping, and the spacing post of pressure comprises the rigid structure of top and the flexible tip of below, and flexible tip is silica gel, bubble cotton or other soft structures that are hemisphere, cylindrical, or back taper etc.. The pressure limiting column is used for pressing the tearing end so as to solve the problem that the tearing film is provided with glue. In one embodiment, as shown in fig. 4, the pressure restraining post 700 has a flexible end 730, and the flexible end 730 is shaped as a hemisphere. In one embodiment, as shown in fig. 7, the pressure limiting column 700 is provided with a flexible end 730, and the flexible end 730 is cylindrical or prismatic in shape. In one embodiment, as shown in FIG. 8, the pressure retention post 700 has a flexible end 730, and the flexible end 730 is tapered in shape. The rest of the embodiments are analogized and are not described in detail. In another possible embodiment, the flexible end 730 can be designed to cover or fit a flexible material over a rigid material; in any case, the protective film 400 and the protective film 300, especially the main adhesive tape material 200 and the surface layer 100 of the product under the protective film 300, are protected, and the additional product defect caused by the protective film 300 and the main adhesive tape material 200 being damaged by the pressure limiting columns and the surface layer 100 is avoided.
In one embodiment, the partially flexible structure has a brush structure or a groove structure; the brush structure is similar to the bristles of a toothbrush; the groove structure is formed by arranging at least one groove on a flexible object. In one embodiment, the partially flexible structure is made of polyamide fibers (nylon, PA), polypropylene (PP), polyethylene terephthalate (PET), or polybutylene terephthalate (PBT); in one embodiment, the partially flexible structure is formed from bristles of polyamide fibers, polypropylene, polyethylene terephthalate, or polybutylene terephthalate. In one embodiment, as shown in FIG. 9, the flexible end 730 is a brush structure. Such design has certain hardness along brush length direction brush, carries on spacingly in order to solve the problem that the dyestripping area is glued, and the brush is softer on dyestripping advancing direction, and treats that frictional force between the dyestripping is less can not hinder the dyestripping.
In one embodiment, as shown in fig. 10, the tear-off film structure further includes a wind guide tube 740 disposed in the body, an air inlet of the wind guide tube 740 is used for connecting a hot air blower, an air outlet of the wind guide tube 740 is disposed adjacent to the flexible end portion 730, such as the brush structure or the groove structure, to output hot air at the brush structure or the groove structure, or the air outlet of the wind guide tube 740 is disposed in the hollow flexible end portion 730, such as the brush structure, that is, the air outlet of the wind guide tube 740 is communicated with a hollow position, so as to output hot air 750 through the hollow brush structure or the groove structure. Such design can be through setting up an air heater and hot-blast main, makes the hot gas flow can pass through the cavity body, makes the rete of treating the dyestripping, thereby it is more easily torn or is difficult for producing effects such as cull to produce because of the air current flow produces temperature variation. Namely, a hot air blower and a hot air pipe are used for injecting hot air into the limiting column hole, and the hot air is sprayed to the surface of a product, so that glue at the bottom of the film to be torn is melted, and the film tearing is helped to be carried out smoothly.
In one embodiment, as shown in fig. 11, the tear film structure further includes a heating element 770 disposed adjacent to the flexible end 730, such as the brush structure or the groove structure, and a conductive element 760 disposed in the body 510, wherein the heating element 770 is used to connect a power supply component through the conductive wire 760, so as to output heat energy at the flexible end 730, such as the brush structure or the groove structure. The electric heating element 770 includes but is not limited to a thermistor or a thermal light source, such as an infrared IR light source, and the thermistor or the thermal light source is disposed in the position-limiting post, and after the electric heating element is powered on, the thermistor and the thermal light source generate heat, and the heat radiates to the film to be torn, so that the glue at the bottom of the film to be torn melts, and the film to be torn is smoothly torn.
In order to fix the pressure limiting column and the flexible end part of the pressure limiting column, in one embodiment, the pressure limiting column is further provided with an installation part, the installation part is fixed on the body, and the flexible end part is installed on the installation part. In one embodiment, as shown in fig. 4, the pressure-limiting column 700 further has a mounting portion 710, the mounting portion 710 is fixed to the body 510, and the flexible end portion 730 is indirectly mounted on the mounting portion 710. In one embodiment, the mounting portion is welded, inserted or screwed to the body. In general, to avoid waste and to replace conventional tear film structures, the mounting portion can be fixed to the conventional tear film structure in various possible ways, and then the flexible end portion can be mounted to the mounting portion. The installation position and the installation mode of the flexible end part are not limited as long as the flexible end part can contact the film to be torn, and in other embodiments, the flexible end part can abut against the film to be torn and apply certain acting force to the film to be torn. In one embodiment, the flexible end portion is fixed outside the mounting portion; or the flexible end part is sleeved on the mounting part; or the flexible end part is inserted under the mounting part. It is understood that the flexible end portion may be directly mounted to the mounting portion, or may be indirectly mounted to the mounting portion via an intermediate member such as a rigid bent portion; the flexible end portion may also be removably mounted to the mounting portion, all of which are embodiments that may be employed herein. In one embodiment, the mounting portion is bent to enable the pressure limiting column to be in contact with the film to be torn, and the force application position of the flexible end portion is perpendicular to the plane of the film to be torn in the pasting state. Such a design is beneficial to control the force application position and the force application direction of the flexible end portion, so that the adhesion torque applied to the protection film 300 is smaller than the bending strength M of the protection film 300.
In one embodiment, the pressure limiting column is further provided with a rigid bending portion connected with the mounting portion, the flexible end portion is mounted on the rigid bending portion, the rigid bending portion and the extending direction and the translation direction of the body form bending, so that the pressure limiting column is in contact with the film to be torn, and the force application position of the flexible end portion is perpendicular to the plane of the film to be torn in the pasting state. Further, in one embodiment, the flexible end portion is fixed outside the rigid bent portion; or the flexible end part is sleeved on the rigid bent part; or the flexible end part is inserted under the rigid bent part. In one embodiment, as shown in fig. 4 and 5, the pressure-limiting column 700 is provided with a mounting portion 710, a rigid bending portion 720 and a flexible end portion 730, the mounting portion 710 is fixed on the body 510, the rigid bending portion 720 is connected to the mounting portion 710, the flexible end portion 730 is mounted on the rigid bending portion 720, the rigid bending portion 720 and the body 510 are bent in the extending direction and the translation direction X, so that the pressure-limiting column 700 is in a position contacting the film to be torn, that is, the pressure-limiting column 700 is in a position contacting the carrier film 400, and the force applied by the flexible end portion 730 is perpendicular to the plane of the carrier film 400 in the attached state. In each embodiment, the extending direction of the body 510 can be replaced by the extending direction of the fixing arm 530. Further, the flexible end 730 is shaped like a hemisphere, a cylinder, a prism or a cone, and is made of silicone or foam. Such design adopts the rigidity kink to realize extending, direction change and application of force atress on the one hand, and on the other hand cooperation flexible tip realizes owing when the dyestripping because treat the dyestripping and appropriate application of force support, under the prerequisite that does not harm the product structure, has reduced adhesion moment to solve the problem that the dyestripping takes the glue, the defective rate falls to 0.1% from 11.0% after improving. And the pressure limiting column composed of the mounting part 710, the rigid bending part 720 and the flexible end part 730 does not change the occupied space of the film tearing structure before improvement greatly, so that the protective film or related devices for film tearing do not need to be replaced, other production processes are not affected, the conductive adhesive tape and the protective film thereof do not need to be replaced, the size of a machine table does not need to be adjusted, the modification cost is saved, and the popularization and the application are easy.
Further, in one embodiment, the pressure limiting post is further provided with an elastic bending portion connected with the mounting portion, the flexible end portion is mounted on the elastic bending portion, the elastic bending portion and the extending direction and the translation direction of the body form a bending, so that the pressure limiting post is in contact with the film to be torn at a position, and the force application position of the flexible end portion is perpendicular to the plane of the film to be torn in the pasting state. Further, in one embodiment, the flexible end portion is fixed outside the elastic bending portion; or the flexible end part is sleeved on the elastic bending part; or the flexible end part is inserted under the elastic bending part. With such a design, the possibility of damaging the object to which the film to be torn is applied is further reduced, i.e. damage to the protective film is avoided.
Further, in one embodiment, the pressure limiting column is provided with a bent portion, the bent portion is mounted on the mounting portion through an angle adjuster, the flexible end portion is mounted on the bent portion, and the angle adjuster is used for adjusting an angle of the bent portion relative to the film to be torn, so that the position, where the flexible end portion contacts the film to be torn, is perpendicular to a plane of the film to be torn in a pasting state. In one embodiment, the bending portion includes an elastic bending portion and a rigid bending portion. Such a design is favorable for ensuring the pressure limiting column and the force application direction of the flexible end part relative to the film to be torn, so that the protective film 300 can not be bent and deformed and can be smoothly separated from the carrier film 400.
In order to verify the principle of the present application, a stress simulation test is also performed to perform stress analysis, the same surface layer 100, the adhesive tape main material 200, the protective film 300 and the carrier film 400 are used, and the same test environment is adopted, the stress analysis of the conventional tear film structure shown in fig. 3 for tear film treatment is shown in fig. 12, the stress analysis of the tear film structure shown in fig. 6 for tear film treatment is shown in fig. 13, as can be seen by comparing fig. 12 and fig. 13, under the condition of the same adhesive force, the maximum value of deformation of the protective film is 7.12mm before the pressure limiting column is added to limit the Z direction, after the pressure limiting column is added to limit the Z direction, the maximum value of deformation of the protective film is reduced to 0.0028mm, and the stress can be quickly attenuated. Therefore, the problem that the film is torn and glued can be effectively solved by adding the pressure limiting columns, and the technical principle that the reject ratio is reduced from 11.0% to 0.1% after improvement is verified from the angle of stress analysis.
In one embodiment, the film tearing device comprises a translation structure and a film tearing structure, wherein the film tearing structure comprises a body, an air cylinder, a fixing arm, a clamping arm and a pressure limiting column fixed on the body, the air cylinder and the fixing arm are both arranged on the body, and the clamping arm is driven by the air cylinder to cooperate with the fixing arm to form clamping action; the pressure limiting column is arranged to contact the film to be torn in a state that the clamping arm is matched with the fixing arm to clamp the film to be torn; the translation structure drives the body to translate to tear the film. In one embodiment, the film tearing device comprises a translation structure and the film tearing structure of any embodiment, wherein the translation structure drives the body to translate to tear the film. In other embodiments, the film tearing device further comprises a control device for controlling the translation structure and the body, and/or the film tearing device or the film tearing structure thereof comprises a control device for controlling the air cylinder. For the embodiment of the film tearing structure with the air guide pipe, the film tearing device further comprises an air heater, and the output end of the air heater is communicated with the air inlet of the air guide pipe and used for conveying hot air. For the embodiment of the film tearing structure with the electrothermal body, the film tearing device further comprises a power supply component, wherein the power supply component is electrically connected with the conductive wire and used for supplying power to enable the electrothermal body to generate heat. Due to the design, when the film is torn, the film to be torn is abutted through the pressure limiting column, particularly the tearing end of the film to be torn is abutted, the problem that the film is torn to be glued is solved, a protective film or a related device for tearing the film does not need to be replaced, other production processes are not influenced, the current production equipment is not influenced completely in the aspect of space occupation due to the pressure limiting column, the conductive adhesive tape and the protective film do not need to be replaced, the size of a machine table does not need to be adjusted, and therefore the transformation cost is saved, and the film tearing device is easy to popularize and apply.
Other embodiments of the present application further include a tear film structure and a tear film device, which are formed by combining technical features of the above embodiments.
The technical features of the embodiments described above may be arbitrarily combined, and for the sake of brevity, all possible combinations of the technical features in the embodiments described above are not described, but should be considered as being within the scope of the present specification as long as there is no contradiction between the combinations of the technical features.
The above-mentioned embodiments only express several embodiments of the present application, and the description thereof is more specific and detailed, but not construed as limiting the claims. It should be noted that, for a person skilled in the art, several variations and modifications can be made without departing from the concept of the present application, which falls within the scope of protection of the present application. Therefore, the protection scope of the present application shall be subject to the appended claims.

Claims (10)

1. A film tearing structure comprises a body, an air cylinder, a fixing arm and a clamping arm, wherein the air cylinder and the fixing arm are both arranged on the body, the clamping arm is driven by the air cylinder to cooperate with the fixing arm to form clamping action, and film tearing is carried out through translation of the body; the film tearing structure is characterized by further comprising a pressure limiting column fixed on the body;
the clamping arm is matched with the fixed arm to clamp the film to be torn, and the pressure limiting column is arranged to be in contact with the film to be torn.
2. The film tearing structure according to claim 1, wherein the pressure-limiting column is an elastic limiting column or a flexible limiting column, and is configured to deform to a certain degree when contacting the film to be torn.
3. The film tearing structure according to claim 1, wherein the distance between the position of the pressure limiting column in contact with the film to be torn and the extending end of the object to be covered by the film to be torn is less than 5 mm.
4. The film tearing structure according to claim 3, wherein the distance between the contact position of the pressure limiting column and the film to be torn and the tail end of the adhesive tape main material extending out of the protective film attached to the film to be torn is greater than 2mm and less than 5 mm.
5. The tear film structure of any one of claims 1 to 4, wherein the pressure limiting post is provided with a flexible end portion arranged to contact the film to be torn.
6. The tear film structure of claim 5, wherein said flexible end portion comprises a full flexible structure and a partial flexible structure; and/or the like, and/or,
the shape of the flexible end portion comprises hemispherical, cylindrical, prismatic, or conical; and/or the presence of a catalyst in the reaction mixture,
the pressure limiting column is further provided with an installation part, the installation part is fixed on the body, and the flexible end part is installed on the installation part.
7. The tear film structure of claim 6, wherein the overall flexible structure is made of silicone, foam or rubber; and/or the presence of a catalyst in the reaction mixture,
the part of the flexible structure is provided with a brush structure or a groove structure; and/or the like, and/or,
the flexible end part is fixed outside the mounting part; or the flexible end part is sleeved on the mounting part; or the flexible end part is inserted under the mounting part.
8. The tear film structure of claim 7, wherein said partially flexible structure is made of polyamide fiber, polypropylene, polyethylene terephthalate, or polybutylene terephthalate; and/or the presence of a catalyst in the reaction mixture,
the film tearing structure further comprises an air guide pipe arranged in the body, an air inlet of the air guide pipe is used for being connected with an air heater, and an air outlet of the air guide pipe is arranged close to the hairbrush structure or the groove structure so as to output hot air at the hairbrush structure or the groove structure, or the air outlet of the air guide pipe is arranged in the hairbrush structure so as to output hot air through the hollow hairbrush structure or the groove structure; or,
the film tearing structure further comprises an electric heating body and a conductive wire, the electric heating body is arranged close to the brush structure or the groove structure, the conductive wire is arranged in the body, and the electric heating body is used for being connected with a power supply assembly through the conductive wire so as to output heat energy at the brush structure or the groove structure.
9. The film tearing structure according to claim 6, wherein the mounting portion is bent so that the pressure limiting column is in contact with the film to be torn, and the force application position of the flexible end portion is perpendicular to the plane of the film to be torn in the attached state; or,
the pressure limiting column is further provided with a rigid bending part connected with the installation part, the flexible end part is installed on the rigid bending part, the rigid bending part and the extension direction and the translation direction of the body form bending, so that the pressure limiting column is in contact with the position of the film to be torn, and the force application position of the flexible end part is perpendicular to the plane of the film to be torn in the sticking and covering state.
10. A film tearing device is characterized by comprising a translation structure and a film tearing structure, wherein the film tearing structure comprises a body, a cylinder, a fixed arm, a clamping arm and a pressure limiting column fixed on the body, the cylinder and the fixed arm are both arranged on the body, and the clamping arm is driven by the cylinder to cooperate with the fixed arm to form clamping action; the pressure limiting column is arranged to be in contact with the film to be torn under the condition that the clamping arm is matched with the fixing arm to clamp the film to be torn; the translation structure drives the body to translate to tear the film.
CN202210800868.4A 2022-07-08 2022-07-08 Film tearing structure and film tearing device Active CN114955690B (en)

Priority Applications (1)

Application Number Priority Date Filing Date Title
CN202210800868.4A CN114955690B (en) 2022-07-08 2022-07-08 Film tearing structure and film tearing device

Applications Claiming Priority (1)

Application Number Priority Date Filing Date Title
CN202210800868.4A CN114955690B (en) 2022-07-08 2022-07-08 Film tearing structure and film tearing device

Publications (2)

Publication Number Publication Date
CN114955690A true CN114955690A (en) 2022-08-30
CN114955690B CN114955690B (en) 2024-11-01

Family

ID=82967743

Family Applications (1)

Application Number Title Priority Date Filing Date
CN202210800868.4A Active CN114955690B (en) 2022-07-08 2022-07-08 Film tearing structure and film tearing device

Country Status (1)

Country Link
CN (1) CN114955690B (en)

Cited By (1)

* Cited by examiner, † Cited by third party
Publication number Priority date Publication date Assignee Title
CN115447865A (en) * 2022-09-02 2022-12-09 莫纳(武汉)生物科技有限公司 Automatic film tearing device

Citations (8)

* Cited by examiner, † Cited by third party
Publication number Priority date Publication date Assignee Title
CN203267423U (en) * 2013-05-20 2013-11-06 深圳欧菲光科技股份有限公司 Reversely-folded tearing hand and protective membrane assembly using same
KR20140033863A (en) * 2012-09-11 2014-03-19 안성룡 The apparatus for taking off the film
US20160318295A1 (en) * 2014-01-21 2016-11-03 Shenzhen China Star Optoelectronics Technology Co., Ltd. A device for tearing off a polarizer and method thereof
CN206781204U (en) * 2017-06-09 2017-12-22 合肥鑫晟光电科技有限公司 A kind of coat peeling unit
CN208714645U (en) * 2018-08-27 2019-04-09 苏州赛众自动化科技有限公司 A kind of coat peeling unit
CN110682660A (en) * 2019-11-22 2020-01-14 深圳市劲拓自动化设备股份有限公司 A protective film tearing film system
CN113400771A (en) * 2021-06-01 2021-09-17 业成科技(成都)有限公司 Film tearing method and film attaching method
CN216037774U (en) * 2021-05-11 2022-03-15 无锡沃格自动化科技股份有限公司 Long sticky tape of tilting sheet material and basement membrane separator and coating machine

Patent Citations (8)

* Cited by examiner, † Cited by third party
Publication number Priority date Publication date Assignee Title
KR20140033863A (en) * 2012-09-11 2014-03-19 안성룡 The apparatus for taking off the film
CN203267423U (en) * 2013-05-20 2013-11-06 深圳欧菲光科技股份有限公司 Reversely-folded tearing hand and protective membrane assembly using same
US20160318295A1 (en) * 2014-01-21 2016-11-03 Shenzhen China Star Optoelectronics Technology Co., Ltd. A device for tearing off a polarizer and method thereof
CN206781204U (en) * 2017-06-09 2017-12-22 合肥鑫晟光电科技有限公司 A kind of coat peeling unit
CN208714645U (en) * 2018-08-27 2019-04-09 苏州赛众自动化科技有限公司 A kind of coat peeling unit
CN110682660A (en) * 2019-11-22 2020-01-14 深圳市劲拓自动化设备股份有限公司 A protective film tearing film system
CN216037774U (en) * 2021-05-11 2022-03-15 无锡沃格自动化科技股份有限公司 Long sticky tape of tilting sheet material and basement membrane separator and coating machine
CN113400771A (en) * 2021-06-01 2021-09-17 业成科技(成都)有限公司 Film tearing method and film attaching method

Non-Patent Citations (1)

* Cited by examiner, † Cited by third party
Title
金敏;王芳;: "基于PLC的液晶面板撕膜机设计与改进", 机械管理开发, no. 02, 28 February 2018 (2018-02-28) *

Cited By (2)

* Cited by examiner, † Cited by third party
Publication number Priority date Publication date Assignee Title
CN115447865A (en) * 2022-09-02 2022-12-09 莫纳(武汉)生物科技有限公司 Automatic film tearing device
CN115447865B (en) * 2022-09-02 2023-09-22 莫纳(武汉)生物科技有限公司 Automatic dyestripping device

Also Published As

Publication number Publication date
CN114955690B (en) 2024-11-01

Similar Documents

Publication Publication Date Title
TWI390261B (en) Optical fiber structure and manufacturing method thereof
US8360129B2 (en) Peeling device
CN114955690A (en) Film tearing structure and film tearing device
JP7401461B2 (en) Conductive adhesive sheets, laminates, and heat generating devices
JPH08504063A (en) Method of forming an interface between a die and a chip carrier
CN111063649A (en) Micro LED transferring method and transferring device
JP5303034B2 (en) Flexible hose and manufacturing method thereof
CN103731941A (en) Manufacturing method of heating element
TW200823142A (en) Sheet peeling apparatus
JP2009061662A (en) Structure of pad for transfer apparatus and manufacturing method of the pad
CN205416345U (en) Heating device that bordures of automobile decoration board
TWI850475B (en) Gap blocking method, gap blocking structure, and method for manufacturing the gap blocking structure
KR100948466B1 (en) Fiber optic aggregate
WO2009057482A1 (en) Semiconductor mounting apparatus and semiconductor mounting method
KR20100089992A (en) Pressing unit and apparatus for bonding a film including the same
CN113910617A (en) Fixing mode of clothes tree and plastic part accessory
JP2004163634A (en) Manufacturing method of optical fiber ribbon
JP3886506B2 (en) Adhesive molding structure of vehicle seat
KR101425973B1 (en) Sealer for wig
KR100989821B1 (en) Adhesive member for wigs, manufacturing method thereof and wigs containing the same
WO2010106658A1 (en) Pad structure for transfer apparatus, and pad manufacturing method for transfer apparatus
JPH04346237A (en) Bonding method for lead of ic component
CN213830408U (en) Carbon fiber plate forming die and carbon fiber plate forming unit
JP2023145858A (en) Apparatus and method for forming annular adhesive sheet
CN211238200U (en) IC carrier plate cutting film and film carrying platform of same

Legal Events

Date Code Title Description
PB01 Publication
PB01 Publication
SE01 Entry into force of request for substantive examination
SE01 Entry into force of request for substantive examination
GR01 Patent grant
GR01 Patent grant