CN114950032A - Garbage pyrolysis treatment system - Google Patents
Garbage pyrolysis treatment system Download PDFInfo
- Publication number
- CN114950032A CN114950032A CN202210663396.2A CN202210663396A CN114950032A CN 114950032 A CN114950032 A CN 114950032A CN 202210663396 A CN202210663396 A CN 202210663396A CN 114950032 A CN114950032 A CN 114950032A
- Authority
- CN
- China
- Prior art keywords
- filter cartridge
- carbon monoxide
- waste pyrolysis
- treatment system
- deacidification agent
- Prior art date
- Legal status (The legal status is an assumption and is not a legal conclusion. Google has not performed a legal analysis and makes no representation as to the accuracy of the status listed.)
- Granted
Links
Images
Classifications
-
- B—PERFORMING OPERATIONS; TRANSPORTING
- B01—PHYSICAL OR CHEMICAL PROCESSES OR APPARATUS IN GENERAL
- B01D—SEPARATION
- B01D46/00—Filters or filtering processes specially modified for separating dispersed particles from gases or vapours
- B01D46/24—Particle separators, e.g. dust precipitators, using rigid hollow filter bodies
- B01D46/2403—Particle separators, e.g. dust precipitators, using rigid hollow filter bodies characterised by the physical shape or structure of the filtering element
- B01D46/2411—Filter cartridges
-
- B—PERFORMING OPERATIONS; TRANSPORTING
- B01—PHYSICAL OR CHEMICAL PROCESSES OR APPARATUS IN GENERAL
- B01D—SEPARATION
- B01D53/00—Separation of gases or vapours; Recovering vapours of volatile solvents from gases; Chemical or biological purification of waste gases, e.g. engine exhaust gases, smoke, fumes, flue gases, aerosols
- B01D53/30—Controlling by gas-analysis apparatus
-
- B—PERFORMING OPERATIONS; TRANSPORTING
- B01—PHYSICAL OR CHEMICAL PROCESSES OR APPARATUS IN GENERAL
- B01D—SEPARATION
- B01D53/00—Separation of gases or vapours; Recovering vapours of volatile solvents from gases; Chemical or biological purification of waste gases, e.g. engine exhaust gases, smoke, fumes, flue gases, aerosols
- B01D53/34—Chemical or biological purification of waste gases
- B01D53/38—Removing components of undefined structure
- B01D53/40—Acidic components
-
- B—PERFORMING OPERATIONS; TRANSPORTING
- B01—PHYSICAL OR CHEMICAL PROCESSES OR APPARATUS IN GENERAL
- B01D—SEPARATION
- B01D53/00—Separation of gases or vapours; Recovering vapours of volatile solvents from gases; Chemical or biological purification of waste gases, e.g. engine exhaust gases, smoke, fumes, flue gases, aerosols
- B01D53/34—Chemical or biological purification of waste gases
- B01D53/74—General processes for purification of waste gases; Apparatus or devices specially adapted therefor
- B01D53/77—Liquid phase processes
- B01D53/78—Liquid phase processes with gas-liquid contact
-
- F—MECHANICAL ENGINEERING; LIGHTING; HEATING; WEAPONS; BLASTING
- F23—COMBUSTION APPARATUS; COMBUSTION PROCESSES
- F23G—CREMATION FURNACES; CONSUMING WASTE PRODUCTS BY COMBUSTION
- F23G5/00—Incineration of waste; Incinerator constructions; Details, accessories or control therefor
- F23G5/02—Incineration of waste; Incinerator constructions; Details, accessories or control therefor with pretreatment
- F23G5/027—Incineration of waste; Incinerator constructions; Details, accessories or control therefor with pretreatment pyrolising or gasifying stage
-
- F—MECHANICAL ENGINEERING; LIGHTING; HEATING; WEAPONS; BLASTING
- F23—COMBUSTION APPARATUS; COMBUSTION PROCESSES
- F23G—CREMATION FURNACES; CONSUMING WASTE PRODUCTS BY COMBUSTION
- F23G5/00—Incineration of waste; Incinerator constructions; Details, accessories or control therefor
- F23G5/44—Details; Accessories
-
- B—PERFORMING OPERATIONS; TRANSPORTING
- B01—PHYSICAL OR CHEMICAL PROCESSES OR APPARATUS IN GENERAL
- B01D—SEPARATION
- B01D2258/00—Sources of waste gases
- B01D2258/02—Other waste gases
- B01D2258/0283—Flue gases
- B01D2258/0291—Flue gases from waste incineration plants
-
- F—MECHANICAL ENGINEERING; LIGHTING; HEATING; WEAPONS; BLASTING
- F23—COMBUSTION APPARATUS; COMBUSTION PROCESSES
- F23G—CREMATION FURNACES; CONSUMING WASTE PRODUCTS BY COMBUSTION
- F23G2201/00—Pretreatment
- F23G2201/30—Pyrolysing
- F23G2201/304—Burning pyrosolids
-
- Y—GENERAL TAGGING OF NEW TECHNOLOGICAL DEVELOPMENTS; GENERAL TAGGING OF CROSS-SECTIONAL TECHNOLOGIES SPANNING OVER SEVERAL SECTIONS OF THE IPC; TECHNICAL SUBJECTS COVERED BY FORMER USPC CROSS-REFERENCE ART COLLECTIONS [XRACs] AND DIGESTS
- Y02—TECHNOLOGIES OR APPLICATIONS FOR MITIGATION OR ADAPTATION AGAINST CLIMATE CHANGE
- Y02A—TECHNOLOGIES FOR ADAPTATION TO CLIMATE CHANGE
- Y02A50/00—TECHNOLOGIES FOR ADAPTATION TO CLIMATE CHANGE in human health protection, e.g. against extreme weather
- Y02A50/20—Air quality improvement or preservation, e.g. vehicle emission control or emission reduction by using catalytic converters
- Y02A50/2351—Atmospheric particulate matter [PM], e.g. carbon smoke microparticles, smog, aerosol particles, dust
Landscapes
- Engineering & Computer Science (AREA)
- Chemical & Material Sciences (AREA)
- Chemical Kinetics & Catalysis (AREA)
- Analytical Chemistry (AREA)
- Oil, Petroleum & Natural Gas (AREA)
- Environmental & Geological Engineering (AREA)
- General Chemical & Material Sciences (AREA)
- Biomedical Technology (AREA)
- Health & Medical Sciences (AREA)
- General Engineering & Computer Science (AREA)
- Mechanical Engineering (AREA)
- Physics & Mathematics (AREA)
- Geometry (AREA)
- Exhaust Gas Treatment By Means Of Catalyst (AREA)
- Treating Waste Gases (AREA)
Abstract
本发明涉及一种垃圾热解处理系统。垃圾热解处理系统包括垃圾热解炉、滤筒除尘设备和脱酸剂投加器;垃圾热解炉用于热解垃圾,并产生一级烟气;滤筒除尘设备能够过滤烟气中的颗粒物,生成二级烟气,垃圾热解炉的出气口与滤筒除尘设备的进气口连通;脱酸剂投加器用于提供干态脱酸剂,脱酸剂用于吸附烟气中的酸性气体,脱酸剂投加器的出料口与滤筒除尘设备的进气口连通。该垃圾热解处理系统通过干态脱酸剂实现了干法脱除酸性气体,避免二次污水污染,并且能够通过滤筒除尘器同时去除固态生成物和粉尘,实现同时高效去除酸性气体和粉尘,防止固态生成物堵塞管道。
The invention relates to a waste pyrolysis treatment system. The waste pyrolysis treatment system includes a waste pyrolysis furnace, a filter cartridge dedusting device and a deacidifying agent dosing device; the waste pyrolysis furnace is used to pyrolyze waste and generate first-level flue gas; the filter cartridge dedusting device can filter the Particulate matter generates secondary flue gas, and the gas outlet of the waste pyrolysis furnace is connected to the air inlet of the filter cartridge dust removal equipment; the deacidification agent doser is used to provide dry deacidification agent, and the deacidification agent is used to absorb the deacidification agent in the flue gas. Acid gas, the discharge port of the deacidification agent doser is connected with the air inlet of the filter cartridge dust removal equipment. The waste pyrolysis treatment system realizes the dry removal of acid gas through the dry deacidification agent to avoid secondary sewage pollution, and can simultaneously remove solid products and dust through the filter cartridge dust collector to achieve high-efficiency removal of acid gas and dust at the same time. , to prevent solid products from clogging the pipeline.
Description
技术领域technical field
本发明涉及垃圾处理技术领域,特别是涉及垃圾热解处理系统。The present invention relates to the technical field of garbage disposal, in particular to a garbage pyrolysis disposal system.
背景技术Background technique
目前,城镇居民的生活垃圾一般采用填埋、高温焚烧、热解的方式处理。其中垃圾填埋需要占用大量的土地,而且存在分解周期长,污水的渗漏导致对填埋场周边的土壤、地下水危害严重等问题。高温焚烧的设备投入和运营成本非常高,而且需要足量的垃圾来源才能维持运营。热解处理是一种有效的资源化处理方式,主要是在无氧或缺氧条件下把固体垃圾加热到一定温度,使用热能使化合物的化合键断裂,将有机物由大分子转化为小分子可燃气体、液态燃料和焦炭。At present, the domestic waste of urban residents is generally treated by landfill, high temperature incineration and pyrolysis. Among them, landfill needs to occupy a lot of land, and there are problems such as long decomposition period and leakage of sewage, which causes serious damage to the soil and groundwater around the landfill. High-temperature incineration equipment is very expensive to invest in and operate, and a sufficient source of waste is required to maintain operations. Pyrolysis treatment is an effective resource treatment method. It mainly heats solid waste to a certain temperature under anaerobic or anoxic conditions, uses thermal energy to break the bond of compounds, and converts organic matter from macromolecules to small flammable molecules. Gases, liquid fuels and coke.
垃圾热解处理技术包括高温热解技术、中温热解技术和低温热解技术。低温热解技术首先要对生活垃圾进行简单分选、去除不可热解物质,如玻璃、陶瓷、石头和金属等,然后将剩下的垃圾送入热解炉中。热解炉内设置微量磁场环境,对投入的垃圾进行加热初步达到低温热解温度,再通入磁化激活后的气体提供导热效能,使得垃圾分解为一氧化碳、焦油、水蒸汽和矿物质灰分。其中矿物质灰分经热解炉的排灰口排出,气态组份则经过后续烟气净化设备处理后排放。Waste pyrolysis treatment technology includes high temperature pyrolysis technology, medium temperature pyrolysis technology and low temperature pyrolysis technology. The low-temperature pyrolysis technology firstly needs to simply sort the domestic waste, remove non-pyrolyzable substances, such as glass, ceramics, stones and metals, etc., and then send the remaining waste into the pyrolysis furnace. A micro-magnetic field environment is set up in the pyrolysis furnace to heat the input garbage to initially reach the low-temperature pyrolysis temperature, and then pass the magnetized activated gas to provide thermal conductivity, so that the garbage can be decomposed into carbon monoxide, tar, water vapor and mineral ash. Among them, the mineral ash is discharged through the ash discharge port of the pyrolysis furnace, and the gaseous components are discharged after being processed by the subsequent flue gas purification equipment.
但是一般垃圾热解处理系统在脱酸过程中会产生酸性废水,造成二次污染,从而导致垃圾热解处理系统的处理成本较高。However, the general waste pyrolysis treatment system will produce acidic wastewater during the deacidification process, resulting in secondary pollution, resulting in higher treatment costs for the waste pyrolysis treatment system.
发明内容SUMMARY OF THE INVENTION
基于此,有必要针对垃圾热解处理系统的二次污染问题,提供一种垃圾热解处理系统。Based on this, it is necessary to provide a waste pyrolysis treatment system for the secondary pollution problem of the waste pyrolysis treatment system.
一种垃圾热解处理系统,所述垃圾热解处理系统包括:A waste pyrolysis treatment system, the waste pyrolysis treatment system includes:
垃圾热解炉,所述垃圾热解炉用于热解垃圾,并产生一级烟气;a waste pyrolysis furnace, which is used for pyrolysis of waste and generates primary flue gas;
滤筒除尘设备,所述滤筒除尘设备能够过滤烟气中的颗粒物,生成二级烟气,所述垃圾热解炉的出气口与所述滤筒除尘设备的进气口连通;filter cartridge dust removal equipment, the filter cartridge dust removal equipment can filter particulate matter in the flue gas to generate secondary flue gas, and the air outlet of the waste pyrolysis furnace is communicated with the air inlet of the filter cartridge dust removal equipment;
脱酸剂投加器,所述脱酸剂投加器用于提供干态的脱酸剂,所述脱酸剂用于吸附烟气中的酸性气体,所述脱酸剂投加器的出料口与所述滤筒除尘设备的进气口连通;The deacidification agent doser is used to provide dry deacidification agent, the deacidification agent is used to absorb the acid gas in the flue gas, and the output of the deacidification agent doser The port is communicated with the air inlet of the filter cartridge dust removal device;
相互电连接的计量器和气体传感器,所述计量器设置在所述出料口与所述滤筒除尘设备的进气口之间,所述气体传感器与所述滤筒除尘设备的出气口连通,所述气体传感器用于测试所述二级烟气中的酸性气体浓度。A meter and a gas sensor that are electrically connected to each other, the meter is arranged between the discharge port and the air inlet of the filter cartridge dedusting device, and the gas sensor communicates with the air outlet of the filter cartridge dedusting device , the gas sensor is used to test the acid gas concentration in the secondary flue gas.
上述的垃圾热解处理系统,脱酸剂投加器向滤筒除尘设备的进气口加入脱酸剂,使得一级烟气中的酸性气体与脱酸剂发生化学反应生成固态生成物,颗粒物包括固态生成物与一级烟气中的粉尘,然后这些颗粒物一起被滤筒除尘器拦截过滤,生成二级烟气。因此,该垃圾热解处理系统通过干态脱酸剂实现了干法脱除酸性气体,避免二次污水污染,并且能够通过滤筒除尘器同时去除固态生成物和粉尘,实现同时高效去除酸性气体和粉尘,防止固态生成物堵塞管道。同时设置计量器和气体传感器,可以根据酸性气体的浓度,控制计量器调节脱酸剂的投加量。有利于控制脱酸剂的投加量,保证酸性气体的脱除率,同时避免浪费脱酸剂。In the above-mentioned waste pyrolysis treatment system, the deacidification agent is added to the air inlet of the filter cartridge dust removal device by the deacidification agent, so that the acid gas in the primary flue gas and the deacidification agent chemically react to form solid products, particulate matter. Including solid products and dust in primary flue gas, these particles are then intercepted and filtered by the filter cartridge dust collector to generate secondary flue gas. Therefore, the waste pyrolysis treatment system realizes the dry removal of acid gas through the dry acid deacidification agent, avoiding secondary sewage pollution, and can simultaneously remove solid products and dust through the filter cartridge dust collector to achieve high-efficiency removal of acid gas at the same time. and dust to prevent solid products from clogging the pipes. At the same time, a meter and a gas sensor are set up, and the meter can be controlled to adjust the dosage of the deacidification agent according to the concentration of the acid gas. It is beneficial to control the dosage of deacidification agent, ensure the removal rate of acid gas, and avoid wasting deacidification agent at the same time.
在其中一个实施例中,所述脱酸剂投加器包括脱酸剂存储室和高压喷吹器,所述脱酸剂存储室的出料口与所述滤筒除尘设备的进气口连通,所述高压喷吹器与所述脱酸剂存储室的出料口连通。In one embodiment, the deacidification agent dosing device includes a deacidification agent storage chamber and a high-pressure injector, and the discharge port of the deacidification agent storage chamber communicates with the air inlet of the filter cartridge dedusting device , the high-pressure injector is communicated with the discharge port of the deacidification agent storage chamber.
在其中一个实施例中,所述脱酸剂投加器还包括提升泵,所述脱酸剂存储室包括相互连通的第一存储室和第二存储室,所述第一存储室设有与外界连通的加料口,所述第二存储室的出料口与所述滤筒除尘设备的进气口连通,所述第二存储室与所述提升泵连通,所述提升泵能够将所述第一存储室内的脱酸剂提升至所述第二存储室。In one of the embodiments, the deacidification agent doser further includes a lift pump, the deacidification agent storage chamber includes a first storage chamber and a second storage chamber that communicate with each other, and the first storage chamber is provided with a The feeding port communicated with the outside, the discharge port of the second storage chamber is communicated with the air inlet of the filter cartridge dust removal device, the second storage chamber is communicated with the lift pump, and the lift pump can The deacidification agent in the first storage chamber is lifted to the second storage chamber.
在其中一个实施例中,所述第二存储室的底部设有出料漏斗,所述出料漏斗底部设有所述出料口,所述出料口通过第一管道与所述滤筒除尘设备的进气口连通,所述出料口和所述第一管道均与所述高压喷吹器的出气口连通。In one embodiment, a discharge funnel is provided at the bottom of the second storage chamber, the discharge port is provided at the bottom of the discharge funnel, and the discharge port is dedusted from the filter cartridge through a first pipe The air inlet of the equipment is communicated with, and the material outlet and the first pipeline are both communicated with the air outlet of the high-pressure blower.
在其中一个实施例中,所述垃圾热解炉为垃圾低温热解炉,所述垃圾热解炉内的温度为240℃~300℃,所述垃圾低温热解炉产生的所述一级烟气中包括酸性气体、一氧化碳和焦油。In one embodiment, the waste pyrolysis furnace is a low temperature waste pyrolysis furnace, the temperature in the waste pyrolysis furnace is 240°C to 300°C, and the primary smoke generated by the waste low temperature pyrolysis furnace is The gas includes acid gases, carbon monoxide and tar.
在其中一个实施例中,所述垃圾热解处理系统还包括一氧化碳净化设备,所述一氧化碳净化设备用于净化所述二级烟气中的一氧化碳,所述一氧化碳净化设备的进气口与所述滤筒除尘设备的出气口连通,所述一氧化碳净化设备的出气口用于将处理后的烟气排入环境中。In one embodiment, the waste pyrolysis treatment system further includes a carbon monoxide purification device, the carbon monoxide purification device is used to purify carbon monoxide in the secondary flue gas, and the air inlet of the carbon monoxide purification device is connected to the carbon monoxide purification device. The air outlet of the filter cartridge dust removal device is connected, and the air outlet of the carbon monoxide purification device is used to discharge the treated flue gas into the environment.
在其中一个实施例中,所述一氧化碳净化设备包括壳体和催化剂,所述壳体内设有容纳空间,所述壳体放置在所述垃圾热解炉中;In one of the embodiments, the carbon monoxide purification equipment includes a casing and a catalyst, the casing is provided with a accommodating space, and the casing is placed in the waste pyrolysis furnace;
所述催化剂设置在所述容纳空间内,所述催化剂用于将所述一氧化碳催化氧化为二氧化碳,所述壳体上设有所述一氧化碳净化设备的进气口和所述述一氧化碳净化设备的出气口,且所述一氧化碳净化设备的进气口和所述一氧化碳净化设备的出气口均与所述容纳空间连通。The catalyst is arranged in the accommodating space, and the catalyst is used to catalyze the oxidation of the carbon monoxide into carbon dioxide, and the shell is provided with an air inlet of the carbon monoxide purification device and an outlet of the carbon monoxide purification device. An air port is provided, and both the air inlet of the carbon monoxide purification device and the air outlet of the carbon monoxide purification device are communicated with the accommodating space.
在其中一个实施例中,所述一氧化碳净化设备还包括相互电连接的燃烧机和温度传感器,所述燃烧机设置在垃圾热解炉外,所述壳体上设有与所述容纳空间连通的第一开口,所述燃烧机的出口与所述第一开口连通,所述第一开口设置在所述一氧化碳净化设备的进气口和所述催化剂之间,所述温度传感器设置在垃圾热解炉外,且所述温度传感器的测试头位于所述容纳空间内。In one of the embodiments, the carbon monoxide purification equipment further includes a burner and a temperature sensor that are electrically connected to each other, the burner is arranged outside the waste pyrolysis furnace, and the casing is provided with a burner that communicates with the accommodating space. a first opening, the outlet of the burner communicates with the first opening, the first opening is arranged between the air inlet of the carbon monoxide purification device and the catalyst, and the temperature sensor is arranged in the waste pyrolysis device outside the furnace, and the test head of the temperature sensor is located in the accommodating space.
在其中一个实施例中,所述滤筒除尘设备包括除尘外壳、过滤筒和粉尘漏斗,所述过滤筒设置在所述除尘外壳内,所述过滤筒的侧壁上设有过滤孔,所述过滤筒的轴向与所述滤筒除尘设备的进气方向平行设置,所述除尘外壳的底部设有所述粉尘漏斗,所述滤筒除尘设备的进气口与所述过滤筒与所述粉尘漏斗之间的区域连通,所述滤筒除尘设备的出气口与所述过滤筒的内部区域连通。In one embodiment, the filter cartridge dedusting device includes a dust removal housing, a filter cartridge and a dust funnel, the filter cartridge is arranged in the dust removal housing, and a filter hole is provided on the side wall of the filter cartridge, and the The axial direction of the filter cartridge is parallel to the air intake direction of the filter cartridge dust removal device, the dust funnel is provided at the bottom of the dust removal shell, and the air inlet of the filter cartridge dust removal device is connected to the filter cartridge and the The area between the dust funnels is communicated, and the air outlet of the filter cartridge dust removal device is communicated with the inner area of the filter cartridge.
在其中一个实施例中,所述滤筒除尘设备还包括反冲洗装置,所述反冲洗装置的出气口与所述滤筒除尘设备的出气口连通。In one embodiment, the filter cartridge dedusting device further includes a backwashing device, and the air outlet of the backwashing device is communicated with the air outlet of the filter cartridge dedusting device.
附图说明Description of drawings
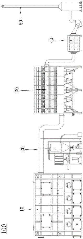
图1为一实施例中垃圾热解处理系统的结构示意图;1 is a schematic structural diagram of a garbage pyrolysis treatment system in an embodiment;
图2为一实施例中脱酸剂投加器的结构示意图;Fig. 2 is the structural representation of deacidification agent doser in one embodiment;
图3为一实施例中滤筒除尘设备的结构示意图;3 is a schematic structural diagram of a filter cartridge dust removal device in an embodiment;
图4为一实施例中一氧化碳净化设备的结构示意图;Fig. 4 is the structural representation of carbon monoxide purification equipment in one embodiment;
图5为一实施例中垃圾热解炉和一氧化碳净化设备的结构示意图。FIG. 5 is a schematic structural diagram of a waste pyrolysis furnace and carbon monoxide purification equipment in an embodiment.
附图标号:100、垃圾热解处理系统;10、垃圾热解炉;11、反应区域;12、顶壁;13、侧壁;20、脱酸剂投加器;21、第一存储室;22、第二存储室;23、高压喷吹器;24、提升泵;25、出料漏斗;26、计量器;30、滤筒除尘设备;31、反冲洗装置;32、粉尘漏斗;33、除尘外壳;40、一氧化碳净化设备;41、壳体;42、燃烧机;43、温度传感器;44、进气管;45、出气管;46、固定框架;47、蜂窝形载体;48、检修窗口;49、密封板;50、烟囱。Reference number: 100, waste pyrolysis treatment system; 10, waste pyrolysis furnace; 11, reaction area; 12, top wall; 13, side wall; 20, deacidification agent doser; 21, first storage room; 22. Second storage room; 23. High-pressure blower; 24. Lift pump; 25. Discharge funnel; 26. Meter; 30. Filter cartridge dust removal equipment; 31. Backwash device; 32. Dust funnel; 33. Dust removal shell; 40, carbon monoxide purification equipment; 41, shell; 42, burner; 43, temperature sensor; 44, intake pipe; 45, outlet pipe; 46, fixed frame; 47, honeycomb carrier; 48, inspection window; 49, sealing plate; 50, chimney.
具体实施方式Detailed ways
为使本发明的上述目的、特征和优点能够更加明显易懂,下面结合附图对本发明的具体实施方式做详细的说明。在下面的描述中阐述了很多具体细节以便于充分理解本发明。但是本发明能够以很多不同于在此描述的其它方式来实施,本领域技术人员可以在不违背本发明内涵的情况下做类似改进,因此本发明不受下面公开的具体实施例的限制。In order to make the above objects, features and advantages of the present invention more clearly understood, the specific embodiments of the present invention will be described in detail below with reference to the accompanying drawings. In the following description, numerous specific details are set forth in order to provide a thorough understanding of the present invention. However, the present invention can be implemented in many other ways different from those described herein, and those skilled in the art can make similar improvements without departing from the connotation of the present invention. Therefore, the present invention is not limited by the specific embodiments disclosed below.
下面结合图例对一些实施例中的垃圾热解处理系统100进行详细描述。The garbage
如图1所示,在一实施例中,提供了一种垃圾热解处理系统100,垃圾热解处理系统100包括垃圾热解炉10、滤筒除尘设备30、脱酸剂投加器20、相互电连接的计量器26和气体传感器。As shown in FIG. 1 , in one embodiment, a waste
其中,垃圾热解炉10用于热解垃圾,并产生一级烟气;滤筒除尘设备30能够过滤烟气中的颗粒物,生成二级烟气,垃圾热解炉10的出气口与滤筒除尘设备30的进气口连通;脱酸剂投加器20用于提供干态的脱酸剂,脱酸剂用于吸附烟气中的酸性气体,脱酸剂投加器20的出料口与滤筒除尘设备30的进气口连通;计量器26设置在出料口与滤筒除尘设备30的进气口之间,气体传感器与滤筒除尘设备30的出气口连通,气体传感器用于测试二级烟气中的酸性气体浓度。Among them, the
上述的垃圾热解处理系统100,脱酸剂投加器20向滤筒除尘设备30的进气口加入脱酸剂,使得一级烟气中的酸性气体与脱酸剂发生化学反应生成固态生成物,颗粒物包括固态生成物与一级烟气中的粉尘,然后这些颗粒物一起被滤筒除尘器拦截过滤,生成二级烟气。因此,该垃圾热解处理系统100通过干态的脱酸剂实现了干法脱除酸性气体,避免二次污水污染,并且能够通过滤筒除尘器同时去除固态生成物和粉尘,实现同时高效去除酸性气体和粉尘,防止固态生成物堵塞管道。In the above-mentioned waste
其中酸性气体包括SO2、HCl和HF,用气态传感器测试滤筒除尘设备30处理后二级烟气的酸性气体浓度,根据酸性气体的浓度,控制计量器26调节脱酸剂的投加量。有利于控制脱酸剂的投加量,保证酸性气体的脱除率,同时避免浪费脱酸剂。The acid gas includes SO 2 , HCl and HF. The acid gas concentration of the secondary flue gas treated by the filter
具体地,如图1和图2所示,在一实施例中,脱酸剂投加器20包括脱酸剂存储室和高压喷吹器23,脱酸剂存储室的出料口与滤筒除尘设备30的进气口连通,高压喷吹器23的出气口与脱酸剂存储室的出料口连通。高压喷吹器23用于将脱酸剂高压吹出,与一级烟气充分混合均匀,有利于提高酸性气体脱除率。Specifically, as shown in FIG. 1 and FIG. 2 , in one embodiment, the
具体地,如图1和图2所示,在一实施例中,脱酸剂投加器20还包括提升泵24,脱酸剂存储室包括相互连通的第一存储室21和第二存储室22,第一存储室21设有与外界连通的加料口,第二存储室22的出料口与滤筒除尘设备30的进气口连通,第二存储室22与提升泵24连通,提升泵24能够将第一存储室21内的脱酸剂提升至第二存储室22。Specifically, as shown in FIGS. 1 and 2 , in an embodiment, the
具体地,如图1和图2所示,在一实施例中,第二存储室22的底部设有出料漏斗25,出料漏斗25底部设有出料口,出料口通过第一管道与滤筒除尘设备30的进气口连通,出料口和第一管道均与高压喷吹器23的出气口连通。Specifically, as shown in FIGS. 1 and 2 , in one embodiment, a
并且,垃圾热解炉10的出气口与滤筒除尘设备30的进气口通过第二管道连通,第一管道的出口与第二管道的中部连通。即脱酸剂直接喷射到第二管道中,在第二管道中一级烟气先与脱酸剂进行反应,再进入滤筒除尘设备30进行过滤。In addition, the air outlet of the
具体地,在一实施例中,垃圾热解炉10为垃圾低温热解炉,垃圾热解炉10内的温度为240℃~300℃,垃圾热低温解炉产生的一级烟气中包括酸性气体、一氧化碳和焦油。对于低温热解产生的一级烟气,脱酸剂还可以与焦油混合,形成脱酸剂包裹焦油的固态生成物,这些固态生成物与粉尘一起被滤筒除尘设备30拦截。因此,滤筒除尘设备30与脱酸剂配合,可以同时去除一级烟气中的焦油、酸性气体和粉尘,防止焦油粘附在管路中,堵塞垃圾热解处理系统100。Specifically, in one embodiment, the
具体地,如图1、图4和图5所示,在一实施例中,垃圾热解处理系统100还包括一氧化碳净化设备40,一氧化碳净化设备40用于净化二级烟气中的一氧化碳,一氧化碳净化设备40的进气口与滤筒除尘设备30的出气口连通,一氧化碳净化设备40的出气口用于将处理后的烟气排入环境中。Specifically, as shown in FIG. 1 , FIG. 4 and FIG. 5 , in one embodiment, the waste
具体地,如图4所示,在一实施例中,一氧化碳净化设备40包括壳体41和催化剂,壳体41内设有容纳空间,壳体41放置在垃圾热解炉10中。Specifically, as shown in FIG. 4 , in one embodiment, the carbon
其中,催化剂设置在容纳空间内,催化剂用于将一氧化碳催化氧化为二氧化碳,壳体41上设有一氧化碳净化设备的进气口和一氧化碳净化设备的出气口。The catalyst is arranged in the accommodating space, and the catalyst is used to catalyze the oxidation of carbon monoxide into carbon dioxide. The
上述的一氧化碳净化设备40,利用催化剂对垃圾热解烟气进行处理,将一氧化碳氧化为二氧化碳,实现净化垃圾热解烟气中的一氧化碳。由于壳体41放置在垃圾热解炉10中,该一氧化碳净化设备40能够直接利用垃圾热解炉10中的温度对催化剂进行加热,使得壳体41内的催化剂温度能够保持与垃圾热解炉10内部温度基本一致,保证催化剂始终处于较佳的活性温度,有效提高了一氧化碳的净化效率。同时,不需要额外的加热设备对催化剂进行加热,提高了热量利用效率,降低了垃圾热解处理系统100的运行成本。The above-mentioned carbon
具体地,如图4和图5所示,在一实施例中,一氧化碳净化设备40还包括相互电连接的燃烧机42和温度传感器43,燃烧机42设置在垃圾热解炉10外,壳体41上设有与容纳空间连通的第一开口,燃烧机42的出口与第一开口连通,第一开口设置在进气口和催化剂之间,温度传感器43设置在垃圾热解炉10外,且温度传感器43的测试头位于容纳空间内。燃烧机42能够喷射燃烧火焰,从而提高进入壳体41的烟气温度,保证催化剂的温度保持在最低活性温度以上。温度传感器43用于测试容纳空间内的催化剂温度,并将通过测试温度来控制燃烧机42的开关,从而调整催化剂的温度。Specifically, as shown in FIG. 4 and FIG. 5 , in an embodiment, the carbon
其中,燃烧机42的进气管44穿过垃圾热解炉10的顶壁12、壳体41插入容纳空间中,温度传感器43的测试头穿过垃圾热解炉10的顶壁12、壳体41插入容纳空间中。燃烧机42和温度传感器43设置在垃圾热解炉10外,用于防止高温损坏燃烧机42和温度传感器43,提高燃烧机42和温度传感器43的使用寿命。The
在本具体实施例中,壳体41采用耐高温的金属壳体41,防止垃圾热解炉10温度损坏壳体41。In this specific embodiment, the
具体地,如图4和图5所示,在一实施例中,一氧化碳净化设备40还包括控制器,燃烧机42和温度传感器43均与控制器电连接,催化剂的最小活性温度为T,当温度传感器43的检测值小于T时,控制器控制燃烧机42开启,当温度传感器43的检测值大于T时,控制器控制燃烧机42关闭。Specifically, as shown in FIG. 4 and FIG. 5 , in an embodiment, the carbon
在本具体实施例中,催化剂包括金属铂和金属钯中的至少一种,催化剂的活性温度为200℃~350℃。催化剂的最小活性温度为200℃,当温度传感器43的检测值小于200℃时,控制器控制燃烧机42开启,当温度传感器43的检测值大于200℃时,控制器控制燃烧机42关闭。In this specific embodiment, the catalyst includes at least one of metal platinum and metal palladium, and the catalyst has an activity temperature of 200°C to 350°C. The minimum active temperature of the catalyst is 200°C. When the detection value of the
具体地,如图4和图5所示,在一实施例中,一氧化碳净化设备40还包括进气管44和出气管45,壳体41为圆柱形壳体41,进气管44穿过垃圾热解炉10的侧壁13与壳体41的一端连接,出气管45穿过垃圾热解炉10的侧壁13与壳体41的另一端连接。即壳体41的两端通过进气管44和出气管45固定在垃圾热解炉10的侧壁13上。出气管45用于与脱硫脱硝设备的入口连通,出气管45用于排放净化后的烟气。Specifically, as shown in FIG. 4 and FIG. 5 , in one embodiment, the carbon
其中,进气管44与壳体41通过法兰盘连接,出气管45与壳体41通过法兰盘连接。Wherein, the
具体地,如图4和图5所示,在一实施例中,壳体41位于垃圾热解炉10的顶壁12与垃圾热解炉10的反应区域11之间,且与壳体41的轴向与垃圾热解炉10的顶壁12平行布置。壳体41的设置在顶壁12与反应区域11之间,既能保证壳体41内的催化剂能够达到活性温度,又能不影响垃圾热解炉10的垃圾热解反应。Specifically, as shown in FIG. 4 and FIG. 5 , in one embodiment, the
具体地,如图4和图5所示,在一实施例中,一氧化碳净化设备40还包括蜂窝形载体47和固定框架46,蜂窝形载体47上负载催化剂,蜂窝形载体47设置在固定框架46内,固定框架46设置在容纳空间内,且与壳体41的内壁连接,固定框架46设置在壳体41的进气口和壳体41的出气口之间。蜂窝形载体47为堇青石蜂窝陶瓷载体,将催化剂负载在蜂窝形载体47上,能够有效提高催化剂与烟气的接触面积,增加一氧化碳在催化剂上的停留时间,从而提高一氧化碳的转化率。Specifically, as shown in FIG. 4 and FIG. 5 , in an embodiment, the carbon
其中,蜂窝形载体47包括多个载体单元,多个载体单元依次堆叠在固定框架46内,形成蜂窝形载体47。The honeycomb-shaped
具体地,在一实施例中,催化剂包括金属铂和金属钯中的至少一种,催化剂的活性温度为200℃~350℃。在活性温度下,金属铂和金属钯能够有效促进一氧化碳氧化为二氧化碳,提高一氧化碳的净化速率。Specifically, in an embodiment, the catalyst includes at least one of metal platinum and metal palladium, and the catalyst has an activity temperature of 200°C to 350°C. At the active temperature, metal platinum and metal palladium can effectively promote the oxidation of carbon monoxide to carbon dioxide, and improve the purification rate of carbon monoxide.
具体地,如图4和图5所示,在一实施例中,壳体41上设有检修窗口48,检修窗口48面向催化剂,检修窗口48上设有可拆卸的密封板49。检修窗口48用于检查和更换催化剂。Specifically, as shown in FIGS. 4 and 5 , in one embodiment, an
具体地,如图1和图3所示,在一实施例中,滤筒除尘设备30包括除尘外壳33、过滤筒和粉尘漏斗32,过滤筒设置在除尘外壳33内,过滤筒的侧壁13上设有过滤孔,过滤筒的轴向与滤筒除尘设备30的进气方向平行设置,除尘外壳33的底部设有粉尘漏斗32,滤筒除尘设备30的进气口与过滤筒与粉尘漏斗32之间的区域连通,滤筒除尘设备30的出气口与过滤筒的内部区域连通。且滤筒除尘设备30的出气口设置在过滤筒的端部。Specifically, as shown in FIGS. 1 and 3 , in one embodiment, the filter cartridge
其中,垃圾热解炉10产生的一级烟气的温度为250℃~300℃,因此设置过滤筒为金属过滤筒,避免一级烟气的温度过高损坏过滤筒,影响滤筒除尘设备30的拦截效果。Among them, the temperature of the primary flue gas generated by the
具体地,如图1和图3所示,在一实施例中,滤筒除尘设备30还包括反冲洗装置31,反冲洗装置31的出气口与滤筒除尘设备30的出气口连通。Specifically, as shown in FIG. 1 and FIG. 3 , in one embodiment, the filter
在本具体实施例中,滤筒除尘设备30的出气口上设有压力传感器,用于测试出气口的压力,滤筒除尘设备30的进气口上设有压力传感器,用于测试进气口的压力。因此,可以根据滤筒除尘设备30的出气口与进气口之间的压力差值大小判断是否需要开启反冲洗装置31,如果压力差值过大,则可以开启反冲洗装置31对过滤筒的过滤孔进行反向气体吹洗,避免过滤筒堵塞。In this specific embodiment, the air outlet of the filter cartridge
具体地,如图1所示,在一实施例中,垃圾热解处理系统100还包括烟囱50,烟囱50的进气口与一氧化碳净化设备40的出气口连通。烟囱50与一氧化碳净化设备40之间还设有排气泵。Specifically, as shown in FIG. 1 , in one embodiment, the waste
在本发明的描述中,需要理解的是,术语“中心”、“纵向”、“横向”、“长度”、“宽度”、“厚度”、“上”、“下”、“前”、“后”、“左”、“右”、“竖直”、“水平”、“顶”、“底”、“内”、“外”、“顺时针”、“逆时针”、“轴向”、“径向”、“周向”等指示的方位或位置关系为基于附图所示的方位或位置关系,仅是为了便于描述本发明和简化描述,而不是指示或暗示所指的装置或元件必须具有特定的方位、以特定的方位构造和操作,因此不能理解为对本发明的限制。In the description of the present invention, it should be understood that the terms "center", "longitudinal", "lateral", "length", "width", "thickness", "upper", "lower", "front", " Back, Left, Right, Vertical, Horizontal, Top, Bottom, Inner, Outer, Clockwise, Counterclockwise, Axial , "radial", "circumferential" and other indicated orientations or positional relationships are based on the orientations or positional relationships shown in the accompanying drawings, and are only for the convenience of describing the present invention and simplifying the description, rather than indicating or implying the indicated device or Elements must have a particular orientation, be constructed and operate in a particular orientation and are therefore not to be construed as limitations of the invention.
此外,术语“第一”、“第二”仅用于描述目的,而不能理解为指示或暗示相对重要性或者隐含指明所指示的技术特征的数量。由此,限定有“第一”、“第二”的特征可以明示或者隐含地包括至少一个该特征。在本发明的描述中,“多个”的含义是至少两个,例如两个,三个等,除非另有明确具体的限定。In addition, the terms "first" and "second" are only used for descriptive purposes, and should not be construed as indicating or implying relative importance or implying the number of indicated technical features. Thus, a feature delimited with "first", "second" may expressly or implicitly include at least one of that feature. In the description of the present invention, "plurality" means at least two, such as two, three, etc., unless otherwise expressly and specifically defined.
在本发明中,除非另有明确的规定和限定,术语“安装”、“相连”、“连接”、“固定”等术语应做广义理解,例如,可以是固定连接,也可以是可拆卸连接,或成一体;可以是机械连接,也可以是电连接;可以是直接相连,也可以通过中间媒介间接相连,可以是两个元件内部的连通或两个元件的相互作用关系,除非另有明确的限定。对于本领域的普通技术人员而言,可以根据具体情况理解上述术语在本发明中的具体含义。In the present invention, unless otherwise expressly specified and limited, the terms "installed", "connected", "connected", "fixed" and other terms should be understood in a broad sense, for example, it may be a fixed connection or a detachable connection , or integrated; it can be a mechanical connection or an electrical connection; it can be directly connected or indirectly connected through an intermediate medium, it can be the internal connection of two elements or the interaction relationship between the two elements, unless otherwise specified limit. For those of ordinary skill in the art, the specific meanings of the above terms in the present invention can be understood according to specific situations.
在本发明中,除非另有明确的规定和限定,第一特征在第二特征“上”或“下”可以是第一和第二特征直接接触,或第一和第二特征通过中间媒介间接接触。而且,第一特征在第二特征“之上”、“上方”和“上面”可是第一特征在第二特征正上方或斜上方,或仅仅表示第一特征水平高度高于第二特征。第一特征在第二特征“之下”、“下方”和“下面”可以是第一特征在第二特征正下方或斜下方,或仅仅表示第一特征水平高度小于第二特征。In the present invention, unless otherwise expressly specified and limited, a first feature "on" or "under" a second feature may be in direct contact between the first and second features, or the first and second features indirectly through an intermediary touch. Also, the first feature being "above", "over" and "above" the second feature may mean that the first feature is directly above or obliquely above the second feature, or simply means that the first feature is level higher than the second feature. The first feature being "below", "below" and "below" the second feature may mean that the first feature is directly below or obliquely below the second feature, or simply means that the first feature has a lower level than the second feature.
需要说明的是,当元件被称为“固定于”或“设置于”另一个元件,它可以直接在另一个元件上或者也可以存在居中的元件。当一个元件被认为是“连接”另一个元件,它可以是直接连接到另一个元件或者可能同时存在居中元件。本文所使用的术语“垂直的”、“水平的”、“上”、“下”、“左”、“右”以及类似的表述只是为了说明的目的,并不表示是唯一的实施方式。It should be noted that when an element is referred to as being "fixed to" or "disposed on" another element, it can be directly on the other element or an intervening element may also be present. When an element is referred to as being "connected" to another element, it can be directly connected to the other element or intervening elements may also be present. The terms "vertical", "horizontal", "upper", "lower", "left", "right" and similar expressions used herein are for the purpose of illustration only and do not represent the only embodiment.
以上实施例的各技术特征可以进行任意的组合,为使描述简洁,未对上述实施例中的各个技术特征所有可能的组合都进行描述,然而,只要这些技术特征的组合不存在矛盾,都应当认为是本说明书记载的范围。The technical features of the above embodiments can be combined arbitrarily. In order to make the description simple, all possible combinations of the technical features in the above embodiments are not described. However, as long as there is no contradiction in the combination of these technical features It is considered to be the range described in this specification.
以上实施例仅表达了本发明的几种实施方式,其描述较为具体和详细,但并不能因此而理解为对发明专利范围的限制。应当指出的是,对于本领域的普通技术人员来说,在不脱离本发明构思的前提下,还可以做出若干变形和改进,这些都属于本发明的保护范围。因此,本发明专利的保护范围应以所附权利要求为准。The above examples only represent several embodiments of the present invention, and the descriptions thereof are specific and detailed, but should not be construed as a limitation on the scope of the invention patent. It should be pointed out that for those of ordinary skill in the art, without departing from the concept of the present invention, several modifications and improvements can also be made, which all belong to the protection scope of the present invention. Therefore, the protection scope of the patent of the present invention should be subject to the appended claims.
Claims (10)
Priority Applications (1)
| Application Number | Priority Date | Filing Date | Title |
|---|---|---|---|
| CN202210663396.2A CN114950032B (en) | 2022-06-13 | 2022-06-13 | Garbage pyrolysis treatment system |
Applications Claiming Priority (1)
| Application Number | Priority Date | Filing Date | Title |
|---|---|---|---|
| CN202210663396.2A CN114950032B (en) | 2022-06-13 | 2022-06-13 | Garbage pyrolysis treatment system |
Publications (2)
| Publication Number | Publication Date |
|---|---|
| CN114950032A true CN114950032A (en) | 2022-08-30 |
| CN114950032B CN114950032B (en) | 2024-11-29 |
Family
ID=82960629
Family Applications (1)
| Application Number | Title | Priority Date | Filing Date |
|---|---|---|---|
| CN202210663396.2A Active CN114950032B (en) | 2022-06-13 | 2022-06-13 | Garbage pyrolysis treatment system |
Country Status (1)
| Country | Link |
|---|---|
| CN (1) | CN114950032B (en) |
Citations (42)
| Publication number | Priority date | Publication date | Assignee | Title |
|---|---|---|---|---|
| US3705231A (en) * | 1969-07-24 | 1972-12-05 | Basf Ag | Selective removal of nitrogen dioxide from gases |
| JPH105548A (en) * | 1996-06-26 | 1998-01-13 | Babcock Hitachi Kk | Refuse incinerating equipment |
| JPH11153316A (en) * | 1997-11-21 | 1999-06-08 | Nishimura Togyo Kk | Waste gas deodorizing system |
| JP2000157948A (en) * | 1998-11-24 | 2000-06-13 | Ishikawajima Harima Heavy Ind Co Ltd | Dioxin decomposition method |
| JP2000274643A (en) * | 1999-03-25 | 2000-10-03 | Takuma Co Ltd | Exhaust gas treating system |
| JP2001065848A (en) * | 1999-08-26 | 2001-03-16 | Ngk Insulators Ltd | Method and device for treating incinerator exhaust gas |
| JP2002018285A (en) * | 2000-07-05 | 2002-01-22 | Matsushita Electric Ind Co Ltd | Decomposition catalyst for organic chlorinated compounds |
| CN101041120A (en) * | 2007-02-13 | 2007-09-26 | 西安中宇软件科技有限责任公司 | Device for the recovery and diffluence of sulfur dioxide and the system and method thereof |
| CN101451711A (en) * | 2007-12-06 | 2009-06-10 | 北京航天石化技术装备工程公司 | Incineration process for processing ammine containing exhaust gas and system thereof |
| CN202470079U (en) * | 2012-01-19 | 2012-10-03 | 蚌埠玻璃工业设计研究院 | Organic waste gas self-preheating catalysis incinerator |
| CN103140442A (en) * | 2010-10-08 | 2013-06-05 | 西门子工业公司 | Mesoporous activated carbon and methods of producing same |
| JP2014008473A (en) * | 2012-06-29 | 2014-01-20 | Mitsubishi Heavy Industries Environmental & Chemical Engineering Co Ltd | Catalyst for cleaning exhaust gas |
| CN103958969A (en) * | 2011-11-09 | 2014-07-30 | 玛特普拉斯有限公司 | Flame-free catalytic thermal oxidation incineration device |
| DE202014004626U1 (en) * | 2014-06-10 | 2014-09-11 | Wei-Hsuan Liu | Waste energy recovery system |
| JP2015151894A (en) * | 2014-02-12 | 2015-08-24 | 株式会社 Acr | Exhaust gas purification device mounted with exhaust gas temperature increase device |
| CN104923010A (en) * | 2015-05-11 | 2015-09-23 | 苏州瑞钰特自动化科技有限公司 | Environmental exhaust gas recovering and purifying system for industrial coating |
| CN205860034U (en) * | 2016-07-04 | 2017-01-04 | 陈仕敏 | A kind of tar processing room and non smoke refuse burning system |
| CN107166403A (en) * | 2017-07-04 | 2017-09-15 | 于向真 | A kind of noble metal C catalyst incinerator and burning process |
| CN108662597A (en) * | 2018-05-22 | 2018-10-16 | 广东上典环境保护工程有限公司 | A kind of organic exhaust gas incineration system for batch reactor |
| JP2018176139A (en) * | 2017-04-21 | 2018-11-15 | 株式会社丸山製作所 | Waste disposal equipment |
| CN108970384A (en) * | 2018-07-24 | 2018-12-11 | 重庆三维丝过滤技术有限公司 | Flue gas of refuse burning treatment process |
| CN210320097U (en) * | 2019-04-24 | 2020-04-14 | 江西省龙净环保工程有限公司 | Organic waste gas CO low-temperature catalytic oxidation incinerator |
| WO2020083204A1 (en) * | 2018-10-22 | 2020-04-30 | 上海必修福企业管理有限公司 | Engine exhaust gas treatment system and method |
| CN210620707U (en) * | 2019-07-31 | 2020-05-26 | 湖南奇思环保设备制造有限公司 | Garbage pyrolysis residue treatment equipment |
| CN210620297U (en) * | 2019-08-05 | 2020-05-26 | 湖南奇思环保设备制造有限公司 | Garbage pyrolysis furnace sewage treatment device |
| CN111380057A (en) * | 2020-03-11 | 2020-07-07 | 湖南省环境保护科学研究院 | Small-size domestic waste catalytic pyrolysis processing system |
| CN111495136A (en) * | 2020-04-23 | 2020-08-07 | 生态环境部华南环境科学研究所 | Full-flow low-temperature dry-method deep treatment system for waste heat treatment flue gas |
| CN211302561U (en) * | 2019-07-10 | 2020-08-21 | 成都霸中霸科技发展有限责任公司 | Industrial organic waste gas incinerator |
| CN111678136A (en) * | 2020-05-08 | 2020-09-18 | 光大环境科技(中国)有限公司 | Pyrolysis gasification system for industrial garbage and sludge |
| CN111735069A (en) * | 2020-06-29 | 2020-10-02 | 浙江澄源环保科技有限公司 | A catalytic combustion equipment for VOC gas |
| AT522330B1 (en) * | 2019-07-05 | 2020-10-15 | Ctp Chemisch Thermische Prozesstechnik Gmbh | Process and system for cleaning exhaust gases laden with organic pollutants |
| CN112121614A (en) * | 2020-09-23 | 2020-12-25 | 山鹰国际控股股份公司 | Stable ultralow emission device and method for solid waste incineration flue gas |
| CN112426863A (en) * | 2020-12-09 | 2021-03-02 | 浙江物华天宝能源环保有限公司 | A dry-process double-bag flue gas purification integrated device for co-processing multiple pollutants |
| CN112717912A (en) * | 2020-12-30 | 2021-04-30 | 同济大学 | Catalyst for producing BTX aromatic hydrocarbon by using organic waste, preparation method and application thereof, and method for producing BTX aromatic hydrocarbon |
| CN112902193A (en) * | 2021-02-23 | 2021-06-04 | 山东大学 | Garbage incinerator system and catalytic removal method for garbage incineration flue gas purification hearth |
| CN214147897U (en) * | 2020-12-22 | 2021-09-07 | 华中科技大学 | A kind of tail gas purification equipment suitable for high temperature pyrolysis treatment of domestic waste |
| CN214147893U (en) * | 2020-12-22 | 2021-09-07 | 华中科技大学 | A kind of garbage thermal detarization equipment |
| CN113587104A (en) * | 2021-08-16 | 2021-11-02 | 昆明理工大学 | Garbage pyrolysis waste gas purification system and technology |
| CN114017777A (en) * | 2021-10-11 | 2022-02-08 | 江苏梵坤环保科技发展股份有限公司 | Waste incinerator system and method for catalytic removal of waste incineration flue gas purification furnace chamber |
| CN217757348U (en) * | 2022-06-13 | 2022-11-08 | 湖南奇思环保设备制造有限公司 | Garbage low-temperature pyrolysis treatment system |
| CN218221577U (en) * | 2022-06-13 | 2023-01-06 | 湖南奇思环保设备制造有限公司 | Garbage pyrolysis treatment system |
| DE102022127964A1 (en) * | 2022-10-22 | 2024-04-25 | Xi'an Xire Boiler Environmental Protection Engineering Co., Ltd. | A coal pulverized coal boiler based system and method for the disposal of waste from multiple sources |
-
2022
- 2022-06-13 CN CN202210663396.2A patent/CN114950032B/en active Active
Patent Citations (42)
| Publication number | Priority date | Publication date | Assignee | Title |
|---|---|---|---|---|
| US3705231A (en) * | 1969-07-24 | 1972-12-05 | Basf Ag | Selective removal of nitrogen dioxide from gases |
| JPH105548A (en) * | 1996-06-26 | 1998-01-13 | Babcock Hitachi Kk | Refuse incinerating equipment |
| JPH11153316A (en) * | 1997-11-21 | 1999-06-08 | Nishimura Togyo Kk | Waste gas deodorizing system |
| JP2000157948A (en) * | 1998-11-24 | 2000-06-13 | Ishikawajima Harima Heavy Ind Co Ltd | Dioxin decomposition method |
| JP2000274643A (en) * | 1999-03-25 | 2000-10-03 | Takuma Co Ltd | Exhaust gas treating system |
| JP2001065848A (en) * | 1999-08-26 | 2001-03-16 | Ngk Insulators Ltd | Method and device for treating incinerator exhaust gas |
| JP2002018285A (en) * | 2000-07-05 | 2002-01-22 | Matsushita Electric Ind Co Ltd | Decomposition catalyst for organic chlorinated compounds |
| CN101041120A (en) * | 2007-02-13 | 2007-09-26 | 西安中宇软件科技有限责任公司 | Device for the recovery and diffluence of sulfur dioxide and the system and method thereof |
| CN101451711A (en) * | 2007-12-06 | 2009-06-10 | 北京航天石化技术装备工程公司 | Incineration process for processing ammine containing exhaust gas and system thereof |
| CN103140442A (en) * | 2010-10-08 | 2013-06-05 | 西门子工业公司 | Mesoporous activated carbon and methods of producing same |
| CN103958969A (en) * | 2011-11-09 | 2014-07-30 | 玛特普拉斯有限公司 | Flame-free catalytic thermal oxidation incineration device |
| CN202470079U (en) * | 2012-01-19 | 2012-10-03 | 蚌埠玻璃工业设计研究院 | Organic waste gas self-preheating catalysis incinerator |
| JP2014008473A (en) * | 2012-06-29 | 2014-01-20 | Mitsubishi Heavy Industries Environmental & Chemical Engineering Co Ltd | Catalyst for cleaning exhaust gas |
| JP2015151894A (en) * | 2014-02-12 | 2015-08-24 | 株式会社 Acr | Exhaust gas purification device mounted with exhaust gas temperature increase device |
| DE202014004626U1 (en) * | 2014-06-10 | 2014-09-11 | Wei-Hsuan Liu | Waste energy recovery system |
| CN104923010A (en) * | 2015-05-11 | 2015-09-23 | 苏州瑞钰特自动化科技有限公司 | Environmental exhaust gas recovering and purifying system for industrial coating |
| CN205860034U (en) * | 2016-07-04 | 2017-01-04 | 陈仕敏 | A kind of tar processing room and non smoke refuse burning system |
| JP2018176139A (en) * | 2017-04-21 | 2018-11-15 | 株式会社丸山製作所 | Waste disposal equipment |
| CN107166403A (en) * | 2017-07-04 | 2017-09-15 | 于向真 | A kind of noble metal C catalyst incinerator and burning process |
| CN108662597A (en) * | 2018-05-22 | 2018-10-16 | 广东上典环境保护工程有限公司 | A kind of organic exhaust gas incineration system for batch reactor |
| CN108970384A (en) * | 2018-07-24 | 2018-12-11 | 重庆三维丝过滤技术有限公司 | Flue gas of refuse burning treatment process |
| WO2020083204A1 (en) * | 2018-10-22 | 2020-04-30 | 上海必修福企业管理有限公司 | Engine exhaust gas treatment system and method |
| CN210320097U (en) * | 2019-04-24 | 2020-04-14 | 江西省龙净环保工程有限公司 | Organic waste gas CO low-temperature catalytic oxidation incinerator |
| AT522330B1 (en) * | 2019-07-05 | 2020-10-15 | Ctp Chemisch Thermische Prozesstechnik Gmbh | Process and system for cleaning exhaust gases laden with organic pollutants |
| CN211302561U (en) * | 2019-07-10 | 2020-08-21 | 成都霸中霸科技发展有限责任公司 | Industrial organic waste gas incinerator |
| CN210620707U (en) * | 2019-07-31 | 2020-05-26 | 湖南奇思环保设备制造有限公司 | Garbage pyrolysis residue treatment equipment |
| CN210620297U (en) * | 2019-08-05 | 2020-05-26 | 湖南奇思环保设备制造有限公司 | Garbage pyrolysis furnace sewage treatment device |
| CN111380057A (en) * | 2020-03-11 | 2020-07-07 | 湖南省环境保护科学研究院 | Small-size domestic waste catalytic pyrolysis processing system |
| CN111495136A (en) * | 2020-04-23 | 2020-08-07 | 生态环境部华南环境科学研究所 | Full-flow low-temperature dry-method deep treatment system for waste heat treatment flue gas |
| CN111678136A (en) * | 2020-05-08 | 2020-09-18 | 光大环境科技(中国)有限公司 | Pyrolysis gasification system for industrial garbage and sludge |
| CN111735069A (en) * | 2020-06-29 | 2020-10-02 | 浙江澄源环保科技有限公司 | A catalytic combustion equipment for VOC gas |
| CN112121614A (en) * | 2020-09-23 | 2020-12-25 | 山鹰国际控股股份公司 | Stable ultralow emission device and method for solid waste incineration flue gas |
| CN112426863A (en) * | 2020-12-09 | 2021-03-02 | 浙江物华天宝能源环保有限公司 | A dry-process double-bag flue gas purification integrated device for co-processing multiple pollutants |
| CN214147897U (en) * | 2020-12-22 | 2021-09-07 | 华中科技大学 | A kind of tail gas purification equipment suitable for high temperature pyrolysis treatment of domestic waste |
| CN214147893U (en) * | 2020-12-22 | 2021-09-07 | 华中科技大学 | A kind of garbage thermal detarization equipment |
| CN112717912A (en) * | 2020-12-30 | 2021-04-30 | 同济大学 | Catalyst for producing BTX aromatic hydrocarbon by using organic waste, preparation method and application thereof, and method for producing BTX aromatic hydrocarbon |
| CN112902193A (en) * | 2021-02-23 | 2021-06-04 | 山东大学 | Garbage incinerator system and catalytic removal method for garbage incineration flue gas purification hearth |
| CN113587104A (en) * | 2021-08-16 | 2021-11-02 | 昆明理工大学 | Garbage pyrolysis waste gas purification system and technology |
| CN114017777A (en) * | 2021-10-11 | 2022-02-08 | 江苏梵坤环保科技发展股份有限公司 | Waste incinerator system and method for catalytic removal of waste incineration flue gas purification furnace chamber |
| CN217757348U (en) * | 2022-06-13 | 2022-11-08 | 湖南奇思环保设备制造有限公司 | Garbage low-temperature pyrolysis treatment system |
| CN218221577U (en) * | 2022-06-13 | 2023-01-06 | 湖南奇思环保设备制造有限公司 | Garbage pyrolysis treatment system |
| DE102022127964A1 (en) * | 2022-10-22 | 2024-04-25 | Xi'an Xire Boiler Environmental Protection Engineering Co., Ltd. | A coal pulverized coal boiler based system and method for the disposal of waste from multiple sources |
Non-Patent Citations (1)
| Title |
|---|
| 沈祥智;严建华;池涌;: "垃圾热解能耗及反应热测试方法的探讨", 热力发电, no. 11, 15 November 2008 (2008-11-15) * |
Also Published As
| Publication number | Publication date |
|---|---|
| CN114950032B (en) | 2024-11-29 |
Similar Documents
| Publication | Publication Date | Title |
|---|---|---|
| CN1242839C (en) | Drying room exhaust gas purification and energy recovery system and apparatus | |
| CN212283456U (en) | Waste gas treatment system | |
| CN214370257U (en) | Anti-blocking five-chamber heat accumulating type organic waste gas oxidation furnace | |
| CN218221577U (en) | Garbage pyrolysis treatment system | |
| CN109593535A (en) | The apparatus and method of solid waste pyrolytic gasification -- reforming plasma | |
| CN217757348U (en) | Garbage low-temperature pyrolysis treatment system | |
| KR101160055B1 (en) | The horizontal-type burner | |
| CN114950032A (en) | Garbage pyrolysis treatment system | |
| CN103884016B (en) | The efficient catalytic burner of dust-laden sulfur-bearing low-concentration methane and combustion method | |
| KR101160053B1 (en) | The vertical-type burner | |
| CN202844846U (en) | Exhaust gas treatment system | |
| CN202346983U (en) | Dry type filtering and microwave regeneration recovery device for biomass gasification tar | |
| CN112303638A (en) | Multi-stage combustion control clean combustion system | |
| CN213913094U (en) | Garbage incinerator flue gas multiple pollutant coprocessing device | |
| CN112325302B (en) | Incinerator and garbage disposal system | |
| KR102231419B1 (en) | Combustion Flue Gas Treatment System with High Denitrification Efficiency | |
| CN214552538U (en) | A device for low temperature catalytic ozonation treatment of malodor and VOCs | |
| CN201049277Y (en) | Organic exhaust gas adsorption burning purifying device | |
| CN211936249U (en) | VOCs adsorbs and catalytic oxidation device | |
| CN210320060U (en) | Incinerator and garbage disposal system | |
| CN203052677U (en) | Sludge magnetizing pyrolysis and combustion integration machine | |
| CN210292873U (en) | A collection processing apparatus for organic waste gas of kiln | |
| CN209893425U (en) | Industrial organic waste gas incinerator | |
| CN115234922A (en) | Rotary wheel concentration heat accumulation type incinerator system | |
| CN219828858U (en) | VOCs exhaust treatment system |
Legal Events
| Date | Code | Title | Description |
|---|---|---|---|
| PB01 | Publication | ||
| PB01 | Publication | ||
| SE01 | Entry into force of request for substantive examination | ||
| SE01 | Entry into force of request for substantive examination | ||
| CB03 | Change of inventor or designer information | ||
| CB03 | Change of inventor or designer information |
Inventor after: Li Yifei Inventor after: Zhou Weichun Inventor after: Qiu Heping Inventor after: Wang Guangjun Inventor before: Li Yifei Inventor before: Qiu Heping Inventor before: Wang Guangjun Inventor before: Zhou Weichun |
|
| GR01 | Patent grant | ||
| GR01 | Patent grant | ||
| CB03 | Change of inventor or designer information | ||
| CB03 | Change of inventor or designer information |
Inventor after: Zhou Weichun Inventor after: Li Yifei Inventor after: Qiu Heping Inventor after: Wang Guangjun Inventor before: Li Yifei Inventor before: Zhou Weichun Inventor before: Qiu Heping Inventor before: Wang Guangjun |
