CN114949723A - Elastic sponge cushion - Google Patents
Elastic sponge cushion Download PDFInfo
- Publication number
- CN114949723A CN114949723A CN202210584303.7A CN202210584303A CN114949723A CN 114949723 A CN114949723 A CN 114949723A CN 202210584303 A CN202210584303 A CN 202210584303A CN 114949723 A CN114949723 A CN 114949723A
- Authority
- CN
- China
- Prior art keywords
- sponge
- mounting groove
- groove
- sub
- sponge cushion
- Prior art date
- Legal status (The legal status is an assumption and is not a legal conclusion. Google has not performed a legal analysis and makes no representation as to the accuracy of the status listed.)
- Pending
Links
- 229920001821 foam rubber Polymers 0.000 claims abstract description 8
- 238000007789 sealing Methods 0.000 claims description 30
- 239000004744 fabric Substances 0.000 claims description 27
- 238000009434 installation Methods 0.000 claims description 11
- 230000007246 mechanism Effects 0.000 claims description 8
- 230000002093 peripheral effect Effects 0.000 claims description 5
- 230000008859 change Effects 0.000 abstract description 4
- 239000013013 elastic material Substances 0.000 abstract description 2
- 238000000034 method Methods 0.000 description 6
- 230000009471 action Effects 0.000 description 5
- 230000000694 effects Effects 0.000 description 5
- 239000006260 foam Substances 0.000 description 3
- 230000008569 process Effects 0.000 description 3
- 238000010586 diagram Methods 0.000 description 2
- 239000000428 dust Substances 0.000 description 2
- 239000003292 glue Substances 0.000 description 2
- 239000000463 material Substances 0.000 description 2
- 238000004806 packaging method and process Methods 0.000 description 2
- 239000004033 plastic Substances 0.000 description 2
- 229920003023 plastic Polymers 0.000 description 2
- 230000001681 protective effect Effects 0.000 description 2
- 230000004075 alteration Effects 0.000 description 1
- 230000009286 beneficial effect Effects 0.000 description 1
- 230000007547 defect Effects 0.000 description 1
- 230000005484 gravity Effects 0.000 description 1
- 210000001503 joint Anatomy 0.000 description 1
- 238000012986 modification Methods 0.000 description 1
- 230000004048 modification Effects 0.000 description 1
- 239000011148 porous material Substances 0.000 description 1
- 230000002035 prolonged effect Effects 0.000 description 1
- 238000000926 separation method Methods 0.000 description 1
- 238000009958 sewing Methods 0.000 description 1
- 238000006467 substitution reaction Methods 0.000 description 1
Images
Classifications
-
- A—HUMAN NECESSITIES
- A63—SPORTS; GAMES; AMUSEMENTS
- A63B—APPARATUS FOR PHYSICAL TRAINING, GYMNASTICS, SWIMMING, CLIMBING, OR FENCING; BALL GAMES; TRAINING EQUIPMENT
- A63B6/00—Mats or the like for absorbing shocks for jumping, gymnastics or the like
Landscapes
- Health & Medical Sciences (AREA)
- General Health & Medical Sciences (AREA)
- Physical Education & Sports Medicine (AREA)
- Mattresses And Other Support Structures For Chairs And Beds (AREA)
Abstract
The invention relates to the technical field of elastic materials, in particular to an elastic sponge cushion which comprises a sponge main body and at least two sponge split bodies, wherein the sponge main body is provided with a first mounting groove positioned in the middle and a second mounting groove adjacent to the edge of the sponge main body; at least two sponge components of a whole that can function independently can be dismantled and set up in first mounting groove and second mounting groove, and this elasticity foam-rubber cushion adopts the modularized design, can change the highest middle part position of frequency of use to prolong whole life, improve the use reliability.
Description
Technical Field
The invention relates to the technical field of elastic materials, in particular to an elastic spongy cushion.
Background
Sponges are porous materials with a certain elasticity and are often used as protective tools. The existing elastic spongy cushion generally comprises an outer packaging layer and a spongy layer arranged inside the outer packaging layer, and is often used as a protective article for physical training.
Disclosure of Invention
Technical problem to be solved
Aiming at the defects of the prior art, the invention provides the elastic spongy cushion which adopts a modular design and can replace the middle position with the highest use frequency, so that the overall service life is prolonged, and the use reliability is improved.
(II) technical scheme
To achieve the above object, an embodiment of the present application provides an elastic sponge pad, including: the sponge comprises a sponge main body, a first fixing groove and a second fixing groove, wherein the sponge main body is provided with the first fixing groove positioned in the middle and the second fixing groove adjacent to the edge of the sponge main body; and at least two sponge components of a whole that can function independently, at least two the sponge components of a whole that can function independently set up in first mounting groove with in the second mounting groove can be dismantled.
In a possible implementation manner, the sponge separation body is connected with the first installation groove or the second installation groove through a first magic tape.
In a possible implementation manner, the opening of the first mounting groove is detachably provided with a first sealing cloth for sealing the first mounting groove, and the opening of the second mounting groove is detachably provided with a second sealing cloth for sealing the second mounting groove.
In a possible implementation manner, the first sealing cloth and/or the second sealing cloth is connected with the sponge main body through a second magic tape or a zipper.
In a possible implementation manner, the sponge main body comprises a first split body located in the middle and second split bodies located on two sides of the first split body, the second split bodies can be folded in a turning manner along a connecting line of the first split body and the second split bodies, the first mounting groove of the second split body is arranged on the first split body, and the second mounting groove of the second split body is arranged on the second split body.
In a possible implementation manner, one end of one of the second sub-bodies, which is far away from the first sub-body, may be adhered to one end of the other second sub-body, which is far away from the first sub-body, by a third hook-and-loop fastener.
In a possible implementation manner, one end of the first split body is provided with a strip-shaped groove, the elastic sponge pad further comprises a traveling mechanism arranged in the strip-shaped groove, and the traveling assembly comprises a shell and a traveling assembly arranged in the shell.
In one possible implementation, the walking assembly includes: the two rotating support plates are rotatably arranged in the shell through a rotating shaft and are oppositely arranged; the connecting shaft is fixedly arranged between the two rotating support plates; the traveling wheel is rotatably arranged on the outer side of the connecting shaft; the limiting ring is fixedly arranged on the outer side of one of the rotating shafts, and a first positioning groove and a second positioning groove are formed in the outer peripheral side of the limiting ring; one end of the positioning pin penetrates through the shell and is inserted into the first positioning groove or the second positioning groove; when the positioning pin is inserted into the first positioning groove of the limiting ring, the walking wheel of the walking assembly is contained in the shell, and when the positioning pin is inserted into the second positioning groove of the limiting ring, the walking wheel of the walking assembly is located outside the shell.
In a possible implementation manner, the walking assembly further comprises a torsion spring sleeved outside the rotating shaft and used for providing torsion for the rotating shaft so that the walking wheel is accommodated in the shell.
In a possible implementation manner, a handle is arranged at one end of the first split body far away from the travelling mechanism.
(III) advantageous effects
Compared with the prior art, the invention provides an elastic spongy cushion which has the following beneficial effects: this elasticity foam-rubber cushion, the sponge components of a whole that can function independently frequency of use in the first mounting groove is the highest, behind the sponge components of a whole that can function independently elasticity variation in first mounting groove, can exchange through the sponge components of a whole that can function independently in with the second mounting groove with the sponge components of a whole that can function independently in the first mounting groove to guarantee the elastic support effect of first mounting groove department, can change the middle part position that frequency of use is the highest, thereby prolong whole life, improve the operational reliability.
Drawings
FIG. 1 is a schematic perspective view of a resilient foam-rubber cushion according to an embodiment of the present disclosure;
FIG. 2 shows a schematic perspective view of FIG. 1 at another angle;
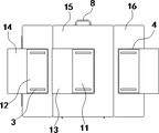
FIG. 3 is a schematic diagram illustrating a top view of a resilient foam pad provided in accordance with an embodiment of the present application;
FIG. 4 is a schematic diagram illustrating a top view of another version of a resilient foam pad provided in accordance with an embodiment of the present application;
FIG. 5 is a schematic perspective view of a folded elastic sponge cushion provided in the embodiments of the present application;
fig. 6 is a schematic perspective view illustrating a folded sponge main body according to an embodiment of the present disclosure;
fig. 7 is a schematic perspective view illustrating a traveling mechanism provided in an embodiment of the present application;
FIG. 8 is a schematic perspective view of a walking assembly provided in an embodiment of the present application;
in the drawings, the reference numbers:
1. a sponge body; 11. a first mounting groove; 12. a second mounting groove; 13. a first seal cloth; 14. a second sealing cloth; 15. a first split body; 151. a strip-shaped groove; 16. a second body;
2. the sponge is split; 3. a first magic tape; 4. a second magic tape; 5. a zipper; 6. a third magic tape;
7. a traveling mechanism; 71. a housing; 72. a walking assembly; 721. rotating the support plate; 7211. a rotating shaft; 722. a connecting shaft; 723. a traveling wheel; 724. a limiting ring; 7241. a first positioning groove; 7242. a second positioning groove; 725. positioning pins; 726. a torsion spring;
8. a handle.
Detailed Description
The technical solutions in the embodiments of the present invention will be clearly and completely described below with reference to the drawings in the embodiments of the present invention, and it is obvious that the described embodiments are only a part of the embodiments of the present invention, and not all of the embodiments. All other embodiments, which can be obtained by a person skilled in the art without making any creative effort based on the embodiments in the present invention, belong to the protection scope of the present invention.
Referring to fig. 1-8, embodiments of the present application provide a resilient foam pad comprising: a sponge main body 1 and at least two sponge split bodies 2.
The sponge main body 1 is provided with a first mounting groove 11 positioned in the middle and a second mounting groove 12 adjacent to the edge of the sponge main body 1. Specifically, the number of the second mounting grooves 12 is two, the number of the sponge components 2 is 3, one of the sponge components 2 is mounted in the first mounting groove 11, and the other two sponge components 2 are respectively mounted in the two second mounting grooves 12.
At least two sponge components of a whole that can function independently 2 can dismantle and set up in first mounting groove 11 and second mounting groove 12. Specifically, the sponge components of a whole that can function independently 2 includes the dustcoat and fills the sponge layer that sets up in the dustcoat.
In this application, the 2 frequency of use of the sponge components of a whole that can function independently in first mounting groove 11 is the highest, behind the 2 elasticity variations of the sponge components of a whole that can function independently in first mounting groove 11, can exchange with the 2 sponge components of a whole that can function independently in the first mounting groove 11 with the sponge components of a whole that can function independently 2 in the second mounting groove 12 to guarantee the elastic support effect of first mounting groove 11 department, can change the middle part position that the frequency of use is the highest, thereby prolong whole life, improve the reliability in utilization.
In this application embodiment, sponge components of a whole that can function independently 2 is connected through first magic subsides 3 with first mounting groove 11 or second mounting groove 12.
Concretely, sponge components of a whole that can function independently 2 pastes 3 adhesions through first magic with first mounting groove 11, only need when needing to take out sponge components of a whole that can function independently 2 with sponge components of a whole that can outwards stimulate. Sponge components of a whole that can function independently 2 pastes 3 adhesions through first magic with second mounting groove 12, only need when needing to take out sponge components of a whole that can function independently 2 with the sponge outwards stimulate can.
In the embodiment of the present application, a first sealing cloth 13 for sealing the first installation groove 11 is detachably disposed at an opening of the first installation groove 11, and a second sealing cloth 14 for sealing the second installation groove 12 is detachably disposed at an opening of the second installation groove 12.
In the application, the first mounting groove 11 is covered by the first sealing cloth 13 at the opening of the first mounting groove 11, so that dust can be prevented from entering the first mounting groove 11, and when the sponge split body 2 in the first mounting groove 11 needs to be replaced, the first sealing cloth 13 is opened; the second mounting groove 12 is sealed by the second sealing cloth 14, so that dust can be prevented from entering the second mounting groove 12, and when the sponge split body 2 in the second mounting groove 12 needs to be replaced, the second sealing cloth 14 is opened.
Further, the first sealing cloth 13 and/or the second sealing cloth 14 are connected with the sponge body 1 through the second hook and loop fastener 4 or the zipper 5.
As shown in fig. 4, in an embodiment, the first sealing cloth 13 is connected to the sponge main body 1 through the second hook and loop fastener 4, the second hook and loop fastener 4 is disposed on the outer peripheral side of the first mounting groove 11, the second sealing cloth 14 is connected to the sponge main body 1 through the second hook and loop fastener 4, and the second hook and loop fastener 4 is disposed on the outer peripheral side of the second mounting groove 12.
As shown in fig. 3, in another embodiment, the first sealing cloth 13 is connected with the sponge body 1 through a zipper 5, specifically, one side of the first sealing cloth 13 is connected with the sponge body 1, the other three sides are connected with the sponge body 1 through zippers 5, and after the zippers 5 are opened, the first sealing cloth 13 can be opened, so as to open the first installation groove 11; the second sealing cloth 14 is connected with the sponge body 1 through the zipper 5, specifically, one side of the second sealing cloth 14 is connected with the sponge body 1, the other three sides of the second sealing cloth 14 are connected with the sponge body 1 through the zipper 5, the second sealing cloth 14 can be opened by opening the zipper 5, and therefore the second mounting groove 12 is opened.
As shown in fig. 5 to 6, in the embodiment of the present application, the sponge main body 1 includes a first divided body 15 located in the middle and second divided bodies 16 located at both sides of the first divided body 15, the second divided bodies 16 can be folded and inverted along a connecting line of the first divided body 15 and the second divided body 16, the second divided body 16 has a first mounting groove 11 provided on the first divided body 15, and a second mounting groove 12 provided on the second divided body 16.
In this application, sponge main part 1 includes first components 15 and two second components 16, can fold with first components 15 after the upset of second components 16 at ordinary times to reduce area, when using, can fold with first components 15 coplane after the upset of second components 16.
Specifically, the first split body 15 and the second split body 16 both comprise a jacket and a sponge layer arranged inside the jacket, and the butt joint of the jacket of the first split body 15 and the jacket of the second split body 16 is connected in a sewing mode.
Furthermore, one end of one of the second sub-bodies 16 far away from the first sub-body 15 can be adhered to one end of the other second sub-body 16 far away from the first sub-body 15 through the third magic tape 6.
In this application, folding the upset of second part 16 to when stacking with first part 15, 4 adhesions are pasted through the second magic to the opposite face of two second parts 16 to carry out temporary fixation to two second parts 16.
As shown in fig. 7, in the embodiment of the present application, one end of the first sub-body 15 is provided with a strip-shaped groove 151, the elastic sponge pad further includes a traveling mechanism 7 disposed in the strip-shaped groove 151, and the traveling assembly 72 includes a housing 71 and a traveling assembly 72 disposed in the housing 71.
Specifically, casing 71 adopts the plastics material, is fixed in bar groove 151 through glue in, can lift up the one end that running gear 7 was kept away from to first components of a whole that can function independently 15 when removing the foam-rubber cushion, drags the foam-rubber cushion through running gear 72 and removes, need not to move, improves the practicality.
Specifically, a plurality of sponge cushions can be stacked and pulled integrally.
As shown in fig. 8, further, the walking assembly 72 includes: two rotating support plates 721, a connecting shaft 722, a walking wheel 723, a limit ring 724 and a positioning pin 725.
The two rotation brackets 721 are rotatably provided in the housing 71 by a rotation shaft 7211, and the two rotation brackets 721 are disposed opposite to each other. The rotating shaft 7211 and the connecting shaft 722 are arranged non-concentrically, so that the angle of the traveling wheel 723 can be adjusted after the rotating support plate 721 is rotated.
The connecting shaft 722 is fixedly disposed between the two rotating brackets 721.
The traveling wheel 723 is rotatably disposed outside the connecting shaft 722.
The limit ring 724 is fixedly arranged on the outer side of one of the rotating shafts 7211, and a first positioning groove 7241 and a second positioning groove 7242 are arranged on the outer peripheral side of the limit ring 724.
One end of the positioning pin 725 is inserted into the first positioning groove 7241 or the second positioning groove 7242 through the housing 71.
When the positioning pin 725 is inserted into the first positioning groove 7241 of the retaining ring 724, the walking wheel 723 of the walking assembly 72 is received in the housing 71, and when the positioning pin 725 is inserted into the second positioning groove 7242 of the retaining ring 724, the walking wheel 723 of the walking assembly 72 is located outside the housing 71.
In the application, when the sponge pad needs to be moved, the positioning pin 725 is inserted into the second positioning groove 7242, the rotating support plate 721 is fixed, and the walking wheel 723 is located outside the shell 71 and can be used for walking; the positioning pin 725 can be inserted into the first positioning groove 7241 at ordinary times, the rotating support plate 721 is fixed at the moment, and the travelling wheel 723 is accommodated in the shell 71, so that the stacking of the sponge pads is not hindered.
Further, the walking assembly 72 further includes a torsion spring 726 sleeved outside the rotating shaft 7211 for providing torsion to the rotating shaft 7211, so that the walking wheel 723 is accommodated in the housing 71.
In the application, after the positioning pin 725 is pulled out, the rotating shaft 7211 rotates under the action of the torsion spring 726, and the rotating support plate 721 can be automatically rotated, so that the traveling wheel 723 is stored in the housing 71.
In the embodiment of the present application, a handle 8 is disposed at one end of the first sub-body 15 away from the traveling mechanism 7.
Specifically, handle 8 adopts the plastics material, and is fixed through glue with the first components of a whole that can function independently 15 of sponge main part 1, through handle 8 and running gear 7 cooperation, conveniently drags the foam-rubber cushion.
Optionally, a connecting strip may be further disposed between the handle 8 and the casing 71, and the sponge body 1 is supported by the connecting strip, so as to prevent the sponge body 1 from deforming under the action of its own gravity.
This elasticity foam-rubber cushion is when using, and 2 frequency of use of the sponge components of a whole that can function independently in first mounting groove 11 are the highest, behind the 2 elasticity variations of the sponge components of a whole that can function independently in first mounting groove 11, can exchange with 2 sponge components of a whole that can function independently in the first mounting groove 11 with the sponge components of a whole that can function independently 2 in the second mounting groove 12 to guarantee the elastic support effect of 11 departments of first mounting groove, can change the middle part position that frequency of use is the highest, thereby prolong whole life, improve the operational reliability.
It should be noted that references in the specification to "one embodiment," "an example embodiment," "some embodiments," etc., indicate that the embodiment described may include a particular feature, structure, or characteristic, but every embodiment may not necessarily include the particular feature, structure, or characteristic. Moreover, such phrases are not necessarily referring to the same embodiment. Further, when a particular feature, structure, or characteristic is described in connection with an embodiment, it is within the knowledge of one skilled in the art to effect such feature, structure, or characteristic in connection with other embodiments whether or not explicitly described.
It should be readily understood that "on … …", "above … …" and "above … …" in this disclosure should be interpreted in the broadest manner such that "on … …" means not only "directly on something", but also includes the meaning of "on something" with intervening features or layers in between, and "above … …" or "above … …" includes not only the meaning of "above something" or "above", but also the meaning of "above something" or "above" with no intervening features or layers in between (i.e., directly on something).
Furthermore, spatially relative terms, such as "below," "lower," "above," "upper," and the like, may be used herein for ease of description to describe one element or feature's illustrated relationship to another element or feature. Spatially relative terms are intended to encompass different orientations of the device in use or operation in addition to the orientation depicted in the figures. The device may have other orientations (rotated 90 degrees or at other orientations) and the spatially relative descriptors used herein interpreted accordingly as well.
It is noted that, in this document, relational terms such as "first" and "second," and the like, may be used solely to distinguish one entity or action from another entity or action without necessarily requiring or implying any actual such relationship or order between such entities or actions. Also, the terms "comprises," "comprising," or any other variation thereof, are intended to cover a non-exclusive inclusion, such that a process, method, article, or apparatus that comprises a list of elements does not include only those elements but may include other elements not expressly listed or inherent to such process, method, article, or apparatus. Without further limitation, an element defined by the phrase "comprising an … …" does not exclude the presence of other identical elements in a process, method, article, or apparatus that comprises the element.
Although embodiments of the present invention have been shown and described, it will be appreciated by those skilled in the art that changes, modifications, substitutions and alterations can be made in these embodiments without departing from the principles and spirit of the invention, the scope of which is defined in the appended claims and their equivalents.
Claims (10)
1. An elastic sponge cushion, characterized by comprising:
the sponge comprises a sponge main body (1), wherein the sponge main body (1) is provided with a first mounting groove (11) positioned in the middle and a second mounting groove (12) adjacent to the edge of the sponge main body (1); and
at least two sponge components of a whole that can function independently (2), at least two sponge components of a whole that can function independently (2) can dismantle set up in first mounting groove (11) with in second mounting groove (12).
2. The elastic sponge cushion according to claim 1, wherein the sponge body (2) is connected with the first mounting groove (11) or the second mounting groove (12) through a first magic tape (3).
3. The elastic sponge cushion according to claim 1, wherein a first sealing cloth (13) for covering the first installation groove (11) is detachably arranged at the opening of the first installation groove (11), and a second sealing cloth (14) for covering the second installation groove (12) is detachably arranged at the opening of the second installation groove (12).
4. An elastic sponge cushion according to claim 3, characterized in that the first sealing cloth (13) and/or the second sealing cloth (14) is connected with the sponge body (1) through a second magic tape (4) or a zipper (5).
5. The elastic sponge cushion according to claim 1, wherein the sponge main body (1) comprises a first sub-body (15) in the middle and second sub-bodies (16) on both sides of the first sub-body (15), the second sub-bodies (16) can be folded and overturned along the connecting line of the first sub-body (15) and the second sub-bodies (16), the second sub-bodies (16) are provided with the first mounting groove (11) on the first sub-body (15) and the second mounting groove (12) on the second sub-bodies (16).
6. The elastic sponge cushion according to claim 5, wherein one end of one of the second components (16) far away from the first component (15) can be adhered to the other end of the second component (16) far away from the first component (15) by a third magic tape (6).
7. The elastic sponge cushion as claimed in claim 5, wherein a strip-shaped groove (151) is formed at one end of the first split body (15), the elastic sponge cushion further comprises a walking mechanism (7) arranged in the strip-shaped groove (151), and the walking assembly (72) comprises a housing (71) and a walking assembly (72) arranged in the housing (71).
8. The resilient foam-rubber cushion according to claim 7, wherein said walking assembly (72) comprises:
the two rotating support plates (721) are rotatably arranged in the shell (71) through a rotating shaft (7211), and the two rotating support plates (721) are oppositely arranged;
a connecting shaft (722) fixedly arranged between the two rotating support plates (721);
the traveling wheel (723) is rotatably arranged outside the connecting shaft (722);
the limiting ring (724) is fixedly arranged on the outer side of one of the rotating shafts (7211), and a first positioning groove (7241) and a second positioning groove (7242) are formed in the outer peripheral side of the limiting ring (724); and
a positioning pin (725) having one end inserted into the first positioning groove (7241) or the second positioning groove (7242) through the housing (71);
wherein the traveling wheel (723) of the traveling assembly (72) is received in the case (71) when the positioning pin (725) is inserted into the first positioning groove (7241) of the retainer ring (724), and the traveling wheel (723) of the traveling assembly (72) is located outside the case (71) when the positioning pin (725) is inserted into the second positioning groove (7242) of the retainer ring (724).
9. The elastic sponge cushion as claimed in claim 8, wherein the walking assembly (72) further comprises a torsion spring (726) sleeved outside the rotating shaft (7211) for providing torsion to the rotating shaft (7211) so as to enable the walking wheel (723) to be accommodated in the housing (71).
10. An elastic sponge cushion according to claim 7, characterized in that the end of the first split body (15) remote from the walking mechanism (7) is provided with a handle (8).
Priority Applications (1)
| Application Number | Priority Date | Filing Date | Title |
|---|---|---|---|
| CN202210584303.7A CN114949723A (en) | 2022-05-27 | 2022-05-27 | Elastic sponge cushion |
Applications Claiming Priority (1)
| Application Number | Priority Date | Filing Date | Title |
|---|---|---|---|
| CN202210584303.7A CN114949723A (en) | 2022-05-27 | 2022-05-27 | Elastic sponge cushion |
Publications (1)
| Publication Number | Publication Date |
|---|---|
| CN114949723A true CN114949723A (en) | 2022-08-30 |
Family
ID=82954808
Family Applications (1)
| Application Number | Title | Priority Date | Filing Date |
|---|---|---|---|
| CN202210584303.7A Pending CN114949723A (en) | 2022-05-27 | 2022-05-27 | Elastic sponge cushion |
Country Status (1)
| Country | Link |
|---|---|
| CN (1) | CN114949723A (en) |
Citations (6)
| Publication number | Priority date | Publication date | Assignee | Title |
|---|---|---|---|---|
| CN1751936A (en) * | 2005-10-18 | 2006-03-29 | 好孩子儿童用品有限公司 | a stroller for children |
| CN205696818U (en) * | 2016-03-22 | 2016-11-23 | 浙江索菲莉尔家居有限公司 | A kind of scalable sponge matress |
| CN108991821A (en) * | 2018-08-16 | 2018-12-14 | 梦润(福建)家居有限公司 | A kind of mattress and its manufacturing method that can freely exchange hardness |
| JP3223774U (en) * | 2019-07-26 | 2019-10-31 | 大連栄浩家具有限公司 | Retractable sofa mattress |
| CN210050468U (en) * | 2019-04-09 | 2020-02-11 | 中和华丰建设有限责任公司 | Convenient mud processing apparatus who removes |
| CN210554981U (en) * | 2019-09-12 | 2020-05-19 | 金华市亚虎工具有限公司 | Wheel folding mechanism for cart |
-
2022
- 2022-05-27 CN CN202210584303.7A patent/CN114949723A/en active Pending
Patent Citations (6)
| Publication number | Priority date | Publication date | Assignee | Title |
|---|---|---|---|---|
| CN1751936A (en) * | 2005-10-18 | 2006-03-29 | 好孩子儿童用品有限公司 | a stroller for children |
| CN205696818U (en) * | 2016-03-22 | 2016-11-23 | 浙江索菲莉尔家居有限公司 | A kind of scalable sponge matress |
| CN108991821A (en) * | 2018-08-16 | 2018-12-14 | 梦润(福建)家居有限公司 | A kind of mattress and its manufacturing method that can freely exchange hardness |
| CN210050468U (en) * | 2019-04-09 | 2020-02-11 | 中和华丰建设有限责任公司 | Convenient mud processing apparatus who removes |
| JP3223774U (en) * | 2019-07-26 | 2019-10-31 | 大連栄浩家具有限公司 | Retractable sofa mattress |
| CN210554981U (en) * | 2019-09-12 | 2020-05-19 | 金华市亚虎工具有限公司 | Wheel folding mechanism for cart |
Similar Documents
| Publication | Publication Date | Title |
|---|---|---|
| US6837368B1 (en) | Compact disc container | |
| US5911441A (en) | Zippered three-ring binder carrying case with additional external zippered cover for notepad | |
| EP2976961A1 (en) | Glasses holder case | |
| US20020120996A1 (en) | Flexible mop base | |
| CA2574612A1 (en) | Reconfigurable notebook holder | |
| CN114949723A (en) | Elastic sponge cushion | |
| CN111788536A (en) | Electronic Device Covers | |
| JPH1119125A (en) | Disposable diapers | |
| US20110298345A1 (en) | Portable electronic device case with cleaning accessory | |
| JP3227799U (en) | Mask case | |
| CN218068729U (en) | Dull and stereotyped protective sheath of pen slot carries | |
| CN213484915U (en) | Electronic device | |
| JPS62122628A (en) | Method and instrument for removing dust on cleaning surface | |
| CN211381237U (en) | a sticker | |
| KR20180002445U (en) | Mobile phone auxiliary battery | |
| CN216865921U (en) | Foldable climbing frame guide rail gap protection device and system | |
| CN213565090U (en) | Integrated multifunctional notepad | |
| CN219523474U (en) | Waterproof notebook | |
| CN211166218U (en) | Fine arts drawing board convenient to carry | |
| CN214126450U (en) | Leak-proof pet pad | |
| CN215324150U (en) | Coronavirus antibody detection kit | |
| CN210924516U (en) | Computer dustproof keyboard | |
| CN211138756U (en) | Convenient-to-store file folder | |
| CN215099412U (en) | Novel portable pathology specimen box | |
| CN211764416U (en) | Aviation airborne manual |
Legal Events
| Date | Code | Title | Description |
|---|---|---|---|
| PB01 | Publication | ||
| PB01 | Publication | ||
| SE01 | Entry into force of request for substantive examination | ||
| SE01 | Entry into force of request for substantive examination | ||
| RJ01 | Rejection of invention patent application after publication | ||
| RJ01 | Rejection of invention patent application after publication |
Application publication date: 20220830 |