CN114899771A - Cable falling-preventing protection device - Google Patents

Cable falling-preventing protection device Download PDF

Info

Publication number
CN114899771A
CN114899771A CN202210756469.2A CN202210756469A CN114899771A CN 114899771 A CN114899771 A CN 114899771A CN 202210756469 A CN202210756469 A CN 202210756469A CN 114899771 A CN114899771 A CN 114899771A
Authority
CN
China
Prior art keywords
cable
fall protection
protection device
plate
circular ring
Prior art date
Legal status (The legal status is an assumption and is not a legal conclusion. Google has not performed a legal analysis and makes no representation as to the accuracy of the status listed.)
Granted
Application number
CN202210756469.2A
Other languages
Chinese (zh)
Other versions
CN114899771B (en
Inventor
廖晓义
郭晓锋
谢易达
陈君贤
黄润辉
郑奕彬
陈昀
赵晓琳
Current Assignee (The listed assignees may be inaccurate. Google has not performed a legal analysis and makes no representation or warranty as to the accuracy of the list.)
Guangdong Power Grid Co Ltd
Shantou Power Supply Bureau of Guangdong Power Grid Co Ltd
Original Assignee
Guangdong Power Grid Co Ltd
Shantou Power Supply Bureau of Guangdong Power Grid Co Ltd
Priority date (The priority date is an assumption and is not a legal conclusion. Google has not performed a legal analysis and makes no representation as to the accuracy of the date listed.)
Filing date
Publication date
Application filed by Guangdong Power Grid Co Ltd, Shantou Power Supply Bureau of Guangdong Power Grid Co Ltd filed Critical Guangdong Power Grid Co Ltd
Priority to CN202210756469.2A priority Critical patent/CN114899771B/en
Publication of CN114899771A publication Critical patent/CN114899771A/en
Application granted granted Critical
Publication of CN114899771B publication Critical patent/CN114899771B/en
Active legal-status Critical Current
Anticipated expiration legal-status Critical

Links

Images

Classifications

    • HELECTRICITY
    • H02GENERATION; CONVERSION OR DISTRIBUTION OF ELECTRIC POWER
    • H02GINSTALLATION OF ELECTRIC CABLES OR LINES, OR OF COMBINED OPTICAL AND ELECTRIC CABLES OR LINES
    • H02G3/00Installations of electric cables or lines or protective tubing therefor in or on buildings, equivalent structures or vehicles
    • H02G3/02Details
    • H02G3/04Protective tubing or conduits, e.g. cable ladders or cable troughs
    • H02G3/0437Channels
    • H02G3/045Channels provided with perforations or slots permitting introduction or exit of wires
    • HELECTRICITY
    • H02GENERATION; CONVERSION OR DISTRIBUTION OF ELECTRIC POWER
    • H02GINSTALLATION OF ELECTRIC CABLES OR LINES, OR OF COMBINED OPTICAL AND ELECTRIC CABLES OR LINES
    • H02G7/00Overhead installations of electric lines or cables
    • H02G7/18Devices affording mechanical protection in the event of breakage of a line or cable, e.g. net for catching broken lines
    • YGENERAL TAGGING OF NEW TECHNOLOGICAL DEVELOPMENTS; GENERAL TAGGING OF CROSS-SECTIONAL TECHNOLOGIES SPANNING OVER SEVERAL SECTIONS OF THE IPC; TECHNICAL SUBJECTS COVERED BY FORMER USPC CROSS-REFERENCE ART COLLECTIONS [XRACs] AND DIGESTS
    • Y02TECHNOLOGIES OR APPLICATIONS FOR MITIGATION OR ADAPTATION AGAINST CLIMATE CHANGE
    • Y02EREDUCTION OF GREENHOUSE GAS [GHG] EMISSIONS, RELATED TO ENERGY GENERATION, TRANSMISSION OR DISTRIBUTION
    • Y02E10/00Energy generation through renewable energy sources
    • Y02E10/70Wind energy
    • Y02E10/72Wind turbines with rotation axis in wind direction

Landscapes

  • Engineering & Computer Science (AREA)
  • Architecture (AREA)
  • Civil Engineering (AREA)
  • Structural Engineering (AREA)
  • Devices Affording Protection Of Roads Or Walls For Sound Insulation (AREA)

Abstract

本发明涉及电缆铺设设备技术领域,尤其涉及一种电缆防坠落保护装置。本发明提供了一种电缆防坠落保护装置,包括多个支撑组件和防坠落组件,多个支撑组件依次排列使用,防坠落组件设置于相邻的支撑组件之间,防坠落组件包括圆环和连接绳,连接绳一端与圆环连接,连接绳另一端与支撑组件连接,相邻的支撑组件之间的电缆能够穿过圆环。在电缆铺设过程中,通过在相邻的支撑组件之间设置防坠落组件,使电缆在承载于相邻的支撑组件上,由于电缆穿过圆环,连接绳与支撑组件连接,为电缆提供了向上的拉力,使电缆能够保持水平,防止电缆在相邻的支撑组件之间由于自身重力而向下坠落,从而避免电缆外部绝缘层破裂,进而保证铺设作业的安全。

Figure 202210756469

The present invention relates to the technical field of cable laying equipment, in particular to a cable anti-fall protection device. The invention provides an anti-fall protection device for cables, which includes a plurality of support assemblies and an anti-fall assembly, wherein the plurality of support assemblies are used in sequence, the anti-drop assemblies are arranged between adjacent support assemblies, and the anti-drop assemblies include a ring and a Connecting rope, one end of the connecting rope is connected with the ring, the other end of the connecting rope is connected with the support assembly, and the cables between the adjacent support assemblies can pass through the ring. During the cable laying process, the anti-fall component is arranged between the adjacent supporting components, so that the cable is carried on the adjacent supporting components. Since the cable passes through the ring, the connecting rope is connected with the supporting component, which provides the cable with The upward pulling force keeps the cable horizontal, preventing the cable from falling down due to its own gravity between the adjacent support components, thereby preventing the outer insulation layer of the cable from breaking, thereby ensuring the safety of the laying operation.

Figure 202210756469

Description

Cable falling-preventing protection device
Technical Field
The invention relates to the technical field of cable laying equipment, in particular to a cable anti-falling protection device.
Background
With the continuous development of social economy, the urban development is rapidly advanced, electric power continuously contributes to the development of local economy, and the trench well is an underground special channel for laying a cable.
Cable laying among the prior art is at the operation in-process, because there is the clearance between the supporting component of two adjacent cables when laying, the cable can pass through this clearance for the cable can drop under self gravity, thereby can lead to cable external insulation layer to pull and take place to break, and then improved unexpected incidence.
There is therefore a need for a cable fall protection device that addresses the above problems.
Disclosure of Invention
The invention provides a cable anti-falling protection device which can prevent the problem that an external insulating layer is pulled and broken due to falling of a cable in the laying process and reduce operation risks.
To achieve the purpose, the invention adopts the following scheme:
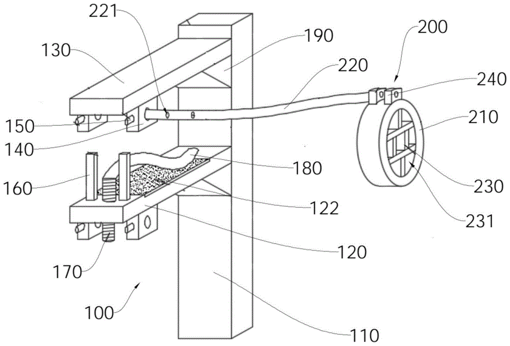
the utility model provides a cable prevents protection device that falls, includes a plurality of supporting components and prevents the subassembly of falling, and a plurality of these supporting components arrange in proper order and use, and a plurality of these supporting components are configured to bear the cable of treating laying, should prevent that the subassembly of falling sets up between adjacent this supporting components, should prevent that the subassembly of falling includes ring and connection rope, should connect rope one end and be connected with this ring, should connect the rope other end and be connected with this supporting component, and this ring can be passed to this cable between adjacent this supporting component.
Optionally, the fall arrest assembly further comprises a divider plate disposed inside the annulus, the divider plate configured to divide the passageway of the annulus into a plurality of chambers.
Alternatively, the support assembly includes a mounting post and a first cross plate disposed on the mounting post, the first cross plate configured to carry the cable.
As an alternative, the supporting assembly further comprises a second transverse plate, the second transverse plate is arranged on the mounting column, the second transverse plate is arranged above the first transverse plate, and the second transverse plate is connected with the connecting rope.
As an alternative, the supporting assembly further includes a connecting seat and a bolt, a plurality of through holes are opened at one end of the connecting rope, which is far away from the circular ring, the connecting seat is disposed on the bottom surface of the second transverse plate, the connecting rope can pass through the connecting seat, and the bolt is configured to pass through the through holes to limit the relative movement between the connecting seat and the connecting rope.
As an alternative, the one end of this erection column is kept away from to this first diaphragm is provided with the screw hole, and this supporting component still includes two pole settings, screw rod and strapping rope, and two these pole settings set up in the one end of this erection column is kept away from to this first diaphragm, and this pole setting sets up in the upper surface of this first diaphragm, and this screw rod and this screw hole screw-thread fit are connected, and this strapping rope sets up in the one end of this screw rod.
As an alternative, the anti-falling assembly further comprises a connecting block connected to the outer side wall of the circular ring, and the connecting rope is connected to the circular ring through the connecting block.
As an alternative, the upper surface of the first transverse plate is paved with anti-slip sheets.
Alternatively, the anti-slip sheet is made of a material of rubber.
Optionally, the supporting assembly further includes two reinforcing blocks, and the two reinforcing blocks are respectively disposed between the first transverse plate and the mounting column and between the second transverse plate and the mounting column.
The beneficial effects of the invention are as follows:
according to the cable anti-falling protection device, in the cable laying process, the anti-falling assemblies are arranged between the adjacent support assemblies, so that the cables are borne on the adjacent support assemblies, the cables penetrate through the circular rings, the connecting ropes are connected with the support assemblies, upward tension is provided for the cables, the cables can be kept horizontal, the cables are prevented from falling downwards between the adjacent support assemblies due to self gravity, the outer insulating layers of the cables are prevented from being broken, and the laying operation safety is further ensured.
Drawings
Fig. 1 is a schematic structural diagram of a cable fall protection device according to an embodiment of the present invention;
FIG. 2 is a schematic view of a first cross plate, a threaded rod and a binding rope according to an embodiment of the present invention;
fig. 3 is a schematic structural view of the second cross plate, the connecting seat and the plug pin according to the first embodiment of the invention.
In the figure:
100. a support assembly; 110. mounting a column; 120. a first transverse plate; 121. a threaded hole; 122. anti-slip sheets; 130. a second transverse plate; 140. a connecting seat; 150. a bolt; 160. erecting a rod; 170. a screw; 180. a binding rope; 190. a reinforcing block; 200. a fall arrest assembly; 210. a circular ring; 220. connecting ropes; 221. a through hole; 230. a partition plate; 231. a chamber; 240. and (4) connecting the blocks.
Detailed Description
The technical scheme of the invention is further explained by the specific implementation mode in combination with the attached drawings. It is to be understood that the specific embodiments described herein are merely illustrative of the invention and are not limiting of the invention. It should be further noted that, for the convenience of description, only some but not all of the elements associated with the present invention are shown in the drawings.
In the present invention, the terms of orientation such as "upper", "lower", "left", "right", "inner" and "outer" are used in the case where no description is made on the contrary, and these terms of orientation are used for easy understanding, and thus do not limit the scope of the present invention.
In the present invention, unless otherwise expressly stated or limited, "above" or "below" a first feature means that the first and second features are in direct contact, or that the first and second features are not in direct contact but are in contact with each other via another feature therebetween. Also, the first feature being "on," "above" and "over" the second feature includes the first feature being directly on and obliquely above the second feature, or merely indicating that the first feature is at a higher level than the second feature. A first feature being "under," "below," and "beneath" a second feature includes the first feature being directly under and obliquely below the second feature, or simply meaning that the first feature is at a lesser elevation than the second feature.
In the description of the present invention, unless expressly stated or limited otherwise, the terms "connected," "connected," and "fixed" are to be construed broadly, e.g., as meaning permanently connected, removably connected, or integral to one another; can be mechanically or electrically connected; either directly or indirectly through intervening media, either internally or in any other relationship. The specific meanings of the above terms in the present invention can be understood in specific cases to those skilled in the art.
Example one
As shown in fig. 1 and 2, the present embodiment provides a cable fall protection device, which includes a plurality of support assemblies 100 and a fall protection assembly 200, wherein the plurality of support assemblies 100 are arranged in sequence for use, the plurality of support assemblies 100 are configured to carry a cable to be laid, the fall protection assembly 200 is disposed between adjacent support assemblies 100, the fall protection assembly 200 includes a circular ring 210 and a connection rope 220, one end of the connection rope 220 is connected to the circular ring 210, the other end of the connection rope 220 is connected to the support assemblies 100, and the cable between adjacent support assemblies 100 can pass through the circular ring 210. In the cable laying process, the anti-falling assembly 200 is arranged between the adjacent supporting assemblies 100, so that the cable is borne on the adjacent supporting assemblies 100, the cable penetrates through the circular ring 210, the connecting rope 220 is connected with the supporting assemblies 100, upward pulling force is provided for the cable, the cable can be kept horizontal, the cable is prevented from falling downwards between the adjacent supporting assemblies 100 due to self gravity, the outer insulating layer of the cable is prevented from being broken, and the safety of laying operation is guaranteed.
Further, the support assembly 100 in the present embodiment includes a mounting post 110 and a first horizontal plate 120, the first horizontal plate 120 is disposed on the mounting post 110, and the first horizontal plate 120 is used for carrying a cable. The mounting posts 110 are used for providing a supporting point for mounting each component, and the first horizontal plate 120 can support and lay cables, so that the cables can be carried on the supporting assembly 100.
Further, the supporting assembly 100 further includes a second horizontal plate 130, the second horizontal plate 130 is disposed on the mounting post 110, the second horizontal plate 130 is disposed above the first horizontal plate 120, and the second horizontal plate 130 is connected to the connecting rope 220. Providing a connection point for the connecting cord 220 via the second cross plate 130 can provide a tension point for installation of the fall arrest assembly 200.
In order to connect the anti-falling assembly 200 to the second horizontal plate 130, the supporting assembly 100 in this embodiment further includes a connecting seat 140 and a plug 150, wherein one end of the connecting rope 220 far from the circular ring 210 is provided with a plurality of through holes 221, the connecting seat 140 is disposed on the bottom surface of the second horizontal plate 130, the connecting rope 220 can pass through the connecting seat 140, and the plug 150 can pass through the through holes 221 to limit the relative movement between the connecting seat 140 and the connecting rope 220. The connecting cord 220 can provide an upward pulling force on the ring 210 to cooperate to provide support for the cables between adjacent support assemblies 100 to keep the cables level with the deck surface of the first cross plate 120. Because one end of the connecting rope 220, which is far away from the circular ring 210, is provided with a plurality of through holes 221, the relative position between the connecting rope 220 and the connecting seat 140 can be adjusted, and the bolt 150 is used for limiting the relative position between the connecting rope 220 and the connecting seat 140, so that the position of the circular ring 210 can be adjusted. The connecting base 140 in this embodiment can be welded to the bottom surface of the second horizontal plate 130 to ensure the connection between the connecting base 140 and the second horizontal plate 130 is stable.
Preferably, in this embodiment, a threaded hole 121 is disposed at an end of the first horizontal plate 120 away from the mounting column 110, the supporting assembly 100 further includes two vertical rods 160, a screw 170, and a binding rope 180, the two vertical rods 160 are disposed at an end of the first horizontal plate 120 away from the mounting column 110, the vertical rod 160 is disposed on an upper surface of the first horizontal plate 120, the screw 170 is in threaded engagement with the threaded hole 121, and the binding rope 180 is disposed at an end of the screw 170. The two vertical rods 160 can prevent the cable from sliding down toward the end of the first horizontal plate 120, so that the cable can be stably supported on the first horizontal plate 120. Further, the cable position can be further defined by the lashing wire 180, preventing cable displacement.
Further, in order to prevent the cable from sliding down on the second horizontal plate 130, the anti-slip sheet 122 is laid on the upper surface of the first horizontal plate 120 in this embodiment. Through laying the anti-skidding piece 122, can increase the frictional force between cable and the first diaphragm 120, make the cable be difficult for dropping.
The anti-slip sheet 122 in this embodiment is made of a rubber material. The anti-slip sheet 122 supported by the rubber has low cost and good anti-slip effect. In other embodiments, the anti-slip sheet 122 made of silicone rubber can also be used to provide anti-slip function for the cable.
Further, the supporting assembly 100 in this embodiment further includes two reinforcing blocks 190, and the two reinforcing blocks 190 are respectively disposed between the first cross plate 120 and the mounting column 110 and between the second cross plate 130 and the mounting column 110. The reinforcing block 190 can improve the stress strength of the first horizontal plate 120 and the second horizontal plate 130. Specifically, the reinforcing block 190 in this embodiment is a triangular reinforcing block 190, which can improve the bearing capacity.
Example two
The basic structure of the cable fall-prevention protection device provided by the embodiment is the same as that of the first embodiment, and only part of the structure is different. The embodiment only describes the structure of the cable fall-prevention protection device different from that provided in the first embodiment.
The fall arrest assembly 200 in this embodiment further comprises a divider plate 230, the divider plate 230 being disposed inside the ring 210, the divider plate 230 being configured to divide the passage of the ring 210 into a plurality of chambers 231. Divide into a plurality of cavities 231 through division board 230 with the passageway of ring 210, every cavity 231 can be through a cable, can avoid many cables intertwine and influence the cable maintenance in later stage when laying many cables to promote the operation quality that the cable was laid.
EXAMPLE III
The basic structure of the cable fall protection device provided by the present embodiment is the same as that of the first embodiment and the second embodiment, and only a part of the structure is different. The present embodiment will only describe the structure of the cable fall protection device different from those provided in the first and second embodiments.
In order to make the connection between the connection block 240 and the circular ring 210 more stable, the anti-falling assembly 200 in this embodiment further includes a connection block 240, the connection block 240 is connected to the outer side wall of the circular ring 210, and the connection rope 220 is connected to the circular ring 210 through the connection block 240. The connection block 240 can provide support for the connection of the connection string 220. Preferably, the connection manner of the connection block 240 and the circular ring 210 may be welding, so as to further improve the connection stability.
It should be understood that the above-described embodiments of the present invention are merely examples for clearly illustrating the present invention, and are not intended to limit the embodiments thereof. Other variations and modifications will be apparent to persons skilled in the art in light of the above description. And are neither required nor exhaustive of all embodiments. Any modification, equivalent replacement, and improvement made within the spirit and principle of the present invention should be included in the protection scope of the claims of the present invention.

Claims (10)

1. A cable fall protection device, comprising a plurality of support assemblies (100) and a fall protection assembly (200), wherein the plurality of support assemblies (100) are sequentially arranged for use, the plurality of support assemblies (100) are configured to carry cables to be laid, the fall protection assembly (200) is arranged between the adjacent support assemblies (100), the fall protection assembly (200) comprises a circular ring (210) and a connecting rope (220), one end of the connecting rope (220) is connected with the circular ring (210), the other end of the connecting rope (220) is connected with the support assemblies (100), and the cables between the adjacent support assemblies (100) can pass through the circular ring (210).
2. Cable fall protection device according to claim 1, characterized in that said fall protection assembly (200) further comprises a separation plate (230), said separation plate (230) being arranged inside said circular ring (210), said separation plate (230) being configured to divide the passage of said circular ring (210) into a plurality of chambers (231).
3. Cable fall protection device according to claim 1, characterized in that the support assembly (100) comprises a mounting post (110) and a first transverse plate (120), the first transverse plate (120) being arranged on the mounting post (110), the first transverse plate (120) being configured to carry the cable.
4. The cable fall protection device of claim 3, wherein the support assembly (100) further comprises a second cross plate (130), the second cross plate (130) being disposed on the mounting post (110), the second cross plate (130) being disposed above the first cross plate (120), the second cross plate (130) being connected to the connecting cord (220).
5. The cable fall protection device as claimed in claim 4, wherein the support assembly (100) further comprises a connecting base (140) and a bolt (150), wherein the connecting rope (220) has a plurality of through holes (221) at an end thereof away from the circular ring (210), the connecting base (140) is disposed at a bottom surface of the second horizontal plate (130), the connecting rope (220) can pass through the connecting base (140), and the bolt (150) is configured to pass through the through holes (221) to limit the relative movement between the connecting base (140) and the connecting rope (220).
6. The device as claimed in claim 3, wherein a threaded hole (121) is formed at an end of the first cross plate (120) far away from the mounting column (110), the support assembly (100) further comprises two vertical rods (160), a screw rod (170) and a binding rope (180), the two vertical rods (160) are arranged at an end of the first cross plate (120) far away from the mounting column (110), the vertical rod (160) is arranged on an upper surface of the first cross plate (120), the screw rod (170) is in threaded fit connection with the threaded hole (121), and the binding rope (180) is arranged at an end of the screw rod (170).
7. Cable fall protection device according to claim 2, characterized in that said fall protection assembly (200) further comprises a connection block (240), said connection block (240) being connected to the outer side wall of said circular ring (210), said connection cord (220) being connected to said circular ring (210) through said connection block (240).
8. Cable fall protection device according to any one of claims 3 to 6, characterized in that the first transverse plate (120) is provided with anti-slip means (122) on its upper surface.
9. Cable fall arrest protection device according to claim 8, characterized in that the anti-slip sheet (122) is made of a material of rubber material.
10. Cable fall protection device according to any one of claims 4 to 5, characterized in that said support assembly (100) further comprises two reinforcing blocks (190), said two reinforcing blocks (190) being respectively arranged between said first transverse plate (120) and said mounting post (110) and between said second transverse plate (130) and said mounting post (110).
CN202210756469.2A 2022-06-29 2022-06-29 Cable anti-falling protection device Active CN114899771B (en)

Priority Applications (1)

Application Number Priority Date Filing Date Title
CN202210756469.2A CN114899771B (en) 2022-06-29 2022-06-29 Cable anti-falling protection device

Applications Claiming Priority (1)

Application Number Priority Date Filing Date Title
CN202210756469.2A CN114899771B (en) 2022-06-29 2022-06-29 Cable anti-falling protection device

Publications (2)

Publication Number Publication Date
CN114899771A true CN114899771A (en) 2022-08-12
CN114899771B CN114899771B (en) 2025-01-07

Family

ID=82730165

Family Applications (1)

Application Number Title Priority Date Filing Date
CN202210756469.2A Active CN114899771B (en) 2022-06-29 2022-06-29 Cable anti-falling protection device

Country Status (1)

Country Link
CN (1) CN114899771B (en)

Cited By (1)

* Cited by examiner, † Cited by third party
Publication number Priority date Publication date Assignee Title
CN118431992A (en) * 2024-07-01 2024-08-02 国网山东省电力公司威海供电公司 A marine park power transmission cable protection device

Citations (27)

* Cited by examiner, † Cited by third party
Publication number Priority date Publication date Assignee Title
CN1392648A (en) * 2001-06-20 2003-01-22 上海国润通信技术有限公司 Cable fixer
CN203967688U (en) * 2014-06-16 2014-11-26 国家电网公司 The anti-disconnected device of center cracking resistance of long-distance transmission line
CN205429595U (en) * 2016-03-28 2016-08-03 国网山东省电力公司无棣县供电公司 Cable laying auxiliary device
CN107611875A (en) * 2017-11-13 2018-01-19 河南宏骏通信工程有限公司 A kind of adjustable communication engineering power supply for construction cable support
CN107834486A (en) * 2017-11-07 2018-03-23 成都富中成科技有限公司 A kind of power engineering cable duct cable bearer
CN207265610U (en) * 2017-10-19 2018-04-20 天津海能电力建设有限公司 A kind of center cracking resistance of long-distance transmission line resists disconnected device
CN108376950A (en) * 2018-04-28 2018-08-07 国网甘肃省电力公司经济技术研究院 Tower crane cable fixator
CN109742706A (en) * 2019-03-08 2019-05-10 江西扬帆实业有限公司 A kind of cable and cable connecting arrangement with anti-fracture function
CN209233418U (en) * 2018-10-17 2019-08-09 江苏桂铭机械有限公司 A kind of municipal administration maintenance unit
CN111130012A (en) * 2018-08-14 2020-05-08 国网山东省电力公司莒南县供电公司 Method for preventing high-voltage line from falling
CN210608373U (en) * 2019-09-18 2020-05-22 云南憬霄机电自动化设备有限公司 Cable rack for construction of electric automation engineering
CN210608382U (en) * 2019-10-28 2020-05-22 启晗电力建设集团有限公司 Cable support for power engineering
CN210626746U (en) * 2019-07-30 2020-05-26 陈佳生 Communication engineering optical cable fixing device
CN211018084U (en) * 2019-11-22 2020-07-14 广西东乾建设工程有限公司 Auxiliary mounting bracket for electric power engineering
CN211046335U (en) * 2019-12-17 2020-07-17 卜祥国 Cable supporting device for broadcast television engineering
CN112018664A (en) * 2020-07-31 2020-12-01 国网山东省电力公司安丘市供电公司 Cable testing bridge laying device
CN112018663A (en) * 2020-08-19 2020-12-01 国网安徽省电力有限公司经济技术研究院 Electric power transmission line lays cable draw gear
CN212136037U (en) * 2020-05-08 2020-12-11 湖北太平洋线缆实业有限公司 Fireproof power cable convenient to install and fix
CN212183032U (en) * 2020-06-24 2020-12-18 福建源发电力勘察设计有限公司 Temporary cable support for power transmission and transformation engineering
CN112217172A (en) * 2020-10-30 2021-01-12 陕西陕煤韩城矿业有限公司 Towing cable telescoping device for fully-mechanized excavating machine
CN212751745U (en) * 2020-07-14 2021-03-19 武汉博能电力工程有限公司 Central anti-cracking and anti-breaking device for remote power transmission line
CN212809858U (en) * 2020-10-16 2021-03-26 河北盛安线缆有限公司 Anti-winding cable
CN214100659U (en) * 2020-11-27 2021-08-31 王新磊 Support convenient to carry out fixed stay to cable protection pipe
CN215600974U (en) * 2021-09-24 2022-01-21 中城之光建设有限公司 Electric construction engineering cable support
CN215955910U (en) * 2021-09-30 2022-03-04 中铁十六局集团电气化工程有限公司 Novel auxiliary support for optical cable construction
CN216305543U (en) * 2021-12-02 2022-04-15 国网河南省电力公司宜阳县供电公司 Anti-falling safety protection device for high-voltage overhead line operation
CN114421377A (en) * 2020-10-28 2022-04-29 胡仁杰 Simple cable supporting device

Patent Citations (27)

* Cited by examiner, † Cited by third party
Publication number Priority date Publication date Assignee Title
CN1392648A (en) * 2001-06-20 2003-01-22 上海国润通信技术有限公司 Cable fixer
CN203967688U (en) * 2014-06-16 2014-11-26 国家电网公司 The anti-disconnected device of center cracking resistance of long-distance transmission line
CN205429595U (en) * 2016-03-28 2016-08-03 国网山东省电力公司无棣县供电公司 Cable laying auxiliary device
CN207265610U (en) * 2017-10-19 2018-04-20 天津海能电力建设有限公司 A kind of center cracking resistance of long-distance transmission line resists disconnected device
CN107834486A (en) * 2017-11-07 2018-03-23 成都富中成科技有限公司 A kind of power engineering cable duct cable bearer
CN107611875A (en) * 2017-11-13 2018-01-19 河南宏骏通信工程有限公司 A kind of adjustable communication engineering power supply for construction cable support
CN108376950A (en) * 2018-04-28 2018-08-07 国网甘肃省电力公司经济技术研究院 Tower crane cable fixator
CN111130012A (en) * 2018-08-14 2020-05-08 国网山东省电力公司莒南县供电公司 Method for preventing high-voltage line from falling
CN209233418U (en) * 2018-10-17 2019-08-09 江苏桂铭机械有限公司 A kind of municipal administration maintenance unit
CN109742706A (en) * 2019-03-08 2019-05-10 江西扬帆实业有限公司 A kind of cable and cable connecting arrangement with anti-fracture function
CN210626746U (en) * 2019-07-30 2020-05-26 陈佳生 Communication engineering optical cable fixing device
CN210608373U (en) * 2019-09-18 2020-05-22 云南憬霄机电自动化设备有限公司 Cable rack for construction of electric automation engineering
CN210608382U (en) * 2019-10-28 2020-05-22 启晗电力建设集团有限公司 Cable support for power engineering
CN211018084U (en) * 2019-11-22 2020-07-14 广西东乾建设工程有限公司 Auxiliary mounting bracket for electric power engineering
CN211046335U (en) * 2019-12-17 2020-07-17 卜祥国 Cable supporting device for broadcast television engineering
CN212136037U (en) * 2020-05-08 2020-12-11 湖北太平洋线缆实业有限公司 Fireproof power cable convenient to install and fix
CN212183032U (en) * 2020-06-24 2020-12-18 福建源发电力勘察设计有限公司 Temporary cable support for power transmission and transformation engineering
CN212751745U (en) * 2020-07-14 2021-03-19 武汉博能电力工程有限公司 Central anti-cracking and anti-breaking device for remote power transmission line
CN112018664A (en) * 2020-07-31 2020-12-01 国网山东省电力公司安丘市供电公司 Cable testing bridge laying device
CN112018663A (en) * 2020-08-19 2020-12-01 国网安徽省电力有限公司经济技术研究院 Electric power transmission line lays cable draw gear
CN212809858U (en) * 2020-10-16 2021-03-26 河北盛安线缆有限公司 Anti-winding cable
CN114421377A (en) * 2020-10-28 2022-04-29 胡仁杰 Simple cable supporting device
CN112217172A (en) * 2020-10-30 2021-01-12 陕西陕煤韩城矿业有限公司 Towing cable telescoping device for fully-mechanized excavating machine
CN214100659U (en) * 2020-11-27 2021-08-31 王新磊 Support convenient to carry out fixed stay to cable protection pipe
CN215600974U (en) * 2021-09-24 2022-01-21 中城之光建设有限公司 Electric construction engineering cable support
CN215955910U (en) * 2021-09-30 2022-03-04 中铁十六局集团电气化工程有限公司 Novel auxiliary support for optical cable construction
CN216305543U (en) * 2021-12-02 2022-04-15 国网河南省电力公司宜阳县供电公司 Anti-falling safety protection device for high-voltage overhead line operation

Cited By (1)

* Cited by examiner, † Cited by third party
Publication number Priority date Publication date Assignee Title
CN118431992A (en) * 2024-07-01 2024-08-02 国网山东省电力公司威海供电公司 A marine park power transmission cable protection device

Also Published As

Publication number Publication date
CN114899771B (en) 2025-01-07

Similar Documents

Publication Publication Date Title
CN111130012B (en) A method of preventing high-voltage lines from falling
CN112072560B (en) Method for vertically laying super high-rise shaft cable in air through relay lifting
CN114899771A (en) Cable falling-preventing protection device
CN112176871B (en) A method for erecting main cables of a suspension bridge with tunnel anchorages on both sides
CN210041199U (en) Cable bridge
CN215626385U (en) Curtain wall unit hoisting system
CN108879474A (en) The method of somersault coaster is hung and taken on a kind of somersault coaster and overhead transmission line put up a bridge
CN100468898C (en) Hanging laying cable spreader
CN220950746U (en) Suspended elevator shaft frame and building
CN210508629U (en) Self-stay wire bracket of power line pole
CN119627481B (en) Overhead conductor grounding device and overhead conductor grounding method
CN113451939B (en) Electric power engineering line laying and mounting structure and mounting process
CN217607337U (en) Cable head mounting tool
CN108075390B (en) Multi-purpose power inspection and maintenance tool
CN217975655U (en) Support frame that mine circuit erect
CN118198935B (en) Auxiliary support device for cable installation
CN217947408U (en) Low-clearance hoisting equipment for TBM assembly chamber
CN209670373U (en) A kind of novel building brick cage separator
CN2817143Y (en) Vertical-hoisting sling for laying cable
CN221552752U (en) Cable fixing support
AU2012216750A1 (en) Improvements to serviceable pole assemblies
CN216997276U (en) 10 kilovolt post live working lifting device
CN212027331U (en) Support frame is used in safe storehouse installation of moving away to avoid possible earthquakes
CN212391641U (en) Communication pipeline for optical cable
CN106241632A (en) A kind of tower crane of band rock-steady structure

Legal Events

Date Code Title Description
PB01 Publication
PB01 Publication
SE01 Entry into force of request for substantive examination
SE01 Entry into force of request for substantive examination
GR01 Patent grant
GR01 Patent grant