CN114899752A - Prefabricated cabin type ventilation explosion-proof pressure relief device - Google Patents

Prefabricated cabin type ventilation explosion-proof pressure relief device Download PDF

Info

Publication number
CN114899752A
CN114899752A CN202210769417.9A CN202210769417A CN114899752A CN 114899752 A CN114899752 A CN 114899752A CN 202210769417 A CN202210769417 A CN 202210769417A CN 114899752 A CN114899752 A CN 114899752A
Authority
CN
China
Prior art keywords
pressure relief
prefabricated cabin
pressure
box
hydraulic
Prior art date
Legal status (The legal status is an assumption and is not a legal conclusion. Google has not performed a legal analysis and makes no representation as to the accuracy of the status listed.)
Pending
Application number
CN202210769417.9A
Other languages
Chinese (zh)
Inventor
李新海
姚光久
孟晨旭
王振刚
刘文平
罗其锋
周恒�
闫超
丁垚
侯伟
廖震杰
肖星
陈伟明
陈伟雄
梁景明
Current Assignee (The listed assignees may be inaccurate. Google has not performed a legal analysis and makes no representation or warranty as to the accuracy of the list.)
Guangdong Power Grid Co Ltd
Zhongshan Power Supply Bureau of Guangdong Power Grid Co Ltd
Original Assignee
Guangdong Power Grid Co Ltd
Zhongshan Power Supply Bureau of Guangdong Power Grid Co Ltd
Priority date (The priority date is an assumption and is not a legal conclusion. Google has not performed a legal analysis and makes no representation as to the accuracy of the date listed.)
Filing date
Publication date
Application filed by Guangdong Power Grid Co Ltd, Zhongshan Power Supply Bureau of Guangdong Power Grid Co Ltd filed Critical Guangdong Power Grid Co Ltd
Priority to CN202210769417.9A priority Critical patent/CN114899752A/en
Publication of CN114899752A publication Critical patent/CN114899752A/en
Pending legal-status Critical Current

Links

Images

Classifications

    • HELECTRICITY
    • H02GENERATION; CONVERSION OR DISTRIBUTION OF ELECTRIC POWER
    • H02BBOARDS, SUBSTATIONS OR SWITCHING ARRANGEMENTS FOR THE SUPPLY OR DISTRIBUTION OF ELECTRIC POWER
    • H02B13/00Arrangement of switchgear in which switches are enclosed in, or structurally associated with, a casing, e.g. cubicle
    • H02B13/02Arrangement of switchgear in which switches are enclosed in, or structurally associated with, a casing, e.g. cubicle with metal casing
    • H02B13/025Safety arrangements, e.g. in case of excessive pressure or fire due to electrical defect
    • HELECTRICITY
    • H02GENERATION; CONVERSION OR DISTRIBUTION OF ELECTRIC POWER
    • H02BBOARDS, SUBSTATIONS OR SWITCHING ARRANGEMENTS FOR THE SUPPLY OR DISTRIBUTION OF ELECTRIC POWER
    • H02B1/00Frameworks, boards, panels, desks, casings; Details of substations or switching arrangements
    • H02B1/26Casings; Parts thereof or accessories therefor
    • H02B1/28Casings; Parts thereof or accessories therefor dustproof, splashproof, drip-proof, waterproof or flameproof
    • HELECTRICITY
    • H02GENERATION; CONVERSION OR DISTRIBUTION OF ELECTRIC POWER
    • H02BBOARDS, SUBSTATIONS OR SWITCHING ARRANGEMENTS FOR THE SUPPLY OR DISTRIBUTION OF ELECTRIC POWER
    • H02B1/00Frameworks, boards, panels, desks, casings; Details of substations or switching arrangements
    • H02B1/26Casings; Parts thereof or accessories therefor
    • H02B1/30Cabinet-type casings; Parts thereof or accessories therefor
    • HELECTRICITY
    • H02GENERATION; CONVERSION OR DISTRIBUTION OF ELECTRIC POWER
    • H02BBOARDS, SUBSTATIONS OR SWITCHING ARRANGEMENTS FOR THE SUPPLY OR DISTRIBUTION OF ELECTRIC POWER
    • H02B1/00Frameworks, boards, panels, desks, casings; Details of substations or switching arrangements
    • H02B1/26Casings; Parts thereof or accessories therefor
    • H02B1/30Cabinet-type casings; Parts thereof or accessories therefor
    • H02B1/32Mounting of devices therein
    • HELECTRICITY
    • H02GENERATION; CONVERSION OR DISTRIBUTION OF ELECTRIC POWER
    • H02BBOARDS, SUBSTATIONS OR SWITCHING ARRANGEMENTS FOR THE SUPPLY OR DISTRIBUTION OF ELECTRIC POWER
    • H02B1/00Frameworks, boards, panels, desks, casings; Details of substations or switching arrangements
    • H02B1/56Cooling; Ventilation
    • H02B1/565Cooling; Ventilation for cabinets
    • YGENERAL TAGGING OF NEW TECHNOLOGICAL DEVELOPMENTS; GENERAL TAGGING OF CROSS-SECTIONAL TECHNOLOGIES SPANNING OVER SEVERAL SECTIONS OF THE IPC; TECHNICAL SUBJECTS COVERED BY FORMER USPC CROSS-REFERENCE ART COLLECTIONS [XRACs] AND DIGESTS
    • Y02TECHNOLOGIES OR APPLICATIONS FOR MITIGATION OR ADAPTATION AGAINST CLIMATE CHANGE
    • Y02EREDUCTION OF GREENHOUSE GAS [GHG] EMISSIONS, RELATED TO ENERGY GENERATION, TRANSMISSION OR DISTRIBUTION
    • Y02E10/00Energy generation through renewable energy sources
    • Y02E10/70Wind energy
    • Y02E10/72Wind turbines with rotation axis in wind direction

Landscapes

  • Engineering & Computer Science (AREA)
  • Power Engineering (AREA)
  • Patch Boards (AREA)

Abstract

本申请涉及电力设备技术领域,特别涉及一种预制舱式通风防爆泄压装置,包括泄压通道、泄压盒、风机以及多个开关柜;泄压通道和多个开关柜均设置于预制舱的内部;泄压通道内设有液压单向阀A;多个开关柜并联设置,且各个开关柜分别单独设置有与泄压通道的进口连通的泄压支管;各个泄压支管上均安装有单向泄压阀;泄压通道的内部在液压单向阀A与泄压支管之间形成储压室;泄压盒和风机均设置于预制舱的外部,且泄压盒安装于泄压通道的出口处;风机通过液压单向阀B与预制舱的通风口连接。本申请保证开关柜内压力及温度在合理范围值内运行,达到延长开关柜使用寿命和减少无用泄压目的,做到了主动泄压,保证泄压作业能够安全地进行。

Figure 202210769417

This application relates to the technical field of electrical equipment, in particular to a prefabricated cabin ventilation and explosion-proof pressure relief device, comprising a pressure relief channel, a pressure relief box, a fan and multiple switch cabinets; the pressure relief channel and multiple switch cabinets are all arranged in the prefabricated cabin A hydraulic check valve A is arranged in the pressure relief channel; a plurality of switch cabinets are arranged in parallel, and each switch cabinet is separately provided with a pressure relief branch pipe that communicates with the inlet of the pressure relief channel; each pressure relief branch pipe is installed with One-way pressure relief valve; the interior of the pressure relief passage forms a pressure storage chamber between the hydraulic check valve A and the pressure relief branch pipe; the pressure relief box and the fan are both arranged outside the prefabricated cabin, and the pressure relief box is installed in the pressure relief passage The outlet of the fan is connected to the ventilation port of the prefabricated cabin through the hydraulic check valve B. The application ensures that the pressure and temperature in the switchgear operate within a reasonable range, so as to extend the service life of the switchgear and reduce useless pressure relief, achieve active pressure relief, and ensure that the pressure relief operation can be carried out safely.

Figure 202210769417

Description

Prefabricated cabin type ventilation explosion-proof pressure relief device
Technical Field
The application relates to the technical field of electrical equipment, in particular to a prefabricated cabin type ventilation explosion-proof pressure relief device.
Background
At present, when most 10kV equipment switch cabinets of transformer substations are in short-circuit fault, too high in temperature, too large in current and low in component insulation degree, because electric arc releases heat in the twinkling of an eye, heated air makes the air expansion, and gas can not be discharged in time and can lead to high-voltage equipment to deform, shift, rupture condition, if the ventilation effect of high-voltage chamber is not good, electric arc heated air leads to the damage of switch cabinets, causes equipment tripping operation, bus power failure's serious consequence.
The prior pressure relief technical method mainly comprises the steps that an explosion-proof pressure relief channel opening of a prefabricated cabin is sealed through a sealing cover, a bolt is exploded under a rated pressure value, and a pressure pushes a pressure relief cover open; however, this has the following disadvantages: the sudden pressure relief can accidentally injure patrol maintainers, the damage of high-speed high-temperature metal dissolved matters to the human body is not prevented, and strong-exhaust air suction equipment is not provided.
Disclosure of Invention
In view of this, the purpose of this application is to provide a prefabricated cabin formula explosion-proof pressure relief device that ventilates for solve the technical problem that prior art can't guarantee that the pressure release operation can go on safely.
In order to achieve the purpose, the application provides the following technical scheme:
a prefabricated cabin type ventilation explosion-proof pressure relief device comprises a pressure relief channel, a pressure relief box, a fan and a plurality of switch cabinets;
the pressure relief channel and the switch cabinets are arranged inside the prefabricated cabin;
a hydraulic one-way valve A is arranged in the pressure relief channel, and the conduction direction of the hydraulic one-way valve A is from the inlet of the pressure relief channel to the outlet of the pressure relief channel;
the switch cabinets are arranged in parallel, and each switch cabinet is respectively and independently provided with a pressure relief branch pipe communicated with an inlet of the pressure relief channel;
each pressure relief branch pipe is provided with a one-way pressure relief valve, and the conduction direction of each one-way pressure relief valve is from each switch cabinet to the pressure relief channel;
a pressure storage chamber is formed between the hydraulic one-way valve A and the pressure relief branch pipe in the pressure relief channel;
the pressure relief box and the fan are both arranged outside the prefabricated cabin, and the pressure relief box is arranged at an outlet of the pressure relief channel;
the fan is connected with a ventilation opening of the prefabricated cabin through a hydraulic one-way valve B, and the conduction direction of the hydraulic one-way valve B is from the inside of the prefabricated cabin to the outside of the prefabricated cabin.
Preferably, in the prefabricated cabin type ventilation explosion-proof pressure relief device, a pressure sensor is arranged inside the pressure storage chamber.
Preferably, in the prefabricated cabin type ventilation explosion-proof pressure relief device, the hydraulic check valve A and the hydraulic check valve B are not opened at the same time.
Preferably, in the prefabricated cabin type ventilation and explosion-proof pressure relief device, the bottom side of the pressure relief box is rotatably connected with the outer wall of the prefabricated cabin, and the top side of the pressure relief box is connected with the outer wall of the prefabricated cabin through a hinge.
Preferably, in the prefabricated cabin type ventilation and explosion-proof pressure relief device, the pressure relief box is provided with a plurality of horizontal pressure relief sheets and a plurality of vertical pressure relief sheets;
the plurality of horizontal pressure relief sheets and the plurality of vertical pressure relief sheets are interwoven to form a grid-shaped opening structure.
Preferably, in the prefabricated cabin type ventilation and explosion-proof pressure relief device, each horizontal pressure relief sheet is rotatably mounted on the pressure relief box around a horizontal line;
each of the vertical pressure relief pieces is rotatably mounted to the pressure relief box around a vertical line.
Preferably, in the prefabricated cabin type ventilation and explosion-proof pressure relief device, each vertical pressure relief piece is provided with a bayonet corresponding to the horizontal pressure relief piece.
Preferably, in the prefabricated cabin type ventilation and explosion-proof pressure relief device, a sealing bevel edge is arranged between every two adjacent vertical pressure relief sheets and between every two adjacent horizontal pressure relief sheets.
Preferably, in the prefabricated cabin type ventilation explosion-proof pressure relief device, a temperature and humidity sensor or a weather detection device is further included, which is installed outside the prefabricated cabin.
Preferably, in the prefabricated cabin type ventilation and explosion-proof pressure relief device, a solar photovoltaic panel is arranged on the outer wall of the pressure relief box and/or the outer wall of the prefabricated cabin.
Compared with the prior art, the beneficial effect of this application is:
(1) the pressure relief valve and the hydraulic one-way valve A are arranged to be opened only by pressure relief along the pressure relief channel towards the outdoor direction, the pressure relief is closed along the pressure relief channel towards the indoor direction and cannot be opened, so that the interference of the outside to the switch cabinet is favorably prevented, meanwhile, the one-way pressure relief valve meets the requirement of the switch cabinet on the external pressure relief, the pressure discharged by each switch cabinet is temporarily stored through the pressure storage chamber, the internal pressure of the pressure storage chamber reaches a preset value, the pressure in the pressure storage chamber can be timely released by utilizing the pressure relief box by opening the hydraulic one-way valve A, the internal pressure of the switch cabinet is constantly kept within a qualified pressure value, the operation of the pressure and the temperature in the switch cabinet within a reasonable range is ensured, the purposes of prolonging the service life of the switch cabinet and reducing useless pressure relief are achieved, active pressure relief is achieved, and the pressure relief operation can be safely carried out;
(2) the plurality of switch cabinets share the same pressure relief channel, wall surface punching of a prefabricated cabin is reduced, damage to cabin structures can be reduced, the switch cabinets are separated from each other through the independent pressure relief branch pipes and the one-way pressure relief valves, when one switch cabinet generates arc discharge, pressure and temperature cannot be transmitted to the adjacent switch cabinet, and normal operation of the adjacent switch cabinet cannot be influenced;
(3) the requirement that the prefabricated cabin and the outside ventilate is satisfied in setting up through hydraulic check valve B to when the prefabricated cabin ventilates not enough, rotate through the fan and can strengthen the circulation of air, be favorable to strengthening the strong convulsions ability of arranging of prefabricated cabin.
Drawings
In order to more clearly illustrate the embodiments of the present application or the technical solutions in the prior art, the drawings needed to be used in the description of the embodiments or the prior art will be briefly introduced below, it is obvious that the drawings in the following description are only embodiments of the present application, and for those skilled in the art, other drawings can be obtained according to the provided drawings without creative efforts.
FIG. 1 is a schematic structural diagram of a prefabricated cabin type ventilation explosion-proof pressure relief device provided by an embodiment of the application;
FIG. 2 is a schematic view of a hinge opening of a pressure relief box of a prefabricated cabin type ventilation explosion-proof pressure relief device according to an embodiment of the application;
FIG. 3 is a schematic diagram illustrating a pressure relief direction and a ventilation direction of a prefabricated cabin type ventilation and explosion-proof pressure relief device provided by an embodiment of the application;
FIG. 4 is a perspective view of a prefabricated cabin type ventilation explosion-proof pressure relief device according to an embodiment of the present application, wherein a horizontal pressure relief sheet and a vertical pressure relief sheet are connected;
FIG. 5 is a front view of a prefabricated cabin type venting, explosion-proof and pressure relief device according to an embodiment of the present application with a horizontal pressure relief tab and a vertical pressure relief tab connected;
FIG. 6 is a schematic structural view of a vertical pressure relief sheet of a prefabricated cabin type ventilation explosion-proof pressure relief device provided by an embodiment of the application;
fig. 7 is a schematic structural diagram of a horizontal pressure relief sheet of a prefabricated cabin type ventilation explosion-proof pressure relief device provided by an embodiment of the application.
In the figure:
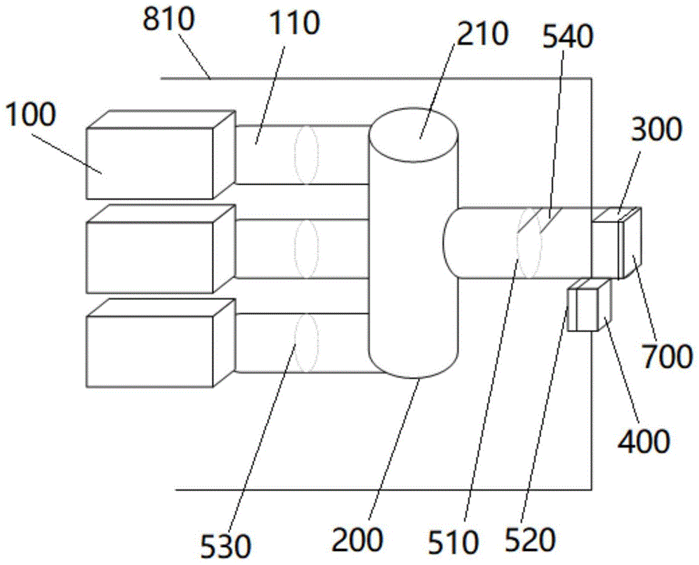
100. a switch cabinet; 110. a pressure relief branch pipe; 200. a pressure relief channel; 210. a pressure storage chamber; 300. a pressure relief box; 310. a hinge; 400. a fan; 510. a hydraulic check valve A; 520. a hydraulic check valve B; 530. a one-way pressure relief valve; 540. a hydraulic pull rod; 610. a horizontal pressure relief sheet; 620. a vertical pressure relief sheet; 621. a bayonet; 630. sealing the bevel edge; 700. a solar photovoltaic panel; 810. prefabricating a cabin wall; 820. a pressure relief passage wall.
Detailed Description
The technical solutions in the embodiments of the present application will be clearly and completely described below with reference to the drawings in the embodiments of the present application, and it is obvious that the described embodiments are only a part of the embodiments of the present application, and not all of the embodiments. All other embodiments, which can be derived by a person skilled in the art from the embodiments given herein without making any creative effort, shall fall within the protection scope of the present application.
In the description of the embodiments of the present application, it should be noted that the terms "center", "upper", "lower", "left", "right", "vertical", "horizontal", "inner", "outer", and the like indicate orientations or positional relationships based on the orientations or positional relationships shown in the drawings, and are only for convenience in describing the embodiments of the present application and simplifying the description, but do not indicate or imply that the referred devices or elements must have specific orientations, be configured in specific orientations, and operate, and thus, should not be construed as limiting the embodiments of the present application. Furthermore, the terms "first," "second," and "third" are used for descriptive purposes only and are not to be construed as indicating or implying relative importance.
In the description of the embodiments of the present application, it should be noted that the terms "mounted," "connected," and "connected" are used broadly and are defined as, for example, a fixed connection, an exchangeable connection, an integrated connection, a mechanical connection, an electrical connection, a direct connection, an indirect connection through an intermediate medium, and a communication between two elements, unless otherwise explicitly stated or limited. Specific meanings of the above terms in the embodiments of the present application can be understood in specific cases by those of ordinary skill in the art.
Referring to fig. 1 to 7, an embodiment of the present application provides a prefabricated cabin type ventilation explosion-proof pressure relief device, which includes a pressure relief channel 200, a pressure relief box 300, a blower 400, and a plurality of switch cabinets 100; the pressure relief channel 200 and the plurality of switch cabinets 100 are arranged inside the prefabricated cabin; a hydraulic one-way valve A510 is arranged in the pressure relief channel 200, and the conduction direction of the hydraulic one-way valve A510 is from the inlet of the pressure relief channel 200 to the outlet of the pressure relief channel 200; the plurality of switch cabinets 100 are arranged in parallel, and each switch cabinet 100 is respectively and independently provided with a pressure relief branch pipe 110 communicated with an inlet of the pressure relief channel 200; each pressure relief branch pipe 110 is provided with a one-way pressure relief valve 530, and the conduction direction of the one-way pressure relief valve 530 is from each switch cabinet 100 to the pressure relief channel 200; the inside of the pressure relief passage 200 forms a pressure storage chamber 210 between the hydraulic check valve a510 and the pressure relief branch pipe 110; the pressure relief box 300 and the fan 400 are both arranged outside the prefabricated cabin, and the pressure relief box 300 is installed at the outlet of the pressure relief channel 200; the fan 400 is connected with the ventilation opening of the prefabricated cabin through a hydraulic one-way valve B520, and the conduction direction of the hydraulic one-way valve B520 is from the inside of the prefabricated cabin to the outside of the prefabricated cabin.
More specifically, the one-way relief valve 530 is a one-way normally open and non-closable valve, allowing the switch cabinet 100 to discharge pressure to the pressure storage chamber 210; the hydraulic check valve a510 is a normally closed and openable valve, and allows the pressure relief passage 200 to relieve pressure to the outside when the pressure in the pressure chamber 210 to be stored reaches a predetermined value; the hydraulic one-way valve B520 is a normally open and closable valve and allows the prefabricated cabin to ventilate outwards; the hydraulic one-way valve A510 and the hydraulic one-way valve B520 can be opened or closed through equipment control, or the hydraulic one-way valve A510 and the hydraulic one-way valve B520 are both provided with a hydraulic pull rod 540 which can be manually operated; the number of switch cabinets 100 is preferably three; fan 400 sets up in the below of pressure release box 300, and fan 400 specifically is crossflow blower 400, and fan 400 can be installed in prefabricated cabin wall in the buckle, conveniently takes off to wash and change the maintenance.
The beneficial effects of this embodiment: (1) through the arrangement of the one-way pressure relief valve 530 and the hydraulic one-way valve A510, the switch cabinet can be opened only by pressure relief along the pressure relief channel 200 in the outdoor direction, and the switch cabinet can be closed and cannot be opened by pressure relief along the pressure relief channel 200 in the indoor direction, thereby being beneficial to preventing the interference of the outside to the switch cabinet 100, meanwhile, the one-way pressure relief valve 530 meets the requirement of the switch cabinet 100 for external pressure relief, temporarily stores the pressure discharged by each switch cabinet 100 through the pressure storage chamber 210, opens the hydraulic one-way valve a510 when the internal pressure of the pressure storage chamber 210 reaches a preset value, can timely relieve the air pressure in the pressure storage chamber 210 by using the pressure relief box 300, the internal pressure of the switch cabinet 100 is kept within a qualified pressure value all the time, the internal pressure and the temperature of the switch cabinet 100 are ensured to operate within a reasonable range, the purposes of prolonging the service life of the switch cabinet 100 and reducing useless pressure relief are achieved, active pressure relief is achieved, and the safe performance of pressure relief operation is ensured; (2) the plurality of switch cabinets 100 share the same pressure relief channel 200, wall surface punching of a prefabricated cabin is facilitated to be reduced, damage to the cabin structure can be reduced, the switch cabinets 100 are separated from one another through the arrangement of the independent pressure relief branch pipes 110 and the one-way pressure relief valves 530, when arc discharge occurs in one switch cabinet 100, pressure and temperature cannot be transmitted to the adjacent switch cabinet 100, and normal operation of the adjacent switch cabinet 100 cannot be influenced; (3) the requirement that ventilation is carried out with the outside in prefabricated cabin is satisfied in setting up through hydraulic check valve B520 to when the prefabricated cabin ventilates not enough, rotate through fan 400 and can strengthen the circulation of air, be favorable to strengthening the strong convulsions ability of arranging of prefabricated cabin.
Further, in the present embodiment, the pressure storage chamber 210 is provided with a pressure sensor inside. The pressure discharged by the three switch cabinets 100 is stored in the pressure storage chamber 210, and the hydraulic check valve A510 is not opened at the moment; when the pressure sensor reaches a rated value K1, the hydraulic one-way valve A510 is instantly and forcefully opened to release pressure; when the pressure sensor is below nominal value K2(K2< K1), hydraulic check valve A510 closes again. The pressure sensor is arranged to control the pressure storage chamber 210 to timely release pressure, so that the pressure in the pressure release channel 200 is always in a reasonable range, and an explosion-proof effect is achieved.
Further, in the present embodiment, hydraulic check valve a510 is not open at the same time as hydraulic check valve B520. The hydraulic one-way valve A510 and the hydraulic one-way valve B520 are mutually independent, the hydraulic one-way valve A510 acts on the switch cabinet 100, the hydraulic one-way valve B520 acts on the prefabricated cabin, when the hydraulic one-way valve A510 is in a closed state, the hydraulic one-way valve B520 is in an open state, at the moment, the switch cabinet 100 is normal, no explosion-proof pressure relief requirement exists, and the prefabricated cabin is in normal ventilation; when the hydraulic one-way valve A510 is in an open state, the hydraulic one-way valve B520 is in a closed state, explosion-proof pressure relief of the switch cabinet 100 is performed at the moment, pressure is exhausted outdoors and cannot be exhausted indoors, the hydraulic one-way valve B520 is in a closed state, power cannot disappear when the fan 400 operates, and all power of the fan 400 is used for assisting the pressure relief box 300 to relieve pressure; when hydraulic check valve A510 is in the closed state, hydraulic check valve B520 is in the closed state, and cubical switchboard 100 is normal this moment, does not have the explosion-proof pressure release demand, is in high temperature and high humidity high corrosion state when the outdoor in prefabricated cabin, can prevent the harmful effects of external bad weather gas condition to prefabricated cabin inside.
More specifically, referring to fig. 3, arrow a indicates the pressure relief direction of the hydraulic check valve a510, and arrow B indicates the air exhaust direction of the hydraulic check valve B520; hydraulic check valve a510 may be located on pressure relief passage wall 820 (i.e., the wall of the prefabricated cabin near the outlet of pressure relief passage 200), and hydraulic check valve B520 may be located on prefabricated cabin wall 810 that is perpendicular to pressure relief passage wall 820; the blower 400 is arranged outside the prefabricated cabin and is positioned at an included angle formed between the pressure relief channel wall 820 and the prefabricated cabin wall 810, so that the blower 400 can enhance the air circulation capacity of the prefabricated cabin when the hydraulic check valve B520 is opened and can assist the pressure relief channel 200 in pressure relief when the hydraulic check valve A510 is opened.
Further, in this embodiment, referring to fig. 2, the bottom side of the pressure relief box 300 is rotatably connected to the outer wall of the prefabricated cabin, and the top side of the pressure relief box 300 is connected to the outer wall of the prefabricated cabin through a hinge 310. Open the top side of last pressure release box 300 through hinge 310 and ground certain angle, can avoid waste gas waste residue to electric power personnel's injury, after the pressure release is accomplished, close pressure release box 300 through tightening up hinge 310 once more, avoided traditional pressure release door can only use the drawback once because inflation screw explosion release pressure, and through hinge 310 pulling pressure release box 300 top side pressure release, shrink pressure release box 300 top side seals pressure release channel 200 once more, satisfy the demand that pressure relief device can reuse many times.
Further, in the present embodiment, the pressure relief box 300 is provided with a plurality of horizontal pressure relief pieces 610 and a plurality of vertical pressure relief pieces 620; the plurality of horizontal pressure vents 610 are interwoven with the plurality of vertical pressure vents 620 to form a grid-like open structure. The vertical pressure relief piece 620 is located at the inner side of the pressure relief box 300, the horizontal pressure relief piece 610 is located at the outer side of the vertical pressure relief piece 620, and the pressure relief opening of the pressure relief box 300 is jointly formed by the plurality of vertical pressure relief pieces 620 and the plurality of horizontal pressure relief pieces 610, so that the pressure relief box 300 can be stably and externally relieved.
Further, in the present embodiment, each horizontal pressure relief piece 610 is rotatably mounted to the pressure relief box 300 about a horizontal line; each vertical decompression piece 620 is rotatably installed to the decompression box 300 about a vertical line. The rotatable horizontal pressure relief sheet 610 and the rotatable vertical pressure relief sheet 620 not only can satisfy the requirement of closing the pressure relief opening of the pressure relief box 300, but also can control the opening size of the pressure relief opening of the pressure relief box 300 according to actual requirements.
Further, in the present embodiment, each vertical pressure relief sheet 620 is provided with a bayonet 621 corresponding to the horizontal pressure relief sheet 610. The horizontal pressure relief sheet 610 is rotatably connected to the pressure relief case 300 through a horizontal shaft, and the vertical pressure relief sheet 620 is rotatably connected to the pressure relief case 300 through a vertical shaft, which is connectable to a driving mechanism. When the pressure relief opening of the pressure relief box 300 needs to be opened, the vertical pressure relief sheet 620 is controlled by the driving mechanism to rotate 90 degrees around the vertical axis, and the horizontal pressure relief sheet 610 also rotates 90 degrees around the horizontal axis under the limiting effect of the bayonet 621 of the vertical pressure relief sheet 620, so that the vertical pressure relief sheet 620 and the horizontal pressure relief sheet 610 mutually fix the profile # -shaped ventilation opening, and the bayonet 621 is arranged to prevent the damage of the excessive pressure to the vertical pressure relief sheet 620. When the pressure relief opening of the pressure relief box 300 needs to be closed, the vertical pressure relief sheet 620 can be controlled to rotate 90 degrees around the vertical axis in the reverse direction through the driving mechanism, and the horizontal pressure relief sheet 610 naturally hangs down without being limited by the bayonet 621 of the vertical pressure relief sheet 620, so that the edges of two adjacent vertical pressure relief sheets 620 are in contact with each other and the edges of two adjacent horizontal pressure relief sheets 610 are in contact with each other, and the purpose of sealing the pressure relief box 300 is achieved.
Further, in the present embodiment, a sealing bevel edge 630 is provided between two adjacent vertical pressure relief sheets 620 and between two adjacent horizontal pressure relief sheets 610. Sealed hypotenuse 630 sets up on the long limit of vertical pressure release piece 620 or the long limit of horizontal pressure release piece 610, and when two adjacent vertical pressure release pieces 620 (or two adjacent horizontal pressure release pieces 610) closed, the contact surface of two vertical pressure release pieces 620 (or two horizontal pressure release pieces 610) was interior oblique hypotenuse, can prevent effectively that the rainwater from corroding to get into pressure release channel 200, compares the horizontal gap after common closing, and it is better to prevent wind, damp and waterproof effect.
Further, in this embodiment, the prefabricated cabin further comprises a temperature and humidity sensor or a weather detection device installed outside the prefabricated cabin. The weather condition of the outside of the prefabricated cabin can be detected through a temperature and humidity sensor or a weather detection device, so that the hydraulic check valve A510 and the hydraulic check valve B520 are controlled to be closed simultaneously in time, the inside of the prefabricated cabin and the inside and the outside of the switch cabinet 100 are isolated, and the normal operation of the switch cabinet 100 is prevented from being interfered by the external environment in the prefabricated cabin.
Further, in the present embodiment, a solar photovoltaic panel 700 is disposed on an outer wall of the pressure relief box 300 and/or an outer wall of the prefabricated cabin. Self-power supply can be realized through the arrangement of the solar photovoltaic panel 700, and the stored energy is used for the power supply of the hydraulic one-way valve A510, the hydraulic one-way valve B520, the fan 400 and various sensors or detection devices.
The embodiments in the present description are described in a progressive manner, each embodiment focuses on differences from other embodiments, and the same and similar parts among the embodiments are referred to each other.
The previous description of the disclosed embodiments is provided to enable any person skilled in the art to make or use the present application. Various modifications to these embodiments will be readily apparent to those skilled in the art, and the generic principles defined herein may be applied to other embodiments without departing from the spirit or scope of the application. Thus, the present application is not intended to be limited to the embodiments shown herein but is to be accorded the widest scope consistent with the principles and novel features disclosed herein.

Claims (10)

1. A prefabricated cabin type ventilation explosion-proof pressure relief device is characterized by comprising a pressure relief channel, a pressure relief box, a fan and a plurality of switch cabinets;
the pressure relief channel and the switch cabinets are arranged inside the prefabricated cabin;
a hydraulic one-way valve A is arranged in the pressure relief channel, and the conduction direction of the hydraulic one-way valve A is from the inlet of the pressure relief channel to the outlet of the pressure relief channel;
the switch cabinets are arranged in parallel, and each switch cabinet is respectively and independently provided with a pressure relief branch pipe communicated with an inlet of the pressure relief channel;
each pressure relief branch pipe is provided with a one-way pressure relief valve, and the conduction direction of each one-way pressure relief valve is from each switch cabinet to the pressure relief channel;
a pressure storage chamber is formed between the hydraulic one-way valve A and the pressure relief branch pipe in the pressure relief channel;
the pressure relief box and the fan are both arranged outside the prefabricated cabin, and the pressure relief box is arranged at an outlet of the pressure relief channel;
the fan is connected with a ventilation opening of the prefabricated cabin through a hydraulic one-way valve B, and the conduction direction of the hydraulic one-way valve B is from the inside of the prefabricated cabin to the outside of the prefabricated cabin.
2. The prefabricated cabin type ventilation explosion-proof pressure relief device according to claim 1, wherein a pressure sensor is arranged inside the pressure storage chamber.
3. The prefabricated cabin type ventilation explosion-proof pressure relief device as claimed in claim 1, wherein the hydraulic check valve A and the hydraulic check valve B are not opened at the same time.
4. The prefabricated cabin type ventilation explosion-proof pressure relief device as claimed in claim 1, wherein the bottom side of the pressure relief box is rotatably connected with the outer wall of the prefabricated cabin, and the top side of the pressure relief box is connected with the outer wall of the prefabricated cabin through a hinge.
5. The prefabricated cabin type ventilation explosion-proof pressure relief device according to claim 1, wherein the pressure relief box is provided with a plurality of horizontal pressure relief sheets and a plurality of vertical pressure relief sheets;
the plurality of horizontal pressure relief sheets and the plurality of vertical pressure relief sheets are interwoven to form a grid-shaped opening structure.
6. The prefabricated cabin type ventilation explosion-proof pressure relief device according to claim 5, wherein each horizontal pressure relief sheet is rotatably mounted to the pressure relief box around a horizontal line;
each of the vertical pressure relief pieces is rotatably mounted to the pressure relief box around a vertical line.
7. The prefabricated cabin type ventilation explosion-proof pressure relief device according to claim 6, wherein each vertical pressure relief piece is provided with a bayonet corresponding to the horizontal pressure relief piece.
8. The prefabricated cabin type ventilation explosion-proof pressure relief device as claimed in claim 6, wherein a sealing bevel edge is arranged between two adjacent vertical pressure relief sheets and between two adjacent horizontal pressure relief sheets.
9. The prefabricated cabin type ventilation explosion-proof pressure relief device according to claim 1, further comprising a temperature and humidity sensor or a weather detection device installed outside the prefabricated cabin.
10. The prefabricated cabin type ventilation explosion-proof pressure relief device according to any one of claims 1 to 9, wherein a solar photovoltaic panel is arranged on the outer wall of the pressure relief box and/or the outer wall of the prefabricated cabin.
CN202210769417.9A 2022-07-01 2022-07-01 Prefabricated cabin type ventilation explosion-proof pressure relief device Pending CN114899752A (en)

Priority Applications (1)

Application Number Priority Date Filing Date Title
CN202210769417.9A CN114899752A (en) 2022-07-01 2022-07-01 Prefabricated cabin type ventilation explosion-proof pressure relief device

Applications Claiming Priority (1)

Application Number Priority Date Filing Date Title
CN202210769417.9A CN114899752A (en) 2022-07-01 2022-07-01 Prefabricated cabin type ventilation explosion-proof pressure relief device

Publications (1)

Publication Number Publication Date
CN114899752A true CN114899752A (en) 2022-08-12

Family

ID=82729838

Family Applications (1)

Application Number Title Priority Date Filing Date
CN202210769417.9A Pending CN114899752A (en) 2022-07-01 2022-07-01 Prefabricated cabin type ventilation explosion-proof pressure relief device

Country Status (1)

Country Link
CN (1) CN114899752A (en)

Cited By (2)

* Cited by examiner, † Cited by third party
Publication number Priority date Publication date Assignee Title
CN115441348A (en) * 2022-09-26 2022-12-06 广东电网有限责任公司 Explosion-proof pressure relief control method for prefabricated cabin type switch cabinet
CN118301867A (en) * 2024-06-05 2024-07-05 深圳市首航新能源股份有限公司 Inverter with a power supply

Citations (2)

* Cited by examiner, † Cited by third party
Publication number Priority date Publication date Assignee Title
CN105702419A (en) * 2016-04-14 2016-06-22 国网山东省电力公司东明县供电公司 Explosion-proof transformer cabinet with good radiation capability
CN209071941U (en) * 2018-12-20 2019-07-05 辽宁华信电气股份有限公司 A kind of vehicle-mounted mobile presses cabinet pressure release passage device in becoming

Patent Citations (2)

* Cited by examiner, † Cited by third party
Publication number Priority date Publication date Assignee Title
CN105702419A (en) * 2016-04-14 2016-06-22 国网山东省电力公司东明县供电公司 Explosion-proof transformer cabinet with good radiation capability
CN209071941U (en) * 2018-12-20 2019-07-05 辽宁华信电气股份有限公司 A kind of vehicle-mounted mobile presses cabinet pressure release passage device in becoming

Cited By (2)

* Cited by examiner, † Cited by third party
Publication number Priority date Publication date Assignee Title
CN115441348A (en) * 2022-09-26 2022-12-06 广东电网有限责任公司 Explosion-proof pressure relief control method for prefabricated cabin type switch cabinet
CN118301867A (en) * 2024-06-05 2024-07-05 深圳市首航新能源股份有限公司 Inverter with a power supply

Similar Documents

Publication Publication Date Title
CN114899752A (en) Prefabricated cabin type ventilation explosion-proof pressure relief device
WO2022116623A1 (en) Photovoltaic energy-saving electrical control cabinet
WO2021238148A1 (en) Auxiliary device for vacuum load switch operating mechanism
CN207926049U (en) A kind of electric power high-voltage ring main unit
CN213460662U (en) A box-type substation with abnormal alarm function
CN205543732U (en) High -voltage board with fire prevention heat dissipation function
CN206116993U (en) Can effectively prevent arcing leakage accident&#39;s switchgear
CN218265201U (en) Prepackage type box-type substation
CN111786289A (en) Box-type substation capable of preventing snow compression in strong snowfall weather
CN206947791U (en) Safety series distribution box body
CN106532535A (en) Box type substation
CN206931884U (en) A kind of outdoor water-proof case
CN114336313B (en) An electromechanical device with built-in fire extinguishing function
CN215070975U (en) Fixed cellular-type low-voltage cabinet
CN214044641U (en) An intelligent integrated European box transformer
CN220152864U (en) Roof integral explosion-proof air conditioner
CN2603842Y (en) Gravity self-closing pattern back-shutter
CN220556050U (en) Smoke exhaust fire damper with heat insulation structure
CN218300701U (en) High outdoor high tension switchgear of security
CN217882539U (en) Intelligent high protection level power transmission and transformation equipment
CN211670439U (en) Novel low-voltage switch equipment
CN220457799U (en) Air-cooled double-fan control cabinet with protection function
CN211605720U (en) High-voltage power distribution cabinet for power engineering
CN218648430U (en) Ventilation window with explosion-proof function
CN210273250U (en) Heat radiation structure of switch cabinet

Legal Events

Date Code Title Description
PB01 Publication
PB01 Publication
SE01 Entry into force of request for substantive examination
SE01 Entry into force of request for substantive examination