CN114871304B - 一种铅酸电池极耳整形装置 - Google Patents

一种铅酸电池极耳整形装置 Download PDF

Info

Publication number
CN114871304B
CN114871304B CN202210808671.5A CN202210808671A CN114871304B CN 114871304 B CN114871304 B CN 114871304B CN 202210808671 A CN202210808671 A CN 202210808671A CN 114871304 B CN114871304 B CN 114871304B
Authority
CN
China
Prior art keywords
pressing plate
slider
sliding block
lead
acid battery
Prior art date
Legal status (The legal status is an assumption and is not a legal conclusion. Google has not performed a legal analysis and makes no representation as to the accuracy of the status listed.)
Active
Application number
CN202210808671.5A
Other languages
English (en)
Other versions
CN114871304A (zh
Inventor
戚全宝
石启申
李继标
Current Assignee (The listed assignees may be inaccurate. Google has not performed a legal analysis and makes no representation or warranty as to the accuracy of the list.)
Jiangsu Sanyang Environmental Protection Engineering Co ltd
Original Assignee
Jiangsu Sanyang Environmental Protection Engineering Co ltd
Priority date (The priority date is an assumption and is not a legal conclusion. Google has not performed a legal analysis and makes no representation as to the accuracy of the date listed.)
Filing date
Publication date
Application filed by Jiangsu Sanyang Environmental Protection Engineering Co ltd filed Critical Jiangsu Sanyang Environmental Protection Engineering Co ltd
Priority to CN202210808671.5A priority Critical patent/CN114871304B/zh
Publication of CN114871304A publication Critical patent/CN114871304A/zh
Application granted granted Critical
Publication of CN114871304B publication Critical patent/CN114871304B/zh
Active legal-status Critical Current
Anticipated expiration legal-status Critical

Links

Images

Classifications

    • BPERFORMING OPERATIONS; TRANSPORTING
    • B21MECHANICAL METAL-WORKING WITHOUT ESSENTIALLY REMOVING MATERIAL; PUNCHING METAL
    • B21DWORKING OR PROCESSING OF SHEET METAL OR METAL TUBES, RODS OR PROFILES WITHOUT ESSENTIALLY REMOVING MATERIAL; PUNCHING METAL
    • B21D1/00Straightening, restoring form or removing local distortions of sheet metal or specific articles made therefrom; Stretching sheet metal combined with rolling
    • HELECTRICITY
    • H01ELECTRIC ELEMENTS
    • H01MPROCESSES OR MEANS, e.g. BATTERIES, FOR THE DIRECT CONVERSION OF CHEMICAL ENERGY INTO ELECTRICAL ENERGY
    • H01M50/00Constructional details or processes of manufacture of the non-active parts of electrochemical cells other than fuel cells, e.g. hybrid cells
    • H01M50/50Current conducting connections for cells or batteries
    • H01M50/531Electrode connections inside a battery casing
    • H01M50/54Connection of several leads or tabs of plate-like electrode stacks, e.g. electrode pole straps or bridges
    • H01M50/541Connection of several leads or tabs of plate-like electrode stacks, e.g. electrode pole straps or bridges for lead-acid accumulators
    • YGENERAL TAGGING OF NEW TECHNOLOGICAL DEVELOPMENTS; GENERAL TAGGING OF CROSS-SECTIONAL TECHNOLOGIES SPANNING OVER SEVERAL SECTIONS OF THE IPC; TECHNICAL SUBJECTS COVERED BY FORMER USPC CROSS-REFERENCE ART COLLECTIONS [XRACs] AND DIGESTS
    • Y02TECHNOLOGIES OR APPLICATIONS FOR MITIGATION OR ADAPTATION AGAINST CLIMATE CHANGE
    • Y02EREDUCTION OF GREENHOUSE GAS [GHG] EMISSIONS, RELATED TO ENERGY GENERATION, TRANSMISSION OR DISTRIBUTION
    • Y02E60/00Enabling technologies; Technologies with a potential or indirect contribution to GHG emissions mitigation
    • Y02E60/10Energy storage using batteries

Landscapes

  • Engineering & Computer Science (AREA)
  • Mechanical Engineering (AREA)
  • Chemical & Material Sciences (AREA)
  • Chemical Kinetics & Catalysis (AREA)
  • Electrochemistry (AREA)
  • General Chemical & Material Sciences (AREA)
  • Connection Of Batteries Or Terminals (AREA)

Abstract

本发明涉及铅酸电池加工技术领域,提供了一种铅酸电池极耳整形装置,包括机架和铸焊夹具,机架上安装有直线驱动元件,直线驱动元件的伸缩端安装有升降座,上压板与升降座通过第一连接杆相连接,上压板上安装有内压板;第一滑块沿着第一滑轨移动,第二滑块沿着第二滑轨移动,第一滑块与升降座之间通过活动杆连接,第一滑块的移动方向与升降座的移动方向相互垂直,导向滑轮安装在第一滑轨上,第一滑块通过绳索件与第二滑块连接,绳索件绕设在导向滑轮上,第一滑块的移动方向与第二滑块的移动方向相反,外压板通过第二连接杆与第二滑块连接。本发明在只用一个驱动元件的情况下,实现了对极耳上表面和内外侧面的整形,且一步完成,加工效率高。

Description

一种铅酸电池极耳整形装置
技术领域
本发明涉及铅酸电池加工技术领域,具体是涉及一种铅酸电池极耳整形装置。
背景技术
铅酸电池能将有限的电能储存起来,在合适的地方使用,工作时将化学能转化为电能。铅酸电池的加工制造流程中包含一道铸焊工艺,在常规铸焊工艺中,电池极群中的边极耳常常会出现焊接不上的现象,造成虚焊或假焊,同样会影响铅酸蓄电池质量。为解决这个问题,目前传统的铸焊工艺通常是人工使用一长条形的整形条对极耳进行整形,人工整形效果不好。
为了解决上述问题,申请号为201920314255.3的中国专利公开了一种铅酸蓄电池极耳整形装置,通过设置往复机构一、往复机构二、往复机构三和往复机构四对极耳左右位置进行整形,虽然实现了操作自动化,但是驱动机构较多,操作步骤较繁琐,整形效率仍待提高。
发明内容
本发明的目的在于提供一种铅酸电池极耳整形装置,旨在解决背景技术中提到的问题。
为实现上述目的,本发明提供如下技术方案,一种铅酸电池极耳整形装置,包括机架和用于固定蓄电池极群的铸焊夹具,所述铅酸电池极耳整形装置还包括:用于对极耳的上表面进行整形的上压板,所述机架上安装有直线驱动元件,直线驱动元件的伸缩端安装有升降座,上压板与升降座通过第一连接杆相连接,所述上压板上安装有用于对极耳的内侧面进行整形的内压板;用于对极耳的外侧面进行整形的外压板;以及用于使得上压板、内压板和外压板同时对极耳进行整形的联动组件,所述联动组件包括活动杆、第一滑块、第一滑轨、第二滑轨、导向滑轮以及第二滑块,所述第一滑块沿着第一滑轨移动,第二滑块沿着第二滑轨移动,第一滑轨和第二滑轨均固定安装在机架上,第一滑块与升降座之间通过活动杆连接,第一滑块的移动方向与升降座的移动方向相互垂直,所述导向滑轮安装在第一滑轨上,第一滑块通过绳索件与第二滑块连接,绳索件绕设在导向滑轮上,第一滑块的移动方向与第二滑块的移动方向相反,所述外压板通过第二连接杆与第二滑块连接。
作为本发明的进一步方案,所述活动杆、第一滑块、第一滑轨、第二滑轨、导向滑轮、第二滑块、外压板和内压板均成对设置,一个直线驱动元件同时带着外压板、内压板和上压板进行移动。
作为本发明的进一步方案,所述第一连接杆和第二连接杆均为长度可调节伸缩杆,所述外压板与第二连接杆之间的连接为可拆卸连接,安装在上压板上的两个内压板之间的间距通过内压板调节组件进行调节,以便于对不同尺寸的极耳进行整形。
作为本发明的进一步方案,所述内压板调节组件包括用于调节两个内压板之间的间距的双向螺纹轴,用于安装双向螺纹轴的支撑块,所述支撑块与上压板固定连接,双向螺纹轴与支撑块转动连接,所述上压板的表面设置有导向通槽,内压板的外侧面与所述导向通槽的内侧面滑动配合连接。
作为本发明的进一步方案,所述第二滑块与机架之间连接有弹性件,弹性件用于使得第二滑块完成复位工作。
作为本发明的进一步方案,所述第一滑块上设置有第一通槽,第一滑块套设在第一滑轨的外侧,第一通槽的内侧面与第一滑轨的侧面滑动配合连接,所述第二滑块上设置有第二通槽,第二滑块套设在第二滑轨的外侧,第二通槽的内侧面与第二滑轨的侧面滑动配合连接。
作为本发明的进一步方案,所述第一连接杆和第二连接杆上均安装有调节旋钮,拧紧调节旋钮用于对第一连接杆和第二连接杆的长度进行限定。
综上所述,本发明的有益效果是:
本发明使用时,启动直线驱动元件,使得升降座下降,上压板跟随下降,在上压板下降的同时,第一滑块向着远离蓄电池极群的方向移动,在绳索件的作用下,第二滑块向着靠近蓄电池极群的方向移动,外压板跟随移动,当上压板与极耳的上表面接触时,上压板上的内压板与极耳的内侧面接触,同时外压板刚好与极耳的外侧面接触,这样,在只用一个驱动元件的情况下,实现了对极耳上表面和内外侧面的整形,且一步完成,加工效率高。
附图说明
为了更清楚地说明本发明实施例中的技术方案,下面将对实施例描述中所需要使用的附图作简单地介绍,显而易见地,下面描述中的附图仅仅是本发明的一些实施例,对于本领域普通技术人员来讲,在不付出创造性劳动的前提下,还可以根据这些附图获得其它的附图,其中:
图1为本发明实施例一种铅酸电池极耳整形装置的整体结构示意图。
图2为图1中A处的局部放大示意图。
图3为本发明实施例一种铅酸电池极耳整形装置中内压板调节组件的结构示意图。
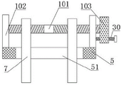
附图标记:1-机架、2-直线驱动元件、3-升降座、4-极耳、5-上压板、6-外压板、7-内压板、8-铸焊夹具、9-蓄电池极群、10-内压板调节组件、11-第一连接杆、12-调节旋钮、13-活动杆、14-第一滑块、15-第一滑轨、16-绳索件、17-导向滑轮、18-第二滑轨、19-弹性件、20-第二滑块、21-第二连接杆、51-导向通槽、101-双向螺纹轴、102-支撑块、103-转动手柄、30-螺栓。
具体实施方式
为了使本发明的目的、技术方案及优点更加清晰,以下结合附图及具体实施例,对本发明进行进一步详细说明。应当理解,此处所描述的具体实施例仅仅用以解释本发明,并不用于限定本发明。
以下结合具体实施例对本发明的具体实现进行详细描述。
请参阅图1和图2,本发明实施例提供的一种铅酸电池极耳整形装置,包括机架1和用于固定蓄电池极群9的铸焊夹具8,所述铅酸电池极耳整形装置还包括:用于对极耳4的上表面进行整形的上压板5,所述机架1上安装有直线驱动元件2,直线驱动元件2的伸缩端安装有升降座3,上压板5与升降座3通过第一连接杆11相连接,所述上压板5上安装有用于对极耳4的内侧面进行整形的内压板7;用于对极耳4的外侧面进行整形的外压板6;以及用于使得上压板5、内压板7和外压板6同时对极耳4进行整形的联动组件,所述联动组件包括活动杆13、第一滑块14、第一滑轨15、第二滑轨18、导向滑轮17以及第二滑块20,所述第一滑块14沿着第一滑轨15移动,第二滑块20沿着第二滑轨18移动,第一滑轨15和第二滑轨18均固定安装在机架1上,第一滑块14与升降座3之间通过活动杆13连接,第一滑块14的移动方向与升降座3的移动方向相互垂直,所述导向滑轮17安装在第一滑轨15上,第一滑块14通过绳索件16与第二滑块20连接,绳索件16绕设在导向滑轮17上,第一滑块14的移动方向与第二滑块20的移动方向相反,所述外压板6通过第二连接杆21与第二滑块20连接。
在本发明实施例中,所述活动杆13的一端与升降座3转动连接,活动杆13的另一端与第一滑块14转动连接,所述升降座3位于铸焊夹具8的正上方,第一滑块14和第二滑块20位于铸焊夹具8的两侧,所述升降座3用于带着上压板5在竖直方向上移动,第一滑块14和第二滑块20均在水平方向上移动,所述直线驱动元件2为电动推杆、液压缸或者是气缸,所述绳索件16采用钢丝绳或者尼龙绳,使用时,将蓄电池极群9安装在铸焊夹具8上,铸焊夹具8直接采用现有技术中常用的结构,这里不再赘述,蓄电池极群9安装完成后,启动直线驱动元件2,使得升降座3下降,上压板5跟随下降,在上压板5下降的同时,第一滑块14向着远离蓄电池极群9的方向移动,在绳索件16的作用下,第二滑块20向着靠近蓄电池极群9的方向移动,外压板6跟随移动,当上压板5与极耳4的上表面接触时,上压板5上的内压板7与极耳4的内侧面接触,同时外压板6刚好与极耳4的外侧面接触,这样,在只用一个驱动元件的情况下,实现了对极耳4上表面和内外侧面的整形,一步完成,加工效率高。
参阅图1和图2,在本发明的一个实施例中,所述活动杆13、第一滑块14、第一滑轨15、第二滑轨18、导向滑轮17、第二滑块20、外压板6和内压板7均成对设置,一个直线驱动元件2同时带着外压板6、内压板7和上压板5进行移动。
在本发明实施例中,两个所述活动杆13、第一滑块14、第一滑轨15、第二滑轨18、导向滑轮17、第二滑块20、外压板6和内压板7均关于蓄电池极群9左右对称设置,目前大多数极群安装线性排布,这样就会产生两列极耳4,本发明实施例能够同时对两列极耳4进行整形,工作更加高效;另外,所述第一滑块14上设置有第一通槽,第一滑块14套设在第一滑轨15的外侧,第一通槽的内侧面与第一滑轨15的侧面滑动配合连接,第一滑轨15水平设置,所述第二滑块20上设置有第二通槽,第二滑块20套设在第二滑轨18的外侧,第二通槽的内侧面与第二滑轨18的侧面滑动配合连接,第二滑轨18水平设置。
参阅图1和图2,在本发明的一个实施例中,所述第一连接杆11和第二连接杆21均为长度可调节伸缩杆,所述外压板6与第二连接杆21之间的连接为可拆卸连接,安装在上压板5上的两个内压板7之间的间距通过内压板调节组件10进行调节,以便于对不同尺寸的极耳4进行整形。
在本发明实施例中,为了适用于不同尺寸的极耳4,第一连接杆11和第二连接杆21均为长度可调节伸缩杆,上压板5和外压板6的位置能够调节,以保证上压板5与极耳4接触时,外压板6同时与极耳4接触,所述第一连接杆11和第二连接杆21上均安装有调节旋钮12,拧紧调节旋钮12用于对第一连接杆11和第二连接杆21的长度进行限定,调节旋钮12被拧紧后,第一连接杆11和第二连接杆21的长度不再改变;另外,所述外压板6与第二连接杆21之间的连接为可拆卸连接,外压板6可以与第二连接杆21通过螺钉连接,当极耳4的高度发生改变时,换上同样高度的外压板6;另外,两个内压板7之间的间距可以调节,以适用于不同厚度的极耳4。
参阅图1、图2和图3,在本发明的一个实施例中,所述内压板调节组件10包括用于调节两个内压板7之间的间距的双向螺纹轴101,用于安装双向螺纹轴101的支撑块102,所述支撑块102与上压板5固定连接,双向螺纹轴101与支撑块102转动连接,所述上压板5的表面设置有导向通槽51,内压板7的外侧面与所述导向通槽51的内侧面滑动配合连接。
在本发明实施例中,所述双向螺纹轴101上固定连接有转动手柄103,旋转转动手柄103,双向螺纹轴101发生转动,两个内压板7沿着相反方向移动,进而使得两个内压板7之间的间距得到调节,进一步的,所述转动手柄103上配合连接有螺栓30,拧紧螺栓30,螺栓30的一端与支撑块102抵触,转动手柄103不能旋转。
参阅图1和图2,在本发明的一个实施例中,所述第二滑块20与机架1之间连接有弹性件19,弹性件19用于使得第二滑块20完成复位工作。所述弹性件19水平设置,所述弹性件19为复位弹簧,当上压板5上升时,第一滑块14靠近蓄电池极群9,在弹性件19的作用下,第一滑块14远离蓄电池极群9,第一滑块14完成复位工作,以方便下次使用。
本发明实施例的工作过程为:使用时,将蓄电池极群9安装在铸焊夹具8上,根据蓄电池极群9上极耳4的尺寸调整上压板5、外压板6和内压板7的位置,蓄电池极群9安装完成后,启动直线驱动元件2,使得升降座3下降,上压板5跟随下降,在上压板5下降的同时,第一滑块14向着远离蓄电池极群9的方向移动,在绳索件16的作用下,第二滑块20向着靠近蓄电池极群9的方向移动,外压板6跟随移动,当上压板5与极耳4的上表面接触时,上压板5上的内压板7与极耳4的内侧面接触,同时外压板6刚好与极耳4的外侧面接触,这样,在只用一个驱动元件的情况下,实现了对极耳4上表面和内外侧面的整形,一步完成,加工效率高。
对于本领域技术人员而言,虽然说明了本发明的几个实施方式以及实施例,但这些实施方式以及实施例是作为例子而提出的,并不意图限定发明的范围。这些新的实施方式能够以其他各种方式实施,在不脱离发明的主旨的范围内能够进行各种省略、替换、变更。这些实施方式及其变形包含在发明的范围及主旨中,并且包含在权利要求书所记载的发明和其等效的范围内。
此外,应当理解,虽然本说明书按照实施方式加以描述,但并非每个实施方式仅包含一个独立的技术方案,说明书的这种叙述方式仅仅是为清楚起见,本领域技术人员应当将说明书作为一个整体,各实施例中的技术方案也可以经适当组合,形成本领域技术人员可以理解的其他实施方式。

Claims (7)

1.一种铅酸电池极耳整形装置,包括机架和用于固定蓄电池极群的铸焊夹具,其特征在于,所述铅酸电池极耳整形装置还包括:用于对极耳的上表面进行整形的上压板,所述机架上安装有直线驱动元件,直线驱动元件的伸缩端安装有升降座,上压板与升降座通过第一连接杆相连接,所述上压板上安装有用于对极耳的内侧面进行整形的内压板;用于对极耳的外侧面进行整形的外压板;以及用于使得上压板、内压板和外压板同时对极耳进行整形的联动组件,所述联动组件包括活动杆、第一滑块、第一滑轨、第二滑轨、导向滑轮以及第二滑块,所述第一滑块沿着第一滑轨移动,第二滑块沿着第二滑轨移动,第一滑轨和第二滑轨均固定安装在机架上,第一滑块与升降座之间通过活动杆连接,第一滑块的移动方向与升降座的移动方向相互垂直,所述导向滑轮安装在第一滑轨上,第一滑块通过绳索件与第二滑块连接,绳索件绕设在导向滑轮上,第一滑块的移动方向与第二滑块的移动方向相反,所述外压板通过第二连接杆与第二滑块连接。
2.根据权利要求1所述的铅酸电池极耳整形装置,其特征在于,所述活动杆、第一滑块、第一滑轨、第二滑轨、导向滑轮、第二滑块、外压板和内压板均成对设置,一个直线驱动元件同时带着外压板、内压板和上压板进行移动。
3.根据权利要求2所述的铅酸电池极耳整形装置,其特征在于,所述第一连接杆和第二连接杆均为长度可调节伸缩杆,所述外压板与第二连接杆之间的连接为可拆卸连接,安装在上压板上的两个内压板之间的间距通过内压板调节组件进行调节,以便于对不同尺寸的极耳进行整形。
4.根据权利要求3所述的铅酸电池极耳整形装置,其特征在于,所述内压板调节组件包括用于调节两个内压板之间的间距的双向螺纹轴,用于安装双向螺纹轴的支撑块,所述支撑块与上压板固定连接,双向螺纹轴与支撑块转动连接,所述上压板的表面设置有导向通槽,内压板的外侧面与所述导向通槽的内侧面滑动配合连接。
5.根据权利要求1所述的铅酸电池极耳整形装置,其特征在于,所述第二滑块与机架之间连接有弹性件,弹性件用于使得第二滑块完成复位工作。
6.根据权利要求1所述的铅酸电池极耳整形装置,其特征在于,所述第一滑块上设置有第一通槽,第一滑块套设在第一滑轨的外侧,第一通槽的内侧面与第一滑轨的侧面滑动配合连接,所述第二滑块上设置有第二通槽,第二滑块套设在第二滑轨的外侧,第二通槽的内侧面与第二滑轨的侧面滑动配合连接。
7.根据权利要求3所述的铅酸电池极耳整形装置,其特征在于,所述第一连接杆和第二连接杆上均安装有调节旋钮,拧紧调节旋钮用于对第一连接杆和第二连接杆的长度进行限定。
CN202210808671.5A 2022-07-11 2022-07-11 一种铅酸电池极耳整形装置 Active CN114871304B (zh)

Priority Applications (1)

Application Number Priority Date Filing Date Title
CN202210808671.5A CN114871304B (zh) 2022-07-11 2022-07-11 一种铅酸电池极耳整形装置

Applications Claiming Priority (1)

Application Number Priority Date Filing Date Title
CN202210808671.5A CN114871304B (zh) 2022-07-11 2022-07-11 一种铅酸电池极耳整形装置

Publications (2)

Publication Number Publication Date
CN114871304A CN114871304A (zh) 2022-08-09
CN114871304B true CN114871304B (zh) 2022-09-09

Family

ID=82682957

Family Applications (1)

Application Number Title Priority Date Filing Date
CN202210808671.5A Active CN114871304B (zh) 2022-07-11 2022-07-11 一种铅酸电池极耳整形装置

Country Status (1)

Country Link
CN (1) CN114871304B (zh)

Families Citing this family (4)

* Cited by examiner, † Cited by third party
Publication number Priority date Publication date Assignee Title
CN116651972B (zh) * 2023-04-25 2025-09-26 无锡奥特维科芯半导体技术有限公司 一种汇流条整形机构
CN116618471B (zh) * 2023-07-19 2023-10-13 江苏海德森能源有限公司 一种铅酸电池极耳整形装置
CN117019924B (zh) * 2023-07-21 2024-10-22 浙江天能电池(江苏)有限公司 一种连杆式电池集群极耳压斜机构
CN117832776B (zh) * 2023-12-25 2025-09-30 天能电池集团(马鞍山)新能源科技有限公司 一种极群整形装置

Citations (15)

* Cited by examiner, † Cited by third party
Publication number Priority date Publication date Assignee Title
CN201673958U (zh) * 2010-03-19 2010-12-15 陈义忠 一种自动整耳模
CN103346344A (zh) * 2013-06-21 2013-10-09 浙江海悦自动化机械股份有限公司 一种蓄电池极群整形机构
JP2014238971A (ja) * 2013-06-07 2014-12-18 株式会社豊田自動織機 電極の反り矯正方法、及び電極の反り矯正装置
CN204966583U (zh) * 2015-10-13 2016-01-13 重庆佳宝成能源科技有限公司 辊压结构
CN107457034A (zh) * 2017-08-25 2017-12-12 烟台宇诚企业管理咨询有限公司 一种方便加取的高效中药材研磨装置
CN208315688U (zh) * 2018-06-08 2019-01-01 长兴玖佳机械股份有限公司 一种自动翻转铅酸电池极耳整形机构
CN110026467A (zh) * 2019-04-24 2019-07-19 温其锋 一种五金板材成型装置
CN110496894A (zh) * 2019-09-16 2019-11-26 方杰 一种冰箱侧板连续冲压模具
CN111036776A (zh) * 2020-01-10 2020-04-21 山东交通职业学院 一种汽车生产用冲压装置
CN210450384U (zh) * 2019-08-14 2020-05-05 济源市万洋绿色能源有限公司 一种极耳整形装置
CN211840107U (zh) * 2020-03-31 2020-11-03 漳浦奇点机械科技有限公司 一种金属制品生产用成型装置
CN212706937U (zh) * 2020-06-24 2021-03-16 赵明容 一种再生环保纸生产用纸张裁剪装置
CN214078551U (zh) * 2020-11-12 2021-08-31 宿迁一凡科技有限公司 一种电池极耳整形装置
CN113547629A (zh) * 2021-07-28 2021-10-26 安徽筑园景新型建材科技有限公司 一种加气混凝土砌块自动浇注装置
CN114102096A (zh) * 2021-11-18 2022-03-01 江西阳硕塑业科技有限公司 一种灯泡生产用上下驱动机构

Patent Citations (15)

* Cited by examiner, † Cited by third party
Publication number Priority date Publication date Assignee Title
CN201673958U (zh) * 2010-03-19 2010-12-15 陈义忠 一种自动整耳模
JP2014238971A (ja) * 2013-06-07 2014-12-18 株式会社豊田自動織機 電極の反り矯正方法、及び電極の反り矯正装置
CN103346344A (zh) * 2013-06-21 2013-10-09 浙江海悦自动化机械股份有限公司 一种蓄电池极群整形机构
CN204966583U (zh) * 2015-10-13 2016-01-13 重庆佳宝成能源科技有限公司 辊压结构
CN107457034A (zh) * 2017-08-25 2017-12-12 烟台宇诚企业管理咨询有限公司 一种方便加取的高效中药材研磨装置
CN208315688U (zh) * 2018-06-08 2019-01-01 长兴玖佳机械股份有限公司 一种自动翻转铅酸电池极耳整形机构
CN110026467A (zh) * 2019-04-24 2019-07-19 温其锋 一种五金板材成型装置
CN210450384U (zh) * 2019-08-14 2020-05-05 济源市万洋绿色能源有限公司 一种极耳整形装置
CN110496894A (zh) * 2019-09-16 2019-11-26 方杰 一种冰箱侧板连续冲压模具
CN111036776A (zh) * 2020-01-10 2020-04-21 山东交通职业学院 一种汽车生产用冲压装置
CN211840107U (zh) * 2020-03-31 2020-11-03 漳浦奇点机械科技有限公司 一种金属制品生产用成型装置
CN212706937U (zh) * 2020-06-24 2021-03-16 赵明容 一种再生环保纸生产用纸张裁剪装置
CN214078551U (zh) * 2020-11-12 2021-08-31 宿迁一凡科技有限公司 一种电池极耳整形装置
CN113547629A (zh) * 2021-07-28 2021-10-26 安徽筑园景新型建材科技有限公司 一种加气混凝土砌块自动浇注装置
CN114102096A (zh) * 2021-11-18 2022-03-01 江西阳硕塑业科技有限公司 一种灯泡生产用上下驱动机构

Also Published As

Publication number Publication date
CN114871304A (zh) 2022-08-09

Similar Documents

Publication Publication Date Title
CN114871304B (zh) 一种铅酸电池极耳整形装置
CN213033889U (zh) 一种锂电子动力电池铝排的激光焊接装置
CN214447073U (zh) 一种用于家具的高效切割装置
CN220030318U (zh) 一种绝缘板加工用切割设备
CN217344609U (zh) 曲轴箱盖及其工装夹具
CN215315097U (zh) 一种机械设计的自动化冲压折弯装置
CN213288400U (zh) 一种太阳能光伏板组件的连接装置的冲压模具
CN211225634U (zh) 一种环保防护网卷绕装置
CN219786328U (zh) 一种加强板冲压保护机构
CN220052193U (zh) 一种新型陶瓷材料冲压用的冲压装置
CN216780925U (zh) 伺服压机
CN210817153U (zh) 一种电缆成型装置
CN220574432U (zh) 一种用于电池极耳的折弯装置
CN108296370B (zh) 一种滤波器盖板成型模具
CN222001407U (zh) 一种金属折弯机的机架结构
CN222308648U (zh) 一种磁极压板加工夹具
CN223729188U (zh) 一种多工位的压接治具
CN223476720U (zh) 一种端子抱紧机构
CN219706157U (zh) 一种安全使用的气动压力机
CN222365493U (zh) 断路器储能弹簧用挂簧夹紧工装
CN220367969U (zh) 一种电池压紧机构
CN220028257U (zh) 一种载具极耳整形装置及载具
CN211991174U (zh) 一种铍铜板的切断装置
CN222520112U (zh) 铜材切割用尺寸调节机构
CN221726991U (zh) 一种银基复合电触头结构

Legal Events

Date Code Title Description
PB01 Publication
PB01 Publication
SE01 Entry into force of request for substantive examination
SE01 Entry into force of request for substantive examination
GR01 Patent grant
GR01 Patent grant