CN114852917A - A mechanical lifting type construction machinery transfer device with a lifting structure - Google Patents
A mechanical lifting type construction machinery transfer device with a lifting structure Download PDFInfo
- Publication number
- CN114852917A CN114852917A CN202210606288.1A CN202210606288A CN114852917A CN 114852917 A CN114852917 A CN 114852917A CN 202210606288 A CN202210606288 A CN 202210606288A CN 114852917 A CN114852917 A CN 114852917A
- Authority
- CN
- China
- Prior art keywords
- rack
- lifting
- mounting frame
- plate
- transfer device
- Prior art date
- Legal status (The legal status is an assumption and is not a legal conclusion. Google has not performed a legal analysis and makes no representation as to the accuracy of the status listed.)
- Granted
Links
- 238000010276 construction Methods 0.000 title abstract description 18
- 230000000087 stabilizing effect Effects 0.000 claims abstract description 14
- 230000005540 biological transmission Effects 0.000 claims description 25
- 238000005096 rolling process Methods 0.000 claims description 4
- 238000010586 diagram Methods 0.000 description 5
- 238000000034 method Methods 0.000 description 5
- 230000000694 effects Effects 0.000 description 4
- 230000006641 stabilisation Effects 0.000 description 3
- 238000011105 stabilization Methods 0.000 description 3
- 230000007547 defect Effects 0.000 description 2
- 230000009286 beneficial effect Effects 0.000 description 1
- 230000000903 blocking effect Effects 0.000 description 1
- 230000007812 deficiency Effects 0.000 description 1
- 239000000463 material Substances 0.000 description 1
- 238000012986 modification Methods 0.000 description 1
- 230000004048 modification Effects 0.000 description 1
- 239000003381 stabilizer Substances 0.000 description 1
Images
Classifications
-
- B—PERFORMING OPERATIONS; TRANSPORTING
- B66—HOISTING; LIFTING; HAULING
- B66F—HOISTING, LIFTING, HAULING OR PUSHING, NOT OTHERWISE PROVIDED FOR, e.g. DEVICES WHICH APPLY A LIFTING OR PUSHING FORCE DIRECTLY TO THE SURFACE OF A LOAD
- B66F7/00—Lifting frames, e.g. for lifting vehicles; Platform lifts
- B66F7/06—Lifting frames, e.g. for lifting vehicles; Platform lifts with platforms supported by levers for vertical movement
- B66F7/065—Scissor linkages, i.e. X-configuration
-
- B—PERFORMING OPERATIONS; TRANSPORTING
- B66—HOISTING; LIFTING; HAULING
- B66F—HOISTING, LIFTING, HAULING OR PUSHING, NOT OTHERWISE PROVIDED FOR, e.g. DEVICES WHICH APPLY A LIFTING OR PUSHING FORCE DIRECTLY TO THE SURFACE OF A LOAD
- B66F7/00—Lifting frames, e.g. for lifting vehicles; Platform lifts
- B66F7/28—Constructional details, e.g. end stops, pivoting supporting members, sliding runners adjustable to load dimensions
Landscapes
- Life Sciences & Earth Sciences (AREA)
- Engineering & Computer Science (AREA)
- Geology (AREA)
- Mechanical Engineering (AREA)
- Structural Engineering (AREA)
- Transmission Devices (AREA)
- Warehouses Or Storage Devices (AREA)
Abstract
本发明涉及一种具有抬升结构的机械起升式工程机械转移装置,具有底座,底座上端面前侧固定有前安装架、后侧固定有后安装架,前安装架内前后相距安装有作相近或相远移动的前齿条、后齿条,所述前齿条和后齿条的外侧端均具有一体结构的支撑板,位于前、后齿条上方设有放置机械设备的抬升板,所述支撑板上端与抬升板底面之间铰接有呈剪刀状交叉的第一升降杆和第二升降杆,后安装架内安装有确保前、后齿条稳定移动的稳定组件。本发明通过第一升降杆和第二升降杆推动抬升板作升降运动时,利用稳定组件的连接架逐渐向前移动,确保限位板与前、后齿条的外侧角端贴紧,使得稳定组件整体相对于前、后齿条同步移动,从而进一步提高了抬升的稳定效果。
The invention relates to a mechanical lift-type construction machinery transfer device with a lifting structure, which has a base, a front mounting frame is fixed on the front side of the upper end of the base, and a rear mounting frame is fixed at the rear side. The front rack and the rear rack move away from each other, the outer ends of the front rack and the rear rack are provided with a supporting plate of an integrated structure, and a lifting plate for placing mechanical equipment is arranged above the front and rear racks. A first lifting rod and a second lifting rod crossed in a scissors shape are hinged between the upper end of the support plate and the bottom surface of the lifting plate, and a stabilizing component to ensure the stable movement of the front and rear racks is installed in the rear mounting frame. In the present invention, when the lifting plate is pushed by the first lifting rod and the second lifting rod to perform the lifting movement, the connecting frame of the stabilizing component is used to gradually move forward to ensure that the limit plate is closely attached to the outer corner ends of the front and rear racks, so that the stability of the The entire assembly moves synchronously relative to the front and rear racks, thereby further improving the stability of the lifting.
Description
技术领域technical field
本发明涉及工程机械技术领域,尤其是一种具有抬升结构的机械起升式工程机械转移装置。The invention relates to the technical field of construction machinery, in particular to a mechanical lift-type construction machinery transfer device with a lifting structure.
背景技术Background technique
工程机械是工业装备的重要组成部分,由于现有的工程机械很多体积较大,因此在转运过程中经常需要使用到转移装置。Construction machinery is an important part of industrial equipment. Due to the large volume of existing construction machinery, transfer devices are often used in the transfer process.
公告号CN112319563B公开了一种机械起升式工程机械转移装置,包括主体框架,所述主体框架的后端设置有设备入口,且主体框架的下端均匀的布满滚轴,并且滚轴的左右两端与主体框架的左右两侧构成轴承连接结构,所述主体框架后方右侧壁的上端固定安装有安装座,且安装座的内侧与活动挡杆的右端构成铰接结构,并且主体框架后方左侧壁的上端固定安装有固定卡口,所述主体框架前端表面的左侧固定安装有电机,且电机的轴端与传动轴的左端端头构成固定连接结构。该机械起升式工程机械转移装置能便于简单快捷的将工程机械放置到转移装置上进行搬运,且操作步骤简单便捷,降低工作人员的劳动强度,并且能够适应较为复杂的地形。Announcement No. CN112319563B discloses a mechanical lifting type construction machinery transfer device, comprising a main frame, the rear end of the main frame is provided with an equipment inlet, and the lower end of the main frame is evenly covered with rollers, and the left and right sides of the roller are The end and the left and right sides of the main frame form a bearing connection structure, the upper end of the right side wall behind the main frame is fixedly installed with a mounting seat, and the inner side of the mounting seat and the right end of the movable blocking rod form a hinge structure, and the left side of the rear of the main frame A fixed bayonet is fixedly installed on the upper end of the wall, a motor is fixedly installed on the left side of the front end surface of the main frame, and the shaft end of the motor and the left end of the transmission shaft form a fixed connection structure. The mechanical lift-type construction machinery transfer device can conveniently and quickly place the construction machinery on the transfer device for transportation, and the operation steps are simple and convenient, the labor intensity of the staff is reduced, and the complex terrain can be adapted.
公告号CN109019426B公开了一种机械起升式工程机械转移装置,包括支撑底板,支撑底板底端四周均匀连接有万向轮,支撑底板远离于万向轮的一侧均匀连接有若干支撑杆,通过在转移箱内设有若干绕线器,通过绕线器连接拉绳以及挂钩,可将挂钩挂在需要转移的机械上,通过拉绳可将该机械顺着滚动轮斜板运送至转移箱内,通过在升降板底部设置液压缸,当转移到合适的位置时候,通过液压缸和液压杆将转移箱升起到需要放置的高度,开启伺服丝杆电机,固定推杆板则会移动,将该机械顶出转移箱,很大的程度上省去了机械转移时候的人力物力,提高了机械转移时候的效率,结构简单新颖,操作容易上手,提高了工程机械转移装置的工作使用效率。Announcement No. CN109019426B discloses a mechanical hoisting type construction machinery transfer device, which includes a support base plate, a universal wheel is evenly connected around the bottom end of the support base plate, and a number of support rods are evenly connected to the side of the support base plate away from the universal wheel. There are several winders in the transfer box. The ropes and hooks are connected through the winders. The hooks can be hung on the machine that needs to be transferred, and the machine can be transported to the transfer box along the sloping plate of the rolling wheel through the rope. , By setting a hydraulic cylinder at the bottom of the lifting plate, when it is transferred to a suitable position, the transfer box is raised to the height that needs to be placed through the hydraulic cylinder and hydraulic rod, and the servo screw motor is turned on, and the fixed push rod plate will move. The mechanical ejection transfer box greatly saves manpower and material resources during mechanical transfer, improves the efficiency of mechanical transfer, has a simple and novel structure, is easy to operate, and improves the working efficiency of the construction machinery transfer device.
上述中的现有技术方案存在以下缺陷:其不具有较好的抬升结构,使得整体使用时的局限性较大,同时在转移过程中整体的稳定效果较差,进而存在一定的使用缺陷,因此,我们提供一种具有抬升结构的机械起升式工程机械转移装置,以便于解决上述中提出的问题。The above-mentioned prior art scheme has the following defects: it does not have a better lifting structure, so that the overall use is limited, and the overall stabilization effect during the transfer process is poor, and then there are certain use defects, so , we provide a mechanical lifting type construction machinery transfer device with a lifting structure, so as to solve the above problems.
发明内容SUMMARY OF THE INVENTION
本发明要解决的技术问题是:为了克服现有技术中之不足,本发明提供一种具有抬升结构的机械起升式工程机械转移装置,解决现有转移装置中存在的技术问题。The technical problem to be solved by the present invention is: in order to overcome the deficiencies in the prior art, the present invention provides a mechanical lift-type construction machinery transfer device with a lifting structure to solve the technical problems existing in the existing transfer device.
本发明解决其技术问题所采用的技术方案是:一种具有抬升结构的机械起升式工程机械转移装置,具有底座,所述的底座上端面前侧固定有前安装架、后侧固定有后安装架,所述的前安装架内前后相距安装有作相近或相远移动的前齿条、后齿条,所述前齿条和后齿条的外侧端均具有一体结构的支撑板,位于前齿条和后齿条上方设有放置机械设备的抬升板,所述的支撑板上端与抬升板底面之间铰接有呈剪刀状交叉的第一升降杆和第二升降杆;The technical solution adopted by the present invention to solve the technical problem is: a mechanical lifting type construction machinery transfer device with a lifting structure, which has a base, and a front mounting frame is fixed on the front side of the upper end of the base, and a rear mounting frame is fixed on the rear side. The front rack and the rear rack are installed in the front and rear of the front mounting rack, and the front racks and the rear racks are installed at a distance from each other. A lifting plate for placing mechanical equipment is arranged above the rack and the rear rack, and a first lifting rod and a second lifting rod crossed in a scissors shape are hinged between the upper end of the support plate and the bottom surface of the lifting plate;
所述的后安装架内安装有稳定组件,所述稳定组件具有呈梯形状的连接架,所述连接架相对于前齿条和后齿条作前后移动,连接架两侧的斜杆内侧面分别弹性连接有限位板,所述限位板对应与前齿条和后齿条的外侧角端贴合而稳定前齿条和后齿条的移动;A stabilizing assembly is installed in the rear mounting frame, and the stabilizing assembly has a connecting frame in the shape of a trapezoid. The connecting frame moves back and forth relative to the front rack and the rear rack. Respectively elastically connected limit plates, the limit plates are correspondingly fitted with the outer corner ends of the front rack and the rear rack to stabilize the movement of the front rack and the rear rack;
所述的支撑板底端固定有限位块,前安装架的内侧下端开设有限位槽,所述限位块与限位槽滑动配合;A limit block is fixed at the bottom end of the support plate, a limit slot is provided at the inner lower end of the front mounting frame, and the limit block is slidably matched with the limit slot;
所述的前安装架内安装有驱动前齿条和后齿条作相近或相远移动的驱动机构。The front mounting frame is provided with a driving mechanism for driving the front rack and the rear rack to move toward or away from each other.
具体说,所述的驱动机构包括安装在前安装架前端面的驱动电机,前安装架内转动设有水平布置的蜗杆、与蜗杆空间垂直的传动轴,驱动电机的电机轴与蜗杆传动连接,传动轴上安装有与蜗杆啮合传动的蜗轮,传动轴的上端部安装有齿轮,所述的齿轮分别与前齿条和后齿条啮合传动,蜗杆的后端安装有传动皮带。Specifically, the drive mechanism includes a drive motor installed on the front end surface of the front mounting frame, a horizontally arranged worm and a transmission shaft perpendicular to the worm space are rotated in the front mounting frame, and the motor shaft of the drive motor is connected to the worm drive. The transmission shaft is installed with a worm gear that meshes with the worm, and gears are installed on the upper end of the transmission shaft. The gears are respectively meshed with the front rack and the rear rack for transmission.
进一步地,为实现稳定组件的移动并提高移动稳定性,所述的后安装架内安装有导向组件,所述导向组件包括转动设在后安装架内壁之间的螺杆、与螺杆传动连接的螺母,所述螺母与连接架的直杆固定,所述传动皮带与螺杆传动连接,位于螺杆两侧的后安装架内壁之间分别固定有导向杆,所述连接架的直杆上设有滑套,所述导向杆与滑套滑动配合。Further, in order to realize the movement of the stabilizing assembly and improve the movement stability, a guide assembly is installed in the rear mounting frame. , the nut is fixed with the straight rod of the connecting frame, the transmission belt is connected with the screw drive, the guide rods are respectively fixed between the inner walls of the rear mounting frame on both sides of the screw rod, and the straight rod of the connecting frame is provided with a sliding sleeve , the guide rod is slidingly matched with the sliding sleeve.
为确保与稳定组件始终贴紧前齿条和后齿条并减少推动阻力,所述的连接架两侧的斜杆与限位板之间连接有弹簧,限位板内侧表面排列嵌设有与前齿条和后齿条的外侧角端滚动接触的滚柱。In order to ensure that the stabilizing component is always in close contact with the front rack and the rear rack and reduce the pushing resistance, springs are connected between the inclined rods on both sides of the connecting frame and the limit plate, and the inner surface of the limit plate is arranged and embedded with Rollers that are in rolling contact with the outer corner ends of the front and rear racks.
为提高使用安全性,所述的抬升板上端面固定安装有防护栏。In order to improve the safety of use, a guardrail is fixedly installed on the end surface of the lifting plate.
本发明的有益效果是:本发明通过第一升降杆和第二升降杆推动抬升板作升降运动时,利用稳定组件的连接架两侧对应与后齿条和前齿条的外侧角端相互贴合,随着抬升板的高度逐渐抬升,连接架逐渐向前移动,确保限位板与后齿条和前齿条的外侧角端贴紧,从而使得稳定组件整体相对于后齿条和前齿条同步移动,进而在抬升过程中可进一步保证抬升的稳定效果,方便使用。The beneficial effects of the present invention are: when the first lifting rod and the second lifting rod push the lifting plate to make the lifting movement, the two sides of the connecting frame of the stabilizing component are correspondingly attached to the outer corner ends of the rear rack and the front rack. As the height of the lifting plate gradually rises, the connecting frame gradually moves forward to ensure that the limit plate is in close contact with the outer corner ends of the rear rack and the front rack, so that the entire stabilizing assembly is relative to the rear rack and the front rack. The bars move synchronously, which can further ensure the stable effect of the lifting during the lifting process, and is convenient to use.
附图说明Description of drawings
下面结合附图和实施例对本发明进一步说明。The present invention will be further described below in conjunction with the accompanying drawings and embodiments.
图1为本发明正视剖面结构示意图。FIG. 1 is a schematic view of the front sectional structure of the present invention.
图2为本发明俯视剖面结构示意图。FIG. 2 is a schematic top view sectional structure diagram of the present invention.
图3为本发明所述齿轮和前、后齿条的传动结构示意图。FIG. 3 is a schematic diagram of the transmission structure of the gear and the front and rear racks according to the present invention.
图4为本发明所述蜗轮与蜗杆的传动结构示意图。FIG. 4 is a schematic diagram of the transmission structure of the worm gear and the worm according to the present invention.
图5为图1中A处的放大结构示意图。FIG. 5 is an enlarged schematic view of the structure at A in FIG. 1 .
图6为图2中B处的放大结构示意图。FIG. 6 is an enlarged schematic view of the structure at B in FIG. 2 .
图7为本发明所述稳定组件的结构示意图。FIG. 7 is a schematic structural diagram of the stabilizing assembly according to the present invention.
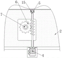
图中:1、底座;2、前安装架;3、后安装架;4、驱动电机;5、蜗杆;6、蜗轮;7、传动轴;8、齿轮;9、后齿条;10、第一升降杆;11、抬升板;12、防护栏;13、限位块;14、限位槽;15、传动皮带;16、导向组件;1601、螺杆;1602、螺母;1603、导向杆;17、稳定组件;1701、连接架;1702、弹簧;1703、限位板;1704、滚柱;18、前齿条;19、第二升降杆。In the figure: 1. Base; 2. Front mounting frame; 3. Rear mounting frame; 4. Drive motor; 5. Worm; 6. Worm gear; 7. Transmission shaft; 8. Gear; 9. Rear rack; 10. 1. Lifting rod; 11. Lifting plate; 12. Guardrail; 13. Limiting block; 14. Limiting groove; 15. Transmission belt; 16. Guide assembly; 1601, Screw; 1602, Nut; 1603, Guide rod; 17 1701, connecting frame; 1702, spring; 1703, limit plate; 1704, roller; 18, front rack; 19, second lift rod.
具体实施方式Detailed ways
现在结合附图对本发明作进一步详细的说明。这些附图均为简化的示意图,仅以示意方式说明本发明的基本结构,因此其仅显示与本发明有关的构成。The present invention will now be described in further detail with reference to the accompanying drawings. These drawings are all simplified schematic diagrams, and only illustrate the basic structure of the present invention in a schematic manner, so they only show the structures related to the present invention.
如图1~图7所示的一种具有抬升结构的机械起升式工程机械转移装置,具有底座1,所述的底座1上端面前侧固定有前安装架2,底座1上端面后侧固定有后安装架3,所述的前安装架2内前后相距安装有作相近或相远移动的前齿条18、后齿条9,所述前齿条18和后齿条9的外侧端均具有一体结构的支撑板,所述的支撑板底端固定有限位块13,前安装架2的内侧下端开设有限位槽14,所述限位块13与限位槽14滑动配合。As shown in Figures 1 to 7, a mechanical lifting type construction machinery transfer device with a lifting structure has a
位于前齿条18和后齿条9上方设有放置机械设备的抬升板11,所述的抬升板11上端面固定安装有防护栏12,以提高使用安全性。Above the
所述的支撑板上端与抬升板11底面之间铰接有呈剪刀状交叉的第一升降杆10和第二升降杆19。A
所述的前安装架2内安装有驱动前齿条18和后齿条9作相近或相远移动的驱动机构,所述的驱动机构包括安装在前安装架2前端面的驱动电机4,前安装架2内转动设有水平布置的蜗杆5、与蜗杆5空间垂直的传动轴7,驱动电机4的电机轴与蜗杆5传动连接,传动轴7上安装有与蜗杆5啮合传动的蜗轮6,传动轴7的上端部安装有齿轮8,所述的齿轮8分别与前齿条18和后齿条9啮合传动,蜗杆5的后端安装有传动皮带15。The
所述的后安装架3内安装有稳定组件17,所述稳定组件17具有呈梯形状的连接架1701,所述连接架1701相对于前齿条18和后齿条9作前后移动,连接架1701两侧的斜杆内侧面分别设有限位板1703,所述限位板1703与连接架1701的斜杆之间通过弹簧1702实现弹性连接,位于限位板1703内侧表面排列嵌设有与前齿条18和后齿条9的外侧角端滚动接触的滚柱1704,以实现前齿条18和后齿条9的稳定移动。A stabilizing
所述的后安装架3内安装有导向组件16,所述导向组件16包括转动设在后安装架3内壁之间的螺杆1601、与螺杆1601传动连接的螺母1602,所述螺母1602与连接架1701的直杆固定,所述传动皮带15与螺杆1601传动连接;位于螺杆1601两侧的后安装架3内壁之间分别固定有导向杆1603,所述连接架1701的直杆上设有滑套,所述导向杆1603与滑套滑动配合。A guide assembly 16 is installed in the
使用时,首先将转移装置通过安装在底座1四角端的滚轮移动到指定位置,再将所需进行转移的工程机械放置于抬升板11上,在工程机械放置平稳后启动驱动电机4,驱动电机4带动蜗杆5转动,蜗杆5与蜗轮6啮合传动带动传动轴7和齿轮8在前安装架2的内部发生转动。When in use, first move the transfer device to the designated position through the rollers installed on the four corners of the
由于齿轮8分别与后齿条9和前齿条18啮合传动,从而使得后齿条9和前齿条18之间作相近移动,此时第一升降杆10和第二升降杆19的下端分别与后齿条9和前齿条18产生相对转动,使得第一升降杆10和第二升降杆19的转动角度发生改变,同时第一升降杆10和第二升降杆19的上端均与抬升板11产生相对转动,推动抬升板11向上移动而抬起工程机械。Because the
当后齿条9和前齿条18在齿轮8作用下进行移动时,限位块13在限位槽14内滑动,限位块13对后齿条9和前齿条18起到较好的支撑限位作用,便于提高后齿条9和前齿条18移动时的稳定效果。When the
当蜗杆5转动时,通过传动皮带15作用带动螺杆1601在后安装架3的内部产生转动,此时螺杆1601与螺母1602通过螺纹传动连接,推动稳定组件17在后安装架3的内部向前移动,导向杆1603对稳定组件17的移动起到导向的作用,便于提高稳定组件17移动的稳定性。When the
连接架1701通过螺母1602和螺杆1601在后安装架3的内部构成前后移动,且连接架1701左右两端均呈倾斜式设置,同时限位板1703通过弹簧1702在连接架1701的内部构成伸缩结构,当抬升板11进行抬升工作时的同时,连接架1701在螺杆1601的作用下向前移动,此时限位板1703通过滚柱1704与后齿条9和前齿条18的外侧角端相互贴合,同时弹簧1702提高了限位板1703与后齿条9和前齿条18之间的贴合紧密性,随着抬升板11的高度逐渐抬升,连接架1701在螺杆1601的作用下逐渐向前移动,确保限位板1703上的滚柱1704始终与后齿条9和前齿条18的外侧角端贴紧,从而使得稳定组件17整体相对于后齿条9和前齿条18同步移动,进而在抬升过程中可进一步保证抬升的稳定效果,方便使用。The connecting
以上述依据本发明的理想实施例为启示,通过上述的说明内容,相关工作人员完全可以在不偏离本项发明技术思想的范围内,进行多样的变更以及修改。本项发明的技术性范围并不局限于说明书上的内容,必须要根据权利要求范围来确定其技术性范围。Taking the above ideal embodiments according to the present invention as inspiration, and through the above description, relevant personnel can make various changes and modifications without departing from the technical idea of the present invention. The technical scope of the present invention is not limited to the contents in the specification, and the technical scope must be determined according to the scope of the claims.
Claims (5)
Priority Applications (1)
| Application Number | Priority Date | Filing Date | Title |
|---|---|---|---|
| CN202210606288.1A CN114852917B (en) | 2022-05-31 | 2022-05-31 | A mechanical lifting construction machinery transfer device with a lifting structure |
Applications Claiming Priority (1)
| Application Number | Priority Date | Filing Date | Title |
|---|---|---|---|
| CN202210606288.1A CN114852917B (en) | 2022-05-31 | 2022-05-31 | A mechanical lifting construction machinery transfer device with a lifting structure |
Publications (2)
| Publication Number | Publication Date |
|---|---|
| CN114852917A true CN114852917A (en) | 2022-08-05 |
| CN114852917B CN114852917B (en) | 2023-09-26 |
Family
ID=82641609
Family Applications (1)
| Application Number | Title | Priority Date | Filing Date |
|---|---|---|---|
| CN202210606288.1A Active CN114852917B (en) | 2022-05-31 | 2022-05-31 | A mechanical lifting construction machinery transfer device with a lifting structure |
Country Status (1)
| Country | Link |
|---|---|
| CN (1) | CN114852917B (en) |
Cited By (1)
| Publication number | Priority date | Publication date | Assignee | Title |
|---|---|---|---|---|
| CN115492406A (en) * | 2022-10-31 | 2022-12-20 | 山东中信恒远项目管理有限公司 | Automatic lifting equipment of steel construction |
Citations (5)
| Publication number | Priority date | Publication date | Assignee | Title |
|---|---|---|---|---|
| JP2009280314A (en) * | 2008-05-20 | 2009-12-03 | Tsubakimoto Chain Co | Pantograph type lifter |
| CN109179257A (en) * | 2018-11-10 | 2019-01-11 | 郑州海威光电科技有限公司 | A kind of automation lifting device |
| CN111825004A (en) * | 2020-07-24 | 2020-10-27 | 鲁仲斐 | Mechanical lifting type engineering machinery transfer device |
| CN212020694U (en) * | 2020-04-30 | 2020-11-27 | 刘庆树 | Electromechanical maintenance lifting frame convenient to use |
| CN214456521U (en) * | 2021-03-17 | 2021-10-22 | 何时清 | Automobile elevator for automobile repair |
-
2022
- 2022-05-31 CN CN202210606288.1A patent/CN114852917B/en active Active
Patent Citations (5)
| Publication number | Priority date | Publication date | Assignee | Title |
|---|---|---|---|---|
| JP2009280314A (en) * | 2008-05-20 | 2009-12-03 | Tsubakimoto Chain Co | Pantograph type lifter |
| CN109179257A (en) * | 2018-11-10 | 2019-01-11 | 郑州海威光电科技有限公司 | A kind of automation lifting device |
| CN212020694U (en) * | 2020-04-30 | 2020-11-27 | 刘庆树 | Electromechanical maintenance lifting frame convenient to use |
| CN111825004A (en) * | 2020-07-24 | 2020-10-27 | 鲁仲斐 | Mechanical lifting type engineering machinery transfer device |
| CN214456521U (en) * | 2021-03-17 | 2021-10-22 | 何时清 | Automobile elevator for automobile repair |
Cited By (2)
| Publication number | Priority date | Publication date | Assignee | Title |
|---|---|---|---|---|
| CN115492406A (en) * | 2022-10-31 | 2022-12-20 | 山东中信恒远项目管理有限公司 | Automatic lifting equipment of steel construction |
| CN115492406B (en) * | 2022-10-31 | 2024-02-23 | 山东中信恒远项目管理有限公司 | Automatic lifting equipment for steel structure |
Also Published As
| Publication number | Publication date |
|---|---|
| CN114852917B (en) | 2023-09-26 |
Similar Documents
| Publication | Publication Date | Title |
|---|---|---|
| CN114852917A (en) | A mechanical lifting type construction machinery transfer device with a lifting structure | |
| CN111843941B (en) | Two-wheeled variable width bearing device | |
| CN211980418U (en) | Power transformer high-voltage coil unloading device | |
| CN209324008U (en) | A kind of bricklaying robot with lifting device | |
| CN202411284U (en) | Movable inclined table type automatic steel bar bending device | |
| CN210064967U (en) | High-stability beam lifting machine | |
| CN221524857U (en) | Support device for subway tunnel construction | |
| CN210065044U (en) | A kind of scrapped car storage and oil pumping platform | |
| CN209291919U (en) | A kind of storage station's overhaul of the equipments bracket | |
| CN117913675A (en) | Electric power distribution cabinet cleaning machine | |
| CN218829467U (en) | Motor gear box oiling equipment | |
| CN213474795U (en) | Discharge apparatus convenient to installation | |
| CN117263105A (en) | Lifting device for be used for photovoltaic board subassembly installation | |
| CN211139919U (en) | pillow roll wrapping machine | |
| CN111299882A (en) | Automobile frame welding platform | |
| CN109235383A (en) | A kind of storage station's gate lifting device | |
| CN213971251U (en) | Mechanical arm for grabbing surface cleaning device of brake disc | |
| CN210283266U (en) | Single-column cantilever 3D contour forming machine | |
| CN109128491B (en) | A friction welding device for aviation thin-walled structural parts | |
| CN109530568B (en) | Rolling equipment | |
| CN207550258U (en) | A kind of novel elevating logistics trolley | |
| CN219469643U (en) | An easy-to-adjust electrical engineering maintenance stand | |
| CN207392694U (en) | A kind of plastering machine convenient for adjusting | |
| CN219409110U (en) | Lifting frame for automobile detection | |
| CN220260975U (en) | Casting safety placing frame |
Legal Events
| Date | Code | Title | Description |
|---|---|---|---|
| PB01 | Publication | ||
| PB01 | Publication | ||
| SE01 | Entry into force of request for substantive examination | ||
| SE01 | Entry into force of request for substantive examination | ||
| GR01 | Patent grant | ||
| GR01 | Patent grant |
