CN114849315B - 一种水处理用高效过滤设备 - Google Patents

一种水处理用高效过滤设备 Download PDF

Info

Publication number
CN114849315B
CN114849315B CN202210806980.9A CN202210806980A CN114849315B CN 114849315 B CN114849315 B CN 114849315B CN 202210806980 A CN202210806980 A CN 202210806980A CN 114849315 B CN114849315 B CN 114849315B
Authority
CN
China
Prior art keywords
filtering
filter
auger
fluid
pipe
Prior art date
Legal status (The legal status is an assumption and is not a legal conclusion. Google has not performed a legal analysis and makes no representation as to the accuracy of the status listed.)
Active
Application number
CN202210806980.9A
Other languages
English (en)
Other versions
CN114849315A (zh
Inventor
宋正卫
Current Assignee (The listed assignees may be inaccurate. Google has not performed a legal analysis and makes no representation or warranty as to the accuracy of the list.)
Jiangsu Wangda Special Equipment Manufacturing Co ltd
Original Assignee
Jiangsu Wangda Special Equipment Manufacturing Co ltd
Priority date (The priority date is an assumption and is not a legal conclusion. Google has not performed a legal analysis and makes no representation as to the accuracy of the date listed.)
Filing date
Publication date
Application filed by Jiangsu Wangda Special Equipment Manufacturing Co ltd filed Critical Jiangsu Wangda Special Equipment Manufacturing Co ltd
Priority to CN202210806980.9A priority Critical patent/CN114849315B/zh
Publication of CN114849315A publication Critical patent/CN114849315A/zh
Application granted granted Critical
Publication of CN114849315B publication Critical patent/CN114849315B/zh
Active legal-status Critical Current
Anticipated expiration legal-status Critical

Links

Images

Classifications

    • BPERFORMING OPERATIONS; TRANSPORTING
    • B01PHYSICAL OR CHEMICAL PROCESSES OR APPARATUS IN GENERAL
    • B01DSEPARATION
    • B01D29/00Filters with filtering elements stationary during filtration, e.g. pressure or suction filters, not covered by groups B01D24/00 - B01D27/00; Filtering elements therefor
    • B01D29/50Filters with filtering elements stationary during filtration, e.g. pressure or suction filters, not covered by groups B01D24/00 - B01D27/00; Filtering elements therefor with multiple filtering elements, characterised by their mutual disposition
    • BPERFORMING OPERATIONS; TRANSPORTING
    • B01PHYSICAL OR CHEMICAL PROCESSES OR APPARATUS IN GENERAL
    • B01DSEPARATION
    • B01D29/00Filters with filtering elements stationary during filtration, e.g. pressure or suction filters, not covered by groups B01D24/00 - B01D27/00; Filtering elements therefor
    • B01D29/50Filters with filtering elements stationary during filtration, e.g. pressure or suction filters, not covered by groups B01D24/00 - B01D27/00; Filtering elements therefor with multiple filtering elements, characterised by their mutual disposition
    • B01D29/56Filters with filtering elements stationary during filtration, e.g. pressure or suction filters, not covered by groups B01D24/00 - B01D27/00; Filtering elements therefor with multiple filtering elements, characterised by their mutual disposition in series connection
    • B01D29/58Filters with filtering elements stationary during filtration, e.g. pressure or suction filters, not covered by groups B01D24/00 - B01D27/00; Filtering elements therefor with multiple filtering elements, characterised by their mutual disposition in series connection arranged concentrically or coaxially
    • BPERFORMING OPERATIONS; TRANSPORTING
    • B01PHYSICAL OR CHEMICAL PROCESSES OR APPARATUS IN GENERAL
    • B01DSEPARATION
    • B01D29/00Filters with filtering elements stationary during filtration, e.g. pressure or suction filters, not covered by groups B01D24/00 - B01D27/00; Filtering elements therefor
    • B01D29/88Filters with filtering elements stationary during filtration, e.g. pressure or suction filters, not covered by groups B01D24/00 - B01D27/00; Filtering elements therefor having feed or discharge devices
    • B01D29/94Filters with filtering elements stationary during filtration, e.g. pressure or suction filters, not covered by groups B01D24/00 - B01D27/00; Filtering elements therefor having feed or discharge devices for discharging the filter cake, e.g. chutes
    • BPERFORMING OPERATIONS; TRANSPORTING
    • B01PHYSICAL OR CHEMICAL PROCESSES OR APPARATUS IN GENERAL
    • B01DSEPARATION
    • B01D36/00Filter circuits or combinations of filters with other separating devices

Landscapes

  • Chemical & Material Sciences (AREA)
  • Chemical Kinetics & Catalysis (AREA)
  • Filtration Of Liquid (AREA)

Abstract

本发明适用于混合物分离技术领域,尤其涉及一种水处理用高效过滤设备,所述水处理用高效过滤设备包括:机架,所述机架内固定安装有一组锥形管,机架的两端均固定设置有连接法兰;过滤机构,所述过滤机构嵌入安装在锥形管上,且与锥形管连通,用于对进入锥形管的流体进行过滤;排料机构,所述排料机构固定安装在机架上,用于对来自过滤机构的杂质进行过滤排出。本发明通过设置锥形管,利用锥形管外径上设置的坡口,能够适应不同尺寸的管道,利用过滤机构能够对进入锥形管的流体进行过滤,从而实现对固体杂质的积存,并利用排料机构将收集得到的固体杂质排出锥形管外,保证了过滤机构能够长期稳定运行。

Description

一种水处理用高效过滤设备
技术领域
本发明属于混合物分离技术领域,尤其涉及一种水处理用高效过滤设备。
背景技术
水处理的方式包括物理处理和化学处理。物理方法包括利用各种孔径大小不同的滤材,利用吸附或阻隔方式,将水中的杂质排除在外,吸附方式中较重要者为以活性炭进行吸附,阻隔方法则是将水通过滤材,让体积较大的杂质无法通过,进而获得较为干净的水。
过滤是在推动力或者其他外力作用下悬浮液(或含固体颗粒发热气体)中的液体(或气体)透过介质,固体颗粒及其他物质被过滤介质截留,从而使固体及其他物质与液体(或气体)分离的操作,这也是水处理的常用技术手段之一。
在采用管道输送水体的过程中,为了对其中的杂质进行过滤,一般设置有过滤装置,但是通过过滤装置收集的杂质无法自动排出装置外,后续需要人工进行清理,效率低,难以长时间连续工作。
发明内容
本发明实施例的目的在于提供一种水处理用高效过滤设备,旨在解决现有技术中通过过滤装置收集的杂质无法自动排出装置外,后续需要人工进行清理,效率低,难以长时间连续工作的问题。
本发明实施例是这样实现的,一种水处理用高效过滤设备,所述水处理用高效过滤设备包括:
机架,所述机架内固定安装有一组锥形管,机架的两端均固定设置有连接法兰;
过滤机构,所述过滤机构嵌入安装在锥形管上,且与锥形管连通,用于对进入锥形管的流体进行过滤;
排料机构,所述排料机构固定安装在机架上,用于对来自过滤机构的杂质进行过滤排出。
优选的,所述过滤机构包括:
流体过滤结构,所述流体过滤结构固定安装在锥形管上,用于对进入的流体进行过滤;
固液分离结构,所述固液分离结构,安装在流体过滤结构的两端,用于从流体过滤结构内收集固体杂质,并输送至排料机构。
优选的,所述流体过滤结构包括过滤外筒体和过滤内筒体,过滤外筒体嵌入安装在锥形管上,过滤外筒体一侧设置有进水口,且另一侧设置有多个第一通孔,过滤内筒体滑动设置在过滤外筒体内,过滤内筒体的一侧设置开口,且另一侧设置有多组过滤网,过滤内筒体内固定设置有安装板,安装板上转动连接有第一绞龙和第二绞龙,第一绞龙与第二绞龙固定连接,且叶片旋向相反,第一绞龙与第二绞龙相互远离的一端均设置有横截面为矩形的方孔,过滤外筒体上固定安装有第一电机,第一电机通过丝杆与过滤内筒体配合连接,过滤内筒体横截面为矩形,过滤内筒体上设置有单向阀。
优选的,所述固液分离结构设置有两组,分别安装在过滤外筒体的两端,固液分离结构包括第二电机,第二电机上安装有蜗杆,蜗杆端部固定连接有方杆,过滤外筒体内设置有限位板,过滤外筒体上转动安装有一组转轴,转轴上安装有蜗轮,蜗轮与蜗杆啮合,转轴外径上安装有多组排料板,排料板的一侧设置有刃口,限位板设置有多组第一槽口和第二槽口。
优选的,所述排料机构包括水泵和提升筒,水泵通过电控阀连接有出流管,水泵还与锥形管连通,出流管与过滤外筒体的两端连通,提升筒固定安装在机架上,提升筒内安装有第三绞龙,第三绞龙的叶片为网状结构,提升筒通过回流管与过滤外筒体的两端连通,提升筒通过溢流阀与锥形管连通。
优选的,所述机架上设置有收集箱,用于收集排出的固体杂质。
优选的,锥形管内壁涂覆有耐腐蚀层。
本发明实施例提供的水处理用高效过滤设备,结构简单,设计合理,通过设置锥形管,利用锥形管外径上设置的坡口,能够适应不同尺寸的管道,利用过滤机构能够对进入锥形管的流体进行过滤,从而实现对固体杂质的积存,并利用排料机构将收集得到的固体杂质排出锥形管外,保证了过滤机构能够长期稳定运行。
附图说明
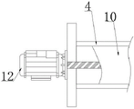
图1为本发明实施例提供的一种水处理用高效过滤设备的结构示意图;
图2为图1中A处的局部放大图;
图3为本发明实施例提供的排料机构的结构示意图;
图4为本发明实施例提供的限位板的结构示意图;
图5为本发明实施例提供的过滤外筒体与过滤内筒体的配合示意图。
附图中:1、机架;2、连接法兰;3、锥形管;4、过滤外筒体;5、水泵;6、回流管;7、电控阀;8、出流管;9、进水口;10、过滤内筒体;11、第一绞龙;12、第一电机;13、第二绞龙;14、安装板;15、第一通孔;16、单向阀;17、固定刀具;18、过滤网;19、第二电机;20、方杆;21、蜗杆;22、蜗轮;23、转轴;24、排料板;25、限位板;26、第三电机;27、第三绞龙;28、第一槽口;29、第二槽口;30、提升筒;31、溢流阀;100、过滤机构;101、流体过滤结构;102、固液分离结构;200、排料机构。
具体实施方式
为了使本发明的目的、技术方案及优点更加清楚明白,以下结合附图及实施例,对本发明进行进一步详细说明。应当理解,此处所描述的具体实施例仅仅用以解释本发明,并不用于限定本发明。
以下结合具体实施例对本发明的具体实现进行详细描述。
如图1所示,为本发明实施例提供的一种水处理用高效过滤设备的结构示意图,所述水处理用高效过滤设备包括:
机架1,所述机架1内固定安装有一组锥形管3,机架1的两端均固定设置有连接法兰2;
过滤机构100,所述过滤机构100嵌入安装在锥形管3上,且与锥形管3连通,用于对进入锥形管3的流体进行过滤;
排料机构200,所述排料机构200固定安装在机架1上,用于对来自过滤机构100的杂质进行过滤排出。
在本实施例中,使用时,将不同尺寸的管道套在锥形管3上,利用管道上的法兰以及连接法兰2将管道压向锥形管3,进而管道内的流体逐渐进入到过滤机构100内,利用过滤机构100对其进行过滤,将其中的固体物质过滤分离出来,进而利用排料机构200将收集到的固体物质排出锥形管3,以保证过滤机构100能够长期有效运行。
如图1所示,作为本发明的一个优选实施例,所述过滤机构100包括:
流体过滤结构101,所述流体过滤结构101固定安装在锥形管3上,用于对进入的流体进行过滤;
固液分离结构102,所述固液分离结构102,安装在流体过滤结构101的两端,用于从流体过滤结构101内收集固体杂质,并输送至排料机构200。
在本实施例中,本发明适用于无压流体,使用时,锥形管3内的流体进入到流体过滤结构101当中,流体过滤结构101每隔一段时间运行一次,在此期间,锥形管3内的无压流体携带的固体物质将会慢慢在流体过滤结构101内积存,最终进行集中过滤,并通过固液分离结构102收集,并输送至排料机构200。
如图1所示,作为本发明的一个优选实施例,所述流体过滤结构101包括过滤外筒体4和过滤内筒体10,过滤外筒体4嵌入安装在锥形管3上,过滤外筒体4一侧设置有进水口9,且另一侧设置有多个第一通孔15,过滤内筒体10滑动设置在过滤外筒体4内,过滤内筒体10的一侧设置开口,且另一侧设置有多组过滤网18,过滤内筒体10内固定设置有安装板14,安装板14上转动连接有第一绞龙11和第二绞龙13,第一绞龙11与第二绞龙13固定连接,且叶片旋向相反,第一绞龙11与第二绞龙13相互远离的一端均设置有横截面为矩形的方孔,过滤外筒体4上固定安装有第一电机12,第一电机12通过丝杆与过滤内筒体10配合连接,过滤内筒体10横截面为矩形,过滤内筒体10上设置有单向阀16。
如图1、图2和图4所示,作为本发明的一个优选实施例,所述固液分离结构102设置有两组,分别安装在过滤外筒体4的两端,固液分离结构102包括第二电机19,第二电机19上安装有蜗杆21,蜗杆21端部固定连接有方杆20,过滤外筒体4内设置有限位板25,过滤外筒体4上转动安装有一组转轴23,转轴23上安装有蜗轮22,蜗轮22与蜗杆21啮合,转轴23外径上安装有多组排料板24,排料板24的一侧设置有刃口,限位板25设置有多组第一槽口28和第二槽口29。
在本实施例中,在进行过滤时,流体通过进水口9和开口进入到过滤内筒体10,穿过过滤网18之后离开,而固体物质则被过滤网18拦截下来,过滤内筒体10上的开口设置有两组,每次仅只有一组开口与进水口9连通,在工作过程中,利用第一电机12通过丝杆驱动过滤内筒体10滑动至过滤外筒体4一端,以过滤内筒体10滑动至过滤外筒体4下端为例进行说明,此时安装板14上方的开口与进水口9连通,流体通过安装板14上方的开口以上的过滤网18,然后穿过与该过滤网18对应的第一通孔15流走,而安装板14下方的开口不与进水口9连通,过滤内筒体10位于安装板14以下的部分处于封闭状态,此时流体不断经过安装板14上方的过滤网18,固体物质不断在上述过滤网18处积累,而此时位于安装板14以下的部分中已经收集了大量的固体物质,并且,在过滤内筒体10滑动至过滤外筒体4下端时,第一绞龙11通过方孔与方杆20连接,此时第二电机19将会带动第一绞龙11和第二绞龙13旋转,第一绞龙11则带动流体内的杂质向限位板25靠近,在此过程中,通过过滤网18的流体将会通过单向阀16进入过滤内筒体10内,以平衡内外压力,第一槽口28较第二槽口29窄,因此,排料板24将会从第二槽口29将固体物质带到限位板25以下,并且排料板24上设置有刃口,过滤外筒体4端部设置有固定刀具17,刃口与固定刀具17配合将固体物质进一步切碎,然后排料板24通过第一槽口28回到限位板25上方,第一槽口28与排料板24的宽度相同,避免被切碎的固体物质回到限位板25以上,在排料机构200的驱动下,流体带动切碎的固体物质进入排料机构200,并最终通过排料机构200排出;运行一定时长之后,第一电机12反转,完成过滤外筒体4另一端的固体物质的清理,设置固定刀具17将固体物质切碎是为了方便其排入至排料机构200。
如图1和图3所示,作为本发明的一个优选实施例,所述排料机构200包括水泵5和提升筒30,水泵5通过电控阀7连接有出流管8,水泵5还与锥形管3连通,出流管8与过滤外筒体4的两端连通,提升筒30固定安装在机架1上,提升筒30内安装有第三绞龙27,第三绞龙27的叶片为网状结构,提升筒30通过回流管6与过滤外筒体4的两端连通,提升筒30通过溢流阀31与锥形管3连通。
在本实施例中,第三绞龙27通过第三电机26驱动,当被切碎的固体物质位于限位板25以下时,利用水泵5抽取通过过滤网18的流体,并通过出流管8将其输送至限位板25以下,限位板25以下的流体将会随着回流管6进入到提升筒30内,在第三绞龙27的驱动下,固体物质将会沿着提升筒30逐渐上升,直至排出,由于本装置适用于无压管道,且第三绞龙27的叶片为网状结构,因此不会将流体排出。
作为本发明的一个优选实施例,所述机架1上设置有收集箱,用于收集排出的固体杂质。
作为本发明的一个优选实施例,锥形管3内壁涂覆有耐腐蚀层。
以上所述仅为本发明的较佳实施例而已,并不用以限制本发明,凡在本发明的精神和原则之内所作的任何修改、等同替换和改进等,均应包含在本发明的保护范围之内。

Claims (4)

1.一种水处理用高效过滤设备,其特征在于,所述水处理用高效过滤设备包括:
机架,所述机架内固定安装有一组锥形管,机架的两端均固定设置有连接法兰;
过滤机构,所述过滤机构嵌入安装在锥形管上,且与锥形管连通,用于对进入锥形管的流体进行过滤;
排料机构,所述排料机构固定安装在机架上,用于对来自过滤机构的杂质进行过滤排出;
所述过滤机构包括:
流体过滤结构,所述流体过滤结构固定安装在锥形管上,用于对进入的流体进行过滤;
固液分离结构,所述固液分离结构,安装在流体过滤结构的两端,用于从流体过滤结构内收集固体杂质,并输送至排料机构;
所述流体过滤结构包括过滤外筒体和过滤内筒体,过滤外筒体嵌入安装在锥形管上,过滤外筒体一侧设置有进水口,且另一侧设置有多个第一通孔,过滤内筒体滑动设置在过滤外筒体内,过滤内筒体的一侧设置开口,且另一侧设置有多组过滤网,过滤内筒体内固定设置有安装板,安装板上转动连接有第一绞龙和第二绞龙,第一绞龙与第二绞龙固定连接,且叶片旋向相反,第一绞龙与第二绞龙相互远离的一端均设置有横截面为矩形的方孔,过滤外筒体上固定安装有第一电机,第一电机通过丝杆与过滤内筒体配合连接,过滤内筒体横截面为矩形,过滤内筒体上设置有单向阀;
所述固液分离结构设置有两组,分别安装在过滤外筒体的两端,固液分离结构包括第二电机,第二电机上安装有蜗杆,蜗杆端部固定连接有方杆,过滤外筒体内设置有限位板,过滤外筒体上转动安装有一组转轴,转轴上安装有蜗轮,蜗轮与蜗杆啮合,转轴外径上安装有多组排料板,排料板的一侧设置有刃口,限位板设置有多组第一槽口和第二槽口;
过滤内筒体上的开口设置有两组,分别位于安装板上方和下方,工作时,电机通过丝杆驱动过滤内筒体滑动至过滤外筒体一端,每次仅有一组开口与进水口连通,第一绞龙和第二绞龙通过方孔与方杆连接。
2.根据权利要求1所述的水处理用高效过滤设备,其特征在于,所述排料机构包括水泵和提升筒,水泵通过电控阀连接有出流管,水泵还与锥形管连通,出流管与过滤外筒体的两端连通,提升筒固定安装在机架上,提升筒内安装有第三绞龙,第三绞龙的叶片为网状结构,提升筒通过回流管与过滤外筒体的两端连通,提升筒通过溢流阀与锥形管连通。
3.根据权利要求1所述的水处理用高效过滤设备,其特征在于,所述机架上设置有收集箱,用于收集排出的固体杂质。
4.根据权利要求1所述的水处理用高效过滤设备,其特征在于,锥形管内壁涂覆有耐腐蚀层。
CN202210806980.9A 2022-07-11 2022-07-11 一种水处理用高效过滤设备 Active CN114849315B (zh)

Priority Applications (1)

Application Number Priority Date Filing Date Title
CN202210806980.9A CN114849315B (zh) 2022-07-11 2022-07-11 一种水处理用高效过滤设备

Applications Claiming Priority (1)

Application Number Priority Date Filing Date Title
CN202210806980.9A CN114849315B (zh) 2022-07-11 2022-07-11 一种水处理用高效过滤设备

Publications (2)

Publication Number Publication Date
CN114849315A CN114849315A (zh) 2022-08-05
CN114849315B true CN114849315B (zh) 2022-11-29

Family

ID=82626468

Family Applications (1)

Application Number Title Priority Date Filing Date
CN202210806980.9A Active CN114849315B (zh) 2022-07-11 2022-07-11 一种水处理用高效过滤设备

Country Status (1)

Country Link
CN (1) CN114849315B (zh)

Family Cites Families (5)

* Cited by examiner, † Cited by third party
Publication number Priority date Publication date Assignee Title
CN215742138U (zh) * 2021-06-30 2022-02-08 青岛致通化学有限公司 一种净化水质的输送装置
CN216092640U (zh) * 2021-11-04 2022-03-22 湖南志成环境工程有限公司 一种高效节能的污水处理一体化设备
CN216798956U (zh) * 2021-12-08 2022-06-24 山西智创药研科技有限公司 一种医药中间体制备用过滤生产设备
CN216358155U (zh) * 2021-12-27 2022-04-22 云南元江大有为食品有限公司 一种用于芒果种植的水肥一体化根系滴灌装置
CN216825036U (zh) * 2022-02-22 2022-06-28 武汉荣众通机电科技有限公司 一种数控机床水渣分离装置

Also Published As

Publication number Publication date
CN114849315A (zh) 2022-08-05

Similar Documents

Publication Publication Date Title
CN105879461B (zh) 一种带有多级多粒径循环粉碎的污水处理装置
CN201088884Y (zh) 一种可自动清污、排污的滤水器
CN108786228A (zh) 一种防堵塞的y型过滤器
CN218046729U (zh) 一种污水处理净化装置
CN114849315B (zh) 一种水处理用高效过滤设备
CN119280950B (zh) 一种污水净化处理装置及其方法
CN212982647U (zh) 一种基于水处理的带有多级过滤功能的过滤器
CN213652049U (zh) 一种纯水机用有害物回收装置
CN220990208U (zh) 一种废气综合处理装置
CN112320985A (zh) 一种智能污水站集中处理系统
CN108002641A (zh) 一种防堵塞的高效污水处理装置
CN220443563U (zh) 一种超滤膜系统集成式反冲洗装置
CN105948148A (zh) 一种带有多级多粒径循环粉碎污水处理装置的污水处理方法
CN213253218U (zh) 一种废水分流装置
CN219462690U (zh) 一种用于城市河道的污水污泥处理装置
CN107082471B (zh) 一种污水用超滤膜过滤装置
CN107720847B (zh) 一种污水处理设备
CN222900473U (zh) 一种废水处理用过滤器
CN218579788U (zh) 一种废水处理的超滤装置
CN114607026B (zh) 一种雨水花园截污净化结构
CN221824825U (zh) 一种具有过滤功能的水利工程用管道
CN212731354U (zh) 固液分离用沉淀装置
CN215403757U (zh) 一种管涵清淤装置
CN221432313U (zh) 垃圾渗滤液废水膜法零排放回收设备
CN223422406U (zh) 一种水资源净化设备

Legal Events

Date Code Title Description
PB01 Publication
PB01 Publication
SE01 Entry into force of request for substantive examination
SE01 Entry into force of request for substantive examination
GR01 Patent grant
GR01 Patent grant
PE01 Entry into force of the registration of the contract for pledge of patent right

Denomination of invention: A high-efficiency filtration device for water treatment

Granted publication date: 20221129

Pledgee: Agricultural Bank of China Limited Jingjiang City Branch

Pledgor: Jiangsu Wangda special equipment manufacturing Co.,Ltd.

Registration number: Y2025980061946