CN114848255A - 一种脊柱外科护理康复运动器 - Google Patents

一种脊柱外科护理康复运动器 Download PDF

Info

Publication number
CN114848255A
CN114848255A CN202210439939.2A CN202210439939A CN114848255A CN 114848255 A CN114848255 A CN 114848255A CN 202210439939 A CN202210439939 A CN 202210439939A CN 114848255 A CN114848255 A CN 114848255A
Authority
CN
China
Prior art keywords
plate
patient
bed
board
connecting seat
Prior art date
Legal status (The legal status is an assumption and is not a legal conclusion. Google has not performed a legal analysis and makes no representation as to the accuracy of the status listed.)
Withdrawn
Application number
CN202210439939.2A
Other languages
English (en)
Inventor
杨莹娟
申薇
Current Assignee (The listed assignees may be inaccurate. Google has not performed a legal analysis and makes no representation or warranty as to the accuracy of the list.)
Zhengzhou Orthopedics Hospital
Original Assignee
Zhengzhou Orthopedics Hospital
Priority date (The priority date is an assumption and is not a legal conclusion. Google has not performed a legal analysis and makes no representation as to the accuracy of the date listed.)
Filing date
Publication date
Application filed by Zhengzhou Orthopedics Hospital filed Critical Zhengzhou Orthopedics Hospital
Priority to CN202210439939.2A priority Critical patent/CN114848255A/zh
Publication of CN114848255A publication Critical patent/CN114848255A/zh
Withdrawn legal-status Critical Current

Links

Images

Classifications

    • AHUMAN NECESSITIES
    • A61MEDICAL OR VETERINARY SCIENCE; HYGIENE
    • A61FFILTERS IMPLANTABLE INTO BLOOD VESSELS; PROSTHESES; DEVICES PROVIDING PATENCY TO, OR PREVENTING COLLAPSING OF, TUBULAR STRUCTURES OF THE BODY, e.g. STENTS; ORTHOPAEDIC, NURSING OR CONTRACEPTIVE DEVICES; FOMENTATION; TREATMENT OR PROTECTION OF EYES OR EARS; BANDAGES, DRESSINGS OR ABSORBENT PADS; FIRST-AID KITS
    • A61F5/00Orthopaedic methods or devices for non-surgical treatment of bones or joints; Nursing devices ; Anti-rape devices
    • A61F5/01Orthopaedic devices, e.g. long-term immobilising or pressure directing devices for treating broken or deformed bones such as splints, casts or braces
    • A61F5/04Devices for stretching or reducing fractured limbs; Devices for distractions; Splints
    • A61F5/042Devices for stretching or reducing fractured limbs; Devices for distractions; Splints for extension or stretching

Landscapes

  • Health & Medical Sciences (AREA)
  • Nursing (AREA)
  • Orthopedic Medicine & Surgery (AREA)
  • Engineering & Computer Science (AREA)
  • Biomedical Technology (AREA)
  • Heart & Thoracic Surgery (AREA)
  • Vascular Medicine (AREA)
  • Life Sciences & Earth Sciences (AREA)
  • Animal Behavior & Ethology (AREA)
  • General Health & Medical Sciences (AREA)
  • Public Health (AREA)
  • Veterinary Medicine (AREA)
  • Orthopedics, Nursing, And Contraception (AREA)

Abstract

本发明提供一种脊柱外科护理康复运动器。所述脊柱外科护理康复运动器,包括:床板;拉伸结构,所述拉伸结构设置于所述床板的一侧,所述拉伸结构包括移动板和用于驱动所述移动板在水平方向滑动的驱动组件。本发明提供一种脊柱外科护理康复运动器,通过在床板的右侧设置拉伸结构,主要用于对患者的上半身进行拉伸,实现对脊柱的康复治疗,而通过设置可调节的带动组件,用于与患者腋窝位置接触,实现对患者拉伸操作,改变了传统的在下颚位置拉伸方式,而设置两个带动组件对患者的上半身产生的牵引力更加均匀,使得拉伸时患者更加舒适,且腋窝位置可承受牵引力更高,因此在牵引力增加时,能够减轻患者身体的不适,同时产生的拉伸效果更好。

Description

一种脊柱外科护理康复运动器
技术领域
本发明涉及医疗器械领域,尤其涉及一种脊柱外科护理康复运动器。
背景技术
脊柱是身体的支柱,位于背部正中,上端接颅骨,下端达尾骨尖,脊柱分颈、胸、腰、骶及尾五段,上部长,能活动,好似支架,悬挂着胸壁和腹壁;下部短,比较固,身体的重量和所受的震荡即由此传达至下肢,随着身体的运动载荷,脊柱的形状可有相当大的改变,脊柱的活动取决于椎间盘的完整,相关脊椎骨关节突间的和谐。
随着人们生活和工作方式节奏的逐渐加快,对于长期伏案工作的人群来说,由于身体长时间处于不正确的姿势,使得各种脊椎相关疾病患者日益普遍,因此脊椎病的预防及合理的治疗方式刻不容缓。
而在脊柱外科对脊柱病患者进行治疗时,对于部分病情较轻的患者来说,一般只需使用相关的物理辅助装置进行康复治疗,而现有的辅助治疗装置大致分为按摩和矫正两种,在使用时,多是通过对下颚位置进行拉伸,而由于下颚位置受力面积有限,为了避免引起患者不适,外部牵引力不易过大,因此需要多次重复进行牵引操作,使得治疗时间较长,且重复操作会对患者造成不适。
因此,有必要提供一种脊柱外科护理康复运动器解决上述技术问题。
发明内容
本发明提供一种脊柱外科护理康复运动器,解决了脊柱外科护理康复运动器需要多次重复进行牵引操作的问题。
为解决上述技术问题,本发明提供的脊柱外科护理康复运动器,包括:
床板;
拉伸结构,所述拉伸结构设置于所述床板的一侧,所述拉伸结构包括移动板和用于驱动所述移动板在水平方向滑动的驱动组件,所述驱动组件设置于所述床板的内部,所述移动板位于所述床板的右侧,所述移动板顶部的两侧设置有用于与人体腋窝接触的带动组件,所述移动板的一侧安装有用于为头部支撑的头部放置件;
所述带动组件包括连接座,所述连接座的内侧滑动连接于活动块,所述活动块的内部螺纹连接有定位转件,所述定位转件的底端与所述活动块内侧的底部贴合,所述连接座的内侧开设有两个限位槽,所述活动块外部的两侧分别与两个所述限位槽的内部滑动连接,所述连接座的底部固定安装有卡接轴;
卡接槽,多个所述卡接槽开设于所述移动板的顶部,所述卡接轴的外部卡接于所述卡接槽内;
所述床板的一侧设置有用于对脚部定位且具备调节功能的脚部定位结构。
优选的,所述驱动组件包括驱动电机,所述驱动电机安装于所述床板的内部,所述驱动电机的输出端固定安装有螺纹杆。
优选的,所述螺纹杆的外部螺纹连接有连接架,所述连接架的一侧固定安装于所述移动板的一侧,所述连接架的外部与所述床板的内部滑动连接。
优选的,两个所述带动组件分别位于所述移动板顶部的前后两侧,所述连接座的底部与所述移动板的顶部贴合,所述头部放置件位于所述移动板的右侧。
优选的,两个所述限位槽分别位于所述连接座内侧的前后两侧,所述活动块的前后两侧设置有与所述限位槽适配圆形凸起,所述活动块的右侧为圆弧形状。
优选的,所述脚部定位结构包括放置板和定位件,所述放置板固定安装于所述床板的左侧,所述定位件垂直设置在所述放置板的顶部,所述放置板上转动连接有调节转件。
优选的,所述放置板的顶部开设有活动槽,所述调节转件的右端与所述活动槽内表面的右侧转动连接,所述定位件的底部与所述调节转件的外部螺纹连接,所述床板的前后两侧均固定安装有防护板。
优选的,所述床板的前后两侧均设置有防护结构,所述防护结构包括固定板,所述固定板固定安装于所述床板的前侧,所述固定板的顶部设置有挡板。
优选的,所述固定板的左右两侧均固定安装有固定扣,所述挡板左右两侧分别与两个所述固定扣的外部活动连接。
优选的,所述固定板顶部的左右两侧均开设有连接孔,所述挡板底部的左右两侧均固定安装有连接轴,所述连接轴的外部卡接于所述连接孔内。
与相关技术相比较,本发明提供的脊柱外科护理康复运动器具有如下有益效果:
本发明提供一种脊柱外科护理康复运动器,通过在床板的右侧设置拉伸结构,主要用于对患者的上半身进行拉伸,实现对脊柱的康复治疗,而通过设置可调节的带动组件,用于与患者腋窝位置接触,实现对患者拉伸操作,改变了传统的在下颚位置拉伸方式,而设置两个带动组件对患者的上半身产生的牵引力更加均匀,使得拉伸时患者更加舒适,且腋窝位置可承受牵引力更高,因此在牵引力增加时,能够减轻患者身体的不适,同时产生的拉伸效果更好,不必反复多次进行拉伸,能够避免对身体造成意外伤害;
另外,该带动组件同时具备宽度调节和长度调节功能,进而能够针对不同身体特征的患者进行适配调节,确保带动组件能够与患者腋窝有效接触,能够顺利完成拉伸治疗,在使用时更加灵活;
通过在将连接座底部卡接轴与卡接槽卡接固定,在调节两个带动组件的宽度时,可直接向上拉动和向下卡接操作即可,同时调节活动块的长度时,也只需转动定位转件,使得带动组件位置调节操作起来十分方便、十分简单。
附图说明
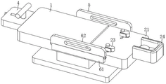
图1为本发明提供的脊柱外科护理康复运动器第一实施例的结构示意图;
图2为图1所示的床板内部的结构示意图;
图3为图1所示的拉伸结构外部的结构示意图;
图4为图3所示的连接座和活动块外部的结构示意图;
图5为图3所示的连接座内部的结构示意图;
图6为本发明提供的脊柱外科护理康复运动器第二实施例的结构示意图;
图7为图6所示的防护结构外部的结构示意图;
图8为图7所示的防护结构内部的结构示意图。
图中标号
1、床板;
2、拉伸结构;
21、移动板,22、驱动组件,23、带动组件,24、头部放置件;
221、驱动电机,222、螺纹杆,223、连接架;
231、连接座,232、活动块,233、定位转件,234、限位槽,235、卡接轴;
3、卡接槽;
4、脚部定位结构;
41、放置板,42、定位件,43、调节转件,44、活动槽;
5、防护板;
6、防护结构;
61、固定板,62、挡板,63、固定扣,64、连接孔,65、连接轴。
具体实施方式
下面结合附图和实施方式对本发明作进一步说明。
第一实施例
请结合参阅图1、图2、图3、图4、图5,其中,图1为本发明提供的脊柱外科护理康复运动器第一实施例的结构示意图;图2为图1所示的床板内部的结构示意图;图3为图1所示的拉伸结构外部的结构示意图;图4为图3所示的连接座和活动块外部的结构示意图;图5为图3所示的连接座内部的结构示意图。脊柱外科护理康复运动器,包括:
床板1;
拉伸结构2,所述拉伸结构2设置于所述床板1的一侧,所述拉伸结构2包括移动板21和用于驱动所述移动板21在水平方向滑动的驱动组件22,所述驱动组件22设置于所述床板1的内部,所述移动板21位于所述床板1的右侧,所述移动板21顶部的两侧设置有用于与人体腋窝接触的带动组件23,所述移动板21的一侧安装有用于为头部支撑的头部放置件24;
所述带动组件23包括连接座231,所述连接座231的内侧滑动连接于活动块232,所述活动块232的内部螺纹连接有定位转件233,所述定位转件233的底端与所述活动块232内侧的底部贴合,所述连接座231的内侧开设有两个限位槽234,所述活动块232外部的两侧分别与两个所述限位槽234的内部滑动连接,所述连接座231的底部固定安装有卡接轴235;
卡接槽3,多个所述卡接槽3开设于所述移动板21的顶部,所述卡接轴235的外部卡接于所述卡接槽3内;
所述床板1的一侧设置有用于对脚部定位且具备调节功能的脚部定位结构4。
拉伸结构2位于床板1的右侧,主要用于对患者上半身进行拉伸,移动板21位于床板1的右侧,与床板1保持在同一平面上,作为上半身放置区域,驱动组件22通过与移动板21连接,能够带动移动板21在水平方向移动,带动组件23通过与患者腋窝部分接触,连接座231安装在床板1的顶部,与活动块232适配设置,可以在连接座231内部水平方向滑动,活动块232外部套设有缓冲层,采用硅胶材质,在其外部与人体腋窝接触时,能够降低对人体腋窝位置的伤害,在活动块232的内部设置有与定位转件233适配的螺纹槽,通过转动定位转件233,使其可以在活动块232的内部竖直方向活动,通过将定位转件233的底端与连接座231内侧的底部紧密贴合,对活动块232进行定位,使其不能在连接座231的内侧滑动,而在需要调节活动块232的位置时,只需转动定位件233,使其底端与连接座231内侧分离,即可拉动活动块232滑动;
在活动块232的前后两侧设置有与限位槽234适配的圆形凸起,通过两者配合滑动,使得活动块232能够稳定安装在连接座231中,并能够稳定的在其内侧水平方向滑动,并且不会直接分离,卡接轴235与卡接槽3适配设置,通过两者配合卡接,使得连接座231能够稳定安装在移动板21的顶部,而卡接槽3共设置有两组,两组卡接槽3分别位于移动板21顶部的前后两侧,且每组共设置有四个槽位,通过将卡接轴235外部与不同位置的卡接槽3内部卡接,实现对连接座231的位置调节,适应不同患者的使用需求。
所述驱动组件22包括驱动电机221,所述驱动电机221安装于所述床板1的内部,所述驱动电机221的输出端固定安装有螺纹杆222。
所述螺纹杆222的外部螺纹连接有连接架223,所述连接架223的一侧固定安装于所述移动板21的一侧,所述连接架223的外部与所述床板1的内部滑动连接。
驱动电机221外接有电源,通过外部开关控制其运转,螺纹杆222水平设置在床板1的内部,在床板1的右侧开设有与连接架223适配的凹槽,且螺纹杆222的右端与凹槽内表面的一侧转动连接,使得螺纹杆222能够稳定的跟随驱动电机221转动而转动,而在连接架223的内部设置有与螺纹杆222适配的螺纹槽,通过螺纹杆222转动,使得连接架223在凹槽内部水平方向滑动,进而带动移动板21可以在水平方向移动,驱动组件22不限于这一种驱动形式,能够带动移动板21在水平方向移动均可以。
两个所述带动组件23分别位于所述移动板21顶部的前后两侧,所述连接座231的底部与所述移动板21的顶部贴合,所述头部放置件24位于所述移动板21的右侧。
头部放置件24位于移动板21的右侧,为头部放置位置,其内侧设置有硅胶垫,且在其内壁的底部设置有按摩组件,能够对下颚进行按摩。
两个所述限位槽234分别位于所述连接座231内侧的前后两侧,所述活动块232的前后两侧设置有与所述限位槽234适配圆形凸起,所述活动块232的右侧为圆弧形状。
所述脚部定位结构4包括放置板41和定位件42,所述放置板41固定安装于所述床板1的左侧,所述定位件42垂直设置在所述放置板41的顶部,所述放置板41上转动连接有调节转件43。
所述放置板41的顶部开设有活动槽44,所述调节转件43的右端与所述活动槽44内表面的右侧转动连接,所述定位件42的底部与所述调节转件43的外部螺纹连接,所述床板1的前后两侧均固定安装有防护板5。
脚部定位结构4主要用于对患者的脚部进行有效定位,放置板41位于床板1的左侧,定位件42垂直设置在放置板41的顶部,为丁字形设置,分别对患者的左右脚卡接,而定位件42的底部通过与调节转件43外部螺纹连接,通过调节转件43转动,使得定位件42可以在放置板41的顶部水平方向移动,进而实现对定位件42的位置调节,该脚部定位结构4,具备位置调节功能,能够根据患者的身体特征,通过转动调节转件43,使得定位件42可以在水平方向移动,进而使得定位件42移动至与患者脚部适配的位置,确保对患者的脚部起到有效的定位作用,在使用时十分灵活、十分方便,更好的满足不同患者的使用需求。
本发明提供的脊柱外科护理康复运动器的工作原理如下:
在使用时,患者平躺在床板1上,使其上半身处于移动板21上,下半身位于床板1,脚部处于放置板41位置,之后根据患者的脚部位置,对定位件42的位置进行调节,调节时,通过转动调节转件43,使得定位件42同时在放置板41上水平方向移动,直至定位件42移动至与患者脚部适配的位置,停止转动调节转件43,此时定位件42保持固定状态,而患者的左右脚分别卡接在定位件42的左右两侧,进而实现对患者的脚部定位;
之后根据患者的腋窝位置,对带动组件23的位置调节,先跟根据患者的腋窝宽度,调节两个带动组件23的间距,直接向上拉动连接座231,使得底部的卡接轴235与卡接槽3内部分离,然后再将卡接轴235卡接在与患者腋窝最靠近的卡接槽3上,之后,再根据患者的腋窝深度,调节活动块232的位置,通过转动定位转件233,使其底端与连接座231的内侧分离,此时活动块232不再受到定位作用,便可以推动活动块232在连接座231上滑动,直至活动块232的右侧与患者腋窝接触,然后反向转动定位转件233,使其底端再次与连接座231的内侧贴合,进而对活动块232位置进行固定;
之后便可开始对患者进行康复拉伸,通过启动驱动电机221,使得螺纹杆222可以转动,进而带动连接架223在水平方向移动,最终使得移动板21可以向右侧移动,此时两个带动组件23通过与患者的腋窝接触,并向右侧拉动患者上半身,实现对患者脊柱拉伸,拉伸完成后,通过驱动电机221反向转动,使得移动板21复位。
与相关技术相比较,本发明提供的脊柱外科护理康复运动器具有如下有益效果:
通过在床板1的右侧设置拉伸结构2,主要用于对患者的上半身进行拉伸,实现对脊柱的康复治疗,而通过设置可调节的带动组件23,用于与患者腋窝位置接触,实现对患者拉伸操作,改变了传统的在下颚位置拉伸方式,而设置两个带动组件23对患者的上半身产生的牵引力更加均匀,使得拉伸时患者更加舒适,且腋窝位置可承受牵引力更高,因此在牵引力增加时,能够减轻患者身体的不适,同时产生的拉伸效果更好,不必反复多次进行拉伸,能够避免对身体造成意外伤害;
另外,该带动组件23同时具备宽度调节和长度调节功能,进而能够针对不同身体特征的患者进行适配调节,确保带动组件23能够与患者腋窝有效接触,能够顺利完成拉伸治疗,在使用时更加灵活;
通过在将连接座231底部卡接轴235与卡接槽3卡接固定,在调节两个带动组件23的宽度时,可直接向上拉动和向下卡接操作即可,同时调节活动块232的长度时,也只需转动定位转件233,使得带动组件23位置调节操作起来十分方便、十分简单。
第二实施例
请结合参阅图6、图7和图8,基于本发明的第一实施例一种脊柱外科护理康复运动器,本发明的第二实施例提供另一种脊柱外科护理康复运动器,其中,第二实施例并不会妨碍第一实施例的技术方案的独立实施。
具体的,本发明的提供另一种脊柱外科护理康复运动器不同之处在于:
所述床板1的前后两侧均设置有防护结构6,所述防护结构6包括固定板61,所述固定板61固定安装于所述床板1的前侧,所述固定板61的顶部设置有挡板62。
所述固定板61的左右两侧均固定安装有固定扣63,所述挡板62左右两侧分别与两个所述固定扣63的外部活动连接。
所述固定板61顶部的左右两侧均开设有连接孔64,所述挡板62底部的左右两侧均固定安装有连接轴65,所述连接轴65的外部卡接于所述连接孔64内。
防护结构6主要对床板1的前后两侧起到防护作用,与第一实施例中的防护板5功能相同,挡板62与固定板61适配设置,其底部与固定板61顶部适配设置,两者能够紧密组装在一起,连接孔64与连接轴65适配设置,通过连接轴65外部与连接孔64内部卡接,对挡板62位置进行固定,使得挡板62能够稳定与固定板61组装在一起,而挡板62的左右两侧通过与固定扣63外部活动连接,且挡板62与固定扣63对应位置设置有与适配的活动槽,通过向上拉动挡板62,使得挡板62的左右两侧可以在固定扣63外部滑动,进而使得挡板62底部的卡接轴235与连接孔64分离,然后便可以转动挡板62,将其转动至与固定板61前侧贴合状态,完成对挡板62的折叠操作,在患者要躺在床板1上时,可以将挡板62折叠起来,而在患者躺上之后,再转动挡板62至竖直状态,然后向下将挡板62底部的连接轴65与连接孔64内部卡接即可,该防护结构6,改变了传统的固定式防护板形式,具备快速折叠和展开功能,能够根据具体的使用需求,通过对挡板62拉动和转动操作即可,操作起来十分简单、十分方便。
以上所述仅为本发明的实施例,并非因此限制本发明的专利范围,凡是利用本发明说明书及附图内容所作的等效结构或等效流程变换,或直接或间接运用在其它相关的技术领域,均同理包括在本发明的专利保护范围内。

Claims (10)

1.一种脊柱外科护理康复运动器,其特征在于,包括:
床板;
拉伸结构,所述拉伸结构设置于所述床板的一侧,所述拉伸结构包括移动板和用于驱动所述移动板在水平方向滑动的驱动组件,所述驱动组件设置于所述床板的内部,所述移动板位于所述床板的右侧,所述移动板顶部的两侧设置有用于与人体腋窝接触的带动组件,所述移动板的一侧安装有用于为头部支撑的头部放置件;
所述带动组件包括连接座,所述连接座的内侧滑动连接于活动块,所述活动块的内部螺纹连接有定位转件,所述定位转件的底端与所述活动块内侧的底部贴合,所述连接座的内侧开设有两个限位槽,所述活动块外部的两侧分别与两个所述限位槽的内部滑动连接,所述连接座的底部固定安装有卡接轴;
卡接槽,多个所述卡接槽开设于所述移动板的顶部,所述卡接轴的外部卡接于所述卡接槽内;
所述床板的一侧设置有用于对脚部定位且具备调节功能的脚部定位结构。
2.根据权利要求1所述的脊柱外科护理康复运动器,其特征在于,所述驱动组件包括驱动电机,所述驱动电机安装于所述床板的内部,所述驱动电机的输出端固定安装有螺纹杆。
3.根据权利要求1所述的脊柱外科护理康复运动器,其特征在于,所述螺纹杆的外部螺纹连接有连接架,所述连接架的一侧固定安装于所述移动板的一侧,所述连接架的外部与所述床板的内部滑动连接。
4.根据权利要求1所述的脊柱外科护理康复运动器,其特征在于,两个所述带动组件分别位于所述移动板顶部的前后两侧,所述连接座的底部与所述移动板的顶部贴合,所述头部放置件位于所述移动板的右侧。
5.根据权利要求1所述的脊柱外科护理康复运动器,其特征在于,两个所述限位槽分别位于所述连接座内侧的前后两侧,所述活动块的前后两侧设置有与所述限位槽适配圆形凸起,所述活动块的右侧为圆弧形状。
6.根据权利要求1所述的脊柱外科护理康复运动器,其特征在于,所述脚部定位结构包括放置板和定位件,所述放置板固定安装于所述床板的左侧,所述定位件垂直设置在所述放置板的顶部,所述放置板上转动连接有调节转件。
7.根据权利要求6所述的脊柱外科护理康复运动器,其特征在于,所述放置板的顶部开设有活动槽,所述调节转件的右端与所述活动槽内表面的右侧转动连接,所述定位件的底部与所述调节转件的外部螺纹连接,所述床板的前后两侧均固定安装有防护板。
8.根据权利要求1所述的脊柱外科护理康复运动器,其特征在于,所述床板的前后两侧均设置有防护结构,所述防护结构包括固定板,所述固定板固定安装于所述床板的前侧,所述固定板的顶部设置有挡板。
9.根据权利要求8所述的脊柱外科护理康复运动器,其特征在于,所述固定板的左右两侧均固定安装有固定扣,所述挡板左右两侧分别与两个所述固定扣的外部活动连接。
10.根据权利要求9所述的脊柱外科护理康复运动器,其特征在于,所述固定板顶部的左右两侧均开设有连接孔,所述挡板底部的左右两侧均固定安装有连接轴,所述连接轴的外部卡接于所述连接孔内。
CN202210439939.2A 2022-04-25 2022-04-25 一种脊柱外科护理康复运动器 Withdrawn CN114848255A (zh)

Priority Applications (1)

Application Number Priority Date Filing Date Title
CN202210439939.2A CN114848255A (zh) 2022-04-25 2022-04-25 一种脊柱外科护理康复运动器

Applications Claiming Priority (1)

Application Number Priority Date Filing Date Title
CN202210439939.2A CN114848255A (zh) 2022-04-25 2022-04-25 一种脊柱外科护理康复运动器

Publications (1)

Publication Number Publication Date
CN114848255A true CN114848255A (zh) 2022-08-05

Family

ID=82633653

Family Applications (1)

Application Number Title Priority Date Filing Date
CN202210439939.2A Withdrawn CN114848255A (zh) 2022-04-25 2022-04-25 一种脊柱外科护理康复运动器

Country Status (1)

Country Link
CN (1) CN114848255A (zh)

Cited By (1)

* Cited by examiner, † Cited by third party
Publication number Priority date Publication date Assignee Title
CN118044929A (zh) * 2024-03-26 2024-05-17 江苏省苏北人民医院 一种带有测量功能的脊柱侧弯牵引床

Cited By (2)

* Cited by examiner, † Cited by third party
Publication number Priority date Publication date Assignee Title
CN118044929A (zh) * 2024-03-26 2024-05-17 江苏省苏北人民医院 一种带有测量功能的脊柱侧弯牵引床
CN118044929B (zh) * 2024-03-26 2024-07-26 江苏省苏北人民医院 一种带有测量功能的脊柱侧弯牵引床

Similar Documents

Publication Publication Date Title
CN212326879U (zh) 一种骨科病人康复用腿部锻炼装置
CN108836600B (zh) 脊柱牵引治疗器
US8142379B2 (en) Orthopedic arm and shoulder brace
CN111228086B (zh) 一种颈椎康复机器人
MX2014004266A (es) Robot tridimensional para la corrección de la columna vertebral.
CN106726060B (zh) 一种俯卧抬腿式自助牵引力多功能腰椎病治疗床
CN104983544B (zh) 一种可穿戴式颈椎康复医疗机器人
CN111759673A (zh) 骨科脊柱术后防护装置
CN108478320B (zh) 一种主动操控式手摇牵引床
CN107072876A (zh) 腰椎矫正运动辅助装置
US20090204039A1 (en) Device and Method for Treating Neck Tension or Neck Injury
CN114848255A (zh) 一种脊柱外科护理康复运动器
CN217744957U (zh) 一种改善化疗所致周围神经病变主被动康复训练理疗器械
EP2044919A1 (en) Stretching bank for health purposes
CN113648194A (zh) 立式腰椎间盘突出治疗装置
CN111135048A (zh) 颈椎小关节错位按摩仪
CN114053111B (zh) 一种带牵引推拿功能的脊柱侧弯医疗设备
CN112237502B (zh) 多功能腰椎间盘突出治疗仪
CN113425484A (zh) 一种正悬牵引床
CN212308398U (zh) 颈椎小关节错位按摩仪
CN209122565U (zh) 一种斜位牵引装置
CN215019863U (zh) 重症足下垂护理装置
CN217908104U (zh) 一种具有下肢牵引功能的脊柱侧弯矫正椅
CN203524828U (zh) 颈椎牵引器
CN113040993B (zh) 脊椎复位床

Legal Events

Date Code Title Description
PB01 Publication
PB01 Publication
SE01 Entry into force of request for substantive examination
SE01 Entry into force of request for substantive examination
WW01 Invention patent application withdrawn after publication
WW01 Invention patent application withdrawn after publication

Application publication date: 20220805