CN114810495A - Multi-angle rotating wind power generation device and method - Google Patents

Multi-angle rotating wind power generation device and method Download PDF

Info

Publication number
CN114810495A
CN114810495A CN202210443965.2A CN202210443965A CN114810495A CN 114810495 A CN114810495 A CN 114810495A CN 202210443965 A CN202210443965 A CN 202210443965A CN 114810495 A CN114810495 A CN 114810495A
Authority
CN
China
Prior art keywords
power generation
rod
wind
fixedly connected
wind power
Prior art date
Legal status (The legal status is an assumption and is not a legal conclusion. Google has not performed a legal analysis and makes no representation as to the accuracy of the status listed.)
Granted
Application number
CN202210443965.2A
Other languages
Chinese (zh)
Other versions
CN114810495B (en
Inventor
史丽钦
Current Assignee (The listed assignees may be inaccurate. Google has not performed a legal analysis and makes no representation or warranty as to the accuracy of the list.)
Economic and Technological Research Institute of State Grid Heilonghian Electric Power Co Ltd
Original Assignee
Individual
Priority date (The priority date is an assumption and is not a legal conclusion. Google has not performed a legal analysis and makes no representation as to the accuracy of the date listed.)
Filing date
Publication date
Application filed by Individual filed Critical Individual
Priority to CN202210443965.2A priority Critical patent/CN114810495B/en
Publication of CN114810495A publication Critical patent/CN114810495A/en
Application granted granted Critical
Publication of CN114810495B publication Critical patent/CN114810495B/en
Active legal-status Critical Current
Anticipated expiration legal-status Critical

Links

Images

Classifications

    • FMECHANICAL ENGINEERING; LIGHTING; HEATING; WEAPONS; BLASTING
    • F03MACHINES OR ENGINES FOR LIQUIDS; WIND, SPRING, OR WEIGHT MOTORS; PRODUCING MECHANICAL POWER OR A REACTIVE PROPULSIVE THRUST, NOT OTHERWISE PROVIDED FOR
    • F03DWIND MOTORS
    • F03D9/00Adaptations of wind motors for special use; Combinations of wind motors with apparatus driven thereby; Wind motors specially adapted for installation in particular locations
    • F03D9/10Combinations of wind motors with apparatus storing energy
    • F03D9/11Combinations of wind motors with apparatus storing energy storing electrical energy
    • FMECHANICAL ENGINEERING; LIGHTING; HEATING; WEAPONS; BLASTING
    • F03MACHINES OR ENGINES FOR LIQUIDS; WIND, SPRING, OR WEIGHT MOTORS; PRODUCING MECHANICAL POWER OR A REACTIVE PROPULSIVE THRUST, NOT OTHERWISE PROVIDED FOR
    • F03DWIND MOTORS
    • F03D3/00Wind motors with rotation axis substantially perpendicular to the air flow entering the rotor 
    • F03D3/002Wind motors with rotation axis substantially perpendicular to the air flow entering the rotor  the axis being horizontal
    • FMECHANICAL ENGINEERING; LIGHTING; HEATING; WEAPONS; BLASTING
    • F03MACHINES OR ENGINES FOR LIQUIDS; WIND, SPRING, OR WEIGHT MOTORS; PRODUCING MECHANICAL POWER OR A REACTIVE PROPULSIVE THRUST, NOT OTHERWISE PROVIDED FOR
    • F03DWIND MOTORS
    • F03D3/00Wind motors with rotation axis substantially perpendicular to the air flow entering the rotor 
    • F03D3/06Rotors
    • F03D3/062Rotors characterised by their construction elements
    • FMECHANICAL ENGINEERING; LIGHTING; HEATING; WEAPONS; BLASTING
    • F03MACHINES OR ENGINES FOR LIQUIDS; WIND, SPRING, OR WEIGHT MOTORS; PRODUCING MECHANICAL POWER OR A REACTIVE PROPULSIVE THRUST, NOT OTHERWISE PROVIDED FOR
    • F03DWIND MOTORS
    • F03D7/00Controlling wind motors 
    • F03D7/06Controlling wind motors  the wind motors having rotation axis substantially perpendicular to the air flow entering the rotor
    • FMECHANICAL ENGINEERING; LIGHTING; HEATING; WEAPONS; BLASTING
    • F03MACHINES OR ENGINES FOR LIQUIDS; WIND, SPRING, OR WEIGHT MOTORS; PRODUCING MECHANICAL POWER OR A REACTIVE PROPULSIVE THRUST, NOT OTHERWISE PROVIDED FOR
    • F03DWIND MOTORS
    • F03D9/00Adaptations of wind motors for special use; Combinations of wind motors with apparatus driven thereby; Wind motors specially adapted for installation in particular locations
    • F03D9/30Wind motors specially adapted for installation in particular locations
    • F03D9/48Wind motors specially adapted for installation in particular locations using landscape topography, e.g. valleys
    • FMECHANICAL ENGINEERING; LIGHTING; HEATING; WEAPONS; BLASTING
    • F05INDEXING SCHEMES RELATING TO ENGINES OR PUMPS IN VARIOUS SUBCLASSES OF CLASSES F01-F04
    • F05BINDEXING SCHEME RELATING TO WIND, SPRING, WEIGHT, INERTIA OR LIKE MOTORS, TO MACHINES OR ENGINES FOR LIQUIDS COVERED BY SUBCLASSES F03B, F03D AND F03G
    • F05B2240/00Components
    • F05B2240/20Rotors
    • F05B2240/30Characteristics of rotor blades, i.e. of any element transforming dynamic fluid energy to or from rotational energy and being attached to a rotor
    • F05B2240/302Segmented or sectional blades

Landscapes

  • Engineering & Computer Science (AREA)
  • Life Sciences & Earth Sciences (AREA)
  • Sustainable Development (AREA)
  • Sustainable Energy (AREA)
  • Chemical & Material Sciences (AREA)
  • Combustion & Propulsion (AREA)
  • Mechanical Engineering (AREA)
  • General Engineering & Computer Science (AREA)
  • Power Engineering (AREA)
  • Remote Sensing (AREA)
  • Wind Motors (AREA)

Abstract

本发明公开了风力发电技术领域的一种多角度旋转的风力发电装置及方法,包括支撑柱,所述支撑柱的上端转动连接有发电箱,所述发电箱的表面转动连接有转动轴,所述转动轴贯穿发电箱;本发明在山区进行风力发电的过程中,当山下的风沿着山丘的表面斜向上吹动时,调节板的尾部会抬起,从而作用驱动环转动,能够使发电扇叶合并的位置随着改变,有利于使发电扇叶的合并位置能够向下变化,更能适应斜向上吹动的风力,使斜向上吹动的风能够吹在合并后的发电扇叶上,在提高发电时的转化率,避免在风斜向上吹动时,作用发电扇叶时,发电扇叶处于分开状态,不能很好的受力,从而导致发电转化率降低,减少发电量。

Figure 202210443965

The invention discloses a multi-angle rotating wind power generation device and method in the technical field of wind power generation. The rotating shaft runs through the generator box; in the process of wind power generation in the mountainous area, when the wind under the mountain blows obliquely upward along the surface of the hill, the tail of the adjusting plate will be lifted, so that the driving ring rotates, so that the The combined position of the power generation fan blades changes with the change, which is conducive to the downward change of the combined position of the power generation fan blades, which is more suitable for the wind blowing obliquely upward, so that the wind blowing obliquely upward can blow on the combined power generation fan blades. On the other hand, in order to improve the conversion rate of power generation, avoid when the wind blows obliquely upward, when the power generation fan blades are applied, the power generation fan blades are in a separated state and cannot be well stressed, resulting in lower power generation conversion rate and reduced power generation.

Figure 202210443965

Description

Multi-angle rotating wind power generation device and method
Technical Field
The invention relates to the technical field of wind power generation, in particular to a multi-angle rotating wind power generation device and method.
Background
Wind power generation is that kinetic energy of wind is converted into mechanical kinetic energy, and then the mechanical energy is converted into electrical kinetic energy, namely wind power generation. The principle of wind power generation is that wind power is utilized to drive windmill blades to rotate, the rotating speed is increased through a speed increaser to promote a generator to generate power, the wind power generation utilizes wind, does not pollute the environment, can be regenerated, is not exhausted, does not waste other resources on the earth, and meanwhile, the period of the wind power generation device is short when the wind power generation device is built and installed, the operation and maintenance cost is low, and the like, so that more and more places begin to utilize the wind power generation.
The wind power generation flabellum among the prior art generally keeps motionless, the orientation is fixed direction, but in actual power generation process, the wind direction is constantly changing, the front of flabellum can not be towards the direction of blowing, can lead to the conversion rate of wind-force to reduce when generating electricity, and in the life, there is aerogenerator to install the windward slope at hillock, aerogenerator is generally higher, can catch higher wind, but the wind that blows to the hillock from the flat plains under the mountain can blow off along hillock slant, can follow aerogenerator's below or can only act on the bottom of flabellum, lead to the conversion rate of the wind direction of slope extremely low, the generated energy reduces.
Based on the above, the invention designs a wind power generation device and method with multi-angle rotation to solve the above problems.
Disclosure of Invention
The invention aims to provide a multi-angle rotating wind power generation device and a method, aiming at solving the problems that the prior wind power generation fan blade generally keeps still and faces a fixed direction, but in the actual power generation process, the wind direction is constantly changed, the front surface of the fan blade cannot face the wind blowing direction, the wind power conversion rate is reduced during power generation, in addition, in the life, a wind power generator is arranged on the windward slope of a hill, the wind power generator is generally higher, higher wind can be captured, but the wind blowing to the hill from the downhill plain can be obliquely blown upwards along the hill, the wind blowing to the hill from the downside of the hill can be only acted on the bottom of the fan blade from the downside of the hill, the inclined wind direction conversion rate is extremely low, and the power generation amount is reduced.
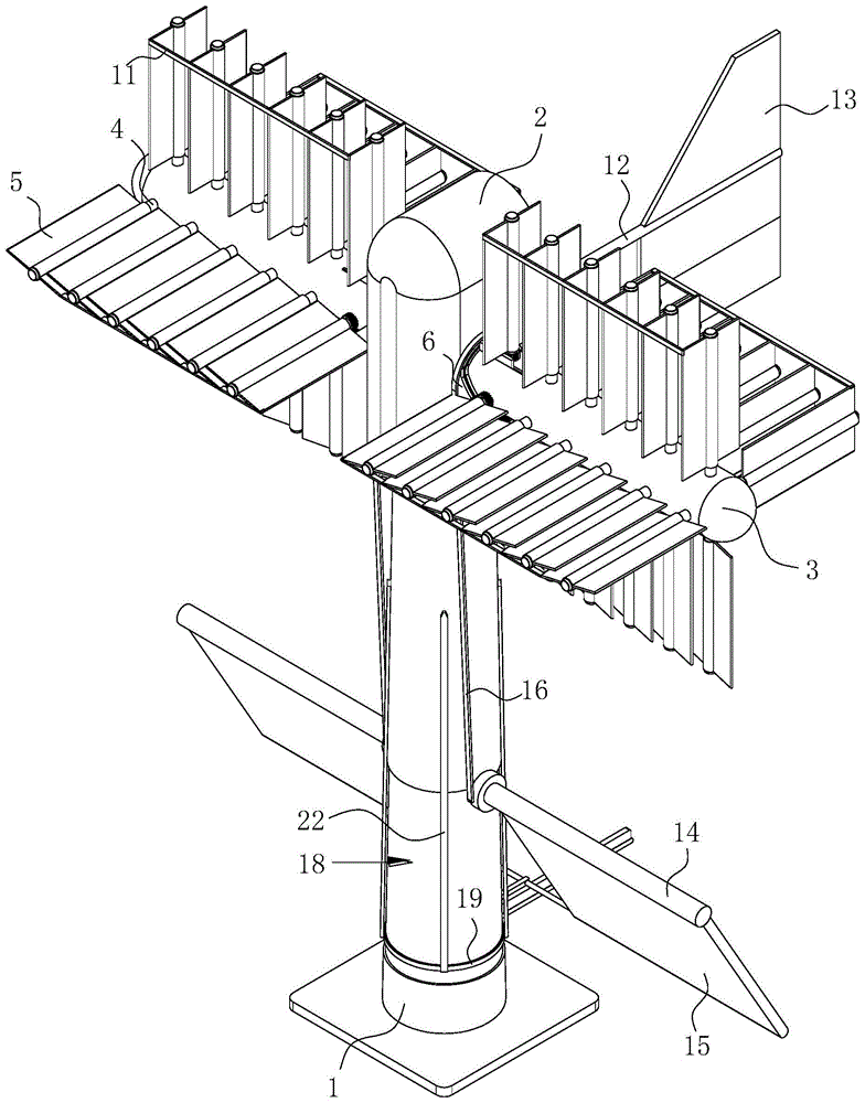
In order to achieve the purpose, the invention provides the following technical scheme: a wind power generation device with multi-angle rotation comprises a support pillar, the upper end of the support pillar is rotatably connected with a power generation box, the surface of the power generation box is rotatably connected with a rotating shaft which penetrates through the power generation box, the surface of the rotating shaft is rotatably connected with a plurality of groups of rotating rods which are arranged at equal angles, each group of rotating rods is provided with a plurality of rotating rods which are arranged at equal intervals, the surface of the rotating rod is fixedly connected with a power generation fan blade, the surface of the rotating shaft is provided with a driving mechanism, the driving mechanism can drive the generating fan blades on the same side to rotate and combine when facing the wind, the rear side of the power generation box is provided with a guide mechanism which can guide the power generation box and the power generation fan blades to rotate to the windward side according to the wind direction, the surface of the supporting column is provided with an adjusting mechanism, and the adjusting mechanism can adjust the driving mechanism to enable the combination position of the power generation fan blades to adapt to the inclined wind direction when the wind blowing upwards from the bottom of a hill is large;
as a further scheme of the present invention, the driving mechanism includes two driving rings, the two driving rings are respectively disposed on two side surfaces of the power generation box, and the two driving rings are both located on the surface of the rotating shaft, the two sides of the surface of the driving ring have different heights, an annular groove is formed on the surface of the driving ring, a plurality of racks are slidably connected in the annular groove, the racks extend to the surface of the rotating shaft, a plurality of sliding grooves are formed on the surface of the rotating shaft corresponding to the rack positions, the plurality of racks respectively slide in the plurality of sliding grooves, a rotating gear is fixedly connected to the surface of the rotating shaft on one side close to the driving rings, the racks are engaged with the rotating gear, and the surfaces of the plurality of power generation blades are jointly hinged with a connecting rod;
as a further scheme of the invention, the guide mechanism comprises a guide rod, the guide rod is fixedly connected to the rear side of the power generation box, a guide plate is fixedly connected to the surface of the guide rod, and the guide rod can drive the power generation box to rotate under the action of wind;
as a further scheme of the invention, the adjusting mechanism comprises an adjusting rod which is rotatably connected to the surface of the supporting column and penetrates through the supporting column, adjusting plates which are obliquely arranged are fixedly connected to the surfaces of the two sides of the supporting column of the adjusting rod, a pulling rope is fixedly connected to the surface of the adjusting rod, the upper end of the pulling rope extends to the surface of the driving ring and is fixedly connected with the driving ring, and the driving ring is elastically and rotatably connected to the surface of the power generation box through an arc-shaped spring;
as a further scheme of the invention, an annular groove is formed in the surface of the support column, a sliding ring is slidably connected in the groove, a telescopic guide plate is fixedly connected to the bottom of the sliding ring, the bottom of the guide plate is slidably connected with the bottom of the groove, a telescopic rod is fixedly connected to the upper end of the sliding ring, the telescopic rod extends to the position of the adjusting plate and is fixedly connected with the side face of the adjusting plate, a plurality of clamping rods are fixedly connected to the surface of the sliding ring, a plurality of clamping holes are formed in the bottom of the power generation box, and the clamping rods can move into the clamping holes;
as a further scheme of the invention, the guide plate below the guide rod can be stretched, one side of the guide plate close to the support column is fixedly connected with a lifting rod, the lifting rod is attached to the surface of the support column, the clamping rod is fixedly connected with a jacking rod corresponding to the lifting rod, and the jacking rod can act on the lifting rod when moving upwards;
as a further scheme of the invention, the surface of the supporting column is elastically and slidably connected with an L-shaped limiting rod through a return spring, the limiting rod can limit the driving ring, one side of the limiting rod, which is close to the pulling rope, extends to the position of the pulling rope and is connected with the pulling rope, and the movement of the pulling rope can act on the movement of the limiting rod;
a use method of a multi-angle rotating wind power generation device comprises the following specific steps:
the method comprises the following steps: after the wind power generation device is installed, when wind blows, the wind power generation device can convert wind power into electric energy;
step two: when the wind direction changes, the guide mechanism can act on the distribution box to rotate, so that the power generation fan blades can rotate to the windward side;
step three: when wind blows upwards along a mountain peak from a hill, the adjusting mechanism can adjust the driving mechanism to rotate, so that the combined power generation fan blades can be opposite to the windward side;
step four: and finally, the generated electric energy can be stored or transferred through the power generation box.
Compared with the prior art, the invention has the beneficial effects that:
1. in the process of wind power generation in a mountainous area, when wind under the mountains blows along the surface of a hilly slope upwards, the tail part of the adjusting plate can be lifted, so that the driving ring is driven to rotate, the merging position of the generating fan blades can be changed along with the change of the merging position, the merging position of the generating fan blades can be changed downwards, the wind power blowing in the slope upwards can be adapted, the wind power blowing in the slope upwards can be blown to the merged generating fan blades, the conversion rate in power generation is improved, the phenomenon that when the wind blows in the slope upwards and acts on the generating fan blades, the generating fan blades are in a separated state and cannot be well stressed, the generation conversion rate is reduced, and the generating capacity is reduced.
2. When the tail end of the oblique upward wind action adjusting plate is lifted up, the adjusting plate can drive the telescopic rod and the sliding ring to move upwards together, the guide plate can extend, the clamping plate can be inserted into the clamping hole, the guide plate can rotate under the action of the oblique upward wind force, the guide plate can drive the sliding ring and the clamping rod to rotate together, the clamping rod can act on the power generation box to rotate, and the power generation fan blades can be enabled to face the windward side, so that the effect of the wind force is enhanced, the power generation conversion rate is improved, the power generation capacity is improved, the situation that the oblique upward wind direction is different from the upward wind direction is avoided, and the power generation box cannot rotate according to the oblique upward wind direction in time, so that the power generation conversion rate is low.
3. When the tail end of the inclined upward wind action adjusting plate is lifted upwards, the sliding ring and the clamping rod move upwards together, the clamping rod can drive the ejector rod to move upwards together, the ejector rod can act on the lifting rod to move upwards together, the guide plate can contract under the action of the lifting rod, the guide plate is favorable for contracting when the guide plate acts on the power generation box to rotate, the contact area between wind power and the guide plate is reduced, the effect of the guide plate on the power generation box is reduced, and the phenomenon that the guide plate and the guide plate act on the power generation box to rotate simultaneously to cause abnormal power generation or damage to a power generation device is avoided.
Drawings
FIG. 1 is a flow chart of the method of the present invention;
FIG. 2 is a schematic diagram of the overall structure of the present invention;
FIG. 3 is a schematic view of the general rear side of the present invention;
FIG. 4 is a schematic view of the structure at A in FIG. 3;
FIG. 5 is a schematic structural view of the connection relationship between the rotating shaft, the rotating rod and the power generating fan blades in the present invention;
FIG. 6 is a schematic view of the structure at B in FIG. 5;
FIG. 7 is a schematic structural diagram of the positional relationship between the power generation box, the drive ring and part of the power generation blades;
FIG. 8 is a schematic structural view of the connection relationship between the adjustment lever, the pull rope and the drive ring in the present invention;
FIG. 9 is a schematic view of the structure of FIG. 8 at C;
FIG. 10 is a schematic structural view showing the positional relationship between the latch lever and the latch hole in the present invention;
fig. 11 is a schematic structural view at D in fig. 10.
In the drawings, the components represented by the respective reference numerals are listed below:
the device comprises a support column 1, a power generation box 2, a rotating shaft 3, a rotating rod 4, power generation fan blades 5, a driving ring 6, an annular groove 7, a rack 8, a sliding groove 9, a rotating gear 10, a connecting rod 11, a guide rod 12, a guide plate 13, an adjusting rod 14, an adjusting plate 15, a pulling rope 16, an arc-shaped spring 17, a groove 18, a sliding ring 19, a guide plate 20, a telescopic rod 21, a clamping rod 22, a clamping hole 23, a lifting rod 24, a jacking rod 25, a reset spring 26 and a limiting rod 27.
Detailed Description
Referring to fig. 1-11, the present invention provides a technical solution: a wind power generation device capable of rotating at multiple angles comprises a support column 1, wherein the upper end of the support column 1 is rotatably connected with a power generation box 2, the surface of the power generation box 2 is rotatably connected with a rotating shaft 3, the rotating shaft 3 penetrates through the power generation box 2, multiple groups of rotating rods 4 which are arranged at equal angles are rotatably connected to the surface of the rotating shaft 3, multiple power generation fan blades 5 are fixedly connected to the surface of each rotating rod 4 and are arranged at equal intervals, a driving mechanism is arranged on the surface of the rotating shaft 3 and can drive the power generation fan blades 5 at the same side to rotate and combine when the power generation fan blades 5 face the wind, a guide mechanism is arranged on the rear side of the power generation box 2 and can guide the power generation fan blades 5 to rotate to the wind face according to the wind direction, an adjusting mechanism is arranged on the surface of the support column 1 and can adjust the driving mechanism to enable the combination position of the power generation fan blades 5 to adapt to the inclined wind direction when the wind blowing upwards from the bottom of a hillock is large;
the driving mechanism comprises two driving rings 6, the two driving rings 6 are respectively arranged on the surfaces of two sides of the power generation box 2, the two driving rings 6 are respectively positioned on the surface of the rotating shaft 3, the heights of two sides of the surface of the driving rings 6 are different, an annular groove 7 is formed in the surface of the driving ring 6, a plurality of racks 8 are connected in the annular groove 7 in a sliding mode, the racks 8 extend to the surface of the rotating shaft 3, a plurality of sliding grooves 9 are formed in the surface of the rotating shaft 3 corresponding to the positions of the racks 8, the racks 8 respectively slide in the sliding grooves 9, a rotating gear 10 is fixedly connected to the surface of a rotating rod 4 close to one side of the driving rings 6, the racks 8 are meshed with the rotating gear 10, and the surfaces of the plurality of power generation fan blades 5 are jointly hinged to a connecting rod 11;
the guide mechanism comprises a guide rod 12, the guide rod 12 is fixedly connected to the rear side of the power generation box 2, a guide plate 13 is fixedly connected to the surface of the guide rod 12, and the guide rod 12 can drive the power distribution box to rotate under the action of wind;
the adjusting mechanism comprises an adjusting rod 14, the adjusting rod 14 is rotatably connected to the surface of the supporting column 1, the adjusting rod 14 penetrates through the supporting column 1, adjusting plates 15 which are obliquely arranged are fixedly connected to the surfaces, located on the two sides of the supporting column 1, of the adjusting rod 14, a pulling rope 16 is fixedly connected to the surface of the adjusting rod 14, the upper end of the pulling rope 16 extends to the surface of the driving ring 6 and is fixedly connected with the driving ring 6, and the driving ring 6 is elastically and rotatably connected to the surface of the power generation box 2 through an arc-shaped spring 17;
after the wind power generation device is installed on the windward side of a mountainous area, when wind blows, wind can act on the power generation fan blades 5, the power generation fan blades 5 can drive the rotating shaft 3 to rotate together, the power generation box 2 can convert the wind into electric energy, the rotating shaft 3 can drive the rack 8 to rotate together, the rack 8 can move in the annular groove 7, when the power generation fan blades 5 are positioned at the bottom of the rotating shaft 3, the rack 8 can be positioned at a higher position in the annular groove 7, the power generation fan blades 5 are positioned in a combined state, the wind energy can act on the power generation fan blades 5, then when the power generation fan blades 5 rotate towards the rear side of the rotating shaft 3, the rack 8 can gradually move towards a lower position in the annular groove 7, the rack 8 can move towards a position close to the power generation box 2, the rack 8 can act on the rotating gear 10 to rotate with the rotating rod 4, the plurality of power generation fan blades 5 can rotate to a parallel state under the action of the rotating rod 4 and the connecting rod 11, and then when the power generation fan blades 5 rotate to the front side of the rotating shaft 3, the power generation fan blades 5 can rotate to a merging state again, so that one side of the power generation fan blades 5 is merged and the other side of the power generation fan blades 5 is opened when the power generation fan blades 5 are positioned on the windward side, normal rotation of the rotating shaft 3 is ensured, the power generation fan blades 5 on the upper side and the lower side of the rotating shaft 3 are both positioned in the merging state in the rotating process of the power generation fan blades 5, the rotating shaft 3 cannot rotate, and normal power generation cannot be realized, when the wind direction changes, the wind force can act on the guide plate 13 to deviate towards one side, the power generation box 2 can rotate under the action of the guide rod 12 and the guide plate 13, the power generation fan blades 5 can be opposite to the windward side, the power generation fan blades 5 cannot be opposite to the windward side, the conversion rate of wind power generation cannot be reduced, the power generation amount is reduced, when the wind on the downhill plain is large, the wind can be blown upwards along the surface of a hill in an inclined mode, and the wind can be blown upwards from the position of the support column 1, wind power can act on the adjusting plate 15, the tail of the adjusting plate 15 can be lifted under the action of wind power, the adjusting rod 14 can rotate under the action of the adjusting plate 15, the adjusting rod 14 can drive the pulling rope 16 to move, the pulling rope 16 can drive the driving ring 6 to rotate, the driving ring 6 can rotate to change the position of the annular groove 7, the position where the generating fan blades 5 are combined can be changed along with the change, the combined position where the generating fan blades 5 are combined can be changed downwards, the wind power blowing obliquely upwards can be adapted, the wind power blowing obliquely can be blown onto the combined generating fan blades 5, the conversion rate during power generation is improved, the situation that the generating fan blades 5 are in a separated state when the wind blows obliquely is avoided, the power generation conversion rate is reduced, and the generated energy is reduced.
In the process of generating electricity by the power generation fan blades 5 under the action of oblique upward wind, the oblique upward wind direction is different from the upward wind direction, the position of the power generation box 2 cannot be changed in time, and the power generation amount is influenced, as a further scheme of the invention, an annular groove 18 is formed in the surface of the support column 1, a sliding ring 19 is connected in the groove 18 in a sliding manner, a telescopic guide plate 20 is fixedly connected to the bottom of the sliding ring 19, the bottom of the guide plate 20 is connected with the bottom of the groove 18 in a sliding manner, a telescopic rod 21 is fixedly connected to the upper end of the sliding ring 19, the telescopic rod 21 extends to the position of the adjusting plate 15 and is fixedly connected with the side face of the adjusting plate 15, a plurality of clamping rods 22 are fixedly connected to the surface of the sliding ring 19, a plurality of clamping holes 23 are formed in the bottom of the power generation box 2, and the clamping rods 22 can move into the clamping holes 23; when the tail end of the adjusting plate 15 is lifted under the action of oblique upward wind, the adjusting plate 15 can drive the telescopic rod 21 and the sliding ring 19 to move upwards together, the upper end of the guide plate 20 can move upwards under the action of the sliding ring 19, the guide plate 20 extends, the clamping rod 22 can move upwards along with the sliding ring 19, then when the tail end of the adjusting plate 15 is lifted to a certain height, the clamping plate can be inserted into the clamping hole 23, then the guide plate 20 can rotate under the action of oblique upward wind force, the guide plate 20 can drive the sliding ring 19 and the clamping rod 22 to rotate together, the clamping rod 22 can act on the power generation box 2 to rotate, and the power generation fan blades 5 can be favorably enabled to just face the wind, therefore, the effect of enhancing the wind power is achieved, the conversion rate of power generation is improved, the generated energy is improved, the situation that the wind direction in the oblique direction is different from the wind direction above the oblique direction, and the power generation box 2 cannot rotate according to the wind direction in the oblique direction in time, so that the power generation conversion rate is low.
As a further scheme of the invention, when the wind direction obliquely upward is different from the wind direction upward, the guide plate 20 and the guide plate 13 act on the power generation box 2 to rotate simultaneously, so that the power generation device is damaged, the guide plate 13 positioned below the guide rod 12 can stretch out and draw back, one side, close to the support column 1, of the guide plate 13 is fixedly connected with a lifting rod 24, the lifting rod 24 is attached to the surface of the support column 1, the clamping rod 22 is fixedly connected with a jacking rod 25 corresponding to the lifting rod 24, and the jacking rod 25 moves upwards to act on the lifting rod 24; when the ascending wind effect regulating plate 15 tail end in slant upwards lifts up, slip ring 19 can be along with joint pole 22 rebound together, joint pole 22 can drive ejector rod 25 rebound together, ejector rod 25 can be used to lift up pole 24 rebound together, deflector 13 can be shrink under the effect of lifting up pole 24, be favorable to when 20 effect generator box 2 of guide board rotate, make deflector 13 shrink, reduce the area of contact of wind-force and deflector 13, thereby reduce the effect of deflector 13 to generator box 2, avoid guide board 20 and deflector 13 meeting simultaneous action generator box 2 to rotate, lead to normally generating electricity or make power generation facility damage.
In the normal power generation process, the rack 8 slides in the annular groove 7 to act on the position change of the driving ring 6, and in the long-time power generation process, the position of the driving ring 6 can be rotated and deviated, so that the combination of the power generation fan blades 5 is influenced, as a further scheme of the invention, the surface of the supporting column 1 is elastically and slidably connected with an L-shaped limiting rod 27 through a return spring 26, the driving ring 6 can be limited by the limiting rod 27, one side of the limiting rod 27, which is close to the pull rope 16, extends to the position of the pull rope 16 and is connected with the pull rope 16, and the pull rope 16 moves to act on the limiting rod 27 to move; in the normal power generation process, the limiting rod 27 limits the position of the driving ring 6, which is beneficial to keeping the driving ring 6 stable in the continuous power generation process, and avoiding the position of the driving ring 6 from rotating, thereby leading the power generation fan blades 5 not to be combined completely, thereby influencing the conversion rate in power generation, when the adjusting rod 14 drives the pulling rope 16 to move, the pulling rope 16 can act on the limiting rod 27 to move first, so as to remove the limitation on the driving ring 6, then the driving ring 6 can rotate under the action of the pulling rope 16, and when the driving ring 6 is restored to the original position, the limiting rod 27 can limit the driving ring 6 again.
A use method of a multi-angle rotating wind power generation device comprises the following specific steps:
the method comprises the following steps: after the wind power generation device is installed, when wind blows, the wind power generation device can convert wind power into electric energy;
step two: when the wind direction changes, the guide mechanism can act on the distribution box to rotate, so that the power generation fan blades 5 can rotate to the windward side;
step three: when wind blows upwards along a mountain peak from a hill, the adjusting mechanism can adjust the driving mechanism to rotate, so that the combined power generation fan blades 5 can be opposite to the windward side;
step four: the finally generated electric energy is stored or transferred through the power generation box 2.

Claims (8)

1.一种多角度旋转的风力发电装置,包括支撑柱(1),其特征在于:所述支撑柱(1)的上端转动连接有发电箱(2),所述发电箱(2)的表面转动连接有转动轴(3),所述转动轴(3)贯穿发电箱(2),所述转动轴(3)的表面转动连接有多组等角度排列的转动杆(4),每组所述转动杆(4)有多个并且等距排列,所述转动杆(4)表面固定连接有发电扇叶(5),所述转动轴(3)的表面设有驱动机构,所述驱动机构能够驱动发电扇叶(5)在迎风面时同侧的发电扇叶(5)转动合并,所述发电箱(2)的后侧设有导向机构,所述导向机构能够根据风向来引导发电箱(2)与发电扇叶(5)转动至迎风面,所述支撑柱(1)的表面设有调节机构,所述调节机构能够在从山丘底部向上吹的风较大时,调节所述驱动机构使发电扇叶(5)的合并位置能够适应倾斜的风向。1. A multi-angle rotating wind power generator, comprising a support column (1), characterized in that: the upper end of the support column (1) is rotatably connected with a generator box (2), and the surface of the generator box (2) A rotating shaft (3) is rotatably connected, the rotating shaft (3) penetrates the generator box (2), and a surface of the rotating shaft (3) is rotatably connected with a plurality of sets of rotating rods (4) arranged at equal angles, and each set has a rotating rod (4). The rotating rods (4) are provided with multiple and equidistantly arranged, the surface of the rotating rod (4) is fixedly connected with the fan blades (5), the surface of the rotating shaft (3) is provided with a driving mechanism, and the driving mechanism The generator blades (5) on the same side can be driven to rotate and merge when the generator blades (5) are on the windward side, and a guide mechanism is provided on the rear side of the generator box (2), and the guide mechanism can guide the generator box according to the wind direction. (2) Rotate the fan blade (5) to the windward side, and the surface of the support column (1) is provided with an adjustment mechanism, which can adjust the wind when the wind blowing upward from the bottom of the hill is large. The drive mechanism enables the combined position of the fan blades (5) to adapt to the inclined wind direction. 2.根据权利要求1所述的一种多角度旋转的风力发电装置,其特征在于:所述驱动机构包括两个驱动环(6),两个所述驱动环(6)分别设置在所述发电箱(2)的两侧表面,并且两个所述驱动环(6)均位于所述转动轴(3)的表面,所述驱动环(6)表面的两侧高低不同,所述驱动环(6)表面开设有环形槽(7),所述环形槽(7)内滑动连接有多个齿条(8),所述齿条(8)延伸至转动轴(3)的表面,所述转动轴(3)表面对应齿条(8)位置开设有多个滑槽(9),多个所述齿条(8)分别滑动在多个滑槽(9)内,靠近所述驱动环(6)一侧转动杆(4)表面固定连接有转动齿轮(10),所述齿条(8)与转动齿轮(10)啮合,多个所述发电扇叶(5)的表面共同铰接有连接杆(11)。2. A multi-angle rotating wind power generator according to claim 1, characterized in that: the drive mechanism comprises two drive rings (6), and the two drive rings (6) are respectively arranged on the The two side surfaces of the generator box (2), and the two driving rings (6) are both located on the surface of the rotating shaft (3), the two sides of the surface of the driving ring (6) are different in height, the driving ring (6) An annular groove (7) is formed on the surface, a plurality of racks (8) are slidably connected in the annular groove (7), and the racks (8) extend to the surface of the rotating shaft (3). A plurality of sliding grooves (9) are provided on the surface of the rotating shaft (3) corresponding to the positions of the racks (8), and the plurality of the racks (8) are respectively slid in the plurality of sliding grooves (9), close to the driving ring ( 6) A rotating gear (10) is fixedly connected to the surface of the rotating rod (4) on one side, the rack (8) is meshed with the rotating gear (10), and the surfaces of a plurality of the power generating fan blades (5) are jointly hinged and connected rod (11). 3.根据权利要求2所述的一种多角度旋转的风力发电装置,其特征在于:所述导向机构包括导向杆(12),所述导向杆(12)固定连接在所述发电箱(2)的后侧,所述导向杆(12)的表面固定连接有导向板(13),所述导向杆(12)能够在风的作用下带动配电箱转动。3. A multi-angle rotating wind power generator according to claim 2, wherein the guide mechanism comprises a guide rod (12), and the guide rod (12) is fixedly connected to the generator box (2). ), the surface of the guide rod (12) is fixedly connected with a guide plate (13), and the guide rod (12) can drive the distribution box to rotate under the action of the wind. 4.根据权利要求3所述的一种多角度旋转的风力发电装置,其特征在于:所述调节机构包括调节杆(14),所述调节杆(14)转动连接在所述支撑柱(1)的表面,并且所述调节杆(14)贯穿支撑柱(1),所述调节杆(14)位于支撑柱(1)的两侧表面均固定连接有倾斜设置的调节板(15),所述调节杆(14)的表面固定连接有拉动绳(16),所述拉动绳(16)的上端延伸至驱动换的表面并与驱动环(6)固定连接,所述驱动环(6)通过弧形弹簧(17)弹性转动连接在所述发电箱(2)的表面。4. A multi-angle rotating wind power generator according to claim 3, characterized in that: the adjustment mechanism comprises an adjustment rod (14), and the adjustment rod (14) is rotatably connected to the support column (1). ) surface, and the adjusting rod (14) penetrates the support column (1), and the adjusting rod (14) is located on both sides of the support column (1) and is fixedly connected with an inclined adjusting plate (15), so The surface of the adjusting rod (14) is fixedly connected with a pulling rope (16), and the upper end of the pulling rope (16) extends to the surface of the driving switch and is fixedly connected with the driving ring (6), and the driving ring (6) passes through the The arc spring (17) is elastically rotatably connected to the surface of the generator box (2). 5.根据权利要求4所述的一种多角度旋转的风力发电装置,其特征在于:所述支撑柱(1)的表面开设有环形的凹槽(18),所述凹槽(18)内滑动连接有滑动环(19),所述滑动环(19)的底部固定连接有可伸缩的引导板(20),所述引导板(20)的底部与凹槽(18)底部滑动连接,所述滑动环(19)的上端固定连接有伸缩杆(21),所述伸缩杆(21)延伸至调节板(15)位置并与调节板(15)侧面固定连接,所述滑动环(19)的表面固定连接有多个卡接杆(22),所述发电箱(2)的底部开设有多个卡接孔(23),所述卡接杆(22)能够移动至卡接孔(23)内。5. A multi-angle rotating wind power generator according to claim 4, characterized in that: an annular groove (18) is formed on the surface of the support column (1), and the groove (18) has an annular groove (18). A sliding ring (19) is slidably connected, the bottom of the sliding ring (19) is fixedly connected with a retractable guide plate (20), and the bottom of the guide plate (20) is slidably connected with the bottom of the groove (18), so A telescopic rod (21) is fixedly connected to the upper end of the sliding ring (19), the telescopic rod (21) extends to the position of the adjusting plate (15) and is fixedly connected to the side of the adjusting plate (15), and the sliding ring (19) A plurality of clamping rods (22) are fixedly connected to the surface of the generator box (2), a plurality of clamping holes (23) are opened at the bottom of the generator box (2), and the clamping rods (22) can be moved to the clamping holes (23). )Inside. 6.根据权利要求5所述的一种多角度旋转的风力发电装置,其特征在于:位于所述导向杆(12)下方的所述导向板(13)能够伸缩,所述导向板(13)靠近所述支撑柱(1)一侧固定连接有抬起杆(24),所述抬起杆(24)与支撑柱(1)的表面贴合,所述卡接杆(22)对应抬起杆(24)位置固定连接有顶动杆(25),所述顶动杆(25)向上移动能够作用抬起杆(24)。6. A multi-angle rotating wind power generator according to claim 5, characterized in that: the guide plate (13) located under the guide rod (12) can be extended and retracted, and the guide plate (13) A lift rod (24) is fixedly connected to the side close to the support column (1), the lift rod (24) is in contact with the surface of the support column (1), and the clamping rod (22) is lifted correspondingly The rod (24) is fixedly connected with an ejector rod (25), and the upward movement of the ejector rod (25) can act on the lift rod (24). 7.根据权利要求4所述的一种多角度旋转的风力发电装置,其特征在于:所述支撑柱(1)的表面通过复位弹簧(26)弹性滑动连接有L形的限位杆(27),所述限位杆(27)能够将所述驱动环(6)进行限位,所述限位杆(27)靠近拉动绳(16)一侧延伸至拉动绳(16)位置并与拉动绳(16)连接,所述拉动绳(16)移动会作用限位杆(27)移动。7. The multi-angle rotating wind power generator according to claim 4, wherein the surface of the support column (1) is elastically slidably connected with an L-shaped limit rod (27) through a return spring (26). ), the limit rod (27) can limit the drive ring (6), the limit rod (27) close to the side of the pulling rope (16) extends to the position of the pulling rope (16) and is connected with the pulling rope (16). The rope (16) is connected, and the movement of the pulling rope (16) will act on the limit rod (27) to move. 8.一种多角度旋转的风力发电装置的使用方法,适用于权利要求1-7任意一项所述的一种多角度旋转的风力发电装置,其特征在于:该方法的具体步骤如下:8. A method of using a multi-angle rotating wind power generation device, suitable for a multi-angle rotating wind power generation device according to any one of claims 1-7, characterized in that: the specific steps of the method are as follows: 步骤一:在风力发电装置安装完成后,有风吹过时,风力发电装置会将风力转化为电能;Step 1: After the installation of the wind power generation device is completed, when the wind blows, the wind power generation device will convert the wind power into electric energy; 步骤二:随后当风向发生变化时,导向机构能够作用配电箱转动,使发电扇叶(5)能够转至迎风面;Step 2: When the wind direction changes subsequently, the guiding mechanism can act on the distribution box to rotate, so that the power generating fan blades (5) can be turned to the windward side; 步骤三:当有风从山丘下沿着山峰向上吹时,调节机构能够调节驱动机构转动,使合并后的发电扇叶(5)能够正对迎风面;Step 3: When the wind blows up from the bottom of the hill and along the peak, the adjusting mechanism can adjust the rotation of the driving mechanism, so that the combined power generating fan blades (5) can face the windward side; 步骤四:最后发出的电能会通过发电箱(2)进行储存或转移。Step 4: The finally generated electric energy will be stored or transferred through the generator box (2).
CN202210443965.2A 2022-04-26 2022-04-26 Multi-angle rotating wind power generation device and method Active CN114810495B (en)

Priority Applications (1)

Application Number Priority Date Filing Date Title
CN202210443965.2A CN114810495B (en) 2022-04-26 2022-04-26 Multi-angle rotating wind power generation device and method

Applications Claiming Priority (1)

Application Number Priority Date Filing Date Title
CN202210443965.2A CN114810495B (en) 2022-04-26 2022-04-26 Multi-angle rotating wind power generation device and method

Publications (2)

Publication Number Publication Date
CN114810495A true CN114810495A (en) 2022-07-29
CN114810495B CN114810495B (en) 2025-08-01

Family

ID=82508350

Family Applications (1)

Application Number Title Priority Date Filing Date
CN202210443965.2A Active CN114810495B (en) 2022-04-26 2022-04-26 Multi-angle rotating wind power generation device and method

Country Status (1)

Country Link
CN (1) CN114810495B (en)

Citations (8)

* Cited by examiner, † Cited by third party
Publication number Priority date Publication date Assignee Title
US20070147998A1 (en) * 2003-12-27 2007-06-28 Kil-Hun Jang Wind turbine
US20110081243A1 (en) * 2009-10-02 2011-04-07 Sullivan John T Helical airfoil wind turbines
KR20120124999A (en) * 2011-05-06 2012-11-14 홍쿠이 진 Hybrid electric power generator using wave force and wind force
CN111550369A (en) * 2020-05-25 2020-08-18 杨克瑞 Multi-angle rotating wind power generation device
CN111927706A (en) * 2020-08-10 2020-11-13 芜湖籁余新能源科技有限公司 Fan blade multi-angle adjusting type vertical axis wind driven generator
CN113339193A (en) * 2021-06-15 2021-09-03 张雪梅 Eccentric revolving body of wind driven generator, wind driven generator and using method of eccentric revolving body
CN215719217U (en) * 2021-09-10 2022-02-01 张育鹏 Wind power generation device
CN114198258A (en) * 2021-12-09 2022-03-18 深圳市芯比芯智汇科技有限公司 Adjustable efficient wind power generation equipment

Patent Citations (8)

* Cited by examiner, † Cited by third party
Publication number Priority date Publication date Assignee Title
US20070147998A1 (en) * 2003-12-27 2007-06-28 Kil-Hun Jang Wind turbine
US20110081243A1 (en) * 2009-10-02 2011-04-07 Sullivan John T Helical airfoil wind turbines
KR20120124999A (en) * 2011-05-06 2012-11-14 홍쿠이 진 Hybrid electric power generator using wave force and wind force
CN111550369A (en) * 2020-05-25 2020-08-18 杨克瑞 Multi-angle rotating wind power generation device
CN111927706A (en) * 2020-08-10 2020-11-13 芜湖籁余新能源科技有限公司 Fan blade multi-angle adjusting type vertical axis wind driven generator
CN113339193A (en) * 2021-06-15 2021-09-03 张雪梅 Eccentric revolving body of wind driven generator, wind driven generator and using method of eccentric revolving body
CN215719217U (en) * 2021-09-10 2022-02-01 张育鹏 Wind power generation device
CN114198258A (en) * 2021-12-09 2022-03-18 深圳市芯比芯智汇科技有限公司 Adjustable efficient wind power generation equipment

Also Published As

Publication number Publication date
CN114810495B (en) 2025-08-01

Similar Documents

Publication Publication Date Title
CN101451499B (en) Constant directional four-quadrant full lift force vertical axis wind motor
CN101270722B (en) Chain sail wind motor and method for outputting power by wind power
WO2017096645A1 (en) Adjustable pitch changing device having front end support based on inclined hinge blades
CN105332860A (en) Wind generating set tower system with side ladder for walking and supporting and construction method thereof
CN100342131C (en) Track wind sail power generation method and device thereof
CN202073704U (en) Wind energy generator with foldable type horizontal fan blades
CN114810495A (en) Multi-angle rotating wind power generation device and method
CN104481810A (en) Automatically stretching type vertical-axis wind driven generator
CN201982251U (en) Efficient wind energy transforming device with sail type vertical shaft
CN118188331B (en) A combined complementary power generation device for offshore wind and tidal energy
CN220036841U (en) Lifting wind driven generator
CN218376720U (en) Novel wind power generation device of relative rotation double-impeller yaw-free motor
CN112128057A (en) Floating type wind power generation device capable of automatically lifting along with water level in river dam
CN115030862A (en) Vertical axis wind turbine for angle steel tower and control system thereof
CN206942930U (en) Blade Self-protecting wind electricity generating system
CN114278495B (en) Offshore floating wind generating set
CN212003437U (en) Wind generating set
CN206257000U (en) A kind of pair of sail wind-guiding type wind-driven generator
CN221277914U (en) Novel fan blade of vertical axis wind turbine
CN110985305A (en) Storage type wind driven generator with changeable angle
CN114320757A (en) Vertical wind generating set combining lift resistance with full wind speed power generation
CN202417836U (en) Vertical type energy collecting wind driven generator
CN216077403U (en) Vertical wind driven generator
CN221823977U (en) A wind power generation maintenance device that is easy to adjust direction
CN205135914U (en) Wind generating set pylon system that walking of side ladder was supported

Legal Events

Date Code Title Description
PB01 Publication
PB01 Publication
SE01 Entry into force of request for substantive examination
SE01 Entry into force of request for substantive examination
CB03 Change of inventor or designer information

Inventor after: Yang Chun

Inventor after: Liu Ming

Inventor after: Kang Sheng

Inventor after: Shi Liqin

Inventor before: Shi Liqin

CB03 Change of inventor or designer information
TA01 Transfer of patent application right

Effective date of registration: 20250708

Address after: 150000 Heilongjiang city of Harbin province Daoli District Shangzhi Street No. 188

Applicant after: State Grid Heilongjiang Electric Power Co., Ltd. economic and Technological Research Institute

Country or region after: China

Address before: 351200 Fujian Province Putian City Xiuyu District Dongzhuang Town Qianyun Village Wangshan North Street 666.NO

Applicant before: Shi Liqin

Country or region before: China

TA01 Transfer of patent application right
GR01 Patent grant
GR01 Patent grant