CN114799385A - Short arc discharge machining workpiece mounting device - Google Patents
Short arc discharge machining workpiece mounting device Download PDFInfo
- Publication number
- CN114799385A CN114799385A CN202210439199.2A CN202210439199A CN114799385A CN 114799385 A CN114799385 A CN 114799385A CN 202210439199 A CN202210439199 A CN 202210439199A CN 114799385 A CN114799385 A CN 114799385A
- Authority
- CN
- China
- Prior art keywords
- hole
- clamp body
- positioning
- discharge machining
- arc discharge
- Prior art date
- Legal status (The legal status is an assumption and is not a legal conclusion. Google has not performed a legal analysis and makes no representation as to the accuracy of the status listed.)
- Granted
Links
Images
Classifications
-
- B—PERFORMING OPERATIONS; TRANSPORTING
- B23—MACHINE TOOLS; METAL-WORKING NOT OTHERWISE PROVIDED FOR
- B23H—WORKING OF METAL BY THE ACTION OF A HIGH CONCENTRATION OF ELECTRIC CURRENT ON A WORKPIECE USING AN ELECTRODE WHICH TAKES THE PLACE OF A TOOL; SUCH WORKING COMBINED WITH OTHER FORMS OF WORKING OF METAL
- B23H11/00—Auxiliary apparatus or details, not otherwise provided for
- B23H11/003—Mounting of workpieces, e.g. working-tables
-
- B—PERFORMING OPERATIONS; TRANSPORTING
- B23—MACHINE TOOLS; METAL-WORKING NOT OTHERWISE PROVIDED FOR
- B23H—WORKING OF METAL BY THE ACTION OF A HIGH CONCENTRATION OF ELECTRIC CURRENT ON A WORKPIECE USING AN ELECTRODE WHICH TAKES THE PLACE OF A TOOL; SUCH WORKING COMBINED WITH OTHER FORMS OF WORKING OF METAL
- B23H1/00—Electrical discharge machining, i.e. removing metal with a series of rapidly recurring electrical discharges between an electrode and a workpiece in the presence of a fluid dielectric
Landscapes
- Engineering & Computer Science (AREA)
- Mechanical Engineering (AREA)
- Jigs For Machine Tools (AREA)
Abstract
本发明涉及短电弧放电加工技术领域,具体地说,涉及一种短电弧放电加工安装工件装置。其包括一种短电弧放电加工安装工件装置,包括底座、活动钳体、定位块、推杆及定位板,底座设置有固定钳体,底座顶端两侧均设置有对称导轨,对称导轨设置定位孔与空间凹槽,定位块安装于空间凹槽中,通过销轴与开口销固定与限位,活动钳体安装于定位槽上,转动推杆配合第二垫块、固定钳体与第一垫块夹紧工件,定位板与连接杆形成空间垂直,连接杆与固定板形成空间垂直。本实用通过推杆配合活动钳体便于夹紧工件,工件一端与定位板接触,便于定位,保证加工精度,定位块通过定位孔、销轴与开口销定位与固定,便于不同尺寸的工件加工。
The invention relates to the technical field of short arc discharge machining, in particular to a device for installing workpieces by short arc discharge machining. It includes a short arc discharge machining and installation workpiece device, including a base, a movable clamp body, a positioning block, a push rod and a positioning plate. The base is provided with a fixed clamp body, and both sides of the top of the base are provided with symmetrical guide rails. With the space groove, the positioning block is installed in the space groove, fixed and limited by the pin shaft and the cotter pin, the movable clamp body is installed on the positioning groove, and the rotating push rod cooperates with the second spacer block, the fixed clamp body and the first cushion The block clamps the workpiece, the positioning plate and the connecting rod form a space perpendicular to the space, and the connecting rod and the fixing plate form a space perpendicular to the space. In the utility model, the push rod is matched with the movable clamp body to facilitate clamping the workpiece, one end of the workpiece is in contact with the positioning plate, which is convenient for positioning and ensures the machining accuracy.
Description
技术领域technical field
本发明涉及短电弧放电加工技术领域,具体地说,涉及一种短电弧放电加工安装工件装置。The invention relates to the technical field of short-arc discharge machining, in particular to a device for installing workpieces by short-arc discharge machining.
背景技术Background technique
在当前短电弧放电加工中没有专用工件夹具,通常会直接采用一块导电金属配合螺栓螺母将电缆线与工件进行按压接触,需要工件与电缆线接触,构成放电条件;实际加工中,存在安装拆卸时间长,工件校正与定位时间长,机器待机时间长,生产效率低的问题;随着短电弧放电加工在高熔点难加工材料的普遍应用,原有的工件安装条件已远远不能满足高效准确的加工要求。In the current short-arc discharge machining, there is no special workpiece fixture. Usually, a piece of conductive metal with bolts and nuts is used to directly press the cable into contact with the workpiece. The workpiece is required to be in contact with the cable to form a discharge condition; in actual processing, there is installation and disassembly time. Long, workpiece calibration and positioning time is long, machine standby time is long, and production efficiency is low. Processing requirements.
发明内容SUMMARY OF THE INVENTION
本发明的目的在于提供一种短电弧放电加工安装工件装置,以解决上述背景技术中提出的问题。The purpose of the present invention is to provide a short-arc discharge machining device for installing workpieces, so as to solve the above-mentioned problems in the background art.
为实现上述目的,本发明提供一种短电弧放电加工安装工件装置,包括底座,所述底座的顶端边沿位置设置固定钳体,所述底座顶端两侧均设置有一对称导轨,两所述对称导轨之间开设有空间凹槽,所述对称导轨两侧开设有多个定位孔,各定位孔呈阵列排布,所述空间凹槽内端安装定位块,所述定位块顶端设置有活动钳体,所述活动钳体底端两侧均设置有导轨,两所述导轨分别安装在空间凹槽内端两侧,所述定位孔内端插接配合有销轴,所述销轴穿过定位孔,所述定位块侧面开设有若干第二通孔,所述销轴与所述第二通孔插接配合,所述销轴末端套接配合有开口销,所述固定钳体侧面贴合安装有第一垫块,所述第一垫块侧面螺纹连接有内六角螺栓,所述第一垫块与所述固定钳体通过所述内六角螺栓螺纹连接,所述固定钳体两侧均沿开口方向水平伸出固定板,所述固定板顶端套接有连接杆,所述连接杆顶端套接有定位板,所述连接杆与所述定位板之间形成空间垂直,所述活动钳体侧面贴合安装第二垫块,所述活动钳体与所述第二垫块通过螺栓固定,所述活动钳体内端安装定位块,所述定位块侧面开设有螺纹孔,所述活动钳体侧面插接有推杆,所述活动钳体侧面开设有第一通孔,所述推杆穿过活动钳体的第一通孔与螺纹孔螺纹连接,所述底座底端两侧均开设有若干固定孔。In order to achieve the above purpose, the present invention provides a short-arc discharge machining and mounting workpiece device, which includes a base, a fixed clamp body is set at the top edge of the base, and a symmetrical guide rail is provided on both sides of the top of the base. There is a space groove between them, a plurality of positioning holes are opened on both sides of the symmetrical guide rail, and each positioning hole is arranged in an array. The inner end of the space groove is installed with a positioning block, and the top of the positioning block is provided with a movable clamp body , both sides of the bottom end of the movable clamp body are provided with guide rails, the two guide rails are respectively installed on both sides of the inner end of the space groove, the inner end of the positioning hole is inserted and fitted with a pin shaft, and the pin shaft passes through the positioning The side of the positioning block is provided with a plurality of second through holes, the pin shaft is inserted and matched with the second through holes, the end of the pin shaft is sleeved and fitted with a split pin, and the side of the fixed clamp body is fitted A first spacer block is installed, the side of the first spacer block is threadedly connected with an inner hexagon bolt, the first spacer block and the fixed clamp body are threadedly connected by the inner hexagon bolt, and both sides of the fixed clamp body are threaded. The fixed plate extends horizontally along the opening direction, the top of the fixed plate is sleeved with a connecting rod, the top of the connecting rod is sleeved with a positioning plate, the space between the connecting rod and the positioning plate is vertical, and the movable clamp The side of the body is fitted with a second spacer block, the movable clamp body and the second spacer block are fixed by bolts, a positioning block is installed at the inner end of the movable clamp, and the side of the positioning block is provided with a threaded hole, and the movable clamp A push rod is inserted into the side of the body, a first through hole is opened on the side of the movable clamp body, the push rod passes through the first through hole of the movable clamp body and is threadedly connected with the threaded hole, and both sides of the bottom end of the base are opened There are several fixing holes.
作为本技术方案的进一步改进,所述底座端部垂直方向上伸出连接柱,所述连接柱外侧设置有外螺纹,所述连接柱侧面连接有电缆线,所述电缆线一侧开设有第五通孔,所述第五通孔与所述连接柱外侧套接配合,所述连接柱顶端螺纹连接有螺母。As a further improvement of this technical solution, the end of the base protrudes from the connecting column in the vertical direction, the outer side of the connecting column is provided with an external thread, the side surface of the connecting column is connected with a cable, and one side of the cable is provided with a third Five through holes, the fifth through holes are sleeved and matched with the outer side of the connecting column, and the top of the connecting column is threadedly connected with a nut.
作为本技术方案的进一步改进,所述推杆一端侧面开设置有把孔,所述把孔内端插接有把手,所述活动钳体内侧开设有浅凹槽。As a further improvement of the technical solution, a handle hole is formed on the side of one end of the push rod, a handle is inserted into the inner end of the handle hole, and a shallow groove is formed on the inner side of the movable caliper body.
作为本技术方案的进一步改进,所述固定钳体侧面有盲孔,盲孔设置有内螺纹,所述盲孔与所述内六角螺栓螺纹连接。As a further improvement of the technical solution, the side of the fixing clamp body is provided with a blind hole, the blind hole is provided with an inner thread, and the blind hole is threadedly connected with the inner hexagon bolt.
作为本技术方案的进一步改进,所述活动钳体侧面有侧孔,所述侧孔设置有内螺纹,所述侧孔与内六角螺栓相配合,所述活动钳体底面有弧槽,所述定位块顶端设置有弧顶,所述弧槽的一侧开设第一通孔,所述第一通孔轴向方向与所述推杆移动方向相同,所述弧槽与所述侧孔同一方向的侧面有浅凹槽,所述推杆的螺纹端穿过所述第一通孔与所述螺纹孔与活动钳体的浅凹槽相顶。As a further improvement of this technical solution, the side of the movable caliper body has side holes, the side holes are provided with internal threads, the side holes are matched with the hexagon socket bolts, the bottom surface of the movable caliper body has arc grooves, and the The top of the positioning block is provided with an arc top, one side of the arc groove is provided with a first through hole, the axial direction of the first through hole is the same as the moving direction of the push rod, and the arc groove and the side hole are in the same direction There is a shallow groove on the side of the push rod, and the threaded end of the push rod passes through the first through hole and the threaded hole and the shallow groove of the movable caliper body abut.
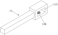
作为本技术方案的进一步改进,所述连接杆侧面开设有矩形孔,所述矩形孔与所述固定板侧面套接配合,所述矩形孔内端开设有第三通孔,所述定位板侧面开设有方孔,所述方孔与所述连接杆顶端套接,所述方孔内侧开设有第四通孔,所述第四通孔以及所述第三通孔内端均螺纹连接有蝶形螺栓。As a further improvement of this technical solution, a rectangular hole is formed on the side of the connecting rod, the rectangular hole is sleeved and matched with the side of the fixing plate, the inner end of the rectangular hole is provided with a third through hole, and the side of the positioning plate is provided with a third through hole. A square hole is opened, the square hole is sleeved with the top end of the connecting rod, a fourth through hole is opened inside the square hole, and the inner end of the fourth through hole and the inner end of the third through hole are threadedly connected with a butterfly. shaped bolts.
与现有技术相比,本发明的有益效果:Compared with the prior art, the beneficial effects of the present invention:
1、该短电弧放电加工安装工件装置中,通过推杆配合活动钳体便于夹紧工件,工件一端与定位板接触,便于定位,保证加工精度,定位块通过定位孔、销轴与开口销定位与固定,便于不同尺寸的工件加工。1. In this short arc discharge machining installation device, the workpiece is easily clamped by the push rod and the movable clamp body, and one end of the workpiece is in contact with the positioning plate, which is convenient for positioning and ensures the machining accuracy. The positioning block is positioned through the positioning hole, pin shaft and cotter pin. And fixed, easy to process workpieces of different sizes.
2、该短电弧放电加工安装工件装置中,通过设置的蝶形螺栓实现定位板的限位功能,可通过蝶形螺栓带动定位板在连接杆上可以调整高度。2. In the short-arc discharge machining and installation of the workpiece device, the limit function of the positioning plate is realized through the set butterfly bolts, and the positioning plate can be driven by the butterfly bolts to adjust the height on the connecting rod.
附图说明Description of drawings
图1为本发明实施例1的整体结构示意图;1 is a schematic diagram of the overall structure of Embodiment 1 of the present invention;
图2为本发明实施例1的整体结构侧视图;2 is a side view of the overall structure of Embodiment 1 of the present invention;
图3为本发明实施例1的底座结构示意图;3 is a schematic diagram of the base structure of Embodiment 1 of the present invention;
图4为本发明实施例1的活动钳体结构示意图;4 is a schematic structural diagram of a movable clamp body according to Embodiment 1 of the present invention;
图5为本发明实施例1的活动钳体剖视平面图其一;FIG. 5 is the first cross-sectional plan view of the movable clamp body according to Embodiment 1 of the present invention;
图6为本发明实施例1的活动钳体剖视平面图其二;FIG. 6 is the second cross-sectional plan view of the movable clamp body according to Embodiment 1 of the present invention;
图7为本发明实施例1的活动钳体剖视平面图其三;FIG. 7 is the third cross-sectional plan view of the movable clamp body according to Embodiment 1 of the present invention;
图8为本发明实施例1的推杆结构示意图;8 is a schematic diagram of a push rod structure according to Embodiment 1 of the present invention;
图9为本发明实施例1的定位块结构示意图;9 is a schematic structural diagram of a positioning block according to Embodiment 1 of the present invention;
图10为本发明实施例1的连接杆结构示意图;10 is a schematic diagram of the structure of the connecting rod according to Embodiment 1 of the present invention;
图11为本发明实施例1的定位板结构示意图;11 is a schematic structural diagram of a positioning plate according to Embodiment 1 of the present invention;
图12为本发明实施例1的电缆线结构示意图。FIG. 12 is a schematic structural diagram of a cable according to Embodiment 1 of the present invention.
图中各个标号意义为:The meanings of the symbols in the figure are:
1、底座;110、固定钳体;111、盲孔;120、对称导轨;130、空间凹槽;140、定位孔;150、固定板;160、固定孔;170、连接柱;2、第一垫块;3、工件本体;4、第二垫块;5、活动钳体;510、导轨;520、第一通孔;530、浅凹槽;540、侧孔;550、弧槽;6、把手;7、推杆;710、把孔;8、定位块;810、螺纹孔;820、弧顶;830、第二通孔;9、销轴;10、开口销;11、连接杆;115、矩形孔;116、第三通孔;12、定位板;125、方孔;126、第四通孔;13、电缆线;135、第五通孔;14、螺母;15、内六角螺栓;16、蝶形螺栓。1. base; 110, fixed clamp body; 111, blind hole; 120, symmetrical guide rail; 130, space groove; 140, positioning hole; 150, fixing plate; 160, fixing hole; 170, connecting column; 2, first Pad; 3. Workpiece body; 4. Second pad; 5. Active clamp body; 510, guide rail; 520, first through hole; 530, shallow groove; 540, side hole; 550, arc groove; 6, Handle; 7, push rod; 710, handle hole; 8, positioning block; 810, threaded hole; 820, arc top; 830, second through hole; 9, pin shaft; 10, split pin; 11, connecting rod; 115 116, the third through hole; 12, the positioning plate; 125, the square hole; 126, the fourth through hole; 13, the cable; 135, the fifth through hole; 14, the nut; 15, the socket head cap bolt; 16. Wing bolts.
具体实施方式Detailed ways
下面将结合本发明实施例中的附图,对本发明实施例中的技术方案进行清楚、完整地描述,显然,所描述的实施例仅仅是本发明一部分实施例,而不是全部的实施例。基于本发明中的实施例,本领域普通技术人员在没有做出创造性劳动前提下所获得的所有其他实施例,都属于本发明保护的范围。The technical solutions in the embodiments of the present invention will be clearly and completely described below with reference to the accompanying drawings in the embodiments of the present invention. Obviously, the described embodiments are only a part of the embodiments of the present invention, but not all of the embodiments. Based on the embodiments of the present invention, all other embodiments obtained by those of ordinary skill in the art without creative efforts shall fall within the protection scope of the present invention.
在本发明的描述中,需要理解的是,术语“中心”、“纵向”、“横向”、“长度”、“宽度”、“厚度”、“上”、“下”、“前”、“后”、“左”、“右”、“竖直”、“水平”、“顶”、“底”、“内”、“外”、“顺时针”、“逆时针”等指示的方位或位置关系为基于附图所示的方位或位置关系,仅是为了便于描述本发明和简化描述,而不是指示或暗示所指的设备或元件必须具有特定的方位、以特定的方位构造和操作,因此不能理解为对本发明的限制。In the description of the present invention, it should be understood that the terms "center", "longitudinal", "lateral", "length", "width", "thickness", "upper", "lower", "front", " rear, left, right, vertical, horizontal, top, bottom, inside, outside, clockwise, counterclockwise, etc., or The positional relationship is based on the orientation or positional relationship shown in the drawings, which is only for the convenience of describing the present invention and simplifying the description, rather than indicating or implying that the referred device or element must have a specific orientation, be constructed and operated in a specific orientation, Therefore, it should not be construed as a limitation of the present invention.
此外,术语“第一”、“第二”仅用于描述目的,而不能理解为指示或暗示相对重要性或者隐含指明所指示的技术特征的数量。由此,限定有“第一”、“第二”的特征可以明示或者隐含地包括一个或者更多个该特征。在本发明的描述中,“多个”的含义是两个或两个以上,除非另有明确具体的限定。In addition, the terms "first" and "second" are only used for descriptive purposes, and should not be construed as indicating or implying relative importance or implying the number of indicated technical features. Thus, a feature defined as "first" or "second" may expressly or implicitly include one or more of that feature. In the description of the present invention, "plurality" means two or more, unless otherwise expressly and specifically defined.
实施例1Example 1
请参阅图1-图12所示,本发明提供一种短电弧放电加工安装工件装置,包括底座1,底座1的顶端边沿位置设置固定钳体110,底座1顶端两侧均设置有一对称导轨120,两对称导轨120之间开设有空间凹槽130,对称导轨120两侧开设有多个定位孔140,各定位孔140呈阵列排布,空间凹槽130内端安装定位块8,定位块8顶端设置有活动钳体5,活动钳体5底端两侧均设置有导轨510,两导轨510分别安装在空间凹槽130内端两侧,定位孔140内端插接配合有销轴9,销轴9穿过定位孔140,定位块8侧面开设有若干第二通孔830,销轴9与第二通孔830插接配合,销轴9末端套接配合有开口销10,固定钳体110侧面贴合安装有第一垫块2,第一垫块2侧面螺纹连接有内六角螺栓15,第一垫块2与固定钳体110通过内六角螺栓15螺纹连接,固定钳体110两侧均沿开口方向水平伸出固定板150,固定板150顶端套接有连接杆11,连接杆11顶端套接有定位板12,连接杆11与定位板12之间形成空间垂直,活动钳体5侧面贴合安装第二垫块4,活动钳体5与第二垫块4通过螺栓固定,活动钳体5内端安装定位块8,定位块8侧面开设有螺纹孔810,活动钳体5侧面插接有推杆7,活动钳体5侧面开设有第一通孔520,推杆7穿过活动钳体5的第一通孔520与螺纹孔810螺纹连接,底座1底端两侧均开设有若干固定孔160。Please refer to FIGS. 1-12 , the present invention provides a short arc discharge machining and mounting workpiece device, comprising a base 1 , a fixed
具体使用时,将工件本体3贴合第二垫块4侧面,工件本体3底端两侧分别贴合对称导轨120顶端两侧,转动推杆7,推杆7推动定位块8水平移动,定位块8带动工件本体3逐渐贴合在固定钳体110侧面,工件本体3固定完成后,将销轴9插入对应的定位孔140内端,对定位块8侧面进行固定,同时将开口销10套接在销轴9末端,固定销轴9,同时两定位板12分别贴合在工件本体3另一端两侧,对工件本体3两侧进行限位处理,保证加工精度,同时推杆7自由转动,能够对不同尺寸的工件加工,提高整个装置的灵活度。In specific use, the
本实施例中,底座1端部垂直方向上伸出连接柱170,连接柱170外侧设置有外螺纹,连接柱170侧面连接有电缆线13,电缆线13一侧开设有第五通孔135,第五通孔135与连接柱170外侧套接配合,连接柱170顶端螺纹连接有螺母14。可通过设置的螺母14实现对电缆线13以及连接柱170之间松紧度调节功能。In this embodiment, the end of the base 1 protrudes from the connecting
进一步的,推杆7一端侧面开设置有把孔710,把孔710内端插接有把手6,活动钳体5内侧开设有浅凹槽530,具体使用时,转动把手6,调整推杆7的外螺纹端与活动钳体5的浅凹槽530相顶。Further, one end of the
具体的,固定钳体110侧面有盲孔111,盲孔111设置有内螺纹,盲孔111与内六角螺栓15螺纹连接,当第一垫块2滑动至与固定钳体110侧面贴合时,此时转动内六角螺栓15使得第一垫块2与固定钳体110侧面固定,进一步提高对工件本体3固定,提高工件本体3稳定性。Specifically, there are
此外,活动钳体5侧面有侧孔540,侧孔540设置有内螺纹,侧孔540与内六角螺栓15相配合,活动钳体5底面有弧槽550,定位块8顶端设置有弧顶820,弧槽550的一侧开设第一通孔520,第一通孔520轴向方向与推杆7移动方向相同,弧槽550与侧孔540同一方向的侧面有浅凹槽530,推杆7的螺纹端穿过第一通孔520与螺纹孔810与活动钳体5的浅凹槽530相顶。In addition, there is a
除此之外,连接杆11侧面开设有矩形孔115,矩形孔115与固定板150侧面套接配合,矩形孔115内端开设有第三通孔116,定位板12侧面开设有方孔125,方孔125与连接杆11顶端套接,方孔125内侧开设有第四通孔126,第四通孔126以及第三通孔116内端均螺纹连接有蝶形螺栓16,通过设置的蝶形螺栓16实现定位板12的限位功能,可通过蝶形螺栓16带动定位板12在连接杆11上可以调整高度。In addition, a
本实施例的短电弧放电加工安装工件装置在具体使用时,将工件本体3贴合第二垫块4侧面,工件本体3底端两侧分别贴合对称导轨120顶端两侧,转动推杆7,推杆7推动定位块8水平移动,定位块8带动工件本体3逐渐贴合在固定钳体110侧面,工件本体3固定完成后,将销轴9插入对应的定位孔140内端,对定位块8侧面进行固定,同时将开口销10套接在销轴9末端,固定销轴9,同时两定位板12分别贴合在工件本体3另一端两侧,对工件本体3两侧进行限位处理,保证加工精度,同时推杆7自由转动,能够对不同尺寸的工件加工,提高整个装置的灵活度。In the specific use of the short-arc discharge machining device for installing workpieces in this embodiment, the
以上显示和描述了本发明的基本原理、主要特征和本发明的优点。本行业的技术人员应该了解,本发明不受上述实施例的限制,上述实施例和说明书中描述的仅为本发明的优选例,并不用来限制本发明,在不脱离本发明精神和范围的前提下,本发明还会有各种变化和改进,这些变化和改进都落入要求保护的本发明范围内。本发明要求保护范围由所附的权利要求书及其等效物界定。The foregoing has shown and described the basic principles, main features and advantages of the present invention. Those skilled in the art should understand that the present invention is not limited by the above-mentioned embodiments, and the above-mentioned embodiments and descriptions are only preferred examples of the present invention, and are not intended to limit the present invention, without departing from the spirit and scope of the present invention. Under the premise, the present invention will also have various changes and improvements, and these changes and improvements all fall within the scope of the claimed invention. The claimed scope of the present invention is defined by the appended claims and their equivalents.
Claims (6)
Applications Claiming Priority (2)
| Application Number | Priority Date | Filing Date | Title |
|---|---|---|---|
| CN202210368261 | 2022-04-08 | ||
| CN2022103682613 | 2022-04-08 |
Publications (2)
| Publication Number | Publication Date |
|---|---|
| CN114799385A true CN114799385A (en) | 2022-07-29 |
| CN114799385B CN114799385B (en) | 2025-09-09 |
Family
ID=82508107
Family Applications (1)
| Application Number | Title | Priority Date | Filing Date |
|---|---|---|---|
| CN202210439199.2A Active CN114799385B (en) | 2022-04-08 | 2022-04-25 | Short arc discharge machining workpiece mounting device |
Country Status (1)
| Country | Link |
|---|---|
| CN (1) | CN114799385B (en) |
Citations (4)
| Publication number | Priority date | Publication date | Assignee | Title |
|---|---|---|---|---|
| US6930272B1 (en) * | 2004-07-06 | 2005-08-16 | Michael P. Limano | Vise for holding a workpiece on an EDM machine |
| CN207223447U (en) * | 2017-08-23 | 2018-04-13 | 天津天汽模模具部件有限公司 | Self-centering rapid-mounted technique pincers |
| CN210615864U (en) * | 2019-09-24 | 2020-05-26 | 大连职业技术学院 | Quick positioning fixture of work piece |
| CN217370819U (en) * | 2022-04-08 | 2022-09-06 | 北京星航机电装备有限公司 | A device for short arc discharge machining and installation of workpieces |
-
2022
- 2022-04-25 CN CN202210439199.2A patent/CN114799385B/en active Active
Patent Citations (4)
| Publication number | Priority date | Publication date | Assignee | Title |
|---|---|---|---|---|
| US6930272B1 (en) * | 2004-07-06 | 2005-08-16 | Michael P. Limano | Vise for holding a workpiece on an EDM machine |
| CN207223447U (en) * | 2017-08-23 | 2018-04-13 | 天津天汽模模具部件有限公司 | Self-centering rapid-mounted technique pincers |
| CN210615864U (en) * | 2019-09-24 | 2020-05-26 | 大连职业技术学院 | Quick positioning fixture of work piece |
| CN217370819U (en) * | 2022-04-08 | 2022-09-06 | 北京星航机电装备有限公司 | A device for short arc discharge machining and installation of workpieces |
Also Published As
| Publication number | Publication date |
|---|---|
| CN114799385B (en) | 2025-09-09 |
Similar Documents
| Publication | Publication Date | Title |
|---|---|---|
| CN105171465B (en) | A kind of clamping device and flat-nose pliers for being automatically positioned clamping | |
| CN217370819U (en) | A device for short arc discharge machining and installation of workpieces | |
| CN217860026U (en) | Machining tool for curved surface special-shaped parts | |
| CN114799385A (en) | Short arc discharge machining workpiece mounting device | |
| CN201979184U (en) | Clamp capable of adjusting electrode verticality | |
| CN206779957U (en) | The clamp for machining of engine body | |
| CN220993021U (en) | Thread processing device | |
| CN219027353U (en) | Positioning tool for assembling valve seat and cooler | |
| CN209036036U (en) | It is easy to guarantee the ears part special fixture of geometric tolerance | |
| WO2021208348A1 (en) | Novel machining equipment for ball pin seats for automobile chassis | |
| CN115193970A (en) | A capillary copper tube bending device | |
| CN220073930U (en) | Milling machine fixture for machining pillow-shaped workpiece | |
| CN222095415U (en) | A multifunctional machining fixture | |
| CN212287354U (en) | Motor clamping device | |
| CN222680206U (en) | Machining device for steering knuckle shell | |
| CN209969976U (en) | A manual and automatic adjustment mechanism for a welding lathe | |
| CN216263934U (en) | A round rod electrode fixture | |
| CN222125330U (en) | Universal fixing clamp for rectangular battery cell | |
| CN219026861U (en) | A dynamometer carrying platform for a drilling machine | |
| CN114309846A (en) | Axle center alignment method for machining inner hole of shaft part | |
| CN220761759U (en) | A fuel cell metal bipolar plate positioning device | |
| CN111438550A (en) | Double-workpiece machining fixing clamp | |
| CN219131528U (en) | Interchangeable clamp for machining metal parts | |
| CN219900564U (en) | EDM taper pin side processing quick clamping tool | |
| CN212351149U (en) | Centering clamping tool |
Legal Events
| Date | Code | Title | Description |
|---|---|---|---|
| PB01 | Publication | ||
| PB01 | Publication | ||
| SE01 | Entry into force of request for substantive examination | ||
| SE01 | Entry into force of request for substantive examination | ||
| GR01 | Patent grant | ||
| GR01 | Patent grant |
