CN114798112A - New energy automobile battery recovery unit - Google Patents

New energy automobile battery recovery unit Download PDF

Info

Publication number
CN114798112A
CN114798112A CN202210499522.5A CN202210499522A CN114798112A CN 114798112 A CN114798112 A CN 114798112A CN 202210499522 A CN202210499522 A CN 202210499522A CN 114798112 A CN114798112 A CN 114798112A
Authority
CN
China
Prior art keywords
casing
fixedly connected
new energy
driven
outside
Prior art date
Legal status (The legal status is an assumption and is not a legal conclusion. Google has not performed a legal analysis and makes no representation as to the accuracy of the status listed.)
Pending
Application number
CN202210499522.5A
Other languages
Chinese (zh)
Inventor
张亮
姜涛
李振兴
宋林
Current Assignee (The listed assignees may be inaccurate. Google has not performed a legal analysis and makes no representation or warranty as to the accuracy of the list.)
Songuo Motors Co Ltd
Original Assignee
Songuo Motors Co Ltd
Priority date (The priority date is an assumption and is not a legal conclusion. Google has not performed a legal analysis and makes no representation as to the accuracy of the date listed.)
Filing date
Publication date
Application filed by Songuo Motors Co Ltd filed Critical Songuo Motors Co Ltd
Priority to CN202210499522.5A priority Critical patent/CN114798112A/en
Publication of CN114798112A publication Critical patent/CN114798112A/en
Pending legal-status Critical Current

Links

Images

Classifications

    • BPERFORMING OPERATIONS; TRANSPORTING
    • B02CRUSHING, PULVERISING, OR DISINTEGRATING; PREPARATORY TREATMENT OF GRAIN FOR MILLING
    • B02CCRUSHING, PULVERISING, OR DISINTEGRATING IN GENERAL; MILLING GRAIN
    • B02C18/00Disintegrating by knives or other cutting or tearing members which chop material into fragments
    • B02C18/0084Disintegrating by knives or other cutting or tearing members which chop material into fragments specially adapted for disintegrating garbage, waste or sewage
    • BPERFORMING OPERATIONS; TRANSPORTING
    • B02CRUSHING, PULVERISING, OR DISINTEGRATING; PREPARATORY TREATMENT OF GRAIN FOR MILLING
    • B02CCRUSHING, PULVERISING, OR DISINTEGRATING IN GENERAL; MILLING GRAIN
    • B02C18/00Disintegrating by knives or other cutting or tearing members which chop material into fragments
    • B02C18/06Disintegrating by knives or other cutting or tearing members which chop material into fragments with rotating knives
    • B02C18/14Disintegrating by knives or other cutting or tearing members which chop material into fragments with rotating knives within horizontal containers
    • B02C18/142Disintegrating by knives or other cutting or tearing members which chop material into fragments with rotating knives within horizontal containers with two or more inter-engaging rotatable cutter assemblies
    • BPERFORMING OPERATIONS; TRANSPORTING
    • B02CRUSHING, PULVERISING, OR DISINTEGRATING; PREPARATORY TREATMENT OF GRAIN FOR MILLING
    • B02CCRUSHING, PULVERISING, OR DISINTEGRATING IN GENERAL; MILLING GRAIN
    • B02C18/00Disintegrating by knives or other cutting or tearing members which chop material into fragments
    • B02C18/06Disintegrating by knives or other cutting or tearing members which chop material into fragments with rotating knives
    • B02C18/16Details
    • B02C18/18Knives; Mountings thereof
    • BPERFORMING OPERATIONS; TRANSPORTING
    • B02CRUSHING, PULVERISING, OR DISINTEGRATING; PREPARATORY TREATMENT OF GRAIN FOR MILLING
    • B02CCRUSHING, PULVERISING, OR DISINTEGRATING IN GENERAL; MILLING GRAIN
    • B02C18/00Disintegrating by knives or other cutting or tearing members which chop material into fragments
    • B02C18/06Disintegrating by knives or other cutting or tearing members which chop material into fragments with rotating knives
    • B02C18/16Details
    • B02C18/22Feed or discharge means
    • B02C18/2216Discharge means
    • BPERFORMING OPERATIONS; TRANSPORTING
    • B02CRUSHING, PULVERISING, OR DISINTEGRATING; PREPARATORY TREATMENT OF GRAIN FOR MILLING
    • B02CCRUSHING, PULVERISING, OR DISINTEGRATING IN GENERAL; MILLING GRAIN
    • B02C18/00Disintegrating by knives or other cutting or tearing members which chop material into fragments
    • B02C18/06Disintegrating by knives or other cutting or tearing members which chop material into fragments with rotating knives
    • B02C18/16Details
    • B02C18/24Drives
    • BPERFORMING OPERATIONS; TRANSPORTING
    • B02CRUSHING, PULVERISING, OR DISINTEGRATING; PREPARATORY TREATMENT OF GRAIN FOR MILLING
    • B02CCRUSHING, PULVERISING, OR DISINTEGRATING IN GENERAL; MILLING GRAIN
    • B02C23/00Auxiliary methods or auxiliary devices or accessories specially adapted for crushing or disintegrating not provided for in preceding groups or not specially adapted to apparatus covered by a single preceding group
    • B02C23/08Separating or sorting of material, associated with crushing or disintegrating
    • B02C23/10Separating or sorting of material, associated with crushing or disintegrating with separator arranged in discharge path of crushing or disintegrating zone
    • B02C23/12Separating or sorting of material, associated with crushing or disintegrating with separator arranged in discharge path of crushing or disintegrating zone with return of oversize material to crushing or disintegrating zone
    • BPERFORMING OPERATIONS; TRANSPORTING
    • B08CLEANING
    • B08BCLEANING IN GENERAL; PREVENTION OF FOULING IN GENERAL
    • B08B1/00Cleaning by methods involving the use of tools
    • B08B1/10Cleaning by methods involving the use of tools characterised by the type of cleaning tool
    • B08B1/12Brushes
    • BPERFORMING OPERATIONS; TRANSPORTING
    • B08CLEANING
    • B08BCLEANING IN GENERAL; PREVENTION OF FOULING IN GENERAL
    • B08B1/00Cleaning by methods involving the use of tools
    • B08B1/30Cleaning by methods involving the use of tools by movement of cleaning members over a surface
    • BPERFORMING OPERATIONS; TRANSPORTING
    • B09DISPOSAL OF SOLID WASTE; RECLAMATION OF CONTAMINATED SOIL
    • B09BDISPOSAL OF SOLID WASTE NOT OTHERWISE PROVIDED FOR
    • B09B3/00Destroying solid waste or transforming solid waste into something useful or harmless
    • B09B3/30Destroying solid waste or transforming solid waste into something useful or harmless involving mechanical treatment
    • B09B3/35Shredding, crushing or cutting
    • HELECTRICITY
    • H01ELECTRIC ELEMENTS
    • H01MPROCESSES OR MEANS, e.g. BATTERIES, FOR THE DIRECT CONVERSION OF CHEMICAL ENERGY INTO ELECTRICAL ENERGY
    • H01M10/00Secondary cells; Manufacture thereof
    • H01M10/54Reclaiming serviceable parts of waste accumulators
    • BPERFORMING OPERATIONS; TRANSPORTING
    • B09DISPOSAL OF SOLID WASTE; RECLAMATION OF CONTAMINATED SOIL
    • B09BDISPOSAL OF SOLID WASTE NOT OTHERWISE PROVIDED FOR
    • B09B2101/00Type of solid waste
    • B09B2101/15Electronic waste
    • B09B2101/16Batteries

Landscapes

  • Engineering & Computer Science (AREA)
  • Food Science & Technology (AREA)
  • Environmental & Geological Engineering (AREA)
  • Manufacturing & Machinery (AREA)
  • Chemical & Material Sciences (AREA)
  • Chemical Kinetics & Catalysis (AREA)
  • Electrochemistry (AREA)
  • General Chemical & Material Sciences (AREA)
  • Processing Of Solid Wastes (AREA)

Abstract

The invention provides a new energy automobile battery recovery device, and relates to the field of new energy automobiles. This new energy automobile battery recovery unit, including casing and middle part casing down, equal fixedly connected with a set of stand in the left and right sides through-hole of middle part casing. Drive the action wheel through the starter motor function, the driving gear, broken initiative sword, broken follow and move the sword, from the driving wheel, driven gear, connect from the driving wheel, connect the action wheel, the drive roll, driven voller and transport material area function can be broken the new forms of energy battery who shells, then start vibrating motor function limit alright with filter metal material on the filter collect, the metal that can not fall filters on the filter, carry to the top of carrying the casing then discharge to broken initiative sword and broken follow and move the sword breakage once more between the sword, reciprocating cycle, thereby can improve metal material's recovery efficiency and recovery quality greatly, and the loss is reduced.

Description

一种新能源汽车电池回收装置A new energy vehicle battery recycling device

技术领域technical field

本发明涉及新能源汽车技术领域,具体为一种新能源汽车电池回收装置。The invention relates to the technical field of new energy vehicles, in particular to a new energy vehicle battery recycling device.

背景技术Background technique

新能源汽车是指采用非常规的车用燃料作为动力来源(或使用常规的车用燃料、采用新型车载动力装置),综合车辆的动力控制和驱动方面的先进技术,形成的技术原理先进、具有新技术、新结构的汽车,新能源汽车包括四大类型混合动力电动汽车(HEV)、纯电动汽车(BEV,包括太阳能汽车)、燃料电池电动汽车(FCEV)、其他新能源(如超级电容器、飞轮等高效储能器)汽车等,新能源汽车电池需要进行回收来集中处理。New energy vehicles refer to the use of unconventional vehicle fuels as the power source (or the use of conventional vehicle fuels, the use of new vehicle power units), and the integration of advanced technologies in vehicle power control and drive. Vehicles with new technology and new structure, new energy vehicles include four types of hybrid electric vehicles (HEV), pure electric vehicles (BEV, including solar vehicles), fuel cell electric vehicles (FCEV), other new energy sources (such as super capacitors, High-efficiency energy storage such as flywheels) vehicles, etc., new energy vehicle batteries need to be recycled for centralized processing.

中国专利文献公开了一种新能源电池处理装置申请号201810918802.9,包括底座,所述底座底部的两侧均固定连接有减震弹簧,所述底座的顶部固定连接有处理装置本体,所述处理装置本体的底部连通有出料口,出料口的底部贯穿至底座的底部,处理装置本体的表面固定连接有可视窗。本发明通过减震弹簧、操作面板、控制器、电机、处理装置本体、粉碎齿、粉碎刀片、搅拌叶、第一转轴、筛分板、活动套和第二转轴的相互配合使用下,可对现有的处理装置起到粉碎均匀的效果,解决了原先的处理装置不能对其起到粉碎均匀的效果,导致电池废料出现粉碎大小不一的现象,降低了工作人员工作效率,浪费了工作人员的大量时间,同时也降低了处理装置实用性的问题。上述方案存在着无法彻底分离破碎电池,从而导致其无法有效地将具有回收价值的金属材料有效回收,废旧电池的回收程度较低、损耗大的问题。Chinese patent literature discloses a new energy battery processing device application number 201810918802.9, including a base, both sides of the bottom of the base are fixedly connected with shock-absorbing springs, the top of the base is fixedly connected with a processing device body, the processing device The bottom of the main body is communicated with a discharge port, the bottom of the discharge port penetrates to the bottom of the base, and the surface of the processing device main body is fixedly connected with a viewing window. Through the mutual cooperation of the shock-absorbing spring, the operation panel, the controller, the motor, the processing device body, the crushing teeth, the crushing blade, the stirring blade, the first rotating shaft, the screening plate, the movable sleeve and the second rotating shaft, the invention can The existing processing device has the effect of smashing evenly, which solves the problem that the original processing device cannot achieve the effect of smashing it evenly, resulting in the phenomenon of different sizes of shredded battery waste, which reduces the work efficiency of the staff and wastes the staff. a large amount of time, while also reducing the problem of the practicality of the processing device. The above solution has the problems that the broken batteries cannot be completely separated, so that the metal materials with recycling value cannot be effectively recovered, and the recycling degree of the used batteries is low and the loss is large.

发明内容SUMMARY OF THE INVENTION

针对现有技术的不足,本发明提供了一种新能源汽车电池回收装置,解决了现有新能源汽车电池回收装置无法彻底分离破碎电池,从而导致其无法有效地将具有回收价值的金属材料有效回收,废旧电池的回收程度较低的问题。Aiming at the deficiencies of the prior art, the present invention provides a new energy vehicle battery recycling device, which solves the problem that the existing new energy vehicle battery recycling device cannot completely separate broken batteries, thus causing it to fail to effectively recover metal materials with recycling value. Recycling, the issue of low recycling of used batteries.

为实现以上目的,本发明通过以下技术方案予以实现:一种新能源汽车电池回收装置,包括下壳体和中部壳体,所述中部壳体的左右两侧通孔内均固定连接有一组立柱,每组所述立柱的外部均设置有活动板,所述立柱的外部设置有弹簧一,所述立柱的外部设置有弹簧二,两个所述活动板的内侧之间固定连接有过滤板,所述过滤板的下端安装有振动电机,所述中部壳体的顶端固定连接有上壳体,所述上壳体的外部安装有电机,所述电机的输出端贯穿上壳体固定连接有破碎主动刀,所述破碎主动刀的另一端转动连接在上壳体的内壁上,所述电机的输出端外部固定连接有主动轮,所述电机的输出端外部固定连接有主动齿轮,所述上壳体的内部转动连接有破碎从动刀,所述破碎从动刀的左侧轴端外部固定连接有从动齿轮,所述上壳体的后端固定连接有输送壳体,所述输送壳体的内部顶端通过转轴转动连接有主动辊,所述主动辊的轴侧端贯穿输送壳体并延伸至输送壳体的外部固定连接有从动轮,所述从动轮的左侧端固定连接有连接主动轮,所述输送壳体的内部下端通过转轴转动连接有从动辊,所述主动辊和从动辊之间传动连接有输送料带,所述从动辊的轴端贯穿输送壳体并延伸至输送壳体的外部固定连接有连接从动轮。In order to achieve the above purpose, the present invention is achieved through the following technical solutions: a new energy vehicle battery recovery device, comprising a lower casing and a middle casing, and a group of uprights are fixedly connected in the through holes on the left and right sides of the middle casing. , the outside of each group of the columns is provided with a movable plate, the outside of the column is provided with a spring 1, the outside of the column is provided with a spring 2, and a filter plate is fixedly connected between the inner sides of the two movable plates, The lower end of the filter plate is installed with a vibration motor, the top of the middle shell is fixedly connected with an upper shell, a motor is installed on the outside of the upper shell, and the output end of the motor penetrates the upper shell and is fixedly connected with a broken The driving knife, the other end of the crushing driving knife is rotatably connected to the inner wall of the upper casing, the output end of the motor is fixedly connected with a driving wheel, and the output end of the motor is fixedly connected with a driving gear, and the upper The inside of the casing is rotatably connected with a crushing driven knife, the left shaft end of the crushing driven knife is fixedly connected with a driven gear outside, and the rear end of the upper casing is fixedly connected with a conveying casing. The inner top end of the body is rotatably connected with a driving roller through a rotating shaft, and the shaft side end of the driving roller penetrates the conveying housing and extends to the outside of the conveying housing and is fixedly connected with a driven wheel, and the left end of the driven wheel is fixedly connected with a connection The driving wheel, the inner lower end of the conveying shell is connected with a driven roller through a rotating shaft, and a conveying material belt is drivingly connected between the driving roller and the driven roller, and the shaft end of the driven roller penetrates the conveying shell and A connecting driven wheel is fixedly connected to the outside extending to the conveying housing.

优选的,所述下壳体的下端四角均固定连接有支撑柱,所述中部壳体的下端与下壳体的顶端相连。Preferably, four corners of the lower end of the lower casing are fixedly connected with support columns, and the lower end of the middle casing is connected to the top end of the lower casing.

优选的,所述立柱的外部均与相应位置活动板通孔滑动连接,所述弹簧一的顶端与中部壳体的通孔顶端内壁相连,所述弹簧一的下端与相应位置的活动板顶端相连。Preferably, the outer parts of the uprights are all slidably connected to the through holes of the movable plate at the corresponding positions, the top end of the spring one is connected to the inner wall of the top end of the through hole of the middle casing, and the lower end of the spring one is connected to the top end of the movable plate at the corresponding position. .

优选的,所述弹簧二的顶端与相应位置的活动板下端相连,所述弹簧二的 下端与相应位置中部壳体的通孔内底壁相连,所述过滤板的顶端固定连接有锥柱。Preferably, the top end of the second spring is connected with the lower end of the movable plate at the corresponding position, the lower end of the second spring is connected with the inner bottom wall of the through hole of the middle casing at the corresponding position, and the top end of the filter plate is fixedly connected with a cone column.

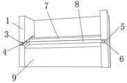
优选的,所述下壳体的左侧内壁设置有滑槽一,所述滑槽一的内部转动连接有螺纹杆,所述螺纹杆的外部螺纹连接有横杆,所述横杆的下端固定连接有毛刷,所述下壳体的右侧内壁设置有滑槽二,所述滑槽二的内部固定连接有固定柱,所述下壳体的内部下端固定连接有导流板。Preferably, a chute 1 is provided on the left inner wall of the lower casing, a threaded rod is rotatably connected inside the chute 1, a cross rod is threadedly connected to the outside of the threaded rod, and the lower end of the cross rod is fixed A brush is connected, a second chute is arranged on the right inner wall of the lower casing, a fixing column is fixedly connected to the inside of the second sliding slot, and a guide plate is fixedly connected to the inner lower end of the lower casing.

优选的,所述毛刷的下端与导流板的顶端相接触,所述横杆的另一端通孔固定柱的外部滑动连接。Preferably, the lower end of the brush is in contact with the top end of the deflector, and the other end of the transverse rod is slidably connected to the outside of the fixed column through the hole.

优选的,所述主动齿轮的外部与从动齿轮的外部啮合连接,所述破碎主动刀的外表面和破碎从动刀的外表面为间隙配合。Preferably, the outside of the driving gear is in meshing connection with the outside of the driven gear, and the outer surface of the crushing driving knife and the outer surface of the crushing driven knife are in clearance fit.

优选的,所述从动轮的外表面和主动轮的外表面之间通过第一皮带传动连接,所述连接主动轮的外表面和连接从动轮的外表面之间通过第二皮带传动连接。Preferably, the outer surface of the driven wheel and the outer surface of the driving wheel are connected by a first belt drive, and the outer surface of the connection drive wheel and the outer surface of the driven wheel are connected by a second belt drive.

优选的,所述螺纹杆的另一端贯穿下壳体并延伸至下壳体的外部固定连接有手轮。Preferably, the other end of the threaded rod penetrates through the lower casing and extends to the outside of the lower casing to be fixedly connected with a handwheel.

优选的,所述下壳体的前端设置有排料口,所述排料口与导流板的输出端相连,所述中部壳体左右两侧通孔外部均固定连接有防尘板。Preferably, the front end of the lower casing is provided with a discharge port, and the discharge port is connected to the output end of the deflector, and dustproof plates are fixedly connected to the outside of the through holes on the left and right sides of the middle casing.

工作原理:启动电机运作带动主动轮、主动齿轮和破碎主动刀进行转动,主动齿轮的转动从而可以带动外部啮合连接的从动齿轮同步转动,从动齿轮的转动会带动破碎从动刀在上壳体的内部同步转动,然后把去掉外壳的新能源电池投放至破碎主动刀和破碎从动刀之间进行破碎,破碎的新能源电池会输送至过滤板的顶端,其中掉落在过滤板上的金属材料会在振动电机的振动作用下不断抖动,其金属材料直径小于过滤板过滤孔直径的会从过滤板的过滤孔掉落至导流板上,然后排出收集,不符合收集要求的会在振动作用和重力作用下向低处滚落并进入至输送料带处,然后在输送料带的输送作用下输送至输送壳体的顶端,然后排出至破碎主动刀和破碎从动刀之间再次破碎,主动轮在转动过程中通过第一皮带会同步带动从动轮进行转动,从动轮的转动会从而带动连接主动轮和主动辊进行转动,连接主动轮的转动会通过第二皮带带动连接从动轮进行同步转动,连接从动轮的转动带动输送壳体内部的从动辊进行同步转动,通过主动辊和从动辊的转动从而带动传动连接的输送料带进行传动,输送料带在传动过程中从而可以把过滤板上过滤不掉的金属材料输送至输送壳体的顶端然后排出至破碎主动刀和破碎从动刀之间再次破碎,往复循环,从而可以使金属材料得到充分破碎并顺利通过过滤板的过滤然后收集利用,结束新能源的电池破碎后,便可以转动手轮带动螺纹杆转动,螺纹杆的转动从而可以带动横杆的一端在滑槽一的内部移动同时带动横杆的另一端在相应位置的滑槽二内移动,横杆在移动过程中会同步带动毛刷在导流板的顶端移动,毛刷在移动过程中从而可以对导流板的顶端进行清扫,把导流板上的残留金属粉末有效的排出利用,提高回收效率。Working principle: start the motor operation to drive the driving wheel, driving gear and crushing driving knife to rotate, the rotation of the driving gear can drive the external meshing connection of the driven gear to rotate synchronously, the rotation of the driven gear will drive the crushing driven knife to rotate on the upper shell The inside of the body rotates synchronously, and then the new energy battery with the outer casing removed is placed between the crushing active knife and the crushing driven knife for crushing. The metal material will continuously vibrate under the vibration of the vibration motor. The metal material whose diameter is smaller than the diameter of the filter hole of the filter plate will fall from the filter hole of the filter plate to the guide plate, and then be discharged and collected. Those that do not meet the collection requirements will be Under the action of vibration and gravity, it rolls down to a lower place and enters the conveying belt, and then is conveyed to the top of the conveying shell under the conveying action of the conveying belt, and then discharged between the crushing active knife and the crushing driven knife again. Broken, the driving wheel will synchronously drive the driven wheel to rotate through the first belt during the rotation process, the rotation of the driven wheel will drive the connecting driving wheel and the driving roller to rotate, and the rotation of the connecting driving wheel will drive the connecting driven wheel through the second belt. Synchronous rotation is carried out, the rotation of the connected driven wheel drives the driven roller inside the conveying shell to rotate synchronously, through the rotation of the driving roller and the driven roller, the conveying belt that is connected to the transmission is driven, and the conveying belt is in the transmission process. The metal material that cannot be filtered on the filter plate can be transported to the top of the conveying shell and then discharged to the crushing active knife and the crushing driven knife for re-crushing and reciprocating cycle, so that the metal material can be fully crushed and smoothly pass through the filter plate. After the new energy battery is broken, the handwheel can be turned to drive the threaded rod to rotate, and the rotation of the threaded rod can drive one end of the crossbar to move inside the chute 1 and drive the other end of the crossbar to rotate. The corresponding position of the chute 2 moves in, and the cross bar will synchronously drive the brush to move at the top of the deflector during the movement process. The residual metal powder can be effectively discharged and utilized to improve the recovery efficiency.

本发明提供了一种新能源汽车电池回收装置。具备以下有益效果:The invention provides a new energy vehicle battery recycling device. Has the following beneficial effects:

1、本发明通过启动电机运作带动主动轮、主动齿轮、破碎主动刀、破碎从动刀、从动轮、从动齿轮、连接从动轮、连接主动轮、主动辊、从动辊和输送料带运作可以对去壳的新能源电池进行破碎,然后启动振动电机运作边便可以把过滤板上过滤金属材料进行收集,过滤板上过滤不掉的金属,输送至输送壳体的顶端然后排出至破碎主动刀和破碎从动刀之间再次破碎,往复循环,从而可以大大提高金属材料的回收效率和回收质量,降低损耗。1. The present invention drives the driving wheel, driving gear, crushing driving knife, crushing driven knife, driven wheel, driven gear, connecting driven wheel, connecting driving wheel, driving roller, driven roller and conveying belt by starting the operation of the motor. It can crush the shelled new energy battery, and then start the vibration motor to collect the metal material filtered on the filter board. The metal that cannot be filtered on the filter board is transported to the top of the conveying shell and then discharged to the crushing machine. The knife and the crushing driven knife are broken again, and the cycle is reciprocating, so that the recovery efficiency and recovery quality of metal materials can be greatly improved, and the loss can be reduced.

2、本发明通过转动手轮带动螺纹杆转动,螺纹杆的转动从而可以带动横杆的一端在滑槽一的内部移动同时带动横杆的另一端在相应位置的滑槽二内移动,横杆在移动过程中会同步带动毛刷在导流板的顶端移动,毛刷在移动过程中从而可以对导流板的顶端进行清扫,把导流板上的残留金属粉末有效的排出利用,提高回收效率。2. The present invention drives the threaded rod to rotate by rotating the handwheel, and the rotation of the threaded rod can drive one end of the cross rod to move inside the chute 1 while driving the other end of the cross rod to move in the corresponding position of the chute 2. During the moving process, the brush will be driven to move at the top of the deflector synchronously. During the movement, the brush can clean the top of the deflector, effectively discharge and utilize the residual metal powder on the deflector, and improve recovery. efficiency.

附图说明Description of drawings

图1为本发明的立体结构示意图;Fig. 1 is the three-dimensional structure schematic diagram of the present invention;

图2为本发明的第一皮带结构示意图;Fig. 2 is the first belt structure schematic diagram of the present invention;

图3为本发明的活动板结构示意图;3 is a schematic structural diagram of a movable plate of the present invention;

图4为本发明的过滤板结构示意图;Fig. 4 is the filter plate structure schematic diagram of the present invention;

图5为本发明的输送料带结构示意图;Figure 5 is a schematic structural diagram of the conveyor belt of the present invention;

图6为本发明的横杆结构示意图。FIG. 6 is a schematic diagram of the structure of the cross bar of the present invention.

其中,1、下壳体;2、支撑柱;3、滑槽一;4、螺纹杆;5、滑槽二;6、固定柱;7、横杆;8、毛刷;9、导流板;10、中部壳体;11、立柱;12、活动板;13、弹簧一;14、弹簧二;15、过滤板;16、锥柱;17、振动电机;18、手轮;19、上壳体;20、电机;21、主动轮;22、破碎主动刀;23、破碎从动刀;24、主动齿轮;25、输送壳体;26、主动辊;27、从动轮;28、连接主动轮;29、第一皮带;30、从动辊;31、输送料带;32、连接从动轮;33、第二皮带;34、排料口;35、从动齿轮。Among them, 1. Lower shell; 2. Support column; 3. Chute 1; 4. Threaded rod; 5. Chute 2; 6. Fixed column; 7. Cross bar; 8. Brush; ; 10, middle shell; 11, column; 12, movable plate; 13, spring one; 14, spring two; 15, filter plate; 16, cone column; 17, vibration motor; 18, hand wheel; 19, upper shell body; 20, motor; 21, driving wheel; 22, crushing driving knife; 23, crushing driven knife; 24, driving gear; 25, conveying shell; 26, driving roller; 27, driven wheel; 28, connecting driving wheel ; 29, the first belt; 30, the driven roller; 31, the conveyor belt; 32, the connecting driven wheel; 33, the second belt; 34, the discharge port; 35, the driven gear.

具体实施方式Detailed ways

下面将结合本发明实施例中的附图,对本发明实施例中的技术方案进行清楚、完整地描述,显然,所描述的实施例仅仅是本发明一部分实施例,而不是全部的实施例。基于本发明中的实施例,本领域普通技术人员在没有做出创造性劳动前提下所获得的所有其他实施例,都属于本发明保护的范围。The technical solutions in the embodiments of the present invention will be clearly and completely described below with reference to the accompanying drawings in the embodiments of the present invention. Obviously, the described embodiments are only a part of the embodiments of the present invention, but not all of the embodiments. Based on the embodiments of the present invention, all other embodiments obtained by those of ordinary skill in the art without creative efforts shall fall within the protection scope of the present invention.

实施例:Example:

如图1-6所示,本发明实施例提供一种新能源汽车电池回收装置,包括下壳体1和中部壳体10,中部壳体10的左右两侧通孔内均固定连接有一组立柱11,每组立柱11的外部均设置有活动板12,立柱11的外部设置有弹簧一13,立柱11的外部设置有弹簧二14,两个活动板12的内侧之间固定连接有过滤板15,过滤板15的前后端具有一定的高度差,过滤板15的下端安装有振动电机17,中部壳体10的顶端固定连接有上壳体19,上壳体19的外部安装有电机20,电机20的输出端贯穿上壳体19固定连接有破碎主动刀22,破碎主动刀22的另一端转动连接在上壳体19的内壁上,电机20的输出端外部固定连接有主动轮21,电机20的输出端外部固定连接有主动齿轮24,上壳体19的内部转动连接有破碎从动刀23,破碎从动刀23的左侧轴端外部固定连接有从动齿轮35,上壳体19的后端固定连接有输送壳体25,输送壳体25的内部顶端通过转轴转动连接有主动辊26,主动辊26的轴侧端贯穿输送壳体25并延伸至输送壳体25的外部固定连接有从动轮27,从动轮27的左侧端固定连接有连接主动轮28,输送壳体25的内部下端通过转轴转动连接有从动辊30,主动辊26和从动辊30之间传动连接有输送料带31,从动辊30的轴端贯穿输送壳体25并延伸至输送壳体25的外部固定连接有连接从动轮32,启动电机20运作带动主动轮21、主动齿轮24和破碎主动刀22进行转动,主动齿轮24的转动从而可以带动外部啮合连接的从动齿轮35同步转动,从动齿轮35的转动会带动破碎从动刀23在上壳体19的内部同步转动,然后把去掉外壳的新能源电池投放至破碎主动刀22和破碎从动刀23之间进行破碎,破碎的新能源电池会输送至过滤板15的顶端,主动轮21在转动过程中通过第一皮带29会同步带动从动轮27进行转动,从动轮27的转动会从而带动连接主动轮28和主动辊26进行转动,连接主动轮28的转动会通过第二皮带33带动连接从动轮32进行同步转动,连接从动轮32的转动带动输送壳体25内部的从动辊30进行同步转动,通过主动辊26和从动辊30的转动从而带动传动连接的输送料带31进行传动,输送料带31在传动过程中从而可以把过滤板15上过滤不掉的金属材料输送至输送壳体25的顶端然后排出至破碎主动刀22和破碎从动刀23之间再次破碎,往复循环,从而可以使金属材料得到充分破碎并顺利通过过滤板15的过滤然后收集利用,其中掉落在过滤板15上的金属材料会在振动电机17的振动作用下不断抖动,其金属材料直径小于过滤板15过滤孔直径的会从过滤板15的过滤孔掉落至导流板9上,然后排出收集,不符合收集要求的会在振动作用和重力作用下向低处滚落并进入至输送料带31处,然后在输送料带31的输送作用下输送至输送壳体25的顶端,然后排出至破碎主动刀22和破碎从动刀23之间再次破碎。As shown in FIGS. 1-6 , an embodiment of the present invention provides a new energy vehicle battery recycling device, including a lower casing 1 and a middle casing 10 , and a group of uprights are fixedly connected to the through holes on the left and right sides of the middle casing 10 . 11. Each group of vertical columns 11 is provided with a movable plate 12 on the outside, a spring one 13 is provided on the outside of the vertical column 11, a spring two 14 is provided on the outside of the vertical column 11, and a filter plate 15 is fixedly connected between the inner sides of the two movable plates 12. , the front and rear ends of the filter plate 15 have a certain height difference, the lower end of the filter plate 15 is installed with a vibration motor 17, the top of the middle casing 10 is fixedly connected to the upper casing 19, and the outside of the upper casing 19 is installed with a motor 20. The output end of the motor 20 is fixedly connected with the crushing active knife 22 through the upper casing 19, and the other end of the crushing active knife 22 is rotatably connected to the inner wall of the upper casing 19. A driving gear 24 is fixedly connected to the outside of the output end of the upper casing 19, a crushing driven knife 23 is rotatably connected to the inside of the upper casing 19, and a driven gear 35 is fixedly connected to the outside of the left shaft end of the crushing driven knife 23. The rear end is fixedly connected with the conveying housing 25 , the inner top of the conveying housing 25 is connected with the driving roller 26 through the rotation of the shaft, and the shaft side end of the driving roller 26 penetrates the conveying housing 25 and extends to the outside of the conveying housing 25 and is fixedly connected with a The driven wheel 27, the left end of the driven wheel 27 is fixedly connected with the connecting driving wheel 28, the inner lower end of the conveying housing 25 is connected with the driven roller 30 through the rotation of the rotating shaft, and the driving roller 26 and the driven roller 30 are connected by a transmission drive. The feed belt 31, the shaft end of the driven roller 30 penetrates through the conveying casing 25 and extends to the outside of the conveying casing 25 and is fixedly connected with a connecting driven wheel 32, and the starter motor 20 operates to drive the driving wheel 21, the driving gear 24 and the crushing driving knife 22 Rotation, the rotation of the driving gear 24 can drive the driven gear 35 connected externally to rotate synchronously, and the rotation of the driven gear 35 will drive the crushing driven knife 23 to rotate synchronously inside the upper casing 19, and then remove the outer casing. The new energy battery is put into the crushing active knife 22 and the crushing driven knife 23 for crushing. The crushed new energy battery will be transported to the top of the filter plate 15. During the rotation process of the driving wheel 21, the first belt 29 will synchronously drive the The driving wheel 27 rotates, the rotation of the driven wheel 27 will drive the connecting driving wheel 28 and the driving roller 26 to rotate, the rotation of the connecting driving wheel 28 will drive the connecting driven wheel 32 to rotate synchronously through the second belt 33, and the The rotation drives the driven roller 30 inside the conveying housing 25 to rotate synchronously, and through the rotation of the driving roller 26 and the driven roller 30, the conveying belt 31 connected to the transmission is driven for transmission. During the transmission process, the conveying belt 31 can The metal material that cannot be filtered on the filter plate 15 is transported to the top of the conveying housing 25 and then discharged to the crushing active knife 22 and the crushing driven knife 23 for re-crushing and reciprocating circulation, so that the metal material can be fully crushed and passed smoothly. Filtration of filter plate 15 followed by collection Utilization, wherein the metal material dropped on the filter plate 15 will continuously shake under the vibration of the vibration motor 17, and the metal material whose diameter is smaller than the diameter of the filter hole of the filter plate 15 will fall from the filter hole of the filter plate 15 to the diversion. Plate 9, and then discharged for collection. Those that do not meet the collection requirements will roll down to a lower place under the action of vibration and gravity and enter the conveying belt 31, and then be conveyed to the conveying shell under the conveying action of the conveying belt 31. 25, and then discharged to between the crushing active blade 22 and the crushing driven blade 23 to be crushed again.

下壳体1的下端四角均固定连接有支撑柱2,通过支撑柱2可以对其装置起支撑作用,中部壳体10的下端与下壳体1的顶端相连。The four corners of the lower end of the lower casing 1 are fixedly connected with support columns 2 , through which the device can be supported.

立柱11的外部均与相应位置活动板12通孔滑动连接,从而可以实现活动板12在立柱11外部滑动,弹簧一13的顶端与中部壳体10的通孔顶端内壁相连,弹簧一13的下端与相应位置的活动板12顶端相连,通过弹簧一13可以对活动板12起到弹性减震复位的作用。The outside of the column 11 is slidably connected with the through hole of the movable plate 12 at the corresponding position, so that the movable plate 12 can be slid outside the column 11. The top end of the spring one 13 is connected to the inner wall of the top end of the through hole of the middle casing 10, and the lower end of the spring one 13 is connected. It is connected with the top end of the movable plate 12 at the corresponding position, and the movable plate 12 can be elastically damped and reset by the spring one 13 .

弹簧二14的顶端与相应位置的活动板12下端相连,弹簧二14的 下端与相应位置中部壳体10的通孔内底壁相连,通过弹簧二14可以对活动板12起到弹性减震复位的作用,过滤板15的顶端固定连接有锥柱16,通过锥柱16可以对过滤板15上的物料进行导向,把振动电机17顶端的物料分散至过滤板15的外部区域。The top end of the second spring 14 is connected with the lower end of the movable plate 12 at the corresponding position, and the lower end of the second spring 14 is connected with the inner bottom wall of the through hole of the middle casing 10 at the corresponding position. The movable plate 12 can be elastically damped and reset by the second spring 14 The top of the filter plate 15 is fixedly connected with a cone column 16, through which the material on the filter plate 15 can be guided, and the material at the top of the vibration motor 17 is dispersed to the outer area of the filter plate 15.

下壳体1的左侧内壁设置有滑槽一3,滑槽一3的内部转动连接有螺纹杆4,螺纹杆4的外部螺纹连接有横杆7,横杆7的下端固定连接有毛刷8,下壳体1的右侧内壁设置有滑槽二5,滑槽二5的内部固定连接有固定柱6,下壳体1的内部下端固定连接有导流板9,毛刷8的下端与导流板9的顶端相接触,横杆7的另一端通孔固定柱6的外部滑动连接,螺纹杆4的转动从而可以带动横杆7的一端在滑槽一3的内部移动同时带动横杆7的另一端在相应位置的滑槽二5内移动,横杆7在移动过程中会同步带动毛刷8在导流板9的顶端移动,毛刷8在移动过程中从而可以对导流板9的顶端进行清扫,把导流板9上的残留金属粉末有效的排出利用,提高回收效率。The left inner wall of the lower casing 1 is provided with a chute 1 3, a threaded rod 4 is rotatably connected to the inside of the chute 1 3, a cross bar 7 is threadedly connected to the outside of the threaded rod 4, and a brush is fixedly connected to the lower end of the cross rod 7 8. The inner wall on the right side of the lower casing 1 is provided with a second chute 5, the inner part of the second chute 5 is fixedly connected with a fixing column 6, the inner lower end of the lower casing 1 is fixedly connected with a deflector 9, and the lower end of the brush 8 is fixedly connected. In contact with the top end of the deflector 9, the other end of the cross bar 7 is slidably connected to the outside of the fixed column 6 through the hole, and the rotation of the threaded rod 4 can drive one end of the cross bar 7 to move inside the chute 3 and drive the The other end of the rod 7 moves in the chute 2 5 at the corresponding position, and the transverse rod 7 will synchronously drive the brush 8 to move at the top of the deflector 9 during the movement process. The top of the plate 9 is cleaned, and the residual metal powder on the deflector 9 is effectively discharged and utilized, and the recovery efficiency is improved.

主动齿轮24的外部与从动齿轮35的外部啮合连接,从而可以实现主动齿轮24的转动带动从动齿轮35同步转动,破碎主动刀22的外表面和破碎从动刀23的外表面为间隙配合,通过破碎主动刀22和破碎从动刀23的间隙配合从而可以把新能源电池进行挤压粉碎。The outside of the driving gear 24 is meshed with the outside of the driven gear 35, so that the rotation of the driving gear 24 can drive the driven gear 35 to rotate synchronously. , the new energy battery can be squeezed and crushed by the clearance fit between the crushing active blade 22 and the crushing driven blade 23 .

从动轮27的外表面和主动轮21的外表面之间通过第一皮带29传动连接,通过该方式从而可以实现电机20的转动同步带动从动轮27的转动,连接主动轮28的外表面和连接从动轮32的外表面之间通过第二皮带33传动连接,通过从动轮27的转动会同步带动连接主动轮28的转动,连接主动轮28的转动从而通过第二皮带33带动连接从动轮32的转动,连接从动轮32的转动便可以实现从动辊30和主动辊26之间的传动。The outer surface of the driven wheel 27 and the outer surface of the driving wheel 21 are connected by a transmission through the first belt 29. In this way, the rotation of the motor 20 can synchronously drive the rotation of the driven wheel 27, and the outer surface of the driving wheel 28 is connected with the connection The outer surfaces of the driven pulleys 32 are connected by a transmission through the second belt 33 . The rotation of the driven pulley 27 will simultaneously drive the rotation of the connecting drive pulley 28 , and the rotation of the connecting drive pulley 28 will drive the connecting pulley 32 through the second belt 33 . Rotation, connecting the rotation of the driven wheel 32 can realize the transmission between the driven roller 30 and the driving roller 26 .

螺纹杆4的另一端贯穿下壳体1并延伸至下壳体1的外部固定连接有手轮18,通过转动手轮18可以带动螺纹杆4在滑槽一3的内部转动。The other end of the threaded rod 4 penetrates through the lower casing 1 and extends to the outside of the lower casing 1 and is fixedly connected with a hand wheel 18 .

下壳体1的前端设置有排料口34,通过排料口34从而可以把有价值的金属材料进行排出并收集,排料口34与导流板9的输出端相连,中部壳体10左右两侧通孔外部均固定连接有防尘板。The front end of the lower casing 1 is provided with a discharge port 34 through which valuable metal materials can be discharged and collected. The discharge port 34 is connected to the output end of the deflector 9, and the middle casing 10 A dustproof plate is fixedly connected to the outside of the through holes on both sides.

尽管已经示出和描述了本发明的实施例,对于本领域的普通技术人员而言,可以理解在不脱离本发明的原理和精神的情况下可以对这些实施例进行多种变化、修改、替换和变型,本发明的范围由所附权利要求及其等同物限定。Although embodiments of the present invention have been shown and described, it will be understood by those skilled in the art that various changes, modifications, and substitutions can be made in these embodiments without departing from the principle and spirit of the invention and modifications, the scope of the invention is defined by the appended claims and their equivalents.

Claims (10)

1.一种新能源汽车电池回收装置,包括下壳体(1)和中部壳体(10),其特征在于:所述中部壳体(10)的左右两侧通孔内均固定连接有一组立柱(11),每组所述立柱(11)的外部均设置有活动板(12),所述立柱(11)的外部设置有弹簧一(13),所述立柱(11)的外部设置有弹簧二(14),两个所述活动板(12)的内侧之间固定连接有过滤板(15),所述过滤板(15)的下端安装有振动电机(17),所述中部壳体(10)的顶端固定连接有上壳体(19),所述上壳体(19)的外部安装有电机(20),所述电机(20)的输出端贯穿上壳体(19)固定连接有破碎主动刀(22),所述破碎主动刀(22)的另一端转动连接在上壳体(19)的内壁上,所述电机(20)的输出端外部固定连接有主动轮(21),所述电机(20)的输出端外部固定连接有主动齿轮(24),所述上壳体(19)的内部转动连接有破碎从动刀(23),所述破碎从动刀(23)的左侧轴端外部固定连接有从动齿轮(35),所述上壳体(19)的后端固定连接有输送壳体(25),所述输送壳体(25)的内部顶端通过转轴转动连接有主动辊(26),所述主动辊(26)的轴侧端贯穿输送壳体(25)并延伸至输送壳体(25)的外部固定连接有从动轮(27),所述从动轮(27)的左侧端固定连接有连接主动轮(28),所述输送壳体(25)的内部下端通过转轴转动连接有从动辊(30),所述主动辊(26)和从动辊(30)之间传动连接有输送料带(31),所述从动辊(30)的轴端贯穿输送壳体(25)并延伸至输送壳体(25)的外部固定连接有连接从动轮(32)。1. A new energy vehicle battery recycling device, comprising a lower casing (1) and a middle casing (10), characterized in that a set of through holes on the left and right sides of the middle casing (10) are fixedly connected to each other. Uprights (11), each group of the uprights (11) is provided with a movable plate (12) outside, the upright (11) is provided with a spring one (13) outside, and the upright (11) is provided with a spring Two springs (14), a filter plate (15) is fixedly connected between the inner sides of the two movable plates (12), a vibration motor (17) is installed on the lower end of the filter plate (15), and the middle shell The top end of (10) is fixedly connected with an upper casing (19), a motor (20) is mounted on the outside of the upper casing (19), and the output end of the motor (20) is fixedly connected through the upper casing (19) There is a crushing active knife (22), the other end of the crushing active knife (22) is rotatably connected to the inner wall of the upper casing (19), and the output end of the motor (20) is fixedly connected with a driving wheel (21) outside , a driving gear (24) is fixedly connected to the output end of the motor (20), and a crushing driven knife (23) is rotatably connected to the interior of the upper casing (19). The crushing driven knife (23) A driven gear (35) is fixedly connected to the outside of the left shaft end of the upper casing (19), a conveying casing (25) is fixedly connected to the rear end of the upper casing (19), and the inner top of the conveying casing (25) passes through the rotating shaft A driving roller (26) is rotatably connected, and the shaft side end of the driving roller (26) penetrates the conveying housing (25) and extends to the outside of the conveying housing (25) and is fixedly connected with a driven wheel (27). The left end of the driving wheel (27) is fixedly connected with the connecting driving wheel (28), and the inner lower end of the conveying casing (25) is connected with the driven roller (30) through the rotation of the shaft. A conveying material belt (31) is drivingly connected between the driven rollers (30), and the shaft end of the driven roller (30) penetrates through the conveying housing (25) and extends to the outside of the conveying housing (25) and is fixedly connected with a connection Driven wheel (32). 2.根据权利要求1所述的一种新能源汽车电池回收装置,其特征在于:所述下壳体(1)的下端四角均固定连接有支撑柱(2),所述中部壳体(10)的下端与下壳体(1)的顶端相连。2. A new energy vehicle battery recycling device according to claim 1, characterized in that: the four corners of the lower end of the lower casing (1) are fixedly connected with support columns (2), and the middle casing (10) ) is connected to the top of the lower casing (1). 3.根据权利要求1所述的一种新能源汽车电池回收装置,其特征在于:所述立柱(11)的外部均与相应位置活动板(12)通孔滑动连接,所述弹簧一(13)的顶端与中部壳体(10)的通孔顶端内壁相连,所述弹簧一(13)的下端与相应位置的活动板(12)顶端相连。3. A new energy vehicle battery recovery device according to claim 1, characterized in that: the outside of the upright column (11) is slidably connected with the through hole of the movable plate (12) at the corresponding position, and the spring one (13) ) is connected with the inner wall of the top end of the through hole of the middle casing (10), and the lower end of the spring one (13) is connected with the top end of the movable plate (12) at the corresponding position. 4.根据权利要求1所述的一种新能源汽车电池回收装置,其特征在于:所述弹簧二(14)的顶端与相应位置的活动板(12)下端相连,所述弹簧二(14)的 下端与相应位置中部壳体(10)的通孔内底壁相连,所述过滤板(15)的顶端固定连接有锥柱(16)。4. A new energy vehicle battery recovery device according to claim 1, characterized in that: the top end of the second spring (14) is connected to the lower end of the movable plate (12) at the corresponding position, and the second spring (14) The lower end of the filter plate (15) is connected with the inner bottom wall of the through hole of the middle casing (10) at the corresponding position, and the top end of the filter plate (15) is fixedly connected with a cone column (16). 5.根据权利要求1所述的一种新能源汽车电池回收装置,其特征在于:所述下壳体(1)的左侧内壁设置有滑槽一(3),所述滑槽一(3)的内部转动连接有螺纹杆(4),所述螺纹杆(4)的外部螺纹连接有横杆(7),所述横杆(7)的下端固定连接有毛刷(8),所述下壳体(1)的右侧内壁设置有滑槽二(5),所述滑槽二(5)的内部固定连接有固定柱(6),所述下壳体(1)的内部下端固定连接有导流板(9)。5. A new energy vehicle battery recycling device according to claim 1, characterized in that: the left inner wall of the lower casing (1) is provided with a chute one (3), the chute one (3) ) is rotatably connected with a threaded rod (4), the external thread of the threaded rod (4) is connected with a transverse rod (7), and the lower end of the transverse rod (7) is fixedly connected with a brush (8). The right inner wall of the lower casing (1) is provided with a second chute (5), the interior of the second chute (5) is fixedly connected with a fixing column (6), and the inner lower end of the lower shell (1) is fixed A deflector (9) is attached. 6.根据权利要求5所述的一种新能源汽车电池回收装置,其特征在于:所述毛刷(8)的下端与导流板(9)的顶端相接触,所述横杆(7)的另一端通孔固定柱(6)的外部滑动连接。6. A new energy vehicle battery recycling device according to claim 5, characterized in that: the lower end of the brush (8) is in contact with the top end of the deflector (9), and the cross bar (7) The other end of the through hole is fixed to the external sliding connection of the post (6). 7.根据权利要求1所述的一种新能源汽车电池回收装置,其特征在于:所述主动齿轮(24)的外部与从动齿轮(35)的外部啮合连接,所述破碎主动刀(22)的外表面和破碎从动刀(23)的外表面为间隙配合。7. A new energy vehicle battery recovery device according to claim 1, characterized in that: the outside of the driving gear (24) is meshed with the outside of the driven gear (35), and the crushing driving knife (22) ) and the outer surface of the crushing driven knife (23) are clearance fit. 8.根据权利要求1所述的一种新能源汽车电池回收装置,其特征在于:所述从动轮(27)的外表面和主动轮(21)的外表面之间通过第一皮带(29)传动连接,所述连接主动轮(28)的外表面和连接从动轮(32)的外表面之间通过第二皮带(33)传动连接。8. A new energy vehicle battery recycling device according to claim 1, characterized in that: a first belt (29) passes between the outer surface of the driven wheel (27) and the outer surface of the driving wheel (21) In the transmission connection, the outer surface of the connection driving pulley (28) and the outer surface of the connection driven pulley (32) are in a transmission connection through a second belt (33). 9.根据权利要求5所述的一种新能源汽车电池回收装置,其特征在于:所述螺纹杆(4)的另一端贯穿下壳体(1)并延伸至下壳体(1)的外部固定连接有手轮(18)。9. A new energy vehicle battery recycling device according to claim 5, characterized in that: the other end of the threaded rod (4) penetrates through the lower casing (1) and extends to the outside of the lower casing (1). A handwheel (18) is fixedly connected. 10.根据权利要求1所述的一种新能源汽车电池回收装置,其特征在于:所述下壳体(1)的前端设置有排料口(34),所述排料口(34)与导流板(9)的输出端相连,所述中部壳体(10)左右两侧通孔外部均固定连接有防尘板。10. A new energy vehicle battery recycling device according to claim 1, characterized in that: a discharge port (34) is provided at the front end of the lower casing (1), and the discharge port (34) is connected with the discharge port (34). The output ends of the deflector (9) are connected, and dustproof plates are fixedly connected to the outside of the through holes on the left and right sides of the middle casing (10).
CN202210499522.5A 2022-05-09 2022-05-09 New energy automobile battery recovery unit Pending CN114798112A (en)

Priority Applications (1)

Application Number Priority Date Filing Date Title
CN202210499522.5A CN114798112A (en) 2022-05-09 2022-05-09 New energy automobile battery recovery unit

Applications Claiming Priority (1)

Application Number Priority Date Filing Date Title
CN202210499522.5A CN114798112A (en) 2022-05-09 2022-05-09 New energy automobile battery recovery unit

Publications (1)

Publication Number Publication Date
CN114798112A true CN114798112A (en) 2022-07-29

Family

ID=82514195

Family Applications (1)

Application Number Title Priority Date Filing Date
CN202210499522.5A Pending CN114798112A (en) 2022-05-09 2022-05-09 New energy automobile battery recovery unit

Country Status (1)

Country Link
CN (1) CN114798112A (en)

Cited By (6)

* Cited by examiner, † Cited by third party
Publication number Priority date Publication date Assignee Title
CN115301694A (en) * 2022-08-09 2022-11-08 严松法 Convenient categorised new energy automobile battery processing system that retrieves fast
CN115351045A (en) * 2022-08-29 2022-11-18 广东福利龙复合肥有限公司 Organic material space multilayer static aerobic fermentation system and fermentation method thereof
CN116237339A (en) * 2023-03-02 2023-06-09 宁夏德贤建筑工程有限公司 Recovery device and method for photovoltaic module
CN117206308A (en) * 2023-11-09 2023-12-12 全南县瑞隆科技有限公司 A waste lithium battery crushing and recycling device
CN118023263A (en) * 2024-04-12 2024-05-14 中城院(北京)环境科技股份有限公司 Kitchen waste treatment device
WO2025065202A1 (en) * 2023-09-26 2025-04-03 广东邦普循环科技有限公司 Battery crushing apparatus

Citations (13)

* Cited by examiner, † Cited by third party
Publication number Priority date Publication date Assignee Title
CN106563554A (en) * 2016-11-02 2017-04-19 郑州仁宏医药科技有限公司 Simple chemical engineering pharmaceutical granulator
CN108745555A (en) * 2018-08-02 2018-11-06 芜湖水淼环保科技有限公司 A kind of novel household garbage grinding device
CN209302881U (en) * 2018-11-15 2019-08-27 恒盛高科(天津)生物技术有限公司 A kind of feed processing grinding device with circulation crushing function
CN209646670U (en) * 2019-03-01 2019-11-19 江苏萌达新材料科技有限公司 A kind of continous way crushing and screening device
CN112427134A (en) * 2020-10-31 2021-03-02 岳秋香 Crushing and screening device for graphene production and using method thereof
CN214234413U (en) * 2020-11-10 2021-09-21 洪江市鑫启源粉业有限责任公司 Smash effectual food preparation machine
CN214346741U (en) * 2020-11-09 2021-10-08 湖南春绿农业科技有限公司 A kind of crusher for sweet potato starch processing
CN214637113U (en) * 2020-08-26 2021-11-09 登封市武都磨料磨具有限公司 Sand section device of brown corundum abrasive material
CN214808901U (en) * 2021-05-31 2021-11-23 四川澳博环保科技有限公司 Sewage circulation treatment device
CN215396792U (en) * 2021-08-18 2022-01-04 浙江永韬新材料有限公司 A twin-screw extruder for the production of degradable materials for express bags
CN215506976U (en) * 2021-06-03 2022-01-14 天津津盛人力资源有限公司 A concrete treatment device for construction engineering
CN114210403A (en) * 2021-12-13 2022-03-22 王秀丹 Straw crushing device
CN114308205A (en) * 2021-12-11 2022-04-12 深圳市雄鹰清洁服务有限公司 Equipment capable of realizing crushing treatment of waste furniture

Patent Citations (13)

* Cited by examiner, † Cited by third party
Publication number Priority date Publication date Assignee Title
CN106563554A (en) * 2016-11-02 2017-04-19 郑州仁宏医药科技有限公司 Simple chemical engineering pharmaceutical granulator
CN108745555A (en) * 2018-08-02 2018-11-06 芜湖水淼环保科技有限公司 A kind of novel household garbage grinding device
CN209302881U (en) * 2018-11-15 2019-08-27 恒盛高科(天津)生物技术有限公司 A kind of feed processing grinding device with circulation crushing function
CN209646670U (en) * 2019-03-01 2019-11-19 江苏萌达新材料科技有限公司 A kind of continous way crushing and screening device
CN214637113U (en) * 2020-08-26 2021-11-09 登封市武都磨料磨具有限公司 Sand section device of brown corundum abrasive material
CN112427134A (en) * 2020-10-31 2021-03-02 岳秋香 Crushing and screening device for graphene production and using method thereof
CN214346741U (en) * 2020-11-09 2021-10-08 湖南春绿农业科技有限公司 A kind of crusher for sweet potato starch processing
CN214234413U (en) * 2020-11-10 2021-09-21 洪江市鑫启源粉业有限责任公司 Smash effectual food preparation machine
CN214808901U (en) * 2021-05-31 2021-11-23 四川澳博环保科技有限公司 Sewage circulation treatment device
CN215506976U (en) * 2021-06-03 2022-01-14 天津津盛人力资源有限公司 A concrete treatment device for construction engineering
CN215396792U (en) * 2021-08-18 2022-01-04 浙江永韬新材料有限公司 A twin-screw extruder for the production of degradable materials for express bags
CN114308205A (en) * 2021-12-11 2022-04-12 深圳市雄鹰清洁服务有限公司 Equipment capable of realizing crushing treatment of waste furniture
CN114210403A (en) * 2021-12-13 2022-03-22 王秀丹 Straw crushing device

Cited By (10)

* Cited by examiner, † Cited by third party
Publication number Priority date Publication date Assignee Title
CN115301694A (en) * 2022-08-09 2022-11-08 严松法 Convenient categorised new energy automobile battery processing system that retrieves fast
CN115301694B (en) * 2022-08-09 2023-10-27 山东鑫聚金属科技有限公司 New energy automobile battery processing system convenient and rapid to recycle and classify
CN115351045A (en) * 2022-08-29 2022-11-18 广东福利龙复合肥有限公司 Organic material space multilayer static aerobic fermentation system and fermentation method thereof
CN115351045B (en) * 2022-08-29 2023-08-04 广东福利龙复合肥有限公司 Organic material space multilayer static aerobic fermentation system and fermentation method thereof
CN116237339A (en) * 2023-03-02 2023-06-09 宁夏德贤建筑工程有限公司 Recovery device and method for photovoltaic module
CN116237339B (en) * 2023-03-02 2023-12-05 宁夏德贤建筑工程有限公司 Recovery device and method for photovoltaic module
WO2025065202A1 (en) * 2023-09-26 2025-04-03 广东邦普循环科技有限公司 Battery crushing apparatus
CN117206308A (en) * 2023-11-09 2023-12-12 全南县瑞隆科技有限公司 A waste lithium battery crushing and recycling device
CN117206308B (en) * 2023-11-09 2024-02-23 全南县瑞隆科技有限公司 Broken recovery unit of old and useless lithium cell
CN118023263A (en) * 2024-04-12 2024-05-14 中城院(北京)环境科技股份有限公司 Kitchen waste treatment device

Similar Documents

Publication Publication Date Title
CN114798112A (en) New energy automobile battery recovery unit
CN113798010A (en) Crushing and screening device for biomass steam generator
CN216172723U (en) Crushing device for powder production workshop of stewing process
CN215087633U (en) High-efficient rubbing crusher is used in biological medicine production
CN115254905B (en) Extraction device for extracting nickel sulfate from waste lithium battery
CN208449428U (en) A kind of Novel stone processing system
CN214974697U (en) Lithium battery recycling equipment with screening function
CN208627383U (en) A kind of construction crusher
CN221208283U (en) Gypsum board recycle reducing mechanism
CN220129251U (en) Waste plastic processing, recycling and regenerating device
CN218796176U (en) Waste chemical fiber cloth crushing and recycling device
CN118491642A (en) Lyocell fiber raw material crushing treatment equipment with efficient fine crushing function
CN214636828U (en) Solid waste pretreatment processing device
CN116352922A (en) Plastic waste recycling device
CN210965901U (en) Screening device for solid waste treatment
CN116689084A (en) Dangerous waste pretreatment equipment
CN221905938U (en) A solid-liquid separation device for renewable resources
CN221208423U (en) Environment-friendly recycled concrete production is with reducing mechanism
CN222343771U (en) Urban solid waste treatment device
CN222919293U (en) A crushing and processing equipment for resource recycling
CN222930884U (en) Construction waste breaker
CN222642133U (en) New energy battery recycling, crushing and screening device
CN113477336A (en) Municipal construction waste environment-friendly recovery device and use method thereof
CN220969249U (en) Slag collecting device
CN219964997U (en) Useless rock wool retrieval and utilization device is used in rock wool production

Legal Events

Date Code Title Description
PB01 Publication
PB01 Publication
SE01 Entry into force of request for substantive examination
SE01 Entry into force of request for substantive examination
WD01 Invention patent application deemed withdrawn after publication

Application publication date: 20220729

WD01 Invention patent application deemed withdrawn after publication