CN114744505A - Strong-current and weak-current integrated control cabinet - Google Patents
Strong-current and weak-current integrated control cabinet Download PDFInfo
- Publication number
- CN114744505A CN114744505A CN202210503936.0A CN202210503936A CN114744505A CN 114744505 A CN114744505 A CN 114744505A CN 202210503936 A CN202210503936 A CN 202210503936A CN 114744505 A CN114744505 A CN 114744505A
- Authority
- CN
- China
- Prior art keywords
- strong
- weak current
- control cabinet
- integrated control
- weak
- Prior art date
- Legal status (The legal status is an assumption and is not a legal conclusion. Google has not performed a legal analysis and makes no representation as to the accuracy of the status listed.)
- Pending
Links
- 230000005540 biological transmission Effects 0.000 claims abstract description 25
- 230000005611 electricity Effects 0.000 claims abstract description 15
- 238000007789 sealing Methods 0.000 claims abstract description 12
- 239000000428 dust Substances 0.000 claims description 17
- 239000004020 conductor Substances 0.000 claims description 15
- 238000005192 partition Methods 0.000 claims description 14
- 230000017525 heat dissipation Effects 0.000 claims description 12
- 238000003466 welding Methods 0.000 claims description 5
- 239000010687 lubricating oil Substances 0.000 claims description 3
- 230000004888 barrier function Effects 0.000 abstract 2
- 238000009413 insulation Methods 0.000 abstract 1
- 238000001816 cooling Methods 0.000 description 9
- 238000009434 installation Methods 0.000 description 8
- 230000003245 working effect Effects 0.000 description 7
- 230000000694 effects Effects 0.000 description 3
- 239000012634 fragment Substances 0.000 description 2
- 230000001681 protective effect Effects 0.000 description 2
- 230000002159 abnormal effect Effects 0.000 description 1
- 230000009286 beneficial effect Effects 0.000 description 1
- 238000009429 electrical wiring Methods 0.000 description 1
- 238000001914 filtration Methods 0.000 description 1
- 239000002184 metal Substances 0.000 description 1
- 230000005855 radiation Effects 0.000 description 1
- 125000006850 spacer group Chemical group 0.000 description 1
- 230000008093 supporting effect Effects 0.000 description 1
Images
Classifications
-
- H—ELECTRICITY
- H02—GENERATION; CONVERSION OR DISTRIBUTION OF ELECTRIC POWER
- H02B—BOARDS, SUBSTATIONS OR SWITCHING ARRANGEMENTS FOR THE SUPPLY OR DISTRIBUTION OF ELECTRIC POWER
- H02B1/00—Frameworks, boards, panels, desks, casings; Details of substations or switching arrangements
- H02B1/26—Casings; Parts thereof or accessories therefor
- H02B1/30—Cabinet-type casings; Parts thereof or accessories therefor
-
- H—ELECTRICITY
- H02—GENERATION; CONVERSION OR DISTRIBUTION OF ELECTRIC POWER
- H02B—BOARDS, SUBSTATIONS OR SWITCHING ARRANGEMENTS FOR THE SUPPLY OR DISTRIBUTION OF ELECTRIC POWER
- H02B1/00—Frameworks, boards, panels, desks, casings; Details of substations or switching arrangements
- H02B1/20—Bus-bar or other wiring layouts, e.g. in cubicles, in switchyards
- H02B1/202—Cable lay-outs
-
- H—ELECTRICITY
- H02—GENERATION; CONVERSION OR DISTRIBUTION OF ELECTRIC POWER
- H02B—BOARDS, SUBSTATIONS OR SWITCHING ARRANGEMENTS FOR THE SUPPLY OR DISTRIBUTION OF ELECTRIC POWER
- H02B1/00—Frameworks, boards, panels, desks, casings; Details of substations or switching arrangements
- H02B1/26—Casings; Parts thereof or accessories therefor
- H02B1/28—Casings; Parts thereof or accessories therefor dustproof, splashproof, drip-proof, waterproof or flameproof
-
- H—ELECTRICITY
- H02—GENERATION; CONVERSION OR DISTRIBUTION OF ELECTRIC POWER
- H02B—BOARDS, SUBSTATIONS OR SWITCHING ARRANGEMENTS FOR THE SUPPLY OR DISTRIBUTION OF ELECTRIC POWER
- H02B1/00—Frameworks, boards, panels, desks, casings; Details of substations or switching arrangements
- H02B1/26—Casings; Parts thereof or accessories therefor
- H02B1/30—Cabinet-type casings; Parts thereof or accessories therefor
- H02B1/306—Accessories, e.g. windows
-
- H—ELECTRICITY
- H02—GENERATION; CONVERSION OR DISTRIBUTION OF ELECTRIC POWER
- H02B—BOARDS, SUBSTATIONS OR SWITCHING ARRANGEMENTS FOR THE SUPPLY OR DISTRIBUTION OF ELECTRIC POWER
- H02B1/00—Frameworks, boards, panels, desks, casings; Details of substations or switching arrangements
- H02B1/26—Casings; Parts thereof or accessories therefor
- H02B1/30—Cabinet-type casings; Parts thereof or accessories therefor
- H02B1/32—Mounting of devices therein
- H02B1/34—Racks
-
- H—ELECTRICITY
- H02—GENERATION; CONVERSION OR DISTRIBUTION OF ELECTRIC POWER
- H02B—BOARDS, SUBSTATIONS OR SWITCHING ARRANGEMENTS FOR THE SUPPLY OR DISTRIBUTION OF ELECTRIC POWER
- H02B1/00—Frameworks, boards, panels, desks, casings; Details of substations or switching arrangements
- H02B1/26—Casings; Parts thereof or accessories therefor
- H02B1/30—Cabinet-type casings; Parts thereof or accessories therefor
- H02B1/32—Mounting of devices therein
- H02B1/34—Racks
- H02B1/36—Racks with withdrawable units
-
- H—ELECTRICITY
- H02—GENERATION; CONVERSION OR DISTRIBUTION OF ELECTRIC POWER
- H02B—BOARDS, SUBSTATIONS OR SWITCHING ARRANGEMENTS FOR THE SUPPLY OR DISTRIBUTION OF ELECTRIC POWER
- H02B1/00—Frameworks, boards, panels, desks, casings; Details of substations or switching arrangements
- H02B1/26—Casings; Parts thereof or accessories therefor
- H02B1/50—Pedestal- or pad-mounted casings; Parts thereof or accessories therefor
-
- H—ELECTRICITY
- H02—GENERATION; CONVERSION OR DISTRIBUTION OF ELECTRIC POWER
- H02B—BOARDS, SUBSTATIONS OR SWITCHING ARRANGEMENTS FOR THE SUPPLY OR DISTRIBUTION OF ELECTRIC POWER
- H02B1/00—Frameworks, boards, panels, desks, casings; Details of substations or switching arrangements
- H02B1/56—Cooling; Ventilation
- H02B1/565—Cooling; Ventilation for cabinets
Landscapes
- Engineering & Computer Science (AREA)
- Power Engineering (AREA)
- Patch Boards (AREA)
Abstract
The invention discloses a strong current and weak current integrated control cabinet, relates to the technical field of control cabinets, and solves the problems that the existing strong current and weak current integrated control cabinet is not convenient to use, the working safety of a device is not enough and the like. The utility model provides a forceful electric power light current body switch board, includes the main part, the preceding terminal surface of main part is provided with sealing door, sealing door's surface is provided with the observation window, the below of main part is provided with the base, the inboard of main part is provided with strong electricity storehouse, the below in strong electricity storehouse is provided with the light current storehouse, be provided with the insulation board between strong electricity storehouse and the light current storehouse, the inboard in strong electricity storehouse and light current storehouse all is provided with insulating barrier, adjacent two be provided with the working bin between the insulating barrier, the inboard in working bin is provided with transmission, the inner wall in working bin is provided with the gag lever post, the one end of gag lever post is provided with connecting device. The invention is convenient to use and operate, and increases the working safety of the device.
Description
Technical Field
The invention relates to the technical field of control cabinets, in particular to a strong current and weak current integrated control cabinet.
Background
The control cabinet is formed by assembling switch equipment, measuring instruments, protective electrical appliances and auxiliary equipment in a closed or semi-closed metal cabinet or on a screen according to the electrical wiring requirements, and the arrangement of the control cabinet meets the requirements of normal operation of an electric power system, is convenient to overhaul and does not endanger the safety of people and surrounding equipment. In normal operation, the circuit can be switched on or off by means of a manual or automatic switch. When the fault or abnormal operation occurs, the circuit is cut off or an alarm is given by the aid of the protective electric appliance.
However, the existing strong-current and weak-current integrated control cabinet is not convenient to use, and the working safety of the device is not enough; therefore, the existing requirements are not met, and a strong-current and weak-current integrated control cabinet is provided for the requirements.
Disclosure of Invention
The invention aims to provide a strong current and weak current integrated control cabinet, which solves the problems that the existing strong current and weak current integrated control cabinet proposed in the background art is inconvenient to use and the working safety of the device is not enough.
In order to achieve the purpose, the invention provides the following technical scheme: a strong current and weak current integrated control cabinet comprises a main body, wherein a sealing door is arranged on the front end face of the main body, an observation window is arranged on the outer surface of the sealing door, a base is arranged below the main body, a strong current cabin is arranged on the inner side of the main body, a weak current cabin is arranged below the strong current cabin, an insulating plate is arranged between the strong current cabin and the weak current cabin, insulating partition plates are arranged on the inner sides of the strong current cabin and the weak current cabin, a working cabin is arranged between every two adjacent insulating partition plates, a transmission device is arranged on the inner side of the working cabin, a limiting rod is arranged on the inner wall of the working cabin, a connecting device is arranged at one end of the limiting rod, through holes are uniformly formed in the two sides of the main body, a cooling fan is arranged on the inner side of the through holes, filter screens are arranged on the two sides of the cooling fan, and a dust removal net is arranged on the inner side of the filter screens positioned on the inner surface of the main body, the movable plate is arranged on the outer side of the dust removal net, and the transmission bin is arranged on the rear end face of the main body.
Preferably, transmission includes from driving wheel, action wheel, lead screw, transfer line and knob, the outside of action wheel evenly is provided with from the driving wheel, the inboard of action wheel is provided with the transfer line, the one end of transfer line is provided with the knob, the inboard from the driving wheel is provided with the lead screw.
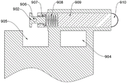
Preferably, connecting device includes connecting plate, connector, terminal box, radiating groove, draw-in groove, wiring hole, conductor shell fragment, spring and electric connecting rod, there is the draw-in groove in the equal society in both sides of connecting plate, one side of draw-in groove is provided with the radiating groove, one side of radiating groove is provided with the terminal box, the inboard of terminal box evenly is provided with electric connecting rod, electric connecting rod's one end is provided with the conductor, the inboard of electric connecting rod's the other end is provided with the spring, the one end of spring is provided with the connector, the inboard of connector is provided with the wiring hole, the surface of electric connecting rod one end is provided with the conductor shell fragment.
Preferably, the outer surface of the heat dissipation fan is provided with a fixing frame, and the fixing frame is fixed with the inner surface of the through hole through a screw.
Preferably, the moving plate is connected with the inner sides of the strong current cabin and the weak current cabin in a sliding mode.
Preferably, the upper surface of the base is completely attached to the lower surface of the main body, the base and the main body are fixed through welding, and the lower surface of the base is provided with an anti-slip pad.
Preferably, the outer side of the insulating partition plate is completely attached to the inner surfaces of the weak current cabin and the strong current cabin, and the insulating partition plate is fixed to the weak current cabin and the strong current cabin through screws.
Preferably, the driving wheel is meshed with the driven wheel, and the meshing is coated with lubricating oil.
Preferably, one end of the spring is completely attached to the outer surface of the connector, and the spring and the connector are fixed through welding.
Preferably, the joints of the two ends of the electrical connecting rod and the junction box are both provided with insulating rubber, and the junction box and the connecting plate are fixed through screws.
Compared with the prior art, the invention has the beneficial effects that:
1. the invention firstly opens the sealing door, rotates the knob, causes the transmission rod to drive the driving wheel, the driving wheel drives the lead screw arranged at the inner side of the driven wheel to rotate, utilizes the lead screw to drive and limit the rod to cause the connecting device to move outwards, is convenient for a worker to install a connecting element on the connecting device, reduces the installation difficulty of the connecting element and improves the installation efficiency of the worker, Z is provided with a connector, a junction box, a heat dissipation groove, a wiring hole, a conductor elastic sheet and a spring at the inner side of the connecting device, after the connecting element is clamped with the connecting plate, the connector is pulled out to cause the spring to stretch, utilizes the wiring hole arranged at the inner side of the connector to lead the connecting wire to pass through the wiring hole for connection, thereby increasing the connection firmness of the connecting wire, after the connector is installed, the spring is restored, the connecting wire is lifted to be attached to the conductor elastic sheet for conducting, thereby facilitating the installation of the connecting wire by the worker, the firmness of wiring installation is increased, and the use safety of the device is improved;
2. the invention arranges a strong current cabin and a weak current cabin at the inner side of a main body, reduces the interference between the strong current cabin and the weak current cabin by arranging an insulating plate between the strong current cabin and the weak current cabin, increases the working effect of the device, improves the working safety of the device, divides the strong current cabin and the weak current cabin into a plurality of working cabins by arranging insulating clapboards at the inner sides of the strong current cabin and the weak current cabin, reduces the interference between the works by using the insulating clapboards, improves the working effect of working elements in the working cabins, is uniformly provided with through holes and cooling fans at two sides of the main body, corresponds to each working cabin, can simultaneously cool each working cabin, improves the cooling effect of the device, is provided with a dust removal net at one side of the cooling fans, reduces the influence of dust entering the inner side of the main body on the working elements at the inner side of the main body, and is provided with a moving plate at the outer side of the dust removal net, the movable plate is connected with the strong electricity bin and the weak electricity bin in a sliding mode, so that workers can take the movable plate out to clean the dust removal net conveniently, and the working effect of the dust removal net is improved.
Drawings
FIG. 1 is a schematic view of the overall structure of the present invention;
FIG. 2 is a schematic view of a portion of the main body of the present invention;
FIG. 3 is a schematic view of a partial structure of the transmission chamber of the present invention;
FIG. 4 is a partial schematic view of the present invention;
FIG. 5 is a schematic view of a portion of the transmission of the present invention;
FIG. 6 is a partial structural view of the connecting device of the present invention
Fig. 7 is a schematic view of the internal structure of the connecting device of the present invention.
In the figure: 1. a main body; 2. a sealing door; 3. an observation window; 4. a base; 5. filtering with a screen; 6. a transmission device; 601. a driven wheel; 602. a driving wheel; 603. a lead screw; 604. a transmission rod; 605. a knob; 7. a strong electricity bin; 8. an insulating spacer; 9. a connecting device; 901. a connecting plate; 902. a connector; 903. a junction box; 904. a heat sink; 905. a card slot; 906. a wiring hole; 907. a conductor spring; 908. a spring; 909. an electrical connection rod; 910. a conductor; 10. an insulating plate; 11. a weak current bin; 12. moving the plate; 13. a limiting rod; 14. a working bin; 15. a heat radiation fan; 16. a through hole; 17. a transmission bin; 18. a dust removal net.
Detailed Description
The technical solutions in the embodiments of the present invention will be clearly and completely described below with reference to the drawings in the embodiments of the present invention, and it is obvious that the described embodiments are only a part of the embodiments of the present invention, and not all of the embodiments.
Referring to fig. 1 to 7, an embodiment of the present invention includes: a strong current and weak current integrated control cabinet comprises a main body 1, a sealing door 2 is arranged on the front end face of the main body 1, an observation window 3 is arranged on the outer surface of the sealing door 2, a base 4 is arranged below the main body 1, a strong current cabin 7 is arranged on the inner side of the main body 1, a weak current cabin 11 is arranged below the strong current cabin 7, an insulating plate 10 is arranged between the strong current cabin 7 and the weak current cabin 11, insulating partition plates 8 are arranged on the inner sides of the strong current cabin 7 and the weak current cabin 11, a working cabin 14 is arranged between two adjacent insulating partition plates 8, a transmission device 6 is arranged on the inner side of the working cabin 14, a limiting rod 13 is arranged on the inner wall of the working cabin 14, a connecting device 9 is arranged at one end of the limiting rod 13, through holes 16 are uniformly arranged on the two sides of the main body 1, a cooling fan 15 is arranged on the inner side of each through hole 16, filter screens 5 are arranged on the two sides of the cooling fan 15, a dust removal screen 18 is arranged on the inner side of the filter screen 5 on the inner surface of the main body 1, the moving plate 12 is arranged outside the dust removing net 18, and the transmission bin 17 is arranged on the rear end face of the main body 1.
Further, the transmission device 6 comprises a driven wheel 601, a driving wheel 602, a lead screw 603, a transmission rod 604 and a knob 605, the driven wheel 601 is uniformly arranged on the outer side of the driving wheel 602, the transmission rod 604 is arranged on the inner side of the driving wheel 602, the knob 605 is arranged at one end of the transmission rod 604, and the lead screw 603 is arranged on the inner side of the driven wheel 601, so that the adjustment by workers is facilitated, and the use convenience of the device is improved.
Further, the connecting device 9 includes a connecting plate 901, a connector 902, a junction box 903, a heat sink 904, a slot 905, a wiring hole 906, a conductor elastic sheet 907, a spring 908 and an electrical connection rod 909, the slot 905 is formed in the society of the two sides of the connecting plate 901, the heat sink 904 is arranged on one side of the slot 905, the junction box 903 is arranged on one side of the heat sink 904, the electrical connection rods 909 are uniformly arranged on the inner side of the junction box 903, a conductor 910 is arranged at one end of each electrical connection rod 909, the spring 908 is arranged on the inner side of the other end of each electrical connection rod 909, the connector 902 is arranged at one end of the spring 908, the wiring hole 906 is arranged on the inner side of the connector 902, and the conductor elastic sheet 907 is arranged on the outer surface of one end of each electrical connection rod 909, so that a person can conveniently install the connecting element, and the working efficiency of the worker is improved.
Further, the outer surface of the heat dissipation fan 15 is provided with a fixing frame, and the fixing frame is fixed with the inner surface of the through hole 16 through screws, so that the working stability of the heat dissipation fan 15 is improved, and the heat dissipation effect of the device is improved.
Further, the moving plate 12 is slidably connected with the inner sides of the strong current cabin 7 and the weak current cabin 11, so that the moving plate 12 is convenient to disassemble and assemble.
Further, the upper surface of the base 4 is completely attached to the lower surface of the main body 1, the base 4 is fixed to the main body 1 through welding, the lower surface of the base 4 is provided with an anti-slip pad, the supporting effect of the base 4 on the main body 1 is improved, and the working stability of the device is improved.
Furthermore, the outer side of the insulating partition plate 8 is completely attached to the inner surfaces of the weak current cabin 11 and the strong current cabin 7, and the insulating partition plate 8 is fixed with the weak current cabin 11 and the strong current cabin 7 through screws, so that each working cabin 14 can work independently without interference, and the working effect of the device is improved.
Further, the driving wheel 602 is meshed with the driven wheel 601, and lubricating oil is coated on the meshing, so that the smoothness of gear transmission is improved.
Further, one end of the spring 908 is completely attached to the outer surface of the connecting head 902, and the spring 908 and the connecting head 902 are fixed by welding, so that the working stability of the spring 908 is improved.
Furthermore, the joints between the two ends of the electrical connecting rod 909 and the junction box 903 are all provided with insulating rubber, and the junction box 903 and the connecting plate 901 are fixed through screws, so that the firmness of the connection of the junction box 903 is improved, and the working stability of the junction box 903 is improved.
The working principle is as follows: when the sealing door is used, firstly, the sealing door 2 is opened, the knob 605 is rotated, the transmission rod 604 drives the driving wheel 602, the driving wheel 602 drives the lead screw 603 arranged on the inner side of the driven wheel 601 to rotate, the connecting device 9 is moved outwards by the lead screw transmission and the limiting rod 13, a worker can conveniently install the connecting element on the connecting device 9, the installation difficulty of the connecting element is reduced, and the installation efficiency of the worker is improved, the connecting head 902, the junction box 903, the heat dissipation groove 904, the wiring hole 906, the conductor elastic sheet 907 and the spring 908 are arranged on the inner side of the connecting device 9, after the connecting element is clamped with the connecting plate 901, the connecting head 902 is pulled out, the spring 908 is stretched, the connecting line passes through the wiring hole 906 to be connected by the wiring hole 906 arranged on the inner side of the connecting head 902, the connecting firmness of the connecting line is improved, after the connecting head 902 is released, the spring is restored, the connecting wire is attached to the conductor elastic sheet 907 for conducting electricity, the installation of the connecting wire by workers is facilitated, the firmness of the installation of the connecting wire is improved, the use safety of the device is improved, the strong current cabin 7 and the weak current cabin 11 are arranged on the inner side of the main body 1, the insulating plate 10 is arranged between the strong current cabin 7 and the weak current cabin 11, the interference between the strong current cabin 7 and the weak current cabin 11 is reduced, the working effect of the device is improved, the working safety of the device is improved, the insulating partition plates 8 are arranged on the inner sides of the strong current cabin 7 and the weak current cabin 11 to divide the strong current cabin 7 and the weak current cabin 11 into a plurality of working cabins 14, the interference between the working is reduced by the insulating partition plates 8, the working effect of working elements in the working cabins 14 is improved, the through holes 16 and the cooling fans 15 are uniformly arranged on the two sides of the main body 1, and the cooling fans 15 correspond to each working cabin 14, and can simultaneously cool each working cabin 14, the heat dissipation effect of the device is improved, the dust removal net 18 is arranged on one side of the heat dissipation fan 15, the influence of dust entering the inner side of the main body 1 on working elements on the inner side of the main body 1 is reduced, the moving plate 12 is arranged on the outer side of the dust removal net 18, the moving plate 12 is in sliding connection with the inner sides of the strong current cabin 7 and the weak current cabin 11, workers can conveniently take out the moving plate 12 to clean the dust removal net 18, the working effect of the dust removal net 18 is improved,
it will be evident to those skilled in the art that the invention is not limited to the details of the foregoing illustrative embodiments, and that the present invention may be embodied in other specific forms without departing from the spirit or essential attributes thereof. The present embodiments are therefore to be considered in all respects as illustrative and not restrictive, the scope of the invention being indicated by the appended claims rather than by the foregoing description, and all changes which come within the meaning and range of equivalency of the claims are therefore intended to be embraced therein. Any reference sign in a claim should not be construed as limiting the claim concerned.
Claims (10)
1. The utility model provides a forceful electric power weak current integrative switch board, includes main part (1), its characterized in that: the front end face of the main body (1) is provided with a sealing door (2), the outer surface of the sealing door (2) is provided with an observation window (3), a base (4) is arranged below the main body (1), a strong electricity bin (7) is arranged on the inner side of the main body (1), a weak electricity bin (11) is arranged below the strong electricity bin (7), an insulating plate (10) is arranged between the strong electricity bin (7) and the weak electricity bin (11), insulating partition plates (8) are arranged on the inner sides of the strong electricity bin (7) and the weak electricity bin (11), a working bin (14) is arranged between two adjacent insulating partition plates (8), a transmission device (6) is arranged on the inner side of the working bin (14), a limiting rod (13) is arranged on the inner wall of the working bin (14), a connecting device (9) is arranged at one end of the limiting rod (13), through holes (16) are uniformly arranged on two sides of the main body (1), the inboard of through-hole (16) is provided with radiator fan (15), the both sides of radiator fan (15) all are provided with filter screen (5), wherein are located one side of main part (1) internal surface the inboard of filter screen (5) is provided with dust removal net (18), the outside of dust removal net (18) is provided with movable plate (12), the rear end face of main part (1) is provided with transmission storehouse (17).
2. A strong and weak current integrated control cabinet according to claim 1, characterized in that: the transmission device (6) comprises a driven wheel (601), a driving wheel (602), a screw rod (603), a transmission rod (604) and a knob (605), wherein the driven wheel (601) is uniformly arranged on the outer side of the driving wheel (602), the transmission rod (604) is arranged on the inner side of the driving wheel (602), the knob (605) is arranged at one end of the transmission rod (604), and the screw rod (603) is arranged on the inner side of the driven wheel (601).
3. A strong and weak current integrated control cabinet according to claim 1, characterized in that: the connecting device (9) comprises a connecting plate (901), a connecting head (902), a junction box (903), a heat dissipation groove (904), a clamping groove (905), a wiring hole (906), a conductor elastic sheet (907), a spring (908) and an electric connecting rod (909), clamping grooves (905) are arranged in the society on both sides of the connecting plate (901), a heat dissipation groove (904) is arranged on one side of each clamping groove (905), one side of the heat dissipation groove (904) is provided with a junction box (903), the inner side of the junction box (903) is uniformly provided with an electric connecting rod (909), one end of the electrical connection rod (909) is provided with a conductor (910), the inner side of the other end of the electrical connection rod (909) is provided with a spring (908), one end of the spring (908) is provided with a connecting head (902), the inner side of the connecting head (902) is provided with a wiring hole (906), the outer surface of one end of the electrical connection rod (909) is provided with a conductor elastic sheet (907).
4. A strong and weak current integrated control cabinet according to claim 1, characterized in that: the outer surface of the heat dissipation fan (15) is provided with a fixing frame, and the fixing frame is fixed with the inner surface of the through hole (16) through screws.
5. A strong and weak current integrated control cabinet according to claim 1, characterized in that: the moving plate (12) is connected with the inner sides of the strong current cabin (7) and the weak current cabin (11) in a sliding mode.
6. A strong and weak current integrated control cabinet according to claim 1, characterized in that: the upper surface of base (4) and the lower surface of main part (1) laminate completely, base (4) and main part (1) are through welded fastening, the lower surface of base (4) is provided with the slipmat.
7. A strong and weak current integrated control cabinet according to claim 1, characterized in that: the outer side of the insulating partition plate (8) is completely attached to the inner surfaces of the weak current cabin (11) and the strong current cabin (7), and the insulating partition plate (8) is fixed with the weak current cabin (11) and the strong current cabin (7) through screws.
8. A strong and weak current integrated control cabinet according to claim 2, characterized in that: the driving wheel (602) is meshed with the driven wheel (601), and the meshing is coated with lubricating oil.
9. A strong and weak current integrated control cabinet according to claim 3, characterized in that: one end of the spring (908) is completely attached to the outer surface of the connecting head (902), and the spring (908) is fixed with the connecting head (902) through welding.
10. A strong and weak current integrated control cabinet according to claim 3, characterized in that: insulating rubber is arranged at the connection positions of the two ends of the electrical connection rod (909) and the junction box (903), and the junction box (903) and the connection plate (901) are fixed through screws.
Priority Applications (1)
| Application Number | Priority Date | Filing Date | Title |
|---|---|---|---|
| CN202210503936.0A CN114744505A (en) | 2022-05-10 | 2022-05-10 | Strong-current and weak-current integrated control cabinet |
Applications Claiming Priority (1)
| Application Number | Priority Date | Filing Date | Title |
|---|---|---|---|
| CN202210503936.0A CN114744505A (en) | 2022-05-10 | 2022-05-10 | Strong-current and weak-current integrated control cabinet |
Publications (1)
| Publication Number | Publication Date |
|---|---|
| CN114744505A true CN114744505A (en) | 2022-07-12 |
Family
ID=82285124
Family Applications (1)
| Application Number | Title | Priority Date | Filing Date |
|---|---|---|---|
| CN202210503936.0A Pending CN114744505A (en) | 2022-05-10 | 2022-05-10 | Strong-current and weak-current integrated control cabinet |
Country Status (1)
| Country | Link |
|---|---|
| CN (1) | CN114744505A (en) |
Cited By (1)
| Publication number | Priority date | Publication date | Assignee | Title |
|---|---|---|---|---|
| WO2025189513A1 (en) * | 2024-03-13 | 2025-09-18 | 重庆华美电力设备有限责任公司 | Modular charging pile control cabinet |
-
2022
- 2022-05-10 CN CN202210503936.0A patent/CN114744505A/en active Pending
Cited By (1)
| Publication number | Priority date | Publication date | Assignee | Title |
|---|---|---|---|---|
| WO2025189513A1 (en) * | 2024-03-13 | 2025-09-18 | 重庆华美电力设备有限责任公司 | Modular charging pile control cabinet |
Similar Documents
| Publication | Publication Date | Title |
|---|---|---|
| CN211088814U (en) | Control cabinet shell base | |
| CN114744505A (en) | Strong-current and weak-current integrated control cabinet | |
| CN219760449U (en) | System integrated control cabinet convenient to install component | |
| CN216872569U (en) | Control cabinet for light current engineering convenient to winding displacement | |
| CN217545362U (en) | Power distribution cabinet with temperature adjusting function | |
| CN212968742U (en) | High tension switchgear with alarm function | |
| CN216055829U (en) | A ring network cabinet for weak current security equipment | |
| CN215185828U (en) | A low residual voltage busbar protection device | |
| CN214314128U (en) | Low-voltage ring main unit with ventilation device | |
| CN211701085U (en) | Board adjustable structure is placed to block terminal | |
| CN210928311U (en) | Electrical control cabinet convenient to it is clean | |
| CN222107333U (en) | A low-voltage switch cabinet with easy-to-clean heat dissipation mesh | |
| CN220341795U (en) | Control cabinet with visual window | |
| CN221552499U (en) | Digital electric control device with bus control | |
| CN213243124U (en) | Vertical busbar protection isolation structure based on low-voltage power distribution cabinet | |
| CN220732155U (en) | Switch cabinet convenient to overhaul | |
| CN216390139U (en) | Special switch board in laboratory | |
| CN220455385U (en) | High-voltage electrified display locking device | |
| CN220692677U (en) | Power system operation and maintenance equipment convenient to install | |
| CN221598301U (en) | Hydrogen energy fuel monitoring electric control device | |
| CN111901995A (en) | Intelligent control equipment for room electric appliance and electronic product | |
| CN220139972U (en) | Antistatic multifunctional electric control cabinet | |
| CN222191504U (en) | Control cabinet for weak current engineering convenient to overhaul | |
| CN219106823U (en) | Electrical cabinet convenient to overhaul and used for strong electric engineering | |
| CN219801569U (en) | Energy control cabinet |
Legal Events
| Date | Code | Title | Description |
|---|---|---|---|
| PB01 | Publication | ||
| PB01 | Publication | ||
| SE01 | Entry into force of request for substantive examination | ||
| SE01 | Entry into force of request for substantive examination | ||
| WD01 | Invention patent application deemed withdrawn after publication |
Application publication date: 20220712 |
|
| WD01 | Invention patent application deemed withdrawn after publication |