CN114733156A - A finger recovery trainer - Google Patents
A finger recovery trainer Download PDFInfo
- Publication number
- CN114733156A CN114733156A CN202210557914.2A CN202210557914A CN114733156A CN 114733156 A CN114733156 A CN 114733156A CN 202210557914 A CN202210557914 A CN 202210557914A CN 114733156 A CN114733156 A CN 114733156A
- Authority
- CN
- China
- Prior art keywords
- finger
- fixing plate
- limit
- fixedly connected
- rod
- Prior art date
- Legal status (The legal status is an assumption and is not a legal conclusion. Google has not performed a legal analysis and makes no representation as to the accuracy of the status listed.)
- Pending
Links
- 238000011084 recovery Methods 0.000 title claims abstract description 54
- 230000000712 assembly Effects 0.000 abstract description 4
- 238000000429 assembly Methods 0.000 abstract description 4
- 238000010586 diagram Methods 0.000 description 6
- 230000000694 effects Effects 0.000 description 6
- 238000000034 method Methods 0.000 description 2
- 208000011092 Hand injury Diseases 0.000 description 1
- 208000027418 Wounds and injury Diseases 0.000 description 1
- 230000003139 buffering effect Effects 0.000 description 1
- 230000006378 damage Effects 0.000 description 1
- 230000004064 dysfunction Effects 0.000 description 1
- 208000014674 injury Diseases 0.000 description 1
- 238000009434 installation Methods 0.000 description 1
- 230000000284 resting effect Effects 0.000 description 1
Images
Classifications
-
- A—HUMAN NECESSITIES
- A63—SPORTS; GAMES; AMUSEMENTS
- A63B—APPARATUS FOR PHYSICAL TRAINING, GYMNASTICS, SWIMMING, CLIMBING, OR FENCING; BALL GAMES; TRAINING EQUIPMENT
- A63B23/00—Exercising apparatus specially adapted for particular parts of the body
- A63B23/035—Exercising apparatus specially adapted for particular parts of the body for limbs, i.e. upper or lower limbs, e.g. simultaneously
- A63B23/12—Exercising apparatus specially adapted for particular parts of the body for limbs, i.e. upper or lower limbs, e.g. simultaneously for upper limbs or related muscles, e.g. chest, upper back or shoulder muscles
- A63B23/16—Exercising apparatus specially adapted for particular parts of the body for limbs, i.e. upper or lower limbs, e.g. simultaneously for upper limbs or related muscles, e.g. chest, upper back or shoulder muscles for hands or fingers
-
- A—HUMAN NECESSITIES
- A61—MEDICAL OR VETERINARY SCIENCE; HYGIENE
- A61H—PHYSICAL THERAPY APPARATUS, e.g. DEVICES FOR LOCATING OR STIMULATING REFLEX POINTS IN THE BODY; ARTIFICIAL RESPIRATION; MASSAGE; BATHING DEVICES FOR SPECIAL THERAPEUTIC OR HYGIENIC PURPOSES OR SPECIFIC PARTS OF THE BODY
- A61H15/00—Massage by means of rollers, balls, e.g. inflatable, chains, or roller chains
-
- A—HUMAN NECESSITIES
- A63—SPORTS; GAMES; AMUSEMENTS
- A63B—APPARATUS FOR PHYSICAL TRAINING, GYMNASTICS, SWIMMING, CLIMBING, OR FENCING; BALL GAMES; TRAINING EQUIPMENT
- A63B21/00—Exercising apparatus for developing or strengthening the muscles or joints of the body by working against a counterforce, with or without measuring devices
- A63B21/02—Exercising apparatus for developing or strengthening the muscles or joints of the body by working against a counterforce, with or without measuring devices using resilient force-resisters
- A63B21/05—Linearly-compressed elements
Landscapes
- Health & Medical Sciences (AREA)
- Physical Education & Sports Medicine (AREA)
- Orthopedic Medicine & Surgery (AREA)
- General Health & Medical Sciences (AREA)
- Life Sciences & Earth Sciences (AREA)
- Epidemiology (AREA)
- Biophysics (AREA)
- Pain & Pain Management (AREA)
- Rehabilitation Therapy (AREA)
- Animal Behavior & Ethology (AREA)
- Public Health (AREA)
- Veterinary Medicine (AREA)
- Rehabilitation Tools (AREA)
Abstract
本发明涉及康复训练设备技术领域,具体涉及一种手指恢复训练器;包括安装板、两根支撑杆、固定杆、多根第一限位弹簧、第二限位弹簧、多个手指环、把手和多组固定组件,固定组件包括两根第一连接架、两根第二连接架、抵持弹簧和固定板,抵持弹簧的两端分别与固定板和手指环固定连接,两根第一连接架分别与固定板固定连接,两根第一连接架对称设置于固定板的下方,两根第二连接架分别与手指环固定连接,通过将手指插进固定板中,固定板会受到手指的挤压,抵持弹簧具有回弹力,抵持弹簧会推动固定板去固定患者的手指,避免了患者在进行手部功能恢复的时候,手指容易从手指环中脱离,保证了手指恢复训练的正常进行。
The invention relates to the technical field of rehabilitation training equipment, in particular to a finger recovery trainer; comprising a mounting plate, two support rods, a fixed rod, a plurality of first limit springs, a second limit spring, a plurality of finger rings, a handle and multiple sets of fixing assemblies, the fixing assemblies include two first connecting frames, two second connecting frames, abutting springs and a fixing plate, the two ends of the abutting springs are respectively fixedly connected to the fixing plate and the finger ring, The connecting frames are respectively fixedly connected with the fixing plate, the two first connecting frames are symmetrically arranged below the fixing plate, and the two second connecting frames are respectively fixedly connected with the finger ring. The resistance spring has a rebound force, and the resistance spring will push the fixing plate to fix the patient's finger, which prevents the patient's fingers from being easily detached from the finger ring when the patient recovers the hand function, and ensures the recovery of the finger. Work properly.
Description
技术领域technical field
本发明涉及康复训练设备技术领域,尤其涉及一种手指恢复训练器。The invention relates to the technical field of rehabilitation training equipment, in particular to a finger recovery trainer.
背景技术Background technique
目前,患者使用手指恢复训练器能够进行手部功能恢复,治疗中及治疗后,手指、手掌强制性功能锻炼,是加快手伤的康复、早日消除功能障碍的最有效的措施,但是在使用手指恢复训练器时,容易造成手指恢复器拿取不稳,容易掉在地上受到损伤,影响手指恢复器后续使用。At present, patients can use the finger recovery trainer to restore hand function. During and after treatment, mandatory functional exercise of fingers and palms is the most effective measure to speed up the recovery of hand injuries and eliminate dysfunction as soon as possible. When restoring the trainer, it is easy to cause the finger restorer to be unstable, and it is easy to fall on the ground and be damaged, which affects the subsequent use of the finger restorer.
在现有技术中的手段通过额外设置把手,在固定板上开设收纳槽,将把手在收纳槽中转动出,通过把手将固定板进行移动,避免掉在地上受到损伤,影响手指恢复器后续使用。In the prior art, a handle is additionally provided, a receiving groove is formed on the fixing plate, the handle is rotated out of the receiving groove, and the fixing plate is moved by the handle, so as to avoid being damaged by falling on the ground and affecting the subsequent use of the finger recovery device. .
但是患者在进行手部功能恢复的时候,手指容易从手指环中脱离,会影响手指恢复训练的正常进行。However, when the patient recovers hand function, the fingers are easily detached from the finger ring, which will affect the normal progress of finger recovery training.
发明内容SUMMARY OF THE INVENTION
本发明的目的在于提供一种手指恢复训练器,解决了患者在进行手部功能恢复的时候,手指容易从手指环中脱离,会影响手指恢复训练的正常进行的问题。The purpose of the present invention is to provide a finger recovery trainer, which solves the problem that the fingers are easily detached from the finger ring when the patient recovers the hand function, which will affect the normal progress of the finger recovery training.
为实现上述目的,本发明采用的一种手指恢复训练器,包括安装板、两根支撑杆、固定杆、多根第一限位弹簧、第二限位弹簧、多个手指环、把手和多组固定组件,两根所述支撑杆对称设置于所述安装板的上方,所述固定杆设置于两根所述支撑杆之间,每根所述第一限位弹簧的两端分别与所述固定杆和对应的所述手指环固定连接,所述第二限位弹簧的两端分别与对应的所述支撑杆和对应的所述手指环固定连接,所述安装板具有收纳槽,所述把手与所述安装板转动连接,并位于所述收纳槽中,每个所述手指环分别设置有对应的两组所述固定组件;所述固定组件包括两根第一连接架、两根第二连接架、抵持弹簧和固定板,所述手指环具有凹槽,所述固定板设置于所述手指环内,所述抵持弹簧的两端分别与所述固定板和所述手指环固定连接,并位于所述凹槽内,两根所述第一连接架分别与所述固定板固定连接,两根所述第一连接架对称设置于所述固定板的下方,两根所述第二连接架分别与所述手指环固定连接,并对称设置于所述凹槽内,且每根所述第一连接架和对应的所述第二连接架相对滑动。In order to achieve the above purpose, a finger recovery training device adopted in the present invention includes a mounting plate, two support rods, a fixed rod, a plurality of first limit springs, a second limit spring, a plurality of finger rings, a handle and a plurality of A set of fixing components, the two supporting rods are symmetrically arranged above the mounting plate, the fixing rods are arranged between the two supporting rods, and the two ends of each of the first limit springs are respectively connected to the The fixing rod is fixedly connected with the corresponding finger ring, the two ends of the second limit spring are fixedly connected with the corresponding support rod and the corresponding finger ring respectively, and the mounting plate has a receiving groove, so The handle is rotatably connected to the mounting plate and is located in the receiving groove, and each of the finger rings is provided with two corresponding sets of the fixing components; the fixing components include two first connecting frames, two A second connecting frame, a resisting spring and a fixing plate, the finger ring has a groove, the fixing plate is arranged in the finger ring, and two ends of the resisting spring are respectively connected to the fixing plate and the finger The rings are fixedly connected and located in the groove, the two first connecting frames are respectively fixedly connected to the fixing plate, the two first connecting frames are symmetrically arranged below the fixing plate, and the two first connecting frames are The second connecting brackets are respectively fixedly connected with the finger ring, and are symmetrically arranged in the grooves, and each of the first connecting brackets and the corresponding second connecting brackets slide relative to each other.
其中,所述固定组件还包括第一限位圈和第二限位圈,所述第一限位圈与所述固定板固定连接,并位于所述固定板的下方,所述第二限位圈与所述手指环固定连接,并位于所述凹槽内,且所述第一限位圈和所述第二限位圈分别位于所述抵持弹簧的外部。Wherein, the fixing assembly further includes a first limiting ring and a second limiting ring, the first limiting ring is fixedly connected with the fixing plate and is located below the fixing plate, the second limiting ring is The ring is fixedly connected with the finger ring and is located in the groove, and the first limiting ring and the second limiting ring are respectively located outside the resisting spring.
其中,所述固定组件还包括软垫,所述软垫与所述固定板固定连接,并位于所述固定板的外侧壁。Wherein, the fixing assembly further includes a soft pad, which is fixedly connected with the fixing plate and is located on the outer side wall of the fixing plate.
其中,所述固定组件还包括多个按摩块,多个所述按摩块均设置于所述软垫上。Wherein, the fixing assembly further includes a plurality of massage blocks, and the plurality of massage blocks are all arranged on the soft pad.
其中,所述调节组件设置于所述两根支撑杆上。Wherein, the adjustment assembly is arranged on the two support rods.
其中,所述调节组件包括握力杆、限位杆、电动丝杆和套筒,两根所述支撑杆均具有所述限位槽,所述限位杆设置于对应的所述限位槽内,所述电动丝杆设置于对应的所述限位槽内,所述套筒套设于所述电动丝杆的外部,并与所述电动丝杆配合,所述固定杆的一端与所述套筒固定连接,所述固定杆的另一端与所述限位杆滑动连接。Wherein, the adjustment assembly includes a grip rod, a limit rod, an electric screw rod and a sleeve, both of the support rods have the limit groove, and the limit rod is arranged in the corresponding limit groove , the electric screw rod is arranged in the corresponding limit groove, the sleeve is sleeved on the outside of the electric screw rod, and cooperates with the electric screw rod, and one end of the fixed rod is connected to the electric screw rod. The sleeve is fixedly connected, and the other end of the fixed rod is slidably connected with the limit rod.
其中,所述调节组件还包括缓冲弹簧,所述缓冲弹簧的两端分别与所述固定板和支撑杆固定连接,并套设于所述限位杆的外部。Wherein, the adjustment assembly further includes a buffer spring, two ends of the buffer spring are respectively fixedly connected with the fixing plate and the support rod, and are sleeved on the outside of the limit rod.
其中,所述支撑组件设置于所述安装板的上方。Wherein, the support assembly is arranged above the mounting plate.
其中,所述支撑组件包括臂托、两块限位块和两根复位弹簧,所述臂托具有两个滑动槽,两块所述限位块分别与所述臂托滑动连接,并分别位于对应的所述滑动槽内,每根所述复位弹簧的两端分别与对应所述限位块和所述臂托固定连接。Wherein, the support assembly includes an arm support, two limit blocks and two return springs, the arm support has two sliding grooves, and the two limit blocks are respectively slidably connected with the arm support, and are respectively located in the arm support. In the corresponding sliding groove, both ends of each restoring spring are respectively fixedly connected with the corresponding limiting block and the arm support.
其中,所述支撑组件还包括两块拨块,每块所述拨块分别与对应的所述限位块固定连接,并位于所述限位块的外侧壁。Wherein, the support assembly further includes two shifting blocks, each of which is fixedly connected with the corresponding limiting block, and is located on the outer side wall of the limiting block.
本发明的一种手指恢复训练器,当患者进行手指恢复训练时,患者将手指插向对应的所述手指环中,手指会与所述手指环中的所述固定板接触,所述固定板会受到手指的挤压,所述固定板会朝向所述手指环的内壁移动,所述抵持弹簧会在所述凹槽内压缩,所述第一连接架会在所述第二连接架上滑动,所述第一连接架和所述第二连接架的设置,提高了所述固定板移动的稳定性,避免所述固定板在所述抵持弹簧上晃动,手指插进所述固定板中,所述抵持弹簧具有回弹力,所述抵持弹簧会推动所述固定板去固定患者的手指,避免了患者在进行手部功能恢复的时候,手指容易从所述手指环中脱离,保证了手指恢复训练的正常进行。In a finger recovery training device of the present invention, when a patient performs finger recovery training, the patient inserts his finger into the corresponding finger ring, and the finger contacts the fixing plate in the finger ring, and the fixing plate will be squeezed by fingers, the fixing plate will move towards the inner wall of the finger ring, the resisting spring will be compressed in the groove, and the first connecting frame will be on the second connecting frame Sliding, the arrangement of the first connecting frame and the second connecting frame improves the stability of the movement of the fixing plate, preventing the fixing plate from shaking on the resisting spring and inserting fingers into the fixing plate , the resisting spring has a resilient force, and the resisting spring will push the fixing plate to fix the patient's finger, so as to prevent the patient's finger from being easily detached from the finger ring when the patient recovers the hand function, It ensures the normal progress of finger recovery training.
附图说明Description of drawings
为了更清楚地说明本发明实施例或现有技术中的技术方案,下面将对实施例或现有技术描述中所需要使用的附图作简单地介绍,显而易见地,下面描述中的附图仅仅是本发明的一些实施例,对于本领域普通技术人员来讲,在不付出创造性劳动的前提下,还可以根据这些附图获得其他的附图。In order to explain the embodiments of the present invention or the technical solutions in the prior art more clearly, the following briefly introduces the accompanying drawings that need to be used in the description of the embodiments or the prior art. Obviously, the accompanying drawings in the following description are only These are some embodiments of the present invention. For those of ordinary skill in the art, other drawings can also be obtained according to these drawings without creative efforts.
图1是本发明第一实施例的整体的结构示意图。FIG. 1 is a schematic diagram of the overall structure of the first embodiment of the present invention.
图2是本发明第一实施例的整体的结构仰视图。FIG. 2 is a bottom view of the overall structure of the first embodiment of the present invention.
图3是本发明第一实施例的整体内部结构剖视图。3 is a cross-sectional view of the overall internal structure of the first embodiment of the present invention.
图4是本发明第一实施例的局部结构放大图。FIG. 4 is an enlarged view of a partial structure of the first embodiment of the present invention.
图5是本发明第二实施例的整体的结构示意图。FIG. 5 is a schematic diagram of the overall structure of the second embodiment of the present invention.
图6是本发明第二实施例的整体内部结构剖视图。6 is a sectional view of the overall internal structure of the second embodiment of the present invention.
图7是本发明第三实施例的整体的结构示意图。FIG. 7 is a schematic diagram of the overall structure of the third embodiment of the present invention.
图8是本发明第三实施例的支撑组件的内部结构剖视图。8 is a cross-sectional view of the internal structure of the support assembly according to the third embodiment of the present invention.
101-安装板、102-支撑杆、103-固定杆、104-第一限位弹簧、105-第二限位弹簧、106-手指环、107-把手、108-第一连接架、109-第二连接架、110-抵持弹簧、111-固定板、112-第一限位圈、113-第二限位圈、114-软垫、115-按摩块、116-凹槽、117-收纳槽、201-握力杆、202-限位杆、203-电动丝杆、204-套筒、205-缓冲弹簧、206-限位槽、301-臂托、302-限位块、303-复位弹簧、304-拨块、305-滑动槽。101-installation plate, 102-support rod, 103-fixed rod, 104-first limit spring, 105-second limit spring, 106-finger ring, 107-handle, 108-first connecting frame, 109-th Two connecting frames, 110-resisting spring, 111-fixing plate, 112-first limit ring, 113-second limit ring, 114-soft pad, 115-massage block, 116-groove, 117-storage groove , 201-grip rod, 202-limit rod, 203-electric screw rod, 204-sleeve, 205-buffer spring, 206-limit groove, 301-arm rest, 302-limit block, 303-return spring, 304-dial block, 305-slide groove.
具体实施方式Detailed ways
第一实施例为:The first embodiment is:
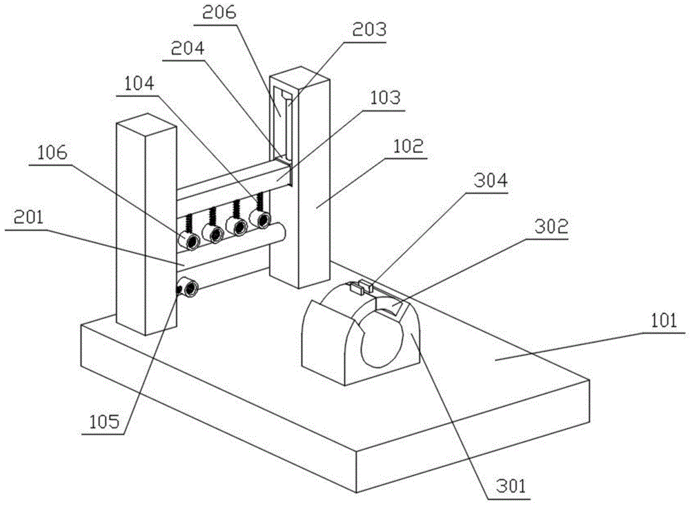
请参阅图1~图4,其中图1是第一实施例的整体的结构示意图,图2是第一实施例的整体的结构仰视图,图3是第一实施例的整体内部结构剖视图,图4是第一实施例的局部结构放大图。本发明提供了一种手指恢复训练器,包括安装板101、两根支撑杆102、固定杆103、多根第一限位弹簧104、第二限位弹簧105、多个手指环106、把手107和多组固定组件,所述固定组件包括两根第一连接架108、两根第二连接架109、抵持弹簧110、固定板111、第一限位圈112、第二限位圈113、软垫114和多个按摩块115;Please refer to FIGS. 1 to 4 , wherein FIG. 1 is a schematic diagram of the overall structure of the first embodiment, FIG. 2 is a bottom view of the overall structure of the first embodiment, and FIG. 3 is a cross-sectional view of the overall internal structure of the first embodiment. 4 is an enlarged view of a partial structure of the first embodiment. The present invention provides a finger recovery trainer, comprising a
针对本具体实施方式,两根所述支撑杆102对称设置于所述安装板101的上方,所述固定杆103设置于两根所述支撑杆102之间,每根所述第一限位弹簧104的两端分别与所述固定杆103和对应的所述手指环106固定连接,所述第二限位弹簧105的两端分别与对应的所述支撑杆102和对应的所述手指环106固定连接,所述安装板101具有收纳槽117,所述把手107与所述安装板101转动连接,并位于所述收纳槽117中,两根所述支撑杆102在所述安装板101上对所述固定杆103进行支撑,患者将手指放置对应的所述手指环106中,所述手指环106会分别拉动对应的所述第一限位弹簧104和所述第二限位弹簧105伸缩,使得患者进行手指恢复训练,在所述固定板111上开设所述收纳槽117,将所述把手107在收纳槽117中转动出,通过所述把手107将所述固定板111进行移动,避免掉在地上受到损伤,影响手指恢复器后续使用。For this specific embodiment, the two
首先,每个所述手指环106分别设置有对应的两组所述固定组件,通过所述固定组件能够对患者手指进行固定,避免了患者在进行手部功能恢复的时候,手指容易从所述手指环106中脱离,保证了手指恢复训练的正常进行。First, each of the
其中,所述手指环106具有凹槽116,所述固定板111设置于所述手指环106内,所述抵持弹簧110的两端分别与所述固定板111和所述手指环106固定连接,并位于所述凹槽116内,两根所述第一连接架108分别与所述固定板111固定连接,两根所述第一连接架108对称设置于所述固定板111的下方,两根所述第二连接架109分别与所述手指环106固定连接,并对称设置于所述凹槽116内,且每根所述第一连接架108和对应的所述第二连接架109相对滑动,当患者进行手指恢复训练时,患者将手指插向对应的所述手指环106中,手指会与所述手指环106中的所述固定板111接触,所述固定板111会受到手指的挤压,所述固定板111会朝向所述手指环106的内壁移动,所述抵持弹簧110会在所述凹槽116内压缩,所述第一连接架108会在所述第二连接架109上滑动,所述第一连接架108和所述第二连接架109的设置,提高了所述固定板111移动的稳定性,避免所述固定板111在所述抵持弹簧110上晃动,手指插进所述固定板111中,所述抵持弹簧110具有回弹力,所述抵持弹簧110会推动所述固定板111去固定患者的手指,避免了患者在进行手部功能恢复的时候,手指容易从所述手指环106中脱离,保证了手指恢复训练的正常进行。The
其次,所述第一限位圈112与所述固定板111固定连接,并位于所述固定板111的下方,所述第二限位圈113与所述手指环106固定连接,并位于所述凹槽116内,且所述第一限位圈112和所述第二限位圈113分别位于所述抵持弹簧110的外部,所述第一限位圈112和所述第二限位圈113限定所述抵持弹簧110的位置,避免了所述抵持弹簧110单独作为所述固定板111的支撑件,进一步保证了所述固定板111在所述手指环106中的稳定性。Next, the first limiting
同时,所述软垫114与所述固定板111固定连接,并位于所述固定板111的外侧壁;多个所述按摩块115均设置于所述软垫114上,所述软垫114能够提高患者手指在所述手指环106的舒适性,所述软垫114上的按摩块115还能对患者手指进行按摩,加快了患者手指过的恢复速度。At the same time, the
在所述固定板111上开设所述收纳槽117,将所述把手107在收纳槽中转动出,通过所述把手107将所述固定板111进行移动,避免掉在地上受到损伤,影响手指恢复器后续使用;两根所述支撑杆102在所述安装板101上对所述固定杆103进行支撑,当患者进行手指恢复训练时,患者将手指插向对应的所述手指环106中,手指会与所述手指环106中的所述固定板111接触,所述固定板111会受到手指的挤压,所述固定板111会朝向所述手指环106的内壁移动,所述抵持弹簧110会在所述凹槽116内压缩,所述第一限位圈112和所述第二限位圈113限定所述抵持弹簧110的位置,所述第一连接架108会在所述第二连接架109上滑动,所述第一连接架108和所述第二连接架109的设置,提高了所述固定板111移动的稳定性,避免所述固定板111在所述抵持弹簧110上晃动,固定板111移动的稳定性,避免所述固定板111在所述抵持弹簧110上晃动,手指插进所述固定板111中,所述抵持弹簧110具有回弹力,所述抵持弹簧110会推动所述固定板111去固定患者的手指,患者通过所述手指环106会分别拉动对应的所述第一限位弹簧104和所述第二限位弹簧105伸缩,使得患者进行手指恢复训练,避免了患者在进行手部功能恢复的时候,手指容易从所述手指环106中脱离,保证了手指恢复训练的正常进行,同时患者手指在手指环106中固定,所述软垫114能够提高患者手指在所述手指环106的舒适性,所述软垫114上的按摩块115还能对患者手指进行按摩,加快了患者手指过的恢复速度。The
第二实施例为:The second embodiment is:
在第一实施例的基础上,请参阅图5和图6,其中图5是第二实施例的整体的结构示意图,图6是第二实施例的整体内部结构剖视图。本发明提供了一种手指恢复训练器还包括调节组件,所述调节组件包括握力杆201、限位杆202、电动丝杆203、套筒204和缓冲弹簧205;On the basis of the first embodiment, please refer to FIGS. 5 and 6 , wherein FIG. 5 is a schematic diagram of the overall structure of the second embodiment, and FIG. 6 is a cross-sectional view of the overall internal structure of the second embodiment. The present invention provides a finger recovery trainer further comprising an adjustment component, the adjustment component includes a
针对本具体实施方式,所述调节组件设置于所述两根支撑杆102上,通过所述调节组件能够更根据患者手指恢复的程度对患者手指的训练强度,使得对患者手指的恢复训练效果更佳。For this specific embodiment, the adjustment components are disposed on the two
其中,两根所述支撑杆102均具有所述限位槽206,所述限位杆202设置于对应的所述限位槽206内,所述电动丝杆203设置于对应的所述限位槽206内,所述套筒204套设于所述电动丝杆203的外部,并与所述电动丝杆203配合,所述固定杆103的一端与所述套筒204固定连接,所述固定杆103的另一端与所述限位杆202滑动连接,在两根所述支撑杆102之间安装握力杆201,当需要调节对患者手指的训练强度时,启动所述电动丝杆203,所述套筒204会在所述电动丝杆203上向上移动,在所述限位槽206中,所述固定杆103会在所述限位杆202向上滑动,能够调整所述固定杆103下的所述手指环106与所述握力杆201的距离,使得患者握住所述握力杆201的训练强度不一,然后患者将手指在所述手指环106中固定,并在所述握力杆201上作恢复训练,实现了能够更根据患者手指恢复的程度对患者手指的训练强度,使得对患者手指的恢复训练效果更佳。Wherein, the two
其次,所述缓冲弹簧205的两端分别与所述固定板111和支撑杆102固定连接,并套设于所述限位杆202的外部,所述缓冲弹簧205能够对应移动的所述固定杆103进行缓冲,避免所述手指环106晃动,导致患者手指穿戴所述手指环106不方便。Secondly, both ends of the
在两根所述支撑杆102之间安装握力杆201,当需要调节对患者手指的训练强度时,启动所述电动丝杆203,所述套筒204会在所述电动丝杆203上向上移动,在所述限位槽206中,所述固定杆103会在所述限位杆202向上滑动,所述缓冲弹簧205会压缩,避免所述手指环106晃动,能够调整所述固定杆103下的所述手指环106与所述握力杆201的距离,使得患者握住所述握力杆201的训练强度不一,然后患者将手指在所述手指环106中固定,并在所述握力杆201上作恢复训练,实现了能够更根据患者手指恢复的程度对患者手指的训练强度,使得对患者手指的恢复训练效果更佳。A
第三实施例为:The third embodiment is:
在第一实施例的基础上,请参阅图7和图8,其中图7是第三实施例的整体的结构示意图,图8是第三实施例的支撑组件的内部结构剖视图。本发明提供了一种手指恢复训练器还包括支撑组件,所述支撑组件包括臂托301、两块限位块302、两根复位弹簧303和两块拨块304;On the basis of the first embodiment, please refer to FIG. 7 and FIG. 8 , wherein FIG. 7 is a schematic diagram of the overall structure of the third embodiment, and FIG. 8 is a cross-sectional view of the internal structure of the support assembly of the third embodiment. The present invention provides a finger recovery trainer further comprising a support assembly, the support assembly includes an
针对本具体实施方式,所述支撑组件设置于所述安装板101的上方,通过所述支撑组件能够对患者的手臂进行固定支撑,避免了患者手臂直接放置在安装板101上,提高了舒适感,同时防止患者手臂晃动,保证了患者手指的恢复训练效果。For this specific embodiment, the support assembly is disposed above the mounting
其中,所述臂托301具有两个滑动槽305,两块所述限位块302分别与所述臂托301滑动连接,并分别位于对应的所述滑动槽305内,每根所述复位弹簧303的两端分别与对应所述限位块302和所述臂托301固定连接,在患者进行手指恢复训练时,患者需要将手臂放置在所述臂托301内,先按压所述臂托301上的所述限位块302,所述限位块302进入所述滑动槽305内,所述复位弹簧303会受到所述限位块302的挤压,并在所述滑动槽305中压缩,然后将患者的手臂放进所述臂托301中,最后松开所述限位块302,通过所述复位弹簧303的回弹力,将所述限位块302在所述臂托301山进行复位,使得将患者手臂进行包覆,并进行支撑固定,实现了能够对患者的手臂进行固定支撑,避免了患者手臂直接放置在安装板101上,提高了舒适感,同时防止患者手臂晃动,保证了患者手指的恢复训练效果。The
其次,每块所述拨块304分别与对应的所述限位块302固定连接,并位于所述限位块302的外侧壁,所述拨块304便于在所述臂托301中的所述滑动槽305内按压所述限位块302,便于患者手臂在所述臂托301上的出入。Secondly, each of the toggle blocks 304 is respectively fixedly connected with the
在患者进行手指恢复训练时,患者需要将手臂放置在所述臂托301内,先按压所述臂托301上的所述限位块302,所述限位块302进入所述滑动槽305内,所述复位弹簧303会受到所述限位块302的挤压,并在所述滑动槽305中压缩,然后将患者的手臂放进所述臂托301中,最后松开所述限位块302,通过所述复位弹簧303的回弹力,将所述限位块302在所述臂托301山进行复位,使得将患者手臂进行包覆,并进行支撑固定,实现了能够对患者的手臂进行固定支撑,避免了患者手臂直接放置在安装板101上,提高了舒适感,同时防止患者手臂晃动,保证了患者手指的恢复训练效果;所述拨块304固定在所述限位块302上,便于在所述臂托301中的所述滑动槽305内按压所述限位块302,便于患者手臂在所述臂托301上的出入。When the patient performs finger recovery training, the patient needs to place the arm in the
以上所揭露的仅为本发明一种较佳实施例而已,当然不能以此来限定本发明之权利范围,本领域普通技术人员可以理解实现上述实施例的全部或部分流程,并依本发明权利要求所作的等同变化,仍属于发明所涵盖的范围。The above disclosure is only a preferred embodiment of the present invention, and of course, it cannot limit the scope of rights of the present invention. Those of ordinary skill in the art can understand that all or part of the process of implementing the above embodiment can be realized according to the rights of the present invention. The equivalent changes required to be made still belong to the scope covered by the invention.
Claims (10)
Priority Applications (1)
| Application Number | Priority Date | Filing Date | Title |
|---|---|---|---|
| CN202210557914.2A CN114733156A (en) | 2022-05-19 | 2022-05-19 | A finger recovery trainer |
Applications Claiming Priority (1)
| Application Number | Priority Date | Filing Date | Title |
|---|---|---|---|
| CN202210557914.2A CN114733156A (en) | 2022-05-19 | 2022-05-19 | A finger recovery trainer |
Publications (1)
| Publication Number | Publication Date |
|---|---|
| CN114733156A true CN114733156A (en) | 2022-07-12 |
Family
ID=82288007
Family Applications (1)
| Application Number | Title | Priority Date | Filing Date |
|---|---|---|---|
| CN202210557914.2A Pending CN114733156A (en) | 2022-05-19 | 2022-05-19 | A finger recovery trainer |
Country Status (1)
| Country | Link |
|---|---|
| CN (1) | CN114733156A (en) |
Citations (6)
| Publication number | Priority date | Publication date | Assignee | Title |
|---|---|---|---|---|
| CN106621212A (en) * | 2016-12-13 | 2017-05-10 | 顾马飞 | Finger muscle force rehabilitation device |
| CN207913137U (en) * | 2017-12-14 | 2018-09-28 | 高秀云 | A kind of finger grips functional recovery training device |
| CN211561722U (en) * | 2019-11-21 | 2020-09-25 | 南通市精神卫生中心(南通市第四人民医院) | Rehabilitation training device for preventing hand spasm of Parkinson patient |
| CN212141362U (en) * | 2020-05-16 | 2020-12-15 | 刘家庆 | Device is tempered to multi-functional compound finger |
| CN213965026U (en) * | 2020-11-19 | 2021-08-17 | 邵阳学院 | Recovered grip device of using convenient to adjust pulling force size |
| CN216319729U (en) * | 2021-12-03 | 2022-04-19 | 南通市通州区人民医院 | Hemiplegic patient hand function resumes training ware |
-
2022
- 2022-05-19 CN CN202210557914.2A patent/CN114733156A/en active Pending
Patent Citations (6)
| Publication number | Priority date | Publication date | Assignee | Title |
|---|---|---|---|---|
| CN106621212A (en) * | 2016-12-13 | 2017-05-10 | 顾马飞 | Finger muscle force rehabilitation device |
| CN207913137U (en) * | 2017-12-14 | 2018-09-28 | 高秀云 | A kind of finger grips functional recovery training device |
| CN211561722U (en) * | 2019-11-21 | 2020-09-25 | 南通市精神卫生中心(南通市第四人民医院) | Rehabilitation training device for preventing hand spasm of Parkinson patient |
| CN212141362U (en) * | 2020-05-16 | 2020-12-15 | 刘家庆 | Device is tempered to multi-functional compound finger |
| CN213965026U (en) * | 2020-11-19 | 2021-08-17 | 邵阳学院 | Recovered grip device of using convenient to adjust pulling force size |
| CN216319729U (en) * | 2021-12-03 | 2022-04-19 | 南通市通州区人民医院 | Hemiplegic patient hand function resumes training ware |
Similar Documents
| Publication | Publication Date | Title |
|---|---|---|
| CN213313187U (en) | Device is tempered with shank to nursing of old internal medicine | |
| CN210933637U (en) | Department of neurology is with taking exercise recovered appearance | |
| CN114733156A (en) | A finger recovery trainer | |
| CN109044721B (en) | Taste shank joint exercise rehabilitation device | |
| CN211798620U (en) | Parkinson patient hand function rehabilitation training board | |
| CN212118923U (en) | Hemiplegic patient is with recovered trainer of activity | |
| CN215532186U (en) | Walking stick convenient to old man's trip | |
| CN214318421U (en) | Support frame with height lifting structure for lower limb rehabilitation nursing | |
| CN213313258U (en) | But table tennis training is with height-adjusting's table tennis table | |
| CN109589558B (en) | Physical training arm trainer | |
| CN221412133U (en) | Cerebral apoplexy rehabilitation nursing device | |
| CN221513435U (en) | A hand exercise device for elderly care | |
| CN221845955U (en) | Self-locking structure for pull-up auxiliary training | |
| CN113476783B (en) | A kind of neurology rehabilitation training device | |
| CN211273393U (en) | A sports equipment for exercising leg strength | |
| CN221691877U (en) | Walking training frame with height adjusting function | |
| CN218686107U (en) | A finger exerciser | |
| CN221931979U (en) | A handgrip dynamometer for physical fitness assessment | |
| CN221904627U (en) | Walking training device | |
| CN111714847A (en) | A muscle strain recovery and training device | |
| CN219558629U (en) | Resistance-adjustable upper limb pushing and lifting trainer | |
| CN221752156U (en) | Trampoline for physical health exercise | |
| CN113041131B (en) | Traditional chinese medical science is with supplementary back massage hammer | |
| CN209302107U (en) | A kind of mark time apparatus | |
| CN211703609U (en) | Multifunctional exercise anti-grabbing glove |
Legal Events
| Date | Code | Title | Description |
|---|---|---|---|
| PB01 | Publication | ||
| PB01 | Publication | ||
| SE01 | Entry into force of request for substantive examination | ||
| SE01 | Entry into force of request for substantive examination | ||
| RJ01 | Rejection of invention patent application after publication |
Application publication date: 20220712 |
|
| RJ01 | Rejection of invention patent application after publication |
