CN114713721A - A riveting device and a riveting method for a riveting contact assembly - Google Patents
A riveting device and a riveting method for a riveting contact assembly Download PDFInfo
- Publication number
- CN114713721A CN114713721A CN202210319069.5A CN202210319069A CN114713721A CN 114713721 A CN114713721 A CN 114713721A CN 202210319069 A CN202210319069 A CN 202210319069A CN 114713721 A CN114713721 A CN 114713721A
- Authority
- CN
- China
- Prior art keywords
- riveting
- template
- contact
- seat
- needle
- Prior art date
- Legal status (The legal status is an assumption and is not a legal conclusion. Google has not performed a legal analysis and makes no representation as to the accuracy of the status listed.)
- Granted
Links
- 238000000034 method Methods 0.000 title claims abstract description 11
- 239000000463 material Substances 0.000 claims abstract description 66
- 230000007246 mechanism Effects 0.000 claims abstract description 33
- 238000003825 pressing Methods 0.000 claims abstract description 21
- 238000009415 formwork Methods 0.000 claims description 18
- 230000009471 action Effects 0.000 claims description 16
- 230000032258 transport Effects 0.000 claims description 4
- 238000007599 discharging Methods 0.000 claims description 2
- 230000005540 biological transmission Effects 0.000 description 7
- 238000009434 installation Methods 0.000 description 5
- 238000010586 diagram Methods 0.000 description 4
- 230000000694 effects Effects 0.000 description 4
- 238000004080 punching Methods 0.000 description 4
- 230000003068 static effect Effects 0.000 description 4
- 238000004519 manufacturing process Methods 0.000 description 3
- 230000000712 assembly Effects 0.000 description 2
- 238000000429 assembly Methods 0.000 description 2
- 230000002950 deficient Effects 0.000 description 2
- 239000002184 metal Substances 0.000 description 2
- 230000003139 buffering effect Effects 0.000 description 1
- 238000004891 communication Methods 0.000 description 1
- 230000006835 compression Effects 0.000 description 1
- 238000007906 compression Methods 0.000 description 1
- 238000005520 cutting process Methods 0.000 description 1
- 239000013072 incoming material Substances 0.000 description 1
- 230000003993 interaction Effects 0.000 description 1
- 238000000465 moulding Methods 0.000 description 1
- 230000008569 process Effects 0.000 description 1
- 230000000087 stabilizing effect Effects 0.000 description 1
Images
Classifications
-
- B—PERFORMING OPERATIONS; TRANSPORTING
- B21—MECHANICAL METAL-WORKING WITHOUT ESSENTIALLY REMOVING MATERIAL; PUNCHING METAL
- B21D—WORKING OR PROCESSING OF SHEET METAL OR METAL TUBES, RODS OR PROFILES WITHOUT ESSENTIALLY REMOVING MATERIAL; PUNCHING METAL
- B21D37/00—Tools as parts of machines covered by this subclass
- B21D37/10—Die sets; Pillar guides
- B21D37/12—Particular guiding equipment, e.g. pliers; Special arrangements for interconnection or cooperation of dies
-
- B—PERFORMING OPERATIONS; TRANSPORTING
- B21—MECHANICAL METAL-WORKING WITHOUT ESSENTIALLY REMOVING MATERIAL; PUNCHING METAL
- B21D—WORKING OR PROCESSING OF SHEET METAL OR METAL TUBES, RODS OR PROFILES WITHOUT ESSENTIALLY REMOVING MATERIAL; PUNCHING METAL
- B21D39/00—Application of procedures in order to connect objects or parts, e.g. coating with sheet metal otherwise than by plating; Tube expanders
-
- B—PERFORMING OPERATIONS; TRANSPORTING
- B21—MECHANICAL METAL-WORKING WITHOUT ESSENTIALLY REMOVING MATERIAL; PUNCHING METAL
- B21D—WORKING OR PROCESSING OF SHEET METAL OR METAL TUBES, RODS OR PROFILES WITHOUT ESSENTIALLY REMOVING MATERIAL; PUNCHING METAL
- B21D43/00—Feeding, positioning or storing devices combined with, or arranged in, or specially adapted for use in connection with, apparatus for working or processing sheet metal, metal tubes or metal profiles; Associations therewith of cutting devices
- B21D43/003—Positioning devices
Landscapes
- Engineering & Computer Science (AREA)
- Mechanical Engineering (AREA)
- Automatic Assembly (AREA)
- Presses And Accessory Devices Thereof (AREA)
Abstract
本发明公开了一种铆压触头组件的铆压装置及其铆压方法,特别涉及触头组件铆压设备技术领域,铆压装置的振动盘上的触头通过输料导轨输送至下模板内的预铆成型针上,料带由下模板内的支撑销进行支撑和定位;下模板内的第一定位件和第二定位件分别对触头的后侧及左右两侧进行定位;上模座向下动作时带动第一上冲杆和第二上冲杆,第一上冲杆通过上弹簧的作用于上模板内的预铆活动针,使预铆活动针调整触头的铆接端与料带的铆接孔保持同心;第二上冲杆的下端部贯穿上模板并作用于下模板内的传力杆的上端部,传力杆推动下垫板内的跷翘机构的一端,然后跷翘机构的另一端带动下模板内的下顶针,使下顶针推动预铆成型针向上动作将触头铆接在料带上。
The invention discloses a riveting and pressing device for a riveting and pressing contact assembly and a riveting method thereof, in particular to the technical field of riveting and pressing equipment for a contact assembly. On the inner pre-riveting forming needle, the material strip is supported and positioned by the support pins in the lower template; the first positioning member and the second positioning member in the lower template respectively position the rear side and the left and right sides of the contact; When the die base moves downward, it drives the first upper punch and the second upper punch. The first upper punch acts on the pre-riveting movable needle in the upper template through the upper spring, so that the pre-riveting movable needle can adjust the riveting end of the contact. Keep concentric with the riveting hole of the material belt; the lower end of the second upper punch penetrates the upper template and acts on the upper end of the dowel rod in the lower template, the dowel rod pushes one end of the seesaw mechanism in the lower backing plate, and then The other end of the seesaw mechanism drives the lower thimble in the lower template, so that the lower thimble pushes the pre-riveting forming needle upwards to riveted the contact on the material strip.
Description
技术领域technical field
本申请涉及触头组件铆压设备技术领域,尤其涉及一种铆压触头组件的铆压装置及其铆压方法。The present application relates to the technical field of riveting and pressing equipment for contact assemblies, and in particular, to a riveting and pressing device for riveting and pressing contact assemblies and a riveting and pressing method thereof.
背景技术Background technique
电触头是断路器、开关柜、隔离开关、接地开关的重要部件,其性能直接影响这些电器的质量及使用寿命。电触头包括动触头和静触头,当动触头和静触头相互接触时电路接通,其相对运动可断开或闭合电路,或靠其转动或滑动保持电路接通。Electrical contacts are important components of circuit breakers, switch cabinets, isolating switches, and grounding switches, and their performance directly affects the quality and service life of these electrical appliances. The electrical contact includes a moving contact and a static contact. When the moving contact and the static contact are in contact with each other, the circuit is connected, and their relative movement can break or close the circuit, or keep the circuit connected by rotating or sliding.
在电触头的生产加工中需要在金属片上铆接触头以此形成相对布置的动触头和静触头。目前的模具在金属片上铆接触头时,容易出现刮到触头脚部、触头铆偏、触头铆接面积不够等问题,造成触头组件生产不良品高和效率低的问题。In the production and processing of electrical contacts, it is necessary to riveted the contacts on the metal sheet to form oppositely arranged moving contacts and static contacts. When the current mold rives the contacts on the metal sheet, it is easy to scrape the feet of the contacts, the riveting of the contacts is offset, and the riveting area of the contacts is not enough, resulting in the problems of high defective production and low efficiency of the contact components.
发明内容SUMMARY OF THE INVENTION
有鉴于此,本申请的目的是通过提供一种铆压触头组件的铆压装置及其铆压方法,解决现有触头组件的料带在铆接触头时,容易刮到触头脚部、触头铆偏、触头铆接面积不够,造成触头组件生产不良品高和效率低等技术问题。In view of this, the purpose of the present application is to provide a riveting device for riveting a contact assembly and a riveting method thereof, so as to solve the problem that the material tape of the existing contact assembly is easy to scrape the foot of the contact when the contact is riveted , Contact riveting deviation, and insufficient contact riveting area, resulting in technical problems such as high defective product production and low efficiency of contact components.
为达到上述技术目的,本申请提供了一种铆压方法,所述铆压方法应用于将触头铆接在料带上的铆压装置,所述铆压装置包括上模座、下模座、上模板、下模板及用于放置触头的振动盘,所述上模板、所述下模板分别通过导柱连接于所述上模座和所述下模座之间,所述下模座与所述下模板之间设有下垫板,所述振动盘通过输料导轨连接所述下模板,所述下模板连接有用于支撑料带的支撑销,料带通过所述支撑销布置于所述上模板与所述下模板之间,所述振动盘上的触头通过所述输料导轨输送至设于所述下模板内的预铆成型针上,并且所述下模板内的第一定位件和第二定位件分别对触头的后侧及左右两侧进行定位;In order to achieve the above technical purpose, the present application provides a riveting and pressing method, which is applied to a riveting and pressing device for riveting a contact on a material strip. The riveting and pressing device includes an upper die seat, a lower die seat, a The upper template, the lower template and the vibration plate for placing the contacts, the upper template and the lower template are respectively connected between the upper mold seat and the lower mold seat through guide posts, and the lower mold seat and the lower mold seat are respectively connected. A lower backing plate is arranged between the lower formwork, the vibrating plate is connected to the lower formwork through a material conveying guide rail, and the lower formwork is connected with a support pin for supporting the material belt, and the material belt is arranged at the place through the support pin. Between the upper die plate and the lower die plate, the contacts on the vibrating plate are transported to the pre-riveting forming needles provided in the lower die plate through the conveying guide rail, and the first The positioning member and the second positioning member respectively position the rear side and the left and right sides of the contact;
在完成触头的定位后,所述上模座向下动作时同步带动第一上冲杆向下动作,所述第一上冲杆的下端部延伸入所述上模板内,并且通过上弹簧的作用于设于所述上模板内的预铆活动针,使所述预铆活动针的下端部延伸出所述上模板的底部与触头相抵触,使触头的铆接端与料带的铆接孔保持同心;After the positioning of the contacts is completed, when the upper die seat moves downwards, the first upper punch rod moves downward synchronously, and the lower end of the first upper punch rod extends into the upper die plate and passes through the upper spring. It acts on the pre-riveting movable needle set in the upper template, so that the lower end of the pre-riveting movable needle extends out of the bottom of the upper template and collides with the contact, so that the riveting end of the contact is in contact with the riveting end of the material strip. The riveting holes are kept concentric;
在完成触头的铆接端与料带的铆接孔同心后,所述上模座继续向下动作时同步带动所述第一上冲杆及第二上冲杆向下动作,使所述第二上冲杆的下端部贯穿所述上模板并作用于设于所述下模板内的传力杆的上端部,进而所述传力杆推动设于所述下垫板内的跷翘机构的一端,所述跷翘机构的另一端带动设于所述下模板内的下顶针,所述下顶针的上端部推动所述预铆成型针向上动作,通过所述第一上冲杆与所述预铆成型针的相对力作用下完成触头与料带的铆压连接。After the riveting end of the contact is concentric with the riveting hole of the material strip, when the upper die holder continues to move downward, the first upper punch and the second upper punch are simultaneously driven to move downward, so that the second upper punch is moved downward. The lower end of the upper punch penetrates the upper formwork and acts on the upper end of the dowel rod arranged in the lower formwork, and then the dowel rod pushes one end of the seesaw mechanism provided in the lower backing plate , the other end of the tilting mechanism drives the lower thimble set in the lower template, and the upper end of the lower thimble pushes the pre-riveting forming needle upward, and the first upper punch and the pre-riveting needle move upward. The riveting connection between the contact and the material strip is completed under the action of the relative force of the riveting forming needle.
进一步地,所述下模板内设有预铆座,所述预铆成型针、第一定位件和第二定位件通过预铆镶件装配于预铆座上,所述输料导轨延伸至所述上模板与所述下模板之间并将触头输送至所述预铆成型针上,所述下顶针在所述跷翘机构的作用下推动所述预铆成型针将触头铆压进料带的铆接孔内。Further, the lower template is provided with a pre-riveting seat, the pre-riveting forming needle, the first positioning member and the second positioning member are assembled on the pre-riveting seat through the pre-riveting inserts, and the conveying guide rail extends to the Between the upper template and the lower template, the contacts are transported to the pre-riveting needles, and the lower thimble pushes the pre-riveting needles under the action of the tilting mechanism to press the contacts into the pre-riveting needles. inside the riveting hole of the tape.
进一步地,用于定位触头后侧的所述第一定位件镶嵌于所述预铆镶件的上端部并与所述输料导轨呈相对关关系,所述输料导轨将触头输送至所述预铆成型针上时由所述第一定位件限定前进行程;Further, the first positioning member for positioning the rear side of the contact is inlaid on the upper end of the pre-riveting insert and is in a relative relationship with the conveying guide rail, which conveys the contact to the The forward stroke is defined by the first positioning member when the pre-riveting needle is on;
用于定位触头左右两侧的所述第二定位件至少包括两个,两个所述第二定位分别镶嵌于所述预铆镶件的上端并位于所述第一定位件的两侧,所述输料导轨将触头输送至所述预铆成型针上时两个所述第二限位件在定位弹簧的作用下同步对触头的左右位置进行调整。The second positioning members for positioning the left and right sides of the contact at least include two, and the two second positioning members are respectively inlaid on the upper end of the pre-riveting insert and located on both sides of the first positioning member, When the conveying guide rail conveys the contacts to the pre-riveting forming needles, the two second limiting members synchronously adjust the left and right positions of the contacts under the action of the positioning springs.
使用所述的铆压方法铆压触头组件的铆压装置,包括上模座、下模座、上模板、下模板及用于放置触头的振动盘,所述上模板、所述下模板分别通过导柱连接于所述上模座和所述下模座之间,所述下模座与所述下模板之间设有下垫板,所述振动盘通过输料导轨连接所述下模板,所述下模板连接有用于支撑料带的支撑销,所述上模座下方具有竖直设置并延伸至所述上模板的第一上冲杆和第二上冲杆,所述上模板内嵌入有脱镶柱,所述第一上冲杆的下端部延伸入所述脱镶柱内,所述脱镶柱内设有预铆活动针,所述第一上冲杆的下端部通过上弹簧作用于所述预铆活动针的上端部;The riveting and pressing device for riveting and pressing the contact assembly using the riveting and pressing method includes an upper die base, a lower die base, an upper template, a lower template and a vibration plate for placing contacts, the upper template, the lower template They are respectively connected between the upper die base and the lower die base through guide posts, a lower backing plate is arranged between the lower die base and the lower die plate, and the vibrating plate is connected to the lower die base through a conveying guide rail. a die plate, the lower die plate is connected with a support pin for supporting the material strip, the upper die base is provided with a first upper punch rod and a second upper punch rod vertically arranged and extending to the upper die plate, the upper die plate A stripping column is embedded inside, the lower end of the first upper punch extends into the stripping column, a pre-riveting movable needle is arranged in the stripping column, and the lower end of the first upper punch passes through the stripping column. The upper spring acts on the upper end of the pre-riveting movable needle;
所述下模板内嵌入有预铆座,所述预铆座位于所述脱镶柱下方,所述预铆座的上端部连接有用于装配第一定位件、第二定位件及预铆成型针的预铆镶件,所述预铆成型针的下端部延伸入所述预铆座内,所述预铆座内设有下顶针,所述预铆成型针的下端部作用于所述下顶针的上端部;A pre-riveting seat is embedded in the lower template, the pre-riveting seat is located below the stripping column, and the upper end of the pre-riveting seat is connected with a first positioning piece, a second positioning piece and a pre-riveting forming needle. The pre-riveting insert, the lower end of the pre-riveting needle extends into the pre-riveting seat, the pre-riveting seat is provided with a lower thimble, and the lower end of the pre-riveting needle acts on the lower thimble the upper end of ;
所述下垫板内设有跷翘机构,所述下顶针的下端部延伸出所述预铆座的底部并连接于所述跷翘机构的一端;The lower backing plate is provided with a seesaw mechanism, and the lower end of the lower thimble extends out of the bottom of the pre-riveting seat and is connected to one end of the seesaw mechanism;
所述下模板内设有传力杆,所述第二上冲杆的下端部贯穿所述上模板并作用于所述传力杆的上端部,所述传力杆的下端部贯穿所述下模板并作用于所述跷翘机构的另一端。The lower formwork is provided with a dowel rod, the lower end of the second upper punch penetrates the upper formwork and acts on the upper end of the dowel rod, and the lower end of the dowel rod penetrates the lower end of the dowel rod. The template also acts on the other end of the seesaw mechanism.
进一步地,所述上模座的底部连接有上垫板,所述第一上冲杆和所述第二上冲杆的上端部分别竖直连接所述上垫板的底部;Further, an upper backing plate is connected to the bottom of the upper die base, and the upper ends of the first upper punch and the second upper punch are respectively vertically connected to the bottom of the upper backing plate;
所述上垫板与所述上模板之间设有上夹板和止挡板,所述第一上冲杆的下端部和所述第二上冲杆的下端部依次贯穿所述上夹板、所述止挡板后并延伸至所述上模板。An upper clamping plate and a stop plate are arranged between the upper backing plate and the upper template, the lower end of the first upper punch and the lower end of the second upper punch pass through the upper clamping plate, behind the stop plate and extending to the upper template.
进一步地,所述预铆镶件镶嵌于所述预铆座的上端部,所述第一定位件镶嵌于所述预铆镶件的上端部并与所述输料导轨呈相对关系;Further, the pre-riveting insert is inlaid on the upper end of the pre-riveting seat, and the first positioning piece is inlaid on the upper end of the pre-riveting insert and is in a relative relationship with the conveying guide rail;
所述第二定位件至少包括两个,两个所述第二定位件分别镶嵌于所述预铆镶件的上端部并位于所述第一定位件的两侧,两个所述第二限位件远离所述第一定位件的一侧连接有定位弹簧。The second positioning member includes at least two, the two second positioning members are respectively inlaid on the upper end of the pre-riveting insert and located on both sides of the first positioning member, and the two second positioning members are A positioning spring is connected to a side of the positioning member away from the first positioning member.
进一步地,所述上模板与所述下模板之间具有间隙,所述上模板内设有脱料镶件,所述脱料镶件贯穿所述上模板,所述脱料镶件内嵌入有脱料冲件,所述脱料冲件的上端部与所述上垫板相连接。Further, there is a gap between the upper template and the lower template, a stripping insert is arranged in the upper template, the stripping insert penetrates the upper template, and a stripping insert is embedded in the upper template. A stripping punch, the upper end of the stripping punch is connected with the upper backing plate.
进一步地,所述支撑销贯穿所述下模板,所述下垫板和所述下模座内设有与所述支撑销相对应的支撑弹簧,所述支撑销的下端部与所述支撑弹簧相连接,所述支撑销的上端部延伸出所述上模板的顶部,所述支撑销的上端部周边具有与料带的边缘相嵌合的环形槽。Further, the support pin penetrates the lower die plate, a support spring corresponding to the support pin is arranged in the lower backing plate and the lower die base, and the lower end of the support pin is connected to the support spring. In connection, the upper end of the support pin extends out of the top of the upper template, and the periphery of the upper end of the support pin has an annular groove fitted with the edge of the material strip.
进一步地,还包括下弹簧,所述下弹簧布置于所述预铆镶件与所述预铆座相互连接而形成的弹簧槽内,所述预铆成型针的下端部穿入所述弹簧槽内并与所述下弹簧形成回弹连接关系,所述下顶针的上端部穿入所述弹簧槽后与所述预铆成型针的下端部相抵接。Further, it also includes a lower spring, the lower spring is arranged in a spring groove formed by connecting the pre-riveting insert and the pre-riveting seat, and the lower end of the pre-riveting needle penetrates into the spring groove The upper end of the lower thimble penetrates into the spring groove and abuts against the lower end of the pre-riveting needle.
进一步地,所述输料导轨的进料端连接所述振动盘,所述输料导轨的出料端嵌入于所述下模板的顶部并连接至所述预铆镶件的一侧,所述输料导轨的输料槽与所述预铆镶件的入料口相对应。Further, the feed end of the conveying guide rail is connected to the vibrating plate, the discharge end of the conveying guide rail is embedded in the top of the lower formwork and connected to one side of the pre-riveting insert, the The feeding groove of the feeding guide rail corresponds to the feeding port of the pre-riveting insert.
从以上技术方案可以看出,本申请的振动盘上的触头通过输料导轨输送到下模板内的预铆成型针上后,第一定位件限定触头继续向前滑行的位置,接着第二定位件调整触头左右两侧的位置,以此保证触头位于预铆成型针的正上方;然后控制上模座下降带动第一上冲杆,第一上冲杆作用于预铆活动针上,这时预铆活动针下降穿过料带的铆接孔并抵触到触头的铆接端,使得触头的铆接端与料带的铆接孔形成同心相对关系,可有效防止触头脚部被刮伤和铆偏的问题;最后,上模座会继续向下带动第一上冲杆及第二上冲杆,第一上冲杆会进一步作用于预铆活动针,第二上冲杆穿过上模板作用于传力杆上,使传力杆推动跷翘机构并根据杠杆原理,撬动下顶针推动预铆成型针,以此通过第一上冲杆和预铆成型针的相对力的作用来完成触头与料带之间的铆接关系,有效提高触头铆接面积的效果。It can be seen from the above technical solutions that after the contacts on the vibrating plate of the present application are transported to the pre-riveting forming needles in the lower template through the feeding guide rail, the first positioning member defines the position where the contacts continue to slide forward, and then the first positioning member defines the position where the contacts continue to slide forward. The two positioning pieces adjust the position of the left and right sides of the contact, so as to ensure that the contact is located directly above the pre-riveting needle; then control the upper die base to descend to drive the first upper punch, which acts on the pre-riveting movable needle At this time, the pre-riveting movable needle descends through the riveting hole of the material strip and collides with the riveting end of the contact, so that the riveting end of the contact and the riveting hole of the material strip form a concentric relative relationship, which can effectively prevent the contact foot from being damaged. The problem of scratches and riveting deviation; finally, the upper die base will continue to drive the first upper punch and the second upper punch downward, the first upper punch will further act on the pre-riveting movable needle, and the second upper punch will wear The upper template acts on the dowel rod, so that the dowel rod pushes the seesaw mechanism and, according to the lever principle, prys the lower thimble to push the pre-riveting forming needle, so as to pass the relative force between the first upper punch and the pre-riveting forming needle. It is used to complete the riveting relationship between the contact and the material strip, and effectively improve the effect of the riveting area of the contact.
附图说明Description of drawings
为了更清楚地说明本申请实施例或现有技术中的技术方案,下面将对实施例或现有技术描述中所需要使用的附图作简单地介绍,显而易见地,下面描述中的附图仅仅是本申请的一些实施例,对于本领域普通技术人员来讲,在不付出创造性劳动性的前提下,还可以根据这些附图获得其它的附图。In order to more clearly illustrate the embodiments of the present application or the technical solutions in the prior art, the following briefly introduces the accompanying drawings required for the description of the embodiments or the prior art. Obviously, the drawings in the following description are only These are some embodiments of the present application, and for those of ordinary skill in the art, other drawings can also be obtained from these drawings without any creative effort.
图1为本申请实施例提供的铆压装置的立体图;1 is a perspective view of a riveting device provided by an embodiment of the present application;
图2为本申请实施例提供的铆压装置的俯视图;2 is a top view of a riveting device provided by an embodiment of the present application;
图3为图2的A-A方向的剖视图;Fig. 3 is the sectional view of the A-A direction of Fig. 2;
图4为图3中C处的放大视图;Fig. 4 is an enlarged view at C in Fig. 3;
图5为图2的B-B方向剖切后的立体图;Fig. 5 is the perspective view after cutting along the B-B direction of Fig. 2;
图6为本申请实施例提供的铆压装置分解后输料导轨、料带、脱镶柱、预铆座及下模座之间的位置关系示意图;6 is a schematic diagram of the positional relationship between the material conveying guide rail, the material belt, the stripping column, the pre-riveting seat and the lower die seat after the riveting and pressing device provided by the embodiment of the application is decomposed;
图7为本申请实施例提供的铆压装置分解后预铆镶件、预铆座及跷翘机构之间的位置关系示意图;7 is a schematic diagram of the positional relationship among the pre-riveting inserts, the pre-riveting seat and the seesaw mechanism after the riveting and pressing device provided by the embodiment of the present application is decomposed;
图8为本申请实施例提供的铆压装置分解后第一上冲杆、上弹簧、预铆活动针、第一定位杆、第二定位杆、定位弹簧、下顶针及跷翘机构之间的位置关系示意图;FIG. 8 is the disassembly of the riveting device provided by the embodiment of the application among the first upper punch, the upper spring, the pre-riveting movable needle, the first positioning rod, the second positioning rod, the positioning spring, the lower thimble and the tilting mechanism. Schematic diagram of the location relationship;
图9为本申请实施例提供的铆压装置分解后零部件对触头的定位示意图。FIG. 9 is a schematic diagram of the positioning of the components to the contacts after the riveting and pressing device provided by the embodiment of the present application is disassembled.
图中:In the picture:
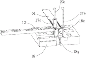
01、料带;02、触头;01, material belt; 02, contact;
11、振动盘;11. Vibration plate;
12、输料导轨;12. Conveying guide rail;
13、上模座;13. Upper die seat;
14、上垫板;14. Upper pad;
15、上夹板;15. Upper splint;
16、止挡板;16. Stop plate;
17、上模板;17a、脱镶柱;17b、预铆活动针;17d、脱料镶件;17e、上弹簧;17, upper template; 17a, stripping column; 17b, pre-riveting movable needle; 17d, stripping insert; 17e, upper spring;
18、下模板;18a、支撑销;18b、预铆成型针;18c、第一定位件;18d、第二定位件;18e、传力杆;18f、下顶针;18g、预铆座;18h、预铆镶件;18i、定位弹簧;18j、支撑弹簧;18k、下弹簧;18. Lower template; 18a, support pin; 18b, pre-riveting needle; 18c, first positioning piece; 18d, second positioning piece; 18e, dowel rod; 18f, lower thimble; 18g, pre-riveting seat; 18h, Pre-riveted inserts; 18i, positioning spring; 18j, support spring; 18k, lower spring;
19、下垫板;19a、跷翘机构;19a1、跷翘板;19a2、跷翘底座;19a3、连接轴;19, bottom plate; 19a, seesaw mechanism; 19a1, seesaw plate; 19a2, seesaw base; 19a3, connecting shaft;
21、下模座;21. Lower die seat;
22、导柱;22. Guide column;
23a、第一上冲杆;23b、第二上冲杆。23a, the first upper punch; 23b, the second upper punch.
具体实施方式Detailed ways
下面将结合附图对本申请实施例的技术方案进行清楚、完整地描述,显然,所描述的实施例是本申请实施例一部分实施例,而不是全部的实施例。基于本申请实施例中的实施例,本领域普通技术人员在没有做出创造性劳动前提下所获得的所有其他实施例,都属于本申请实施例保护的范围。The technical solutions of the embodiments of the present application will be clearly and completely described below with reference to the accompanying drawings. Obviously, the described embodiments are part of the embodiments of the present application, but not all of the embodiments. Based on the embodiments in the embodiments of the present application, all other embodiments obtained by persons of ordinary skill in the art without creative work fall within the protection scope of the embodiments of the present application.
在本申请实施例的描述中,需要说明的是,术语“中心”、“上”、“下”、“左”、“右”、“竖直”、“水平”、“内”、“外”等指示的方位或位置关系为基于附图所示的方位或位置关系,仅是为了便于描述本申请实施例和简化描述,而不是指示或暗示所指的装置或元件必须具有特定的方位、以特定的方位构造和操作,因此不能理解为对本申请实施例的限制。此外,术语“第一”、“第二”、“第三”仅用于描述目的,而不能理解为指示或暗示相对重要性。In the description of the embodiments of the present application, it should be noted that the terms "center", "upper", "lower", "left", "right", "vertical", "horizontal", "inner", "outer" The orientation or positional relationship indicated by ” etc. is based on the orientation or positional relationship shown in the accompanying drawings, which is only for the convenience of describing the embodiments of the present application and simplifying the description, rather than indicating or implying that the indicated device or element must have a specific orientation, It is constructed and operated in a specific orientation, and therefore should not be construed as a limitation on the embodiments of the present application. Furthermore, the terms "first", "second", and "third" are used for descriptive purposes only and should not be construed to indicate or imply relative importance.
在本申请实施例的描述中,需要说明的是,除非另有明确的规定和限定,术语“安装”、“相连”、“连接”应做广义理解,例如,可以是固定连接,也可以是可更换连接,或一体地连接,可以是机械连接,也可以是电连接,可以是直接相连,也可以通过中间媒介间接相连,可以是两个元件内部的连通。对于本领域的普通技术人员而言,可以具体情况理解上述术语在本申请实施例中的具体含义。In the description of the embodiments of the present application, it should be noted that, unless otherwise expressly specified and limited, the terms "installed", "connected" and "connected" should be understood in a broad sense, for example, it may be a fixed connection or a The interchangeable connection, or the integral connection, can be a mechanical connection, an electrical connection, a direct connection, an indirect connection through an intermediate medium, or an internal communication between two components. Those of ordinary skill in the art can understand the specific meanings of the above terms in the embodiments of the present application in specific situations.
请参阅图1-9所示,本申请实施例中提供的一种铆压触头02组件的铆压装置,主要用于低压用电开关的动触桥和静触桥上铆接触头02,当然也可根据实际应用需求,应用于铆接高压用电开关的触桥、触头02铆接,在此不作限制。铆压装置主要包括上模座13、下模座21、上模板17、下模板18及用于放置触头02的振动盘11,上模板17、下模板18分别通过导柱22连接于上模座13和下模座21之间,下模座21与下模板18之间设有下垫板19。需要说明的是,自上而下依次此设置上模座13、上模板17、下模板18、下垫板19及下模座21,使其呈现为叠层布置关系,本实施例所采用的导柱22为可伸缩结构,这样,上模座13在下降时可同步带动上模板17向下下降。Please refer to FIGS. 1-9 , a riveting device for a
本实施例的上模座13下方具有竖直设置并延伸至上模板17的第一上冲杆23a和第二上冲杆23b,第一上冲杆23a和第二上冲杆23b之间相互平行布置。上模板17内具有竖直的贯穿孔,该贯穿孔与第一上冲杆23a相对应设置,在贯穿孔内嵌入有脱镶柱17a,第一上冲杆23a的下端部延伸入脱镶柱17a内,且脱镶柱17a内安装有上弹簧17e,使第一上冲杆23a的下端部与该上弹簧17e相连接。下模板18具有竖直的贯穿孔,该贯穿孔内嵌入有预铆座18g,且该预铆座18g位于脱镶柱17a下方,预铆座18g的上端部具有镶嵌槽,预铆座18g的镶嵌槽可用于安装预铆镶件18h,预铆座18g和预铆镶件18h相对应地设有竖直贯穿的针孔,在针孔中穿接有预铆成型针18b。The
本实施例的振动盘11大致呈螺旋状,振动盘11延伸出有用于输送触头02的输料导轨12,且振动盘11延伸出来的输料导轨12连接于下模板18上。确切地说,振动盘11延的输料导轨12可延伸至上模板17与下模板18之间,也即是可将触头02输送到下模板18的预铆成型针18b的上端部,预铆成型针18b的上端部具有用于放置触头02的放置部。The vibrating
预铆镶件18h可用于安装第一定位件18c、第二定位件18d及预铆成型针18b,本实施例的第一定位件18c用于对预铆成型针18b上的触头02的后侧的推进位置进行限定,第二定位件18d用于对对预铆成型针18b上的触头02的左右侧位置进行调整和限定。以此保证触头02位于预铆成型针18b的正上方,完成触头02的定位动作。The
下模板18连接有用于支撑料带01的支撑销18a,铆压装置将料带01送入到上模板17与下模板18之间时,支撑销18a可对料带01的两边起到支撑和定位的作用,以此保证料带01能够顺畅地送入到指定位置,且上模板17中设有用于对料带01两边表面进行冲孔的引导针,当料带01在进行铆接触头02时该引导针也可对料带01启动一定的稳定作用。The
脱镶柱17a内还设有预铆活动针17b,该预铆活动针17b位于第一上冲杆23a和上弹簧17e的正下方。这样,第一上冲杆23a的下端部即可通过上弹簧17e作用于预铆活动针17b的上端部,使得预铆活动针17b具有向下的缓冲动作。预铆活动针17b的下端部延伸出上模板17的底部与触头02相抵触,当第一上冲杆23a推动预铆活动针17b时可使触头02的铆接端与料带01的铆接孔保持同心,以此完成触头02与料带01的同心布置关系。A pre-riveting
预铆成型针18b的上端部延伸出预铆座18g的顶部,也即是触头02放置于预铆成型针18b上时是位于预铆镶件18h上的,预铆成型针18b的下端部延伸入预铆座18g内。优选的,预铆座18g内设有下顶针18f,该下顶针18f的上端部延伸入预铆座18g内且与预铆成型针18b的下端部相抵接,在实际应用中下顶针18f的上端部会对预铆成型针18b的下端部产生一个向上的推力,下顶针18f的下端部延伸出预铆座18g的底部。The upper end of the
上模板17内还具有另一竖直的贯穿孔,该贯穿孔与第二上冲杆23b相对应设置,第二上冲杆23b竖直贯穿该贯穿孔并延伸出上模板17的底部。下模板18内同样具有贯穿孔,下模板18的该贯穿孔与上模板17的贯穿孔相对应,下模板18的该贯穿孔内安装有传力杆18e,这样,第二上冲杆23b的下端部延伸出上模板17的底部后作用于传力杆18e的上端部,传力杆18e的下端部延伸出下模板18的底部。The
本实施例的下垫板19内设有贯穿孔,该贯穿孔内安装有跷翘机构19a,所采用的跷翘机构19a主要用于传递第二上冲杆23b对预铆成型针18b发出的作用力,跷翘机构19a依据的是杠杆原理。因此,下顶针18f的下端部延伸出预铆座18g的底部后连接于跷翘机构19a的一端,且第二上冲杆23b向下动作时会通过传力杆18e对跷翘机构19a的一端产生作用力。The
更具体地,对于跷翘机构19a的设计要求是,跷翘机构19a主要包括跷翘板19a1、跷翘底座19a2及连接轴19a3,跷翘板19a1位于跷翘底座19a2上方,跷翘板19a1的中底部通过连接轴19a3连接跷翘底座19a2的中顶部,使得跷翘板19a1与跷翘底座19a2形成相互活动连接关系。然后下顶针18f的下端部连接于跷翘板19a1的一端,传力杆18e的下端部连接于跷翘板19a1的另一端,以此完成下顶针18f、传力杆18e与跷翘机构19a的连接关系。More specifically, the design requirement for the
对于跷翘机构19a的安装要求是,在本实施例的下垫板19中设置一用于安装跷翘机构19a的贯穿孔,该贯穿孔的底部与下模座21的顶部相贴合,这样,当跷翘机构19a完全置于贯穿孔内时,跷翘底座19a2可置于下模座21的顶部上。确切地说,跷翘板19a1连接传力杆18e的一端与跷翘底座19a2之间的距离,大于跷翘板19a1连接下顶针18f的一端与跷翘底座19a2之间的距离。The installation requirement of the
这样,振动盘11上的触头02通过输料导轨12输送到下模板18内的预铆成型针18b上后,第一定位件18c限定触头02继续向前滑行的位置,接着第二定位件18d调整触头02左右两侧的位置,以此保证触头02位于预铆成型针18b的正上方;然后控制上模座13下降带动第一上冲杆23a,第一上冲杆23a作用于预铆活动针17b上,这时预铆活动针17b下降穿过料带01的铆接孔并抵触到触头02的铆接端,使得触头02的铆接端与料带01的铆接孔形成同心相对关系,可有效防止触头02脚部被刮伤和铆偏的问题;最后,上模座13会继续向下带动第一上冲杆23a及第二上冲杆23b,第一上冲杆23a会进一步作用于预铆活动针17b,第二上冲杆23b穿过上模板17作用于传力杆18e上,使传力杆18e推动跷翘机构19a并根据杠杆原理,撬动下顶针18f推动预铆成型针18b,以此通过第一上冲杆23a和预铆成型针18b的相对力的作用来完成触头02与料带01之间的铆接关系,有效提高触头02铆接面积的效果。In this way, after the
请参阅图1-3所示,根据上述技术方案,对于本申请铆压装置的前端设计要求是,输料导轨12的进料端连接振动盘11,而输料导轨12的出料端延伸至上模板17和下模板18之间后嵌入于下模板18的顶部,然后输料导轨12的出料端继续向前延伸截止连接至预铆镶件18h的一侧。输料导轨12上设有输料槽,该输料槽自连接振动盘11的进料端布置至连接预铆镶件18h一侧的出料端,预铆镶件18h具有入料口,因此,输料导轨12的输料槽与预铆镶件18h的入料口相对应。在实际应用中,触头02由振动盘11振动到输料导轨12的输料槽里,并且在压缩空气的作用下使触头02沿着输料槽输送至预铆镶件18h的预铆成型针18b的具有一定弧度的上端部。这样,通过输料导轨12的优化布置完成将触头02输送至预铆成型针18b上与料带01进行铆接的目的。Please refer to FIGS. 1-3. According to the above technical solution, the front-end design requirement of the riveting device of the present application is that the feeding end of the conveying
本实施例的上模座13的底部连接有上垫板14,第一上冲杆23a和第二上冲杆23b的上端部分别竖直固定连接于上垫板14的底部,当上模座13向下动作时同步带动上垫板14,上垫板14带动第一上冲杆23a和第二上冲杆23b向下动作,优选的,第二上冲杆23b的长度长于第一上冲杆23a的长度。优选的,在上垫板14与上模板17之间还设有上夹板15和止挡板16,也即是说上垫板14的底部连接上夹板15的顶部,止挡板16位于上夹板15的下方。因此,铆压装置的整体结构自上而下依次此设置上模座13、上垫板14、上夹板15、止挡板16、上模板17、下模板18、下垫板19及下模座21,各层板块呈现为叠层布置关系,其中,上夹板15与止挡板16之间留置有间隙,上模板17与上模板17之间同样留置有间隙。The bottom of the
当上模座13带动第一上冲杆23a和第二上冲杆23b向下动作时,第一上冲杆23a的下端部和第二上冲杆23b的下端部即会依次贯穿上夹板15、止挡板16后并延伸至上模板17,其中,第二上冲杆23b还会继续下降贯穿上模板17并延伸至下模板18。通过第一上冲杆23a和第二上冲杆23b与上模座13、上垫板14、上夹板15、止挡板16、上模板17及下模板18之间的装配关系,可有效实现第一上冲杆23a、第二上冲杆23b对触头02和料带01的铆压动作效果。When the
请参阅图6-9所示,本实施例的预铆座18g上端部的中间具有向下凹陷的安装槽,预铆镶件18h可镶嵌于预铆座18g的上端部的安装槽里,完成预铆镶件18h与预铆座18g之间的装配关系。预铆镶件18h的上端部具有大致为“十”字形状的安装槽,用于限定触头02的后侧的第一定位件18c镶嵌于预铆镶件18h的上端部的安装槽里,确切地说,第一定位件18c装配于预铆镶件18h的上端部与输料导轨12呈相对关系的安装槽里。优选的,本实施例中的第一定位件18c朝向触头02的一端面设为弧形面,该弧形面大致在第一定位件18c的端面上的纵向方向,第一定位件18c的底部具有与输料导轨12相对应的导轨座,因此,预铆成型针18b的上端部就会贯穿第一定位件18c的导轨座,使预铆成型针18b的上端部延伸出该导轨座的上面,第一定位件18c的弧形面位于预铆成型针18b的上端部一侧。使得触头02在输送过来时,第一定位件18c的弧形面可直接限定触头02的推进位置,并使触头02停留于预铆成型针18b的上端部。Please refer to FIGS. 6-9 , the middle of the upper end of the
本实施例第二定位件18d至少包括两个,两个第二定位件18d分别镶嵌于预铆镶件18h的上端部的另一安装槽里,且第二定位件18d分别位于第一定位件18c的两侧,或者说第二定位件18d分别位于第一定位件18c的两侧。为了实现两个第二定位件18d分别对触头02的左右两侧位置调整的目的,在两个第二限位件分别远离第一定位件18c的一侧连接有定位弹簧18j,在该定位弹簧18j的弹性作用下,两个第二限位件朝相对方向推进,以此调整输送至预铆成型针18b上的触头02左右两侧位置。The
请参阅图1、图5所示,本实施例的上模板17与下模板18之间具有间隙,在实际应用中,铆压装置将料带01输送至上模板17与下模板18所形成的间隙中,在上模板17内设有多个用于脱离料带01中铆接完触头02的成品件的脱料镶件17b。该脱料镶件17b贯穿上模板17,在脱料镶件17b内嵌入有脱料冲件,脱料冲件的上端部固定连接于上垫板14的底部。这样,脱料冲件下端部竖直向下贯穿上垫板14、上夹板15、止挡板16及上模板17,脱料冲件与脱料镶件17b之间为活动布置关系,上模座13向下动作同时通过上垫板14带动脱料冲件,可通过脱料冲件的下端部对料带01上的成品进行直接的冲撞脱模处理,使得本申请的脱模工序简单便捷。Please refer to FIG. 1 and FIG. 5 , there is a gap between the
请参阅图5所示,本实施例的支撑销18a装配于下模板18中,且支撑销18a贯穿下模板18,支撑销18a的上端部延伸出下模板18的顶部,支撑销18a的下端部延伸出下模板18的底部。优选的,在下垫板19和下模座21内设有与支撑销18a相对应的支撑弹簧,也即是说支撑销18a的下端部与支撑弹簧相连接,支撑销18a延伸出上模板17的顶部的上端部周边具有与料带01的边缘相嵌合的环形槽。在实际应用中,将料带01输送至上模板17与下模板18之间的间隙时,本实施例的支撑销18a可设置两排,且两排支撑销18a分别与输送进来的料带01的两边相嵌合,以此实现稳定和限定料带01在上模板17和下模板18之的位置。除此之外,支撑销18a在支撑弹簧的作用下,可以适当调整支撑销18a在竖直方向上的高度,也即是通过支撑销18a和支撑弹簧的相互支持和相互作用来调整料带01在竖直方向上的高度,或者说调整料带01与上模板17或下模板18之间的距离。Please refer to FIG. 5 , the
请参阅图8-9所示,本实施例的预铆镶件18h与预铆座18g相互配合后形成有一弹簧槽,预铆成型针18b的下端部穿入至该弹簧槽内,且在弹簧槽内安装有一下弹簧18k,因此,预铆成型针18b的下端部穿接该下弹簧18k,预铆成型针18b的下端部具有凸起圆头。当预铆成型针18b向上动作时凸起圆头可对下弹簧18k进行压缩,或者说由于下弹簧18k的弹性作用,预铆成型针18b与下弹簧18k形成回弹连接关系。在实际应用中,跷翘底座19a2作用于下顶针18f上时,下顶针18f的上端部穿入弹簧槽后与预铆成型针18b的下端部相抵接,预铆成型针18b对下弹簧18k进行压缩,使预铆成型针18b的上端部推动触头02铆接在料带01的铆接孔里,以此完成触头02与料带01的铆接关系。8-9, the
于本申请实施例中,提供一种使用铆压装置的铆压方法,通过本申请的铆压方法可将触头02铆接在料带01上,具体的铆压方法如下:In the embodiment of the present application, a riveting pressing method using a riveting pressing device is provided, and the
步骤S1,料带01就位及触头02定位,振动盘11通过输料导轨12连接下模板18,下模板18连接有用于支撑料带01的支撑销18a,料带01通过支撑销18a布置于上模板17与下模板18之间,下模板18通过预铆座18g和预铆镶件18h装配有预铆成型针18b、第一定位件18c及第二定位件18d;输料导轨12延伸至上模板17与下模板18之间,振动盘11上的触头02通过输料导轨12输送至所述预铆成型针18b的上端部,输料导轨12将触头02输送至预铆成型针18b上时由第一定位件18c限定前进行程;第二定位件18d至少包括两个,两个第二定位分别镶嵌于预铆镶件18h的上端并位于第一定位件18c的两侧,输料导轨12将触头02输送至预铆成型针18b上时两个第二限位件在定位弹簧18j的作用下同步对触头02的左右位置进行调整;In step S1, the
步骤S2,触头02的铆接端与料带01的铆接孔同心布置,上模板17通过脱镶柱17a装配有预铆活动针17b,在完成触头02的定位后,上模座13向下动作时通过上垫板14同步带动第一上冲杆23a向下动作,第一上冲杆23a的下端部贯穿上夹板15、止挡板16后延伸入上模板17内,并且第一上冲杆23a的下端部通过上弹簧17e的作用于预铆活动针17b的上端部,使预铆活动针17b的下端部延伸出上模板17的底部并穿过料带01的铆接孔与触头02相抵触,使触头02的铆接端与料带01的铆接孔保持同心;Step S2, the riveting end of the
步骤S3,触头02的铆接端铆压连接于料带01,在完成触头02的铆接端与料带01的铆接孔同心后,上模座13继续向下动作时同步带动第二上冲杆23b向下动作,使第二上冲杆23b的下端部贯穿上模板17并作用于设于下模板18内的传力杆18e的上端部,进而传力杆18e推动设于下垫板19内的跷翘机构19a的跷翘板19a1的一端,跷翘机构19a的跷翘板19a1的另一端带动设于下模板18内的下顶针18f,进而下顶针18f的上端部推动预铆成型针18b向上动作,预铆成型针18b的上端部推动触头02的铆接端铆接在料带01的铆接孔里,这样,通过第一上冲杆23a与预铆成型针18b的相对力作用下完成触头02与料带01的铆压连接。In step S3, the riveting end of the
这样,振动盘11上的触头02通过输料导轨12输送到下模板18内的预铆成型针18b上后,第一定位件18c限定触头02继续向前滑行的位置,接着第二定位件18d调整触头02左右两侧的位置,以此保证触头02位于预铆成型针18b的正上方;然后控制上模座13下降带动第一上冲杆23a,第一上冲杆23a作用于预铆活动针17b上,这时预铆活动针17b下降穿过料带01的铆接孔并抵触到触头02的铆接端,使得触头02的铆接端与料带01的铆接孔形成同心相对关系,可有效防止触头02脚部被刮伤和铆偏的问题;最后,上模座13会继续向下带动第一上冲杆23a及第二上冲杆23b,第一上冲杆23a会进一步作用于预铆活动针17b,第二上冲杆23b穿过上模板17作用于传力杆18e上,使传力杆18e推动跷翘机构19a并根据杠杆原理,撬动下顶针18f推动预铆成型针18b,以此通过第一上冲杆23a和预铆成型针18b的相对力的作用来完成触头02与料带01之间的铆接关系,有效提高触头02铆接面积的效果。In this way, after the
以上对本申请所提供的一种铆压触头组件的铆压装置及其铆压方法进行了详细介绍,对于本领域的一般技术人员,依据本申请实施例的思想,在具体实施方式及应用范围上均会有改变之处,综上所述,本说明书内容不应理解为对本申请的限制。A riveting device and a riveting method for a riveting contact assembly provided by the present application have been introduced in detail above. For those skilled in the art, based on the ideas of the embodiments of the present application, the specific implementation and application scope There will be changes in the above. In summary, the content of this specification should not be construed as a limitation on this application.
Claims (10)
Priority Applications (1)
| Application Number | Priority Date | Filing Date | Title |
|---|---|---|---|
| CN202210319069.5A CN114713721B (en) | 2022-03-29 | 2022-03-29 | A riveting device and riveting method for a riveting contact assembly |
Applications Claiming Priority (1)
| Application Number | Priority Date | Filing Date | Title |
|---|---|---|---|
| CN202210319069.5A CN114713721B (en) | 2022-03-29 | 2022-03-29 | A riveting device and riveting method for a riveting contact assembly |
Publications (2)
| Publication Number | Publication Date |
|---|---|
| CN114713721A true CN114713721A (en) | 2022-07-08 |
| CN114713721B CN114713721B (en) | 2025-03-25 |
Family
ID=82240692
Family Applications (1)
| Application Number | Title | Priority Date | Filing Date |
|---|---|---|---|
| CN202210319069.5A Active CN114713721B (en) | 2022-03-29 | 2022-03-29 | A riveting device and riveting method for a riveting contact assembly |
Country Status (1)
| Country | Link |
|---|---|
| CN (1) | CN114713721B (en) |
Cited By (2)
| Publication number | Priority date | Publication date | Assignee | Title |
|---|---|---|---|---|
| CN115365399A (en) * | 2022-08-29 | 2022-11-22 | 蒙冬强 | Riveting device for connecting movable iron core and piston |
| CN115870745A (en) * | 2022-11-30 | 2023-03-31 | 上海齐耀重工有限公司 | Blanking die and automatic assembly equipment |
Citations (12)
| Publication number | Priority date | Publication date | Assignee | Title |
|---|---|---|---|---|
| JPS60240350A (en) * | 1984-05-15 | 1985-11-29 | Nitto Seiko Co Ltd | Rivet caulking machine |
| KR200221043Y1 (en) * | 2000-10-27 | 2001-04-16 | 문인환 | A rivetting machine of point contact for microswitch terminal |
| KR20140033947A (en) * | 2012-09-11 | 2014-03-19 | 현대중공업 주식회사 | Rivet contact coupled device |
| CN204504005U (en) * | 2015-02-03 | 2015-07-29 | 厦门鑫河机电科技有限公司 | A kind of High-Speed Automatic assembling contact making device |
| CN204817705U (en) * | 2015-07-09 | 2015-12-02 | 厦门捷昕精密科技股份有限公司 | Relay contact points rivets mould |
| CN105414362A (en) * | 2015-12-24 | 2016-03-23 | 昌辉汽车电器(黄山)股份公司 | Riveting equipment for riveting contact |
| CN105458152A (en) * | 2015-12-25 | 2016-04-06 | 昌辉汽车电器(黄山)股份公司 | Silver contact assembling and riveting equipment |
| CN206451630U (en) * | 2016-12-24 | 2017-08-29 | 惠州市金美精密部件有限公司 | A kind of switch movable contact piece silver point riveting device |
| CN206716872U (en) * | 2017-05-19 | 2017-12-08 | 仝达机电工业(惠州)有限公司 | A kind of contact riveting machine |
| CN107812841A (en) * | 2017-12-04 | 2018-03-20 | 温岭市环力电器有限公司 | A kind of full-automatic silver point lock seaming machine |
| CN109047622A (en) * | 2018-08-31 | 2018-12-21 | 苏州瑞玛精密工业股份有限公司 | Connecting rod pressure riveting mechanism |
| CN213496067U (en) * | 2020-09-26 | 2021-06-22 | 东莞市天喜电子元件有限公司 | Riveting mechanism on silver contact |
-
2022
- 2022-03-29 CN CN202210319069.5A patent/CN114713721B/en active Active
Patent Citations (12)
| Publication number | Priority date | Publication date | Assignee | Title |
|---|---|---|---|---|
| JPS60240350A (en) * | 1984-05-15 | 1985-11-29 | Nitto Seiko Co Ltd | Rivet caulking machine |
| KR200221043Y1 (en) * | 2000-10-27 | 2001-04-16 | 문인환 | A rivetting machine of point contact for microswitch terminal |
| KR20140033947A (en) * | 2012-09-11 | 2014-03-19 | 현대중공업 주식회사 | Rivet contact coupled device |
| CN204504005U (en) * | 2015-02-03 | 2015-07-29 | 厦门鑫河机电科技有限公司 | A kind of High-Speed Automatic assembling contact making device |
| CN204817705U (en) * | 2015-07-09 | 2015-12-02 | 厦门捷昕精密科技股份有限公司 | Relay contact points rivets mould |
| CN105414362A (en) * | 2015-12-24 | 2016-03-23 | 昌辉汽车电器(黄山)股份公司 | Riveting equipment for riveting contact |
| CN105458152A (en) * | 2015-12-25 | 2016-04-06 | 昌辉汽车电器(黄山)股份公司 | Silver contact assembling and riveting equipment |
| CN206451630U (en) * | 2016-12-24 | 2017-08-29 | 惠州市金美精密部件有限公司 | A kind of switch movable contact piece silver point riveting device |
| CN206716872U (en) * | 2017-05-19 | 2017-12-08 | 仝达机电工业(惠州)有限公司 | A kind of contact riveting machine |
| CN107812841A (en) * | 2017-12-04 | 2018-03-20 | 温岭市环力电器有限公司 | A kind of full-automatic silver point lock seaming machine |
| CN109047622A (en) * | 2018-08-31 | 2018-12-21 | 苏州瑞玛精密工业股份有限公司 | Connecting rod pressure riveting mechanism |
| CN213496067U (en) * | 2020-09-26 | 2021-06-22 | 东莞市天喜电子元件有限公司 | Riveting mechanism on silver contact |
Non-Patent Citations (1)
| Title |
|---|
| 聂永增;: "自动铆接机的机械结构设计", 新技术新工艺, no. 06, 25 June 2018 (2018-06-25) * |
Cited By (2)
| Publication number | Priority date | Publication date | Assignee | Title |
|---|---|---|---|---|
| CN115365399A (en) * | 2022-08-29 | 2022-11-22 | 蒙冬强 | Riveting device for connecting movable iron core and piston |
| CN115870745A (en) * | 2022-11-30 | 2023-03-31 | 上海齐耀重工有限公司 | Blanking die and automatic assembly equipment |
Also Published As
| Publication number | Publication date |
|---|---|
| CN114713721B (en) | 2025-03-25 |
Similar Documents
| Publication | Publication Date | Title |
|---|---|---|
| WO2023005131A1 (en) | Process for processing silicon steel sheet for disc motor | |
| CN114713721A (en) | A riveting device and a riveting method for a riveting contact assembly | |
| CN113231545B (en) | Progressive die with automatic riveting function | |
| CN209125103U (en) | A welding positioning device for a contact element welding machine | |
| CN209814403U (en) | Potentiometer packaging equipment | |
| CN110587264A (en) | Automatic crawler assembling equipment | |
| CN209125161U (en) | An automatic welding machine for contact components | |
| CN115070222B (en) | A picosecond laser cutting device for PCB production and processing | |
| CN209363393U (en) | Stamping die | |
| CN217290093U (en) | Riveting device for riveting contact assembly | |
| CN212303482U (en) | Single-layer tact switch automatic assembly machine | |
| CN209125092U (en) | A welding device of a contact element welding machine | |
| CN220480132U (en) | In-mold riveting stud device | |
| CN209823081U (en) | Tool is put to PIN needle class product | |
| CN119839131A (en) | Conveying equipment for automobile stamping part production line | |
| CN219421214U (en) | Pressing plate device and PCB forming system with same | |
| CN214866734U (en) | Cross feeding punching riveting device | |
| CN209125105U (en) | A wire feeding device for a contact element welding machine | |
| CN114932157A (en) | Punching and riveting processing method of arc extinguish chamber product | |
| CN209697951U (en) | A kind of interior fixing seat is loaded piece semi-automatic twist riveter | |
| CN222970737U (en) | Conductive contact composite forming device | |
| CN111299404A (en) | Power distribution switch cabinet supporting plate perforating machine and bottom perforating device and method thereof | |
| CN221966457U (en) | An automatic shaping device for stamping silver contacts of low-voltage electrical switches | |
| CN113751579B (en) | Micropore blanking die | |
| CN218699553U (en) | Electric wiring groove perforating device |
Legal Events
| Date | Code | Title | Description |
|---|---|---|---|
| PB01 | Publication | ||
| PB01 | Publication | ||
| SE01 | Entry into force of request for substantive examination | ||
| SE01 | Entry into force of request for substantive examination | ||
| GR01 | Patent grant | ||
| GR01 | Patent grant |
