CN114690023A - Flexible circuit board detection device convenient to operate - Google Patents
Flexible circuit board detection device convenient to operate Download PDFInfo
- Publication number
- CN114690023A CN114690023A CN202210597007.0A CN202210597007A CN114690023A CN 114690023 A CN114690023 A CN 114690023A CN 202210597007 A CN202210597007 A CN 202210597007A CN 114690023 A CN114690023 A CN 114690023A
- Authority
- CN
- China
- Prior art keywords
- fixedly connected
- circuit board
- frame body
- rod
- sleeve
- Prior art date
- Legal status (The legal status is an assumption and is not a legal conclusion. Google has not performed a legal analysis and makes no representation as to the accuracy of the status listed.)
- Granted
Links
- 238000001514 detection method Methods 0.000 title claims abstract description 60
- 238000003825 pressing Methods 0.000 claims abstract description 31
- 238000000926 separation method Methods 0.000 claims abstract description 10
- 230000007306 turnover Effects 0.000 claims abstract description 5
- 238000007789 sealing Methods 0.000 claims description 19
- 238000002347 injection Methods 0.000 claims description 8
- 239000007924 injection Substances 0.000 claims description 8
- 230000008093 supporting effect Effects 0.000 claims description 6
- 238000005096 rolling process Methods 0.000 claims 1
- 230000001681 protective effect Effects 0.000 description 13
- 238000004891 communication Methods 0.000 description 2
- 230000000694 effects Effects 0.000 description 2
- 239000000463 material Substances 0.000 description 2
- 230000000149 penetrating effect Effects 0.000 description 2
- 239000000047 product Substances 0.000 description 2
- 238000003860 storage Methods 0.000 description 2
- 241000826860 Trapezium Species 0.000 description 1
- 230000009286 beneficial effect Effects 0.000 description 1
- 230000000903 blocking effect Effects 0.000 description 1
- 238000011161 development Methods 0.000 description 1
- 238000010586 diagram Methods 0.000 description 1
- 238000007689 inspection Methods 0.000 description 1
- 238000012423 maintenance Methods 0.000 description 1
- 238000004519 manufacturing process Methods 0.000 description 1
- 238000000034 method Methods 0.000 description 1
- 238000012545 processing Methods 0.000 description 1
- 239000011435 rock Substances 0.000 description 1
- 239000000758 substrate Substances 0.000 description 1
- 239000013589 supplement Substances 0.000 description 1
Images
Classifications
-
- G—PHYSICS
- G01—MEASURING; TESTING
- G01R—MEASURING ELECTRIC VARIABLES; MEASURING MAGNETIC VARIABLES
- G01R31/00—Arrangements for testing electric properties; Arrangements for locating electric faults; Arrangements for electrical testing characterised by what is being tested not provided for elsewhere
- G01R31/28—Testing of electronic circuits, e.g. by signal tracer
- G01R31/2801—Testing of printed circuits, backplanes, motherboards, hybrid circuits or carriers for multichip packages [MCP]
- G01R31/2806—Apparatus therefor, e.g. test stations, drivers, analysers, conveyors
-
- G—PHYSICS
- G01—MEASURING; TESTING
- G01R—MEASURING ELECTRIC VARIABLES; MEASURING MAGNETIC VARIABLES
- G01R31/00—Arrangements for testing electric properties; Arrangements for locating electric faults; Arrangements for electrical testing characterised by what is being tested not provided for elsewhere
- G01R31/28—Testing of electronic circuits, e.g. by signal tracer
- G01R31/2801—Testing of printed circuits, backplanes, motherboards, hybrid circuits or carriers for multichip packages [MCP]
- G01R31/2806—Apparatus therefor, e.g. test stations, drivers, analysers, conveyors
- G01R31/2808—Holding, conveying or contacting devices, e.g. test adapters, edge connectors, extender boards
Landscapes
- Engineering & Computer Science (AREA)
- Computer Hardware Design (AREA)
- Microelectronics & Electronic Packaging (AREA)
- General Engineering & Computer Science (AREA)
- Physics & Mathematics (AREA)
- General Physics & Mathematics (AREA)
- Geophysics And Detection Of Objects (AREA)
Abstract
The invention relates to the technical field of circuit board detection, in particular to a flexible circuit board detection device convenient to operate, which comprises a frame body, wherein a conveying belt is installed on the frame body, a detection structure is installed at the top end of the frame body, a pressing structure is arranged on the detection structure, a separation structure is arranged on the pressing structure, a stacking structure is installed on the frame body, a limiting structure is arranged on the stacking structure, a turnover structure is installed on the detection structure, and a bearing structure is installed on one side of the frame body; when the detection structure descends to detect the flexible circuit board, the edge of the circuit board to be detected can be pressed and fixed by synchronously driving the pressing structure, so that the situation of bias when the circuit board is detected is avoided, the pressing structure can drive the separation structure to work when working, and the pressing structure can be prevented from sticking the circuit board after the detection structure finishes detection through the work of the separation structure.
Description
Technical Field
The invention relates to the technical field of circuit board detection, in particular to a flexible circuit board detection device convenient to operate.
Background
Flexible wiring boards are printed circuits made from flexible, insulating substrates. The flexible circuit board can be freely bent, wound and folded, the size and the weight of an electronic product can be greatly reduced, and the flexible circuit board is suitable for the requirements of the electronic product on the development towards high density, miniaturization and high reliability. In the production and processing process of the flexible circuit board, in order to ensure the usability and quality of the circuit board leaving factory, the circuit board is detected before leaving factory, and the circuit board is placed on a workbench and then is detected by approaching the circuit board through a detection head when the circuit board is detected at present.
When present detection head is close to the circuit board and detects, if the circuit board condition that rocks or slide appears, all can influence the effect that detects, the subassembly of pressing of circuit board that generally sets up, when the detector resets, the condition that the subassembly was glued with the circuit board to the pressing subassembly probably appears, thereby influence the unloading of circuit board, still can influence the detection of next circuit board, thereby the detection efficiency of greatly reduced circuit board, and after follow-up circuit board detection finishes, still need the manual work to fold the circuit board that detects well, influence the efficiency of piling up promptly, still can cause the not good condition of piling up the quality, thereby cause the trouble to subsequent taking and transporting.
Disclosure of Invention
Aiming at the problems in the prior art, the invention provides the flexible circuit board detection device which is convenient to operate.
The technical scheme adopted by the invention for solving the technical problems is as follows: a flexible circuit board detection device convenient to operate comprises a frame body, wherein a conveying belt is installed on the frame body, a detection structure is installed at the top end of the frame body, a pressing structure is arranged on the detection structure, a separation structure is arranged on the pressing structure, a stacking structure is installed on the frame body, a limiting structure is arranged on the stacking structure, a turnover structure is installed on the detection structure, and a bearing structure is installed on one side of the frame body;
the detection structure comprises a protective sleeve, a fixed sleeve is fixedly connected to the top end of the protective sleeve, a telescopic rod is slidably connected to the inner portions of the fixed sleeve and the protective sleeve, a detector is installed at the bottom end of the telescopic rod, a rack is installed on the telescopic rod, a first motor is installed outside the fixed sleeve, a gear inside the fixed sleeve is connected with the output end of the first motor in a rotating mode, and the gear is meshed with the rack.
Specifically, the inside fixedly connected with guide bar of fixed cover the outside sliding connection of guide bar has the guide block, just the guide block is with the top fixed connection of telescopic link.
Specifically, press the structure and include the connecting rod the both sides of telescopic link are vertical relation fixedly connected with connecting rod respectively the other end fixedly connected with dead lever of connecting rod, just the dead lever run through the lag and with lag sliding connection the inside sliding connection of dead lever has the slide bar that is "ten" font structure the outside cover of slide bar is equipped with first spring the bottom fixedly connected with of slide bar is the pressing block of trapezium structure.
The separation structure comprises a sealing sleeve, the top end of the protective sleeve is fixedly connected with two sealing sleeves in a symmetrical relation, two air grooves are formed in the sealing sleeves, the cross sections of the air grooves are of inverted convex structures, the fixing rods slide in the sealing sleeves, pistons are fixedly connected to the top ends of the fixing rods, communication grooves are formed in the fixing rods, the communication grooves are communicated with the air grooves, air outlet holes are formed in the sliding rods in a penetrating mode, air injection holes which are of an eight-shaped structure are formed in the pressing blocks, the air injection holes are communicated with the air outlet holes, first one-way valves are installed on the side wall of the top of the fixing rods, and second one-way valves are installed at the bottom ends of the side walls of the sealing sleeves.
Specifically, the stacking structure comprises bases, two bases are fixedly connected with the bottom end of the frame body in a parallel relation, the inner parts of the two bases are respectively and rotatably connected with a first screw rod which is connected with the output end of a second motor arranged at the side end of the base, a first thread sleeve is connected with the external thread of the first screw rod and is connected with the base in a sliding way, the top ends of the two first thread sleeves are fixedly connected with upright posts, the interiors of the two upright posts are rotatably connected with second screw rods, the second screw rods are connected with the output end of a third motor arranged at the top ends of the upright posts, a second thread sleeve is connected with the external thread of the second screw rod and is connected with the upright post in a sliding way, and a placing plate is fixedly connected between the two second thread sleeves, and a blanking plate is arranged at one end of the frame body at an included angle of forty-five degrees.
Specifically, the bottom of stand rotates and is connected with first ball, the stand passes through first ball and base sliding connection the flitch is gone up roll connection and is had a plurality of second balls down one side of placing the board rotates and is connected with the baffle.
Specifically, limit structure includes the sliding sleeve one side fixedly connected with sliding sleeve of baffle the inside of sliding sleeve has the stopper through second spring sliding connection place fixedly connected with stop collar on the board the inside of stop collar is equipped with the spacing groove the one end fixedly connected with pull rod of stopper, just pull rod and sliding sleeve sliding connection.
Specifically, the turnover structure includes the fixed slot be equipped with the fixed slot on the lag, the lag rotates with the support body to be connected the inside of support body has the connecting plate through slip post and fourth spring sliding connection fixedly connected with fixed column on the connecting plate, just the fixed column runs through the lateral wall of support body and with support body sliding connection go back fixedly connected with button on the connecting plate, just the button run through the lateral wall of support body and with support body sliding connection.
Specifically, there is a locking lever inside the protecting jacket through a third spring in a sliding connection manner, just one end of the locking lever is of a triangular structure, a handle is fixedly connected to the locking lever, the handle penetrates through the side wall of the protecting jacket and is in a sliding connection with the protecting jacket, and a locking sleeve is fixedly connected to the frame body.
The bearing structure comprises a bearing plate, wherein the bearing plate is connected to the support body in a rotating mode, a positioning groove which is of a triangular structure is formed in the bottom side of the bearing plate, a containing groove is formed in the support body, a supporting rod is connected to the inside of the containing groove in a rotating mode, a first magnet is fixedly connected to the bottom end of the bearing plate, and a second magnet is fixedly connected to the support body.
The invention has the beneficial effects that:
(1) according to the flexible circuit board detection device convenient to operate, the flexible circuit board to be detected can be automatically conveyed through the conveying belt arranged on the frame body, the flexible circuit board on the conveying belt can be automatically and accurately subjected to lifting detection through the detection structure arranged on the frame body, when the detection structure descends to detect the flexible circuit board, the pressing structure can be synchronously driven to press and fix the edge of the circuit board to be detected, the situation of offset during circuit board detection is avoided, the pressing structure can drive the separation structure to work while working, through the work of the separation structure, after the detection of the detection structure is finished, the pressing structure is prevented from adhering the circuit board, and the situation that the circuit board cannot be conveyed is avoided.
(2) According to the flexible circuit board detection device convenient to operate, due to the fact that the stacking structure is arranged at one end of the frame body, qualified circuit boards after detection can be placed in an orderly and stacked mode, taking and transferring in the later period are facilitated, stacking efficiency can be improved, stacking quality can be improved, blocking and limiting of the circuit boards after blanking and stacking are facilitated, limiting can be conveniently removed when the circuit boards are taken in the later period through the arrangement of the limiting structure, and operation is convenient and rapid.
(3) According to the flexible circuit board detection device convenient to operate, the whole detection structure can be conveniently turned over by installing the turning structure on the frame body, so that the detection structure can be maintained at a later stage, the detection structure can be limited and fixed after being turned over, the stability after being turned over is improved, and some maintained parts can be conveniently placed when the detection structure is maintained through the arrangement of the bearing structure, so that tools and parts can be effectively prevented from being placed everywhere during maintenance.
Drawings
The invention is further illustrated with reference to the following figures and examples.
Fig. 1 is a schematic overall structure diagram of a flexible printed circuit board inspection apparatus according to a preferred embodiment of the present invention;
FIG. 2 is an enlarged view of the part A shown in FIG. 1;
FIG. 3 is a schematic view of the connection structure of the protecting cover and the fixing cover of the present invention;
FIG. 4 is a schematic view of the connection structure of the telescopic rod and the connecting rod of the present invention;
FIG. 5 is an enlarged view of the structure of the portion B shown in FIG. 4;
FIG. 6 is a schematic view of the connection structure of the base and the upright of the present invention;
FIG. 7 is a schematic view of a connection structure of the sliding sleeve and the stop collar of the present invention;
FIG. 8 is a schematic view of the connection structure of the protection sleeve and the locking sleeve of the present invention;
FIG. 9 is a schematic view of a connection structure of a frame body and a fixing post according to the present invention;
FIG. 10 is a schematic view of the connection structure of the carrier plate and the support bar according to the present invention.
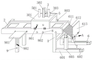
In the figure: 1. a frame body; 2. a conveyor belt; 3. detecting the structure; 301. a protective sleeve; 302. fixing a sleeve; 303. a first motor; 304. a telescopic rod; 305. a detector; 306. a rack; 307. a gear; 308. a guide bar; 309. a guide block; 4. a pressing structure; 401. a connecting rod; 402. fixing the rod; 403. a slide bar; 404. a pressing block; 405. a first spring; 5. a disengaging structure; 501. a sealing sleeve; 502. an air tank; 503. a piston; 504. a communicating groove; 505. an air outlet; 506. a gas injection hole; 507. a first check valve; 508. a second one-way valve; 6. a stacking structure; 601. a base; 602. a second motor; 603. a column; 604. a first lead screw; 605. a first threaded sleeve; 606. a first ball bearing; 607. a second lead screw; 608. a third motor; 609. a second threaded sleeve; 610. placing the plate; 611. a blanking plate; 612. a second ball bearing; 613. a baffle plate; 7. a limiting structure; 701. a sliding sleeve; 702. a limiting sleeve; 703. a pull rod; 704. a limiting block; 705. a second spring; 706. a limiting groove; 8. a turning structure; 801. fixing grooves; 802. fixing the column; 803. a locking sleeve; 804. a locking lever; 805. a third spring; 806. a handle; 807. a connecting plate; 808. a fourth spring; 809. a sliding post; 810. a button; 9. a load bearing structure; 901. a carrier plate; 902. a receiving groove; 903. a support bar; 904. positioning a groove; 905. a first magnet; 906. a second magnet.
Detailed Description
In order to make the technical means, the creation characteristics, the achievement purposes and the effects of the invention easy to understand, the invention is further described with the specific embodiments.
As shown in fig. 1 to 10, the flexible printed circuit board detection device convenient to operate according to the present invention includes a frame body 1, a conveyor belt 2 is installed on the frame body 1, a detection structure 3 is installed at the top end of the frame body 1, a pressing structure 4 is arranged on the detection structure 3, a separating structure 5 is arranged on the pressing structure 4, a stacking structure 6 is installed on the frame body 1, a limiting structure 7 is arranged on the stacking structure 6, an overturning structure 8 is installed on the detection structure 3, and a bearing structure 9 is installed on one side of the frame body 1;
the detection structure 3 comprises a protective sleeve 301, a fixed sleeve 302 is fixedly connected to the top end of the protective sleeve 301, an expansion link 304 is slidably connected to the inner portions of the fixed sleeve 302 and the protective sleeve 301, a detector 305 is installed at the bottom end of the expansion link 304, a rack 306 is installed on the expansion link 304, a first motor 303 is installed outside the fixed sleeve 302, a gear 307 rotating inside the fixed sleeve 302 is connected with the output end of the first motor 303, and the gear 307 is meshed with the rack 306.
Specifically, a guide rod 308 is fixedly connected inside the fixing sleeve 302, a guide block 309 is slidably connected outside the guide rod 308, and the guide block 309 is fixedly connected with the top end of the telescopic rod 304.
Specifically, the pressing structure 4 includes a connecting rod 401, the two sides of the telescopic rod 304 are respectively and fixedly connected with the connecting rod 401 in a perpendicular relationship, the other end of the connecting rod 401 is fixedly connected with a fixing rod 402, the fixing rod 402 penetrates through the protective sleeve 301 and is slidably connected with the protective sleeve 301, a sliding rod 403 in a cross-shaped structure is slidably connected inside the fixing rod 402, a first spring 405 is sleeved outside the sliding rod 403, and a pressing block 404 in a trapezoidal structure is fixedly connected to the bottom end of the sliding rod 403.
Specifically, the separation structure 5 includes a sealing sleeve 501, two sealing sleeves 501 are fixedly connected to the top end of the protective sleeve 301 in a symmetrical relationship, two air grooves 502 are formed in the sealing sleeves 501, the cross section of each air groove 502 is of an inverted convex structure, the fixing rod 402 slides inside the sealing sleeve 501, a piston 503 is fixedly connected to the top end of the fixing rod 402, a communicating groove 504 is formed in the fixing rod 402, the communicating groove 504 is communicated with the inside of the air groove 502, an air outlet 505 is formed in the sliding rod 403 in a penetrating manner, an air injection hole 506 in an eight-shaped structure is formed in the pressing block 404, the air injection hole 506 is communicated with the air outlet 505, a first one-way valve 507 is installed on the side wall of the top of the fixing rod 402, and a second one-way valve 508 is installed at the bottom end of the side wall of the sealing sleeve 501.
Specifically, the stacking structure 6 comprises a base 601, two bases 601 are fixedly connected to the bottom end of the frame body 1 in parallel, a first screw 604 is rotatably connected to the inside of each of the two bases 601, the first screw 604 is connected to the output end of a second motor 602 installed at the side end of the base 601, a first threaded sleeve 605 is connected to the outside of the first screw 604 in a threaded manner, the first threaded sleeve 605 is slidably connected to the base 601, a vertical column 603 is fixedly connected to the top end of each of the two first threaded sleeves 605, a second screw 607 is rotatably connected to the inside of each of the two vertical columns 603, the second screw 607 is connected to the output end of a third motor 608 installed at the top end of the vertical column 603, a second threaded sleeve 609 is connected to the outside of the second screw 607 in a threaded manner, the second threaded sleeve 609 is slidably connected to the vertical column 603, a placing plate 610 is fixedly connected between the two second threaded sleeves 609, a blanking plate 611 is arranged at one end of the frame body 1 at an included angle of forty-five degrees.
Specifically, a first ball 606 is rotatably connected to a bottom end of the upright 603, the upright 603 is slidably connected to the base 601 through the first ball 606, a plurality of second balls 612 are rotatably connected to the blanking plate 611, and a baffle 613 is rotatably connected to one side of the placement plate 610.
Specifically, the limiting structure 7 includes a sliding sleeve 701, a sliding sleeve 701 is fixedly connected to one side of the baffle 613, a limiting block 704 is slidably connected to the inside of the sliding sleeve 701 through a second spring 705, a limiting sleeve 702 is fixedly connected to the placing plate 610, a limiting groove 706 is arranged inside the limiting sleeve 702, a pull rod 703 is fixedly connected to one end of the limiting block 704, and the pull rod 703 is slidably connected to the sliding sleeve 701.
Specifically, the turnover structure 8 includes a fixing groove 801, the fixing groove 801 is disposed on the protection cover 301, the protection cover 301 is rotatably connected to the frame body 1, a connecting plate 807 is slidably connected to the inside of the frame body 1 through a sliding column 809 and a fourth spring 808, a fixing column 802 is fixedly connected to the connecting plate 807, the fixing column 802 penetrates through the side wall of the frame body 1 and is slidably connected to the frame body 1, a button 810 is further fixedly connected to the connecting plate 807, and the button 810 penetrates through the side wall of the frame body 1 and is slidably connected to the frame body 1.
Specifically, the inside of the protection sleeve 301 is slidably connected with a locking rod 804 through a third spring 805, one end of the locking rod 804 is of a triangular structure, a handle 806 is fixedly connected to the locking rod 804, the handle 806 penetrates through the side wall of the protection sleeve 301 and is slidably connected with the protection sleeve 301, and a locking sleeve 803 is fixedly connected to the frame body 1.
Specifically, the bearing structure 9 includes a bearing plate 901, the bearing plate 901 is rotatably connected to the frame body 1, a positioning groove 904 having a triangular structure is disposed on a bottom side of the bearing plate 901, a storage groove 902 is disposed on the frame body 1, a support rod 903 is rotatably connected to an inside of the storage groove 902, a first magnet 905 is fixedly connected to a bottom end of the bearing plate 901, and a second magnet 906 is fixedly connected to the frame body 1.
When the invention is used, the rack 306 is arranged in the telescopic rod 304 which slides in the protective sleeve 301, and the rack 306 is also meshed with the gear 307 arranged at the output end of the first motor 303, so that when the first motor 303 works, the detector 305 at the bottom end of the telescopic rod 304 can be driven to accurately move up and down, thereby realizing accurate detection of a circuit board on the conveying belt 2, and the sliding stability of the telescopic rod 304 can be enhanced by matching the arrangement of the guide block 309 and the guide rod 308, because the connecting rod 401 is fixedly connected on the telescopic rod 304, the fixing rod 402 is fixed at the other end of the connecting rod 401, the slide rod 403 is slidably connected in the fixing rod 402 through the first spring 405, the trapezoidal pressing block 404 is fixed at the bottom end of the slide rod, therefore, when the detector 305 descends to detect the circuit board, the pressing block 404 is firstly abutted against the circuit board by the detector 305, at this moment, the edge of the circuit board can be pressed and fixed, so that the situation of deviation of the circuit board during detection can be avoided, the detection quality can be greatly improved, in addition, the sealing sleeve 501 is fixed at the top end of the protective sleeve 301, the air groove 502 is arranged inside the sealing sleeve 501, the fixing rod 402 also slides inside the air groove 502, the communicating groove 504 inside the fixing rod 402 is communicated with the air groove 502, the piston 503 is fixedly connected to the top end of the fixing rod 402, and the external diameter of the piston 503 is greater than that of the bottom end groove of the air groove 502, therefore, when the fixing rod 402 descends along with the telescopic rod 304, when the piston 503 enters the bottom end groove of the air groove 502, the gas inside the bottom end groove of the air groove 502 is extruded into the communicating groove 504 inside the fixing rod 402, and because the pressing block 404 is abutted against the circuit board at this moment, the circuit board can block the gas injection hole 506, and the gas at this moment can be compressed and stored in the communicating groove 504, Inside the air outlet 505 and the air outlet 506, when the telescopic rod 304 drives the pressing block 404 to lift again, the compressed air is ejected from the air outlet 506, so that the circuit board can be ensured to be separated from the pressing block 404, because the first one-way valve 507 is arranged at the air inlet at the top end of the fixed rod 402, the air can be ensured to be extruded into the air by the piston 503 and the end groove of the air groove 502, and the air can not return from the original path when the piston 503 is lifted again, and the second one-way valve 508 is arranged at the bottom end of the side wall of the sealing sleeve 501, so that when the piston 503 is reset and lifted, the air enters the inside of the air groove 502 to supplement the air, thereby ensuring the realization of the whole function, avoiding the condition that the circuit board is adhered and carried by the pressing block 404, and ensuring the detection efficiency and quality of the circuit board; the second motor 602 arranged on the base 601 can drive the first screw rod 604 to drive the first screw sleeve 605 to slide in the base 601, so that the upright 603 fixed on the first screw sleeve 605 can be driven to slide on the base 601, and the upright 603 slides with the base 601 through the first ball 606, so that the sliding smoothness can be increased, and a supporting effect can be achieved, the second screw rod 607 is driven to rotate on the upright 603 through the third motor 608, because the second screw sleeve 609 sliding in the upright 603 is in threaded connection with the second screw rod 607, so that the third motor 608 can drive the placing plate 610 fixed with the second screw sleeve 609 to move up and down and slide, when a qualified circuit board detected on the conveyer belt 2 slides down from the blanking plate 611 full of the second ball 612, the circuit board firstly collides with the baffle 613, and at this time, the circuit board just collides with the rightmost side of the placing plate 610, then the second motor 602 drives the upright column 603 to slide to the right at a constant speed until the circuit board is stably placed on the placing plate 610, then the third motor 608 drives the placing plate 610 to slide downwards for a certain distance, at the moment, the second motor 602 drives the placing plate 610 to reset again, then the next circuit board is waited to be placed, and the steps are repeated, so that the ordered stacking placement of the circuit boards can be realized, the labor can be saved, the stacking quality can be increased, the circuit boards can be conveniently taken and transported in the later period, the detected unqualified circuit boards are a few, only the circuit boards need to be taken out when the conveying belt 2 stops conveying, because the baffle 613 is rotatably connected with the placing plate 610, when more materials are stacked on the placing plate 610, only the baffle 613 needs to be rotated, the materials can be conveniently taken out, the objects can be conveniently placed, and because the inside of the sliding sleeve 701 fixed on the side wall of the baffle 613 is slidably connected with the limiting block 704 through the second spring 705, therefore, when the baffle 613 is rotated, the pull rod 703 is pulled to drive the limiting block 704 to retract into the sliding sleeve 701, then the baffle 613 is rotated to be perpendicular to the placing plate 610, at the moment, the pull rod 703 can be loosened, the limiting block 704 can be automatically inserted into the limiting groove 706 in the limiting sleeve 702 under the action of the elastic force of the second spring 705, and the baffle 613 can be quickly fixed, so that the operation is convenient and quick, and the fixation is firm; because the protection sleeve 301 is rotatably connected with the frame body 1, when parts inside the protection sleeve 301 need to be maintained at a later stage, the protection sleeve 301 can be rotated out in a whole, so that the inside of the protection sleeve 301 can be maintained better, the operation is convenient and fast, and because the protection sleeve 301 is provided with the fixing groove 801 and the frame body 1 is provided with the fixing column 802, after the protection sleeve 301 is rotated, the fixing column 802 is inserted into the fixing groove 801, the protection sleeve 301 can be supported and limited, the placing stability of the protection sleeve 301 after being rotated out is improved, and because the fixing column 802 is fixed with the connecting plate 807 sliding inside the frame body 1 and the connecting plate slides with the frame body 1 through the sliding column 809 and the fourth spring 808, the fixing column 802 can be retracted into the frame body 1 by pressing the button 810 fixed with the connecting plate 807 outside, so that the fixing column 802 is firstly contracted when the protection cover 301 is rotated out, after the protection cover 301 is completely rotated out, the button 810 is loosened, the fixing column 802 can be inserted into the fixing groove 801, the operation is convenient and fast, when the protection cover 301 is closed again, as the locking rod 804 is slidably connected with the inside of the protection cover 301 through the third spring 805, the locking rod 804 can be inserted into the inner through hole of the locking sleeve 803, thereby realizing the limit fixing of the protection cover 301, when the protection cover 301 needs to be opened again, only the handle 806 fixed with the locking rod 804 needs to be pulled externally, the operation is convenient and fast, the bearing plate 901 is rotatably connected with one end of the frame body 1, when the bearing plate 901 is used, the bearing plate 901 only needs to be rotated up, then the supporting rod 903 rotated in the accommodating groove 902 is rotated out, the supporting rod 903 is inserted into the positioning groove 904 at the bottom end of the bearing plate 901, at this time, the supporting and fixing of the bearing plate 901 can be quickly realized, at this moment, when the internal parts of the protecting jacket 301 are maintained, some parts and tools are placed on the bearing plate 901, so that the parts can be prevented from being lost, and the protecting jacket is convenient to take and is simple and practical.
It will be evident to those skilled in the art that the invention is not limited to the details of the foregoing illustrative embodiments, and that the present invention may be embodied in other specific forms without departing from the spirit or essential attributes thereof. The present embodiments are therefore to be considered in all respects as illustrative and not restrictive, the scope of the invention being indicated by the appended claims rather than by the foregoing description, and all changes which come within the meaning and range of equivalency of the claims are therefore intended to be embraced therein. Any reference sign in a claim should not be construed as limiting the claim concerned.
Furthermore, it should be understood that although the present description refers to embodiments, not every embodiment may contain only a single embodiment, and such description is for clarity only, and those skilled in the art should integrate the description, and the embodiments may be combined as appropriate to form other embodiments understood by those skilled in the art.
Claims (10)
1. The utility model provides a convenient operation's flexible line way board detection device, includes support body (1) install conveyer belt (2), its characterized in that on support body (1): the detection structure comprises a frame body (1), a detection structure (3) is installed at the top end of the frame body (1), a pressing structure (4) is arranged on the detection structure (3), a separation structure (5) is arranged on the pressing structure (4), a stacking structure (6) is installed on the frame body (1), a limiting structure (7) is arranged on the stacking structure (6), a turnover structure (8) is installed on the detection structure (3), and a bearing structure (9) is installed on one side of the frame body (1);
detect structure (3) including lag (301) the fixed cover (302) of top fixedly connected with of lag (301) the inside sliding connection of fixed cover (302) and lag (301) has telescopic link (304) detector (305) are installed to the bottom of telescopic link (304) install rack (306) on telescopic link (304) the externally mounted of fixed cover (302) has first motor (303), rotates and is in gear (307) inside fixed cover (302) are connected with the output of first motor (303), just gear (307) and rack (306) meshing.
2. The flexible circuit board detection device convenient to operate according to claim 1, wherein: a guide rod (308) is fixedly connected inside the fixed sleeve (302), a guide block (309) is connected outside the guide rod (308) in a sliding manner, and the guide block (309) is fixedly connected with the top end of the telescopic rod (304).
3. The flexible circuit board detection device convenient to operate according to claim 1, wherein: press structure (4) including connecting rod (401) be perpendicular relation fixedly connected with connecting rod (401) respectively in the both sides of telescopic link (304) the other end fixedly connected with dead lever (402) of connecting rod (401), just dead lever (402) run through lag (301) and with lag (301) sliding connection the inside sliding connection of dead lever (402) has slide bar (403) that are "ten" font structure the outside cover of slide bar (403) is equipped with first spring (405) the bottom fixedly connected with of slide bar (403) is trapezoidal structure presses briquetting (404).
4. The flexible circuit board detection device convenient to operate according to claim 3, wherein: the separation structure (5) comprises sealing sleeves (501), two sealing sleeves (501) are fixedly connected to the top ends of the protection sleeves (301) in a symmetrical relation, air grooves (502) are formed in the two sealing sleeves (501), the cross sections of the air grooves (502) are of inverted 'convex' structures, the fixing rod (402) slides in the sealing sleeves (501), a piston (503) is fixedly connected to the top end of the fixing rod (402), a communicating groove (504) is formed in the fixing rod (402), the communicating groove (504) is communicated with the inside of the air groove (502), air outlet holes (505) penetrate through the inside of the sliding rod (403), air injection holes (506) of an 'splay' structure are formed in the pressing block (404), the air injection holes (506) are communicated with the air outlet holes (505), a first one-way valve (507) is installed on the side wall of the top of the fixing rod (402), and a second one-way valve (508) is arranged at the bottom end of the side wall of the sealing sleeve (501).
5. The flexible circuit board detection device convenient to operate according to claim 1, wherein: the stacking structure (6) comprises bases (601), two bases (601) are fixedly connected to the bottom end of the frame body (1) in a parallel relation, first screw rods (604) are rotatably connected to the insides of the two bases (601), the first screw rods (604) are connected with the output ends of second motors (602) installed at the side ends of the bases (601), first thread sleeves (605) are connected to the outsides of the first screw rods (604) in a threaded manner, the first thread sleeves (605) are slidably connected with the bases (601), upright columns (603) are fixedly connected to the top ends of the first thread sleeves (605), second screw rods (607) are rotatably connected to the insides of the two upright columns (603), the second screw rods (607) are connected with the output ends of third motors (608) installed at the top ends of the upright columns (603), and second thread sleeves (609) are connected to the outsides of the second screw rods (607), and the second thread bushings (609) are connected with the upright column (603) in a sliding manner, a placing plate (610) is fixedly connected between the two second thread bushings (609), and a blanking plate (611) is arranged at one end of the frame body (1) at an included angle of forty-five degrees.
6. The flexible circuit board detection device convenient to operate according to claim 5, wherein: the bottom end of the upright column (603) is rotatably connected with a first ball (606), the upright column (603) is connected with the base (601) in a sliding mode through the first ball (606), the blanking plate (611) is connected with a plurality of second balls (612) in a rolling mode, and one side of the placing plate (610) is rotatably connected with a baffle (613).
7. The flexible circuit board detection device convenient to operate according to claim 6, wherein: limiting structure (7) include sliding sleeve (701) one side fixedly connected with sliding sleeve (701) of baffle (613) sliding sleeve (704) through second spring (705) sliding connection has stopper (704) the inside of sliding sleeve (701) on placing board (610) fixedly connected with stop collar (702) the inside of stop collar (702) is equipped with spacing groove (706) the one end fixedly connected with pull rod (703) of stopper (704), just pull rod (703) and sliding sleeve (701) sliding connection.
8. The flexible circuit board detection device convenient to operate according to claim 1, wherein: flip structure (8) include fixed slot (801) be equipped with fixed slot (801) on lag (301), lag (301) rotate with support body (1) and are connected the inside of support body (1) has connecting plate (807) through slip post (809) and fourth spring (808) sliding connection on connecting plate (807) fixedly connected with fixed column (802), just fixed column (802) run through the lateral wall of support body (1) and with support body (1) sliding connection, go back fixedly connected with button (810) on connecting plate (807), just button (810) run through the lateral wall of support body (1) and with support body (1) sliding connection.
9. The flexible circuit board detection device convenient to operate according to claim 8, wherein: the inside of lag (301) has locking lever (804) through third spring (805) sliding connection, just the one end of locking lever (804) is the triangle-shaped structure fixedly connected with handle (806) on locking lever (804), just handle (806) run through the lateral wall of lag (301) and with lag (301) sliding connection fixedly connected with locking sleeve (803) on support body (1).
10. The flexible circuit board detection device convenient to operate according to claim 1, wherein: the bearing structure (9) comprises a bearing plate (901), the bearing plate (901) is rotatably connected to the frame body (1), a positioning groove (904) which is of a triangular structure is formed in the bottom side of the bearing plate (901), a containing groove (902) is formed in the frame body (1), a supporting rod (903) is rotatably connected to the inside of the containing groove (902), a first magnet (905) is fixedly connected to the bottom end of the bearing plate (901), and a second magnet (906) is fixedly connected to the frame body (1).
Priority Applications (1)
| Application Number | Priority Date | Filing Date | Title |
|---|---|---|---|
| CN202210597007.0A CN114690023B (en) | 2022-05-30 | 2022-05-30 | Flexible circuit board detection device convenient to operate |
Applications Claiming Priority (1)
| Application Number | Priority Date | Filing Date | Title |
|---|---|---|---|
| CN202210597007.0A CN114690023B (en) | 2022-05-30 | 2022-05-30 | Flexible circuit board detection device convenient to operate |
Publications (2)
| Publication Number | Publication Date |
|---|---|
| CN114690023A true CN114690023A (en) | 2022-07-01 |
| CN114690023B CN114690023B (en) | 2022-10-11 |
Family
ID=82144902
Family Applications (1)
| Application Number | Title | Priority Date | Filing Date |
|---|---|---|---|
| CN202210597007.0A Active CN114690023B (en) | 2022-05-30 | 2022-05-30 | Flexible circuit board detection device convenient to operate |
Country Status (1)
| Country | Link |
|---|---|
| CN (1) | CN114690023B (en) |
Cited By (2)
| Publication number | Priority date | Publication date | Assignee | Title |
|---|---|---|---|---|
| CN116234182A (en) * | 2023-03-20 | 2023-06-06 | 深圳市国王科技有限公司 | PCBA circuit board press-fitting tool |
| CN117054856A (en) * | 2023-10-10 | 2023-11-14 | 苏州元脑智能科技有限公司 | Function test fixture and test equipment |
Citations (9)
| Publication number | Priority date | Publication date | Assignee | Title |
|---|---|---|---|---|
| JPH08203643A (en) * | 1995-01-30 | 1996-08-09 | Nec Kyushu Ltd | Foreign matter removing device for ic socket |
| JPH09153531A (en) * | 1995-11-30 | 1997-06-10 | Tokyo Electron Ltd | Inspection device with high cleanliness |
| CN204177922U (en) * | 2014-08-20 | 2015-02-25 | 法特迪精密科技(苏州)有限公司 | Antisticking air blowing type integrated circuit testing tool |
| CN209280874U (en) * | 2018-12-21 | 2019-08-20 | 深圳市维圳泰科技有限公司 | A kind of combined type PCB circuit board device of adjustable spacing |
| CN213517223U (en) * | 2020-10-19 | 2021-06-22 | 苏州瑞骏电子科技有限公司 | A jig for testing circuit board pads |
| CN113049942A (en) * | 2021-02-25 | 2021-06-29 | 深圳市磐锋精密技术有限公司 | Keyboard thin film circuit board function test equipment and test method |
| CN113579335A (en) * | 2021-06-04 | 2021-11-02 | 南京健顺电器控制设备有限公司 | Plate shearing machine capable of automatically collecting materials |
| CN215415746U (en) * | 2021-05-26 | 2022-01-04 | 昆山歆轩电子有限公司 | Infrared fingerprint chip testing mechanism |
| CN216350086U (en) * | 2021-11-17 | 2022-04-19 | 深圳市鑫祥泰电子有限公司 | Flexible detection device of circuit board |
-
2022
- 2022-05-30 CN CN202210597007.0A patent/CN114690023B/en active Active
Patent Citations (9)
| Publication number | Priority date | Publication date | Assignee | Title |
|---|---|---|---|---|
| JPH08203643A (en) * | 1995-01-30 | 1996-08-09 | Nec Kyushu Ltd | Foreign matter removing device for ic socket |
| JPH09153531A (en) * | 1995-11-30 | 1997-06-10 | Tokyo Electron Ltd | Inspection device with high cleanliness |
| CN204177922U (en) * | 2014-08-20 | 2015-02-25 | 法特迪精密科技(苏州)有限公司 | Antisticking air blowing type integrated circuit testing tool |
| CN209280874U (en) * | 2018-12-21 | 2019-08-20 | 深圳市维圳泰科技有限公司 | A kind of combined type PCB circuit board device of adjustable spacing |
| CN213517223U (en) * | 2020-10-19 | 2021-06-22 | 苏州瑞骏电子科技有限公司 | A jig for testing circuit board pads |
| CN113049942A (en) * | 2021-02-25 | 2021-06-29 | 深圳市磐锋精密技术有限公司 | Keyboard thin film circuit board function test equipment and test method |
| CN215415746U (en) * | 2021-05-26 | 2022-01-04 | 昆山歆轩电子有限公司 | Infrared fingerprint chip testing mechanism |
| CN113579335A (en) * | 2021-06-04 | 2021-11-02 | 南京健顺电器控制设备有限公司 | Plate shearing machine capable of automatically collecting materials |
| CN216350086U (en) * | 2021-11-17 | 2022-04-19 | 深圳市鑫祥泰电子有限公司 | Flexible detection device of circuit board |
Cited By (4)
| Publication number | Priority date | Publication date | Assignee | Title |
|---|---|---|---|---|
| CN116234182A (en) * | 2023-03-20 | 2023-06-06 | 深圳市国王科技有限公司 | PCBA circuit board press-fitting tool |
| CN116234182B (en) * | 2023-03-20 | 2023-10-20 | 深圳市国王科技有限公司 | PCBA circuit board press-fitting tool |
| CN117054856A (en) * | 2023-10-10 | 2023-11-14 | 苏州元脑智能科技有限公司 | Function test fixture and test equipment |
| CN117054856B (en) * | 2023-10-10 | 2024-02-06 | 苏州元脑智能科技有限公司 | Function test fixture and test equipment |
Also Published As
| Publication number | Publication date |
|---|---|
| CN114690023B (en) | 2022-10-11 |
Similar Documents
| Publication | Publication Date | Title |
|---|---|---|
| CN114690023A (en) | Flexible circuit board detection device convenient to operate | |
| WO2023071319A1 (en) | Stacked tray separating and feeding apparatus | |
| CN113984281B (en) | A kind of detection device for dynamic balance of mining equipment motor spindle | |
| CN115436786A (en) | Safety protection type chip detection device and use method thereof | |
| CN107777351A (en) | Paster type resistor loading and unloading system and the production equipment comprising the loading and unloading system | |
| CN104555319B (en) | A kind of color sensing devices | |
| CN109794765B (en) | Automatic assembling and detecting production line for spring type tensioner of motorcycle | |
| CN208516524U (en) | Side-suction type takes case apparatus and de-stacking device | |
| CN219084129U (en) | Radial element testing mechanism | |
| CN110421951A (en) | Material loading and unloading and equipment for coating film | |
| CN112530510A (en) | Automatic detection equipment for computer memory bank | |
| CN119556107A (en) | A circuit board quality detection device | |
| CN109866988B (en) | Separation equipment | |
| CN219116507U (en) | Benzene board flip structure | |
| CN118237885A (en) | Gear press-fitting detection assembly line | |
| CN116169079A (en) | FLASH chip packaging equipment and packaging method | |
| CN117347388A (en) | Hole inspection machine and hole inspection method for circuit board | |
| CN206348431U (en) | The line test machine of fully automatic circuit board four | |
| CN117723481A (en) | Adhesive tape drawing tester | |
| CN115959368A (en) | PVC car cabinet board transfer equipment based on automatic discharge function | |
| CN108773693A (en) | Side-suction type takes case apparatus and de-stacking device | |
| CN110634998B (en) | Battery Cell Loading and Taping Equipment | |
| CN211392917U (en) | Fixed-length electrical steel vertical and horizontal automatic tray placing system for iron core | |
| CN214894886U (en) | Visual inspection device for semiconductor packaging quality | |
| CN222212883U (en) | Integrated circuit detection device |
Legal Events
| Date | Code | Title | Description |
|---|---|---|---|
| PB01 | Publication | ||
| PB01 | Publication | ||
| SE01 | Entry into force of request for substantive examination | ||
| SE01 | Entry into force of request for substantive examination | ||
| TA01 | Transfer of patent application right | ||
| TA01 | Transfer of patent application right |
Effective date of registration: 20220915 Address after: 4th Floor, Science and Technology Innovation Center, Semiconductor Industrial Park, North of Liaohe River and West of Huashan Road, Pizhou Economic Development Zone, Xuzhou City, Jiangsu Province, 221000 Applicant after: Jiangsu Zhenning Semiconductor Research Institute Co.,Ltd. Address before: 221011 in the emerging industrial park of Xuzhou Industrial Park, Jiawang District, Xuzhou City, Jiangsu Province Applicant before: Xuzhou biage Electronic Technology Co.,Ltd. |
|
| GR01 | Patent grant | ||
| GR01 | Patent grant |