CN114673204A - A kind of prestressed pressure type anti-floating anchor rod and its construction method - Google Patents
A kind of prestressed pressure type anti-floating anchor rod and its construction method Download PDFInfo
- Publication number
- CN114673204A CN114673204A CN202210497454.9A CN202210497454A CN114673204A CN 114673204 A CN114673204 A CN 114673204A CN 202210497454 A CN202210497454 A CN 202210497454A CN 114673204 A CN114673204 A CN 114673204A
- Authority
- CN
- China
- Prior art keywords
- steel
- pressure type
- backing plate
- anchor rod
- plate
- Prior art date
- Legal status (The legal status is an assumption and is not a legal conclusion. Google has not performed a legal analysis and makes no representation as to the accuracy of the status listed.)
- Pending
Links
Images
Classifications
-
- E—FIXED CONSTRUCTIONS
- E02—HYDRAULIC ENGINEERING; FOUNDATIONS; SOIL SHIFTING
- E02D—FOUNDATIONS; EXCAVATIONS; EMBANKMENTS; UNDERGROUND OR UNDERWATER STRUCTURES
- E02D31/00—Protective arrangements for foundations or foundation structures; Ground foundation measures for protecting the soil or the subsoil water, e.g. preventing or counteracting oil pollution
- E02D31/10—Protective arrangements for foundations or foundation structures; Ground foundation measures for protecting the soil or the subsoil water, e.g. preventing or counteracting oil pollution against soil pressure or hydraulic pressure
- E02D31/12—Protective arrangements for foundations or foundation structures; Ground foundation measures for protecting the soil or the subsoil water, e.g. preventing or counteracting oil pollution against soil pressure or hydraulic pressure against upward hydraulic pressure
-
- E—FIXED CONSTRUCTIONS
- E02—HYDRAULIC ENGINEERING; FOUNDATIONS; SOIL SHIFTING
- E02D—FOUNDATIONS; EXCAVATIONS; EMBANKMENTS; UNDERGROUND OR UNDERWATER STRUCTURES
- E02D31/00—Protective arrangements for foundations or foundation structures; Ground foundation measures for protecting the soil or the subsoil water, e.g. preventing or counteracting oil pollution
- E02D31/06—Protective arrangements for foundations or foundation structures; Ground foundation measures for protecting the soil or the subsoil water, e.g. preventing or counteracting oil pollution against corrosion by soil or water
-
- E—FIXED CONSTRUCTIONS
- E02—HYDRAULIC ENGINEERING; FOUNDATIONS; SOIL SHIFTING
- E02D—FOUNDATIONS; EXCAVATIONS; EMBANKMENTS; UNDERGROUND OR UNDERWATER STRUCTURES
- E02D5/00—Bulkheads, piles, or other structural elements specially adapted to foundation engineering
- E02D5/74—Means for anchoring structural elements or bulkheads
- E02D5/80—Ground anchors
-
- E—FIXED CONSTRUCTIONS
- E02—HYDRAULIC ENGINEERING; FOUNDATIONS; SOIL SHIFTING
- E02D—FOUNDATIONS; EXCAVATIONS; EMBANKMENTS; UNDERGROUND OR UNDERWATER STRUCTURES
- E02D5/00—Bulkheads, piles, or other structural elements specially adapted to foundation engineering
- E02D5/74—Means for anchoring structural elements or bulkheads
- E02D5/80—Ground anchors
- E02D5/808—Ground anchors anchored by using exclusively a bonding material
-
- E—FIXED CONSTRUCTIONS
- E02—HYDRAULIC ENGINEERING; FOUNDATIONS; SOIL SHIFTING
- E02D—FOUNDATIONS; EXCAVATIONS; EMBANKMENTS; UNDERGROUND OR UNDERWATER STRUCTURES
- E02D2200/00—Geometrical or physical properties
- E02D2200/14—Geometrical or physical properties resilient or elastic
-
- E—FIXED CONSTRUCTIONS
- E02—HYDRAULIC ENGINEERING; FOUNDATIONS; SOIL SHIFTING
- E02D—FOUNDATIONS; EXCAVATIONS; EMBANKMENTS; UNDERGROUND OR UNDERWATER STRUCTURES
- E02D2200/00—Geometrical or physical properties
- E02D2200/14—Geometrical or physical properties resilient or elastic
- E02D2200/146—Springs
-
- E—FIXED CONSTRUCTIONS
- E02—HYDRAULIC ENGINEERING; FOUNDATIONS; SOIL SHIFTING
- E02D—FOUNDATIONS; EXCAVATIONS; EMBANKMENTS; UNDERGROUND OR UNDERWATER STRUCTURES
- E02D2250/00—Production methods
- E02D2250/003—Injection of material
-
- E—FIXED CONSTRUCTIONS
- E02—HYDRAULIC ENGINEERING; FOUNDATIONS; SOIL SHIFTING
- E02D—FOUNDATIONS; EXCAVATIONS; EMBANKMENTS; UNDERGROUND OR UNDERWATER STRUCTURES
- E02D2250/00—Production methods
- E02D2250/0046—Production methods using prestressing techniques
-
- E—FIXED CONSTRUCTIONS
- E02—HYDRAULIC ENGINEERING; FOUNDATIONS; SOIL SHIFTING
- E02D—FOUNDATIONS; EXCAVATIONS; EMBANKMENTS; UNDERGROUND OR UNDERWATER STRUCTURES
- E02D2300/00—Materials
- E02D2300/0026—Metals
- E02D2300/0029—Steel; Iron
-
- E—FIXED CONSTRUCTIONS
- E02—HYDRAULIC ENGINEERING; FOUNDATIONS; SOIL SHIFTING
- E02D—FOUNDATIONS; EXCAVATIONS; EMBANKMENTS; UNDERGROUND OR UNDERWATER STRUCTURES
- E02D2600/00—Miscellaneous
- E02D2600/20—Miscellaneous comprising details of connection between elements
-
- E—FIXED CONSTRUCTIONS
- E02—HYDRAULIC ENGINEERING; FOUNDATIONS; SOIL SHIFTING
- E02D—FOUNDATIONS; EXCAVATIONS; EMBANKMENTS; UNDERGROUND OR UNDERWATER STRUCTURES
- E02D2600/00—Miscellaneous
- E02D2600/30—Miscellaneous comprising anchoring details
Landscapes
- Engineering & Computer Science (AREA)
- Structural Engineering (AREA)
- Life Sciences & Earth Sciences (AREA)
- General Life Sciences & Earth Sciences (AREA)
- Mining & Mineral Resources (AREA)
- Paleontology (AREA)
- Civil Engineering (AREA)
- General Engineering & Computer Science (AREA)
- Environmental & Geological Engineering (AREA)
- Hydrology & Water Resources (AREA)
- Piles And Underground Anchors (AREA)
Abstract
本发明提供了一种预应力压力型抗浮锚杆及其施工方式,用于建筑地基基础技术领域,包括螺纹杆体、螺母、第一钢垫板、弹力装置、第二钢垫板、防腐波纹套管、定位器、螺纹承载体。采用锚具施加、锁定预应力,改变了预应力锚杆的传力方式、施工方式及施加预应力的时间,提高了施工效率,而且预应力锚具预先在工厂生产加工,施工现场使用时操作较为简单,施加预应力时可采用扭矩扳手直接拧动螺母,对现场施工设备要求低,降低了施工技术难度,易于推广。
The invention provides a prestressed pressure type anti-floating anchor rod and a construction method thereof, which are used in the technical field of building foundations, including a threaded rod body, a nut, a first steel backing plate, an elastic device, a second steel backing plate, an anti-corrosion corrugation Sleeve, locator, thread carrier. The use of anchors to apply and lock the prestress changes the force transmission method, construction method and time of applying the prestress of the prestressed anchor, which improves the construction efficiency, and the prestressed anchors are produced and processed in the factory in advance, and are operated when used at the construction site. It is relatively simple, and the torque wrench can be used to directly screw the nut when applying prestress, which requires less on-site construction equipment, reduces the difficulty of construction technology, and is easy to popularize.
Description
技术领域technical field
本发明涉及一种预应力压力型抗浮锚杆及其施工方式,属建筑地基基础技术领域。The invention relates to a prestressed pressure type anti-floating anchor rod and a construction method thereof, belonging to the technical field of building foundation foundations.
背景技术Background technique
当结构自重和建筑覆土等配重方式无法满足地下室受地下水的水浮力时,需采取其他抗水浮力的措施,保证地下室的稳定。现有的基础抗浮技术措施有抗拔桩抗浮和抗浮锚杆抗浮,抗拔桩抗浮使用范围广,可在多种地基环境中使用,多在软土地基中使用。抗浮锚杆多在基岩地基中使用,基岩承载力较高,一般可做浅基础便能满足基础承载力要求,结构不满足抗浮要求时,需采取抗浮措施。而在基岩中使用桩机成孔较难,对桩机有特殊要求,需采用旋挖桩桩机等桩机设备成孔,有一定的局限性,且采用抗拔桩抗浮成本较高,施工工期长,基岩中一般不采用桩抗浮。When the counterweight methods such as the self-weight of the structure and the building cover cannot meet the water buoyancy of the basement subjected to groundwater, other measures against water buoyancy shall be taken to ensure the stability of the basement. The existing foundation anti-floating technical measures include anti-floating pile anti-floating and anti-floating anchor rod anti-floating. Anti-floating anchors are mostly used in bedrock foundations, which have high bearing capacity. Generally, shallow foundations can be used to meet the requirements of foundation bearing capacity. When the structure does not meet the anti-floating requirements, anti-floating measures should be taken. It is difficult to use a pile driver to form a hole in the bedrock, and there are special requirements for the pile driver. It is necessary to use a pile driver such as a rotary pile driver to form the hole, which has certain limitations, and the use of uplift piles and anti-floating costs is high. , The construction period is long, and piles are generally not used in bedrock to resist floating.
抗浮锚杆受到水浮力作用时,顶部锚固体受拉易产生裂缝,使得抗浮锚杆抗拔承载力取值由裂缝控制,当抗浮设计等级为甲级时,不允许出现拉应力,采用拉力型或普通锚杆无法满足规范要求。现有预应力锚杆技术是在浇筑地下室底板后施加预应力,但是存在以下问题:When the anti-floating anchor is subjected to water buoyancy, the top anchor is prone to cracks under tension, so that the value of the anti-floating anchor's pullout bearing capacity is controlled by the cracks. When the anti-floating design grade is Class A, no tensile stress is allowed. The use of tension type or ordinary bolts cannot meet the specification requirements. The existing prestressed bolt technology is to apply prestress after pouring the basement floor, but there are the following problems:
①先浇筑地下室结构底板混凝土,再施加预应力。若在浇筑完地下室底板混凝土后施加预应力,则锚具和杆体会凸起在地下室底板完成面上,不美观且影响建筑使用。若采用建筑面层覆盖凸起的锚具和杆体,将导致地下室净高减小,甚至不满足净高要求。同时预应力锚杆预应力需后张拉,底板内需通长设置套管,避免底板混凝土与杆体接触锚固,满足自由段的设置。而套管表面光滑,混凝土干缩时易在接触面产生裂缝,水压力作用下,地下水易通过结合面向上渗透,底板防水存在一定的问题、后期存在隐患。①Pour the concrete of the basement structure floor first, and then apply the prestressing force. If prestressing is applied after the basement floor concrete is poured, the anchors and rods will protrude on the finished surface of the basement floor, which is unsightly and affects the use of the building. If the building surface layer is used to cover the raised anchors and rods, the clear height of the basement will be reduced, and even the clear height requirements will not be met. At the same time, the prestressing of the prestressed anchor rod requires post-tensioning, and the bottom plate needs to be set with a long sleeve to avoid the contact between the bottom concrete and the rod body for anchoring, and to meet the setting of the free section. The surface of the casing is smooth, and cracks are easily formed on the contact surface when the concrete shrinks. Under the action of water pressure, the groundwater is easy to penetrate upward through the joint surface. There are certain problems in the waterproofing of the bottom plate, and there are hidden dangers in the later stage.
②先浇筑一定厚度的地下室结构底板混凝土,待预应力锚杆张拉锁定预应力后封闭混凝土。浇筑地下室底板时,根据锚具凸起高度提前在底板上预留凹坑,张拉锁定锚具后将坑填平。但是此方法需填补的凹坑较多,小面积的二次浇筑混凝土不利于振捣,混凝土密实度存在问题,造成底板强度削弱,存在一定的安全隐患。且地下室结构底板钢筋双层双向设置,用此方式施工,底板顶筋影响锚杆张拉、锁定预应力,甚至无操作空间。当底板厚度较薄时,预留凹坑存在预应力筋体锚固长度不够的问题。②Pour concrete of the basement structure floor of a certain thickness first, and seal the concrete after the prestressed anchor bolts are tensioned and locked. When pouring the basement floor, reserve a pit on the floor in advance according to the raised height of the anchorage, and fill in the pit after tensioning and locking the anchorage. However, there are many pits to be filled in this method, and the secondary pouring of concrete in a small area is not conducive to vibrating. In addition, the double-layer reinforcement of the bottom plate of the basement structure is set in two directions. In this way, the top reinforcement of the bottom plate affects the tensioning and locking of the anchor rod, and even there is no room for operation. When the thickness of the bottom plate is thin, there is a problem of insufficient anchorage length of the prestressed tendons in the reserved pits.
③在浇筑完的地下室结构底板垫层上直接张拉锚杆,然后浇筑地下室底板混凝土。通常垫层混凝土强度等级较低,且厚度仅为100mm,采用千斤顶直接张拉筋体,易造成垫层的破坏,不利于筋体锁定,且锁定张拉力容易丧失,达不到预应力的作用,且预应力抗浮锚杆由于蠕变、扰动等原因造成应力松弛后很难维护。③ The anchor rod is directly tensioned on the basement layer of the basement structure after pouring, and then the basement basement concrete is poured. Usually the strength level of the cushion concrete is low, and the thickness is only 100mm. The use of jacks to directly tension the tendons is easy to cause damage to the cushion, which is not conducive to the locking of the tendons, and the locking tension is easy to lose, and the effect of prestressing cannot be achieved. , and the prestressed anti-floating anchor is difficult to maintain after stress relaxation due to creep, disturbance and other reasons.
采用上述的3种预应力抗浮锚杆技术,施工工序多,工期长,且对使用及底板安全存在一系列的问题。Using the above-mentioned three prestressed anti-floating bolt technologies, there are many construction procedures, long construction period, and there are a series of problems in the use and the safety of the bottom plate.
发明内容SUMMARY OF THE INVENTION
本发明是提供一种预应力压力型抗浮锚杆及其施工方式,使用锚具施加、锁定预应力,改变了预应力锚杆的传力方式,施工方式及施加预应力的时间,提高了施工效率。能有效的降低建设成本及缩短工期,使得建筑物满足抗浮要求。The invention provides a prestressed pressure type anti-floating anchor and a construction method thereof. The anchor is used to apply and lock the prestress, which changes the force transmission mode of the prestressed anchor, the construction method and the time for applying the prestress, and improves the performance of the prestressed anchor. construction efficiency. It can effectively reduce the construction cost and shorten the construction period, so that the building can meet the anti-floating requirements.
本发明采用的技术方案是:The technical scheme adopted in the present invention is:
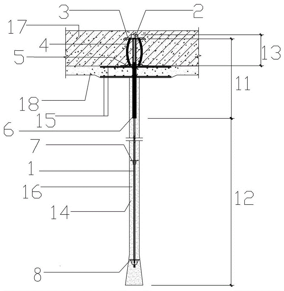
一种预应力压力型抗浮锚杆,包括螺纹杆体1、螺母2、第一钢垫板3、弹力装置4、第二钢垫板5、防腐波纹套管6、定位器7、螺纹承载体8;螺纹杆体(1)从上至下分别穿过螺母2、第一钢垫板3、弹力装置4、第二钢垫板5、防腐波纹套管6、多个定位器7、螺纹承载体8,其中螺纹承载体8连接在螺纹杆体1底部,多个定位器7连接于螺纹杆体(1)中部,按1.5m间距设置,保证了螺纹杆体1的垂直度,防腐波纹套管6上端穿过混凝土垫层18伸入地下室底板100mm,下端伸入钻孔内1~2m;弹力装置4位于第一钢垫板3与第二钢垫板5之间。A prestressed pressure type anti-floating anchor rod, comprising a threaded
优选的,所述弹力装置4是高强弹簧9或者高强度高延性钢板10,所述高强度高延性钢板10共3片。Preferably, the
优选的,所述第一钢垫板3、第二钢垫板5中间开有供螺纹杆体1穿过的孔洞。Preferably, there are holes in the middle of the first
优选的,所述自第一钢垫板3至防腐波纹套管6覆盖部分与钻孔混凝土形成锚杆自由段锚固体11,所述螺纹杆体1防腐波纹套管6以下部分与钻孔混凝土混合形成粘结段锚固体12;螺母2、第一钢垫板3、弹力装置4、第二钢垫板5组成预应力锚具13;所述防腐波纹套管6内灌满防腐油脂。Preferably, the covered part from the first
优选的, 所述每片高强度高延性钢板10为长方形,分别插入第一钢垫板3底部和第二钢垫板5顶部设置的限位槽内,三片高强度高延性钢板10呈正三角形分布,第一钢垫板3和第二钢垫板5的中心距离每片高强度高延性钢板10短边的中点均相等,三片高强度高延性钢板10短边的中点相连是一个正三角形。Preferably, each of the high-strength and high-
基于上述目的,本申请还提出一种预应力压力型抗浮锚杆的施工方式:Based on the above purpose, the application also proposes a construction method of a prestressed pressure type anti-floating anchor:
①以钻孔(16)顶部为中心,600mm×600mm范围内设置钢筋网片(15),其中灌入混凝土形成150mm厚的混凝土垫层(18),为防止防水卷材被第二钢垫板(5)刺破,在钻孔周围,混凝土垫层(18)表面再铺设一层水泥基渗透结晶型防水涂料,防水涂料面积大于第二钢垫板(5)底面;①With the top of the drilled hole (16) as the center, set the reinforced mesh (15) within the range of 600mm×600mm, and pour concrete into it to form a concrete cushion (18) with a thickness of 150mm. (5) Puncture, and around the drilled hole, lay a layer of cement-based permeable crystalline waterproof coating on the surface of the concrete cushion (18), and the waterproof coating area is larger than the bottom surface of the second steel cushion (5);
②所述预应力压力型抗浮锚杆插入钻孔(16)中,从注浆管(19)向钻孔(16)灌入水泥砂浆(14),待水泥砂浆(14)凝固,使用扳手扭动螺母(2),使得弹力装置(4)产生预应力,浇灌地下室结构底板(17),整个地下室结构底板(17)淹没所述的所述预应力压力型抗浮锚杆顶部,完安装过程。②The prestressed pressure type anti-floating anchor is inserted into the borehole (16), and the cement mortar (14) is poured into the borehole (16) from the grouting pipe (19), and when the cement mortar (14) is solidified, use a wrench Twist the nut (2) to make the elastic device (4) generate prestress, water the basement structure bottom plate (17), and the entire basement structure bottom plate (17) submerges the top of the prestressed pressure type anti-floating anchor rod, and the installation is completed process.
其工作原理为:施工人员将第二钢垫板5以下的部分插入钻孔16中,灌入混凝土浆体,并且在防腐波纹套管6内灌满防腐油脂;安装弹力装置4,施工人员通过扭动螺母2施加预应力,弹力装置4受到压力后,产生反向作用力,实现预应力的施加。当建筑物受到水浮力作用时,粘结段锚固体12受拉并向上挤压自由段锚固体11,使自由段锚固体处于受压状态,锚杆通过锚固体将上浮拉力传递给周围岩层。Its working principle is: the construction personnel insert the part below the second
该发明的有益效果:The beneficial effects of the invention:
1、设置自由段,使得整个自由段锚固体处于受压状态,锚杆在受到水浮力作用时,在小变形的情况下便能及时发挥自身作用。同时预先对锚固体产生一定的预压应力,在受到上拔力时,可预平衡压应力,相同抗拔承载力下能有效的避免锚固体开裂。1. Set the free section so that the anchor of the entire free section is in a state of compression. When the anchor rod is subjected to water buoyancy, it can play its own role in time with small deformation. At the same time, a certain pre-compression stress is generated on the anchor in advance, and the compressive stress can be pre-balanced when it is subjected to the pull-up force, and the cracking of the anchor can be effectively avoided under the same pull-out bearing capacity.
2、使用预应力锚具施加、锁定预应力,改变了预应力锚杆的施工工序,传力方式及施加预应力的时间,提高了施工效率。能有效的降低建设成本及缩短工期。2. The use of pre-stressed anchors to apply and lock pre-stress changes the construction process of pre-stressed anchors, the way of force transmission and the time for applying pre-stress, which improves the construction efficiency. It can effectively reduce the construction cost and shorten the construction period.
3、预应力锚具预先在工厂生产加工,施工现场使用时操作较为简单,施加预应力时可采用扭矩扳手直接拧动螺母,对现场施工设备要求低,降低了施工技术难度。3. The prestressed anchors are produced and processed in the factory in advance, and the operation is relatively simple when used at the construction site. When applying the prestress, the torque wrench can be used to directly screw the nut, which has low requirements for on-site construction equipment and reduces the difficulty of construction technology.
4、锚杆施工一般在混凝土垫层完成后,使用成品锚具可在浇筑地下室结构底板混凝土前施加、锁定预应力。其稳定性较好,锁定张拉力不易丧失,且在地下室底板钢筋板扎时,不会因为碰撞产生变形。待地下室底板混凝土浇筑后,能有效的和混凝土锚固。4. The anchor rod construction is generally completed after the concrete cushion layer is completed, and the finished anchor tool can be used to apply and lock the prestress before pouring the concrete of the basement structure floor. Its stability is good, the locking tension is not easy to lose, and when the steel bars on the basement floor are tied, they will not be deformed due to collision. After the basement floor concrete is poured, it can be effectively anchored to the concrete.
5、预应力锚具的螺母、第一钢垫板、弹力装置、第二钢垫板均可工业化生产,能有效节省工期。且结构简单易生产,实施简便,适用性强,是建筑工程产业发展的新渠道。5. The nut, the first steel backing plate, the elastic device and the second steel backing plate of the prestressed anchor can be industrially produced, which can effectively save the construction period. And the structure is simple and easy to produce, the implementation is simple and the applicability is strong, and it is a new channel for the development of the construction engineering industry.
附图说明Description of drawings
为了更清楚地说明本发明一种预应力压力型抗浮锚杆及其施工方式的实施例或现有技术中的技术方案,下面将对实施例或现有技术描述中所需要使用的附图作简单地介绍,下面描述中的附图仅仅是本发明的一些实施例,对于本领域技术人员来讲,在不付出创造性劳动的前提下,还可以根据附图获得其它的附图。In order to more clearly illustrate the embodiments of a prestressed pressure type anti-floating anchor rod and its construction method of the present invention or the technical solutions in the prior art, the accompanying drawings required to be used in the description of the embodiments or the prior art will be described below. For a brief introduction, the accompanying drawings in the following description are only some embodiments of the present invention. For those skilled in the art, other drawings can also be obtained according to the accompanying drawings without creative efforts.
图1为本发明抗浮锚杆示意图1;Fig. 1 is the anti-floating anchor rod schematic diagram 1 of the present invention;
图2为本发明抗浮锚杆示意图2;Fig. 2 is the schematic diagram 2 of the anti-floating anchor rod of the present invention;
图3为弹力装置是高强弹簧的预应力锚具;Figure 3 is a prestressed anchor with the elastic device being a high-strength spring;
图4为弹力装置是高强度高延性钢板的预应力锚具;Figure 4 shows that the elastic device is a prestressed anchorage of high-strength and high-ductility steel plate;
图5为螺纹杆体和防腐波纹套管俯视图;Figure 5 is a top view of the threaded rod body and the anti-corrosion corrugated casing;
图6为三片高强度高延性钢板在第一钢垫板、第二钢垫板上分布示意图;6 is a schematic diagram of the distribution of three high-strength and high-ductility steel plates on the first steel backing plate and the second steel backing plate;
附图标记:Reference number:
螺纹杆体(1)、螺母(2)、第一钢垫板(3)、弹力装置(4)、第二钢垫板(5)、防腐波纹套管(6)、定位器(7)、螺纹承载体(8)、高强弹簧(9)、高强度高延性钢板(10)、自由段锚固体(11)、粘结段锚固体(12)、预应力锚具(13)、水泥砂浆(14)、钢筋网片(15)、钻孔(16)、地下室结构底板(17)、混凝土垫层(18)、注浆管(19)。Threaded rod body (1), nut (2), first steel backing plate (3), elastic device (4), second steel backing plate (5), anti-corrosion corrugated casing (6), locator (7), thread Bearing body (8), high-strength spring (9), high-strength and high-ductility steel plate (10), free section anchor (11), bonded section anchor (12), prestressed anchor (13), cement mortar (14) ), reinforced mesh (15), drilling holes (16), basement structure floor (17), concrete cushion (18), grouting pipe (19).
具体实施方式Detailed ways
下面将结合本发明实施例中的附图,对本发明实施例中的技术方案进行清楚、完整地描述,显然,所描述的实施例仅为本发明的一种实施例,而非全部的实施例。基于本发明中的实施例,本领域普通技术人员在没有付出创造性劳动前提下所获得的所有其他实施例,都属于本发明保护的范围。The technical solutions in the embodiments of the present invention will be clearly and completely described below with reference to the accompanying drawings in the embodiments of the present invention. Obviously, the described embodiments are only one embodiment of the present invention, but not all embodiments. . Based on the embodiments of the present invention, all other embodiments obtained by those of ordinary skill in the art without creative efforts shall fall within the protection scope of the present invention.
一种预应力压力型抗浮锚杆,包括螺纹杆体1、螺母2、第一钢垫板3、高强弹簧4、第二钢垫板5、防腐波纹套管6、定位器7、螺纹承载体8;螺纹杆体1从上至下分别穿过螺母2、第一钢垫板3、高强弹簧4、第二钢垫板5、钢筋网片15、混凝土垫层18、防腐波纹套管6、多个定位器7、螺纹承载体8,其中螺纹承载体8连接在螺纹杆体1底部,多个定位器7连接于螺纹杆体1上,按1.5m间距设置,保证了螺纹杆体1的垂直度,防腐波纹套管6上端穿过混凝土垫层18伸入地下室结构底板100mm,下端伸入钻孔16内1~2m;弹力装置4位于第一钢垫板3与第二钢垫板5之间。A prestressed pressure type anti-floating anchor rod, comprising a threaded
所述一种预应力压力型抗浮锚杆施工方式为:The construction method of the prestressed pressure type anti-floating anchor rod is:
①以钻孔16顶部为中心,600mm×600mm范围内设置钢筋网片15,其中灌入混凝土形成150mm厚的混凝土垫层18,为防止防水卷材被第二钢垫板5刺破,在钻孔周围,混凝土垫层18表面再铺设一层水泥基渗透结晶型防水涂料,防水涂料面积大于第二钢垫板5底面;①With the top of the drilled
②所述预应力压力型抗浮锚杆插入钻孔16中,从注浆管19向钻孔16灌入水泥砂浆14,待水泥砂浆14凝固,使用扳手扭动螺母2,使得弹力装置4产生预应力,浇灌地下室结构底板17,整个地下室结构底板17淹没所述的所述预应力压力型抗浮锚杆顶部,完安装过程。②The prestressed pressure type anti-floating anchor is inserted into the
当建筑物受到上拔力或者上浮力的时候,整个锚固体相对于基岩有向上的运动趋势,锚固体与基岩间产生的摩擦力向下,此时,螺纹杆体与粘结段锚固体之间产生握裹力向上,自由段锚固体中的螺纹杆体受向上的压力,建筑物连接整个设自由段锚固体的预应力抗浮锚杆受到向上的拔力或浮力,弹力装置向下的预应力。此时在混凝土垫层18受到的力为:向下的预应力—向上的浮力—向上的握裹力;其中向下的预应力可通过螺母进行调节,在浇注地下室结构底板之前,预应力已经确定 ,该力的大小必须大于该建筑可能受到的拔力或浮力与向上的握裹力之和。When the building is subjected to the pulling force or the buoyancy force, the entire anchor body has an upward movement trend relative to the bedrock, and the friction force between the anchor body and the bedrock is downward. The gripping force is upward, the threaded rod body in the free section anchor body is subjected to upward pressure, the prestressed anti-floating anchor rod connecting the entire free section anchor body is subjected to upward pulling force or buoyancy, and the elastic device is downward. prestressed. At this time, the force on the
以上所述仅为本发明的较佳实施例而已,并不用以限制本发明,凡在本发明的精神和原则之内,所作的任何修改、等同替换、改进等,均应包含在本发明的保护范围之内。The above descriptions are only preferred embodiments of the present invention, and are not intended to limit the present invention. Any modification, equivalent replacement, improvement, etc. made within the spirit and principle of the present invention shall be included in the scope of the present invention. within the scope of protection.
Claims (6)
Priority Applications (1)
| Application Number | Priority Date | Filing Date | Title |
|---|---|---|---|
| CN202210497454.9A CN114673204A (en) | 2022-05-09 | 2022-05-09 | A kind of prestressed pressure type anti-floating anchor rod and its construction method |
Applications Claiming Priority (1)
| Application Number | Priority Date | Filing Date | Title |
|---|---|---|---|
| CN202210497454.9A CN114673204A (en) | 2022-05-09 | 2022-05-09 | A kind of prestressed pressure type anti-floating anchor rod and its construction method |
Publications (1)
| Publication Number | Publication Date |
|---|---|
| CN114673204A true CN114673204A (en) | 2022-06-28 |
Family
ID=82080807
Family Applications (1)
| Application Number | Title | Priority Date | Filing Date |
|---|---|---|---|
| CN202210497454.9A Pending CN114673204A (en) | 2022-05-09 | 2022-05-09 | A kind of prestressed pressure type anti-floating anchor rod and its construction method |
Country Status (1)
| Country | Link |
|---|---|
| CN (1) | CN114673204A (en) |
Cited By (5)
| Publication number | Priority date | Publication date | Assignee | Title |
|---|---|---|---|---|
| CN115217108A (en) * | 2022-08-27 | 2022-10-21 | 中国建筑第二工程局有限公司 | Anti-floating anchor rod with cage core bag and construction process thereof |
| CN115404897A (en) * | 2022-10-08 | 2022-11-29 | 中国电建集团成都勘测设计研究院有限公司 | Construction method of marine composite foundation |
| CN115404859A (en) * | 2022-08-12 | 2022-11-29 | 中建八局第一建设有限公司 | Novel pressure type prestress anti-floating anchor rod and construction method thereof |
| CN115573337A (en) * | 2022-10-18 | 2023-01-06 | 中机国际工程设计研究院有限责任公司 | Anti-floating anchor rod and construction method thereof |
| CN119507627A (en) * | 2024-10-31 | 2025-02-25 | 华中科技大学 | A high ductility prestressed FRP reinforced FRP-concrete composite beam |
Citations (10)
| Publication number | Priority date | Publication date | Assignee | Title |
|---|---|---|---|---|
| JP2009221663A (en) * | 2008-03-13 | 2009-10-01 | Okabe Co Ltd | Pressure receiving device |
| CN102704970A (en) * | 2012-06-29 | 2012-10-03 | 山东大学 | Pre-stressed anchor rod for underground engineering model test and operation method for pre-stressed anchor rod |
| CN110863489A (en) * | 2019-12-24 | 2020-03-06 | 中铁二院工程集团有限责任公司 | Pressure type shock-absorbing energy-dissipating pre-stressed anchor rod structure and construction method |
| CN111877335A (en) * | 2020-09-01 | 2020-11-03 | 中国电建集团成都勘测设计研究院有限公司 | A kind of screw bolt anchoring device and construction method thereof |
| CN211873110U (en) * | 2019-12-16 | 2020-11-06 | 成都基泰科技有限公司 | Enlarged footing prestressing force anti-floating anchor rod structure |
| CN112281834A (en) * | 2020-11-27 | 2021-01-29 | 中机国际工程设计研究院有限责任公司 | Prestressed anchor rod anti-floating structure and construction method thereof |
| CN112392043A (en) * | 2021-01-20 | 2021-02-23 | 北京基泰科技有限公司 | PSB finish-rolled deformed steel bar anti-floating anchor rod structure and construction method thereof |
| CN213233429U (en) * | 2019-05-28 | 2021-05-18 | 安徽俊力建设有限公司 | Full-assembly pressure-bearing type variable-diameter steel reinforcement cage enlarged footing anchor pile system |
| CN114000547A (en) * | 2021-11-29 | 2022-02-01 | 北京京诚华宇建筑设计研究院有限公司 | Anti-floating anchor rod structure and construction method thereof |
| CN217299049U (en) * | 2022-05-09 | 2022-08-26 | 昆明市建筑设计研究院股份有限公司 | Prestress pressure type anti-floating anchor rod with free section and anchoring section anchoring body |
-
2022
- 2022-05-09 CN CN202210497454.9A patent/CN114673204A/en active Pending
Patent Citations (10)
| Publication number | Priority date | Publication date | Assignee | Title |
|---|---|---|---|---|
| JP2009221663A (en) * | 2008-03-13 | 2009-10-01 | Okabe Co Ltd | Pressure receiving device |
| CN102704970A (en) * | 2012-06-29 | 2012-10-03 | 山东大学 | Pre-stressed anchor rod for underground engineering model test and operation method for pre-stressed anchor rod |
| CN213233429U (en) * | 2019-05-28 | 2021-05-18 | 安徽俊力建设有限公司 | Full-assembly pressure-bearing type variable-diameter steel reinforcement cage enlarged footing anchor pile system |
| CN211873110U (en) * | 2019-12-16 | 2020-11-06 | 成都基泰科技有限公司 | Enlarged footing prestressing force anti-floating anchor rod structure |
| CN110863489A (en) * | 2019-12-24 | 2020-03-06 | 中铁二院工程集团有限责任公司 | Pressure type shock-absorbing energy-dissipating pre-stressed anchor rod structure and construction method |
| CN111877335A (en) * | 2020-09-01 | 2020-11-03 | 中国电建集团成都勘测设计研究院有限公司 | A kind of screw bolt anchoring device and construction method thereof |
| CN112281834A (en) * | 2020-11-27 | 2021-01-29 | 中机国际工程设计研究院有限责任公司 | Prestressed anchor rod anti-floating structure and construction method thereof |
| CN112392043A (en) * | 2021-01-20 | 2021-02-23 | 北京基泰科技有限公司 | PSB finish-rolled deformed steel bar anti-floating anchor rod structure and construction method thereof |
| CN114000547A (en) * | 2021-11-29 | 2022-02-01 | 北京京诚华宇建筑设计研究院有限公司 | Anti-floating anchor rod structure and construction method thereof |
| CN217299049U (en) * | 2022-05-09 | 2022-08-26 | 昆明市建筑设计研究院股份有限公司 | Prestress pressure type anti-floating anchor rod with free section and anchoring section anchoring body |
Non-Patent Citations (1)
| Title |
|---|
| 刘宗仁: "基坑工程", 30 April 2008, 哈尔滨工业大学出版社, pages: 106 * |
Cited By (7)
| Publication number | Priority date | Publication date | Assignee | Title |
|---|---|---|---|---|
| CN115404859A (en) * | 2022-08-12 | 2022-11-29 | 中建八局第一建设有限公司 | Novel pressure type prestress anti-floating anchor rod and construction method thereof |
| CN115404859B (en) * | 2022-08-12 | 2023-07-11 | 中建八局第一建设有限公司 | Novel pressure type prestress anti-floating anchor rod and construction method thereof |
| CN115217108A (en) * | 2022-08-27 | 2022-10-21 | 中国建筑第二工程局有限公司 | Anti-floating anchor rod with cage core bag and construction process thereof |
| CN115217108B (en) * | 2022-08-27 | 2024-03-12 | 中国建筑第二工程局有限公司 | Anti-floating anchor rod with cage core bag and construction process thereof |
| CN115404897A (en) * | 2022-10-08 | 2022-11-29 | 中国电建集团成都勘测设计研究院有限公司 | Construction method of marine composite foundation |
| CN115573337A (en) * | 2022-10-18 | 2023-01-06 | 中机国际工程设计研究院有限责任公司 | Anti-floating anchor rod and construction method thereof |
| CN119507627A (en) * | 2024-10-31 | 2025-02-25 | 华中科技大学 | A high ductility prestressed FRP reinforced FRP-concrete composite beam |
Similar Documents
| Publication | Publication Date | Title |
|---|---|---|
| CN114673204A (en) | A kind of prestressed pressure type anti-floating anchor rod and its construction method | |
| CN113217059B (en) | Combined anchor rod with prestress rod core | |
| CN205369231U (en) | Steel -pipe pile is filled in drilling | |
| CN111305258A (en) | Assembled type anti-seismic freeze-thawing deformation-resistant rigid-flexible retaining wall with corrugated plates | |
| CN203307803U (en) | Pre-stress pressure type anti-floating anchor rod with spiral stirrup | |
| CN102535456A (en) | Back-anchored uplift pile with flexible pile top | |
| CN102787595A (en) | Double-acting self-stressing combined uplift pile and pile forming method | |
| CN113123373A (en) | Pressure-bearing uplift pile with rear-inserted unbonded steel strand U-shaped pipe and construction method thereof | |
| CN103290843A (en) | Pre-stressed pressure-type anti-floating anchor with spiral stirrup | |
| CN202672143U (en) | Back-anchor type flexible pile top uplift pile | |
| CN214784243U (en) | Back-inserted unbonded steel strand U-shaped pipe pressure-bearing uplift pile | |
| CN217299049U (en) | Prestress pressure type anti-floating anchor rod with free section and anchoring section anchoring body | |
| CN212452617U (en) | Post-tensioned prestressing force applying device of anchor rod | |
| CN109024973A (en) | A kind of connection structure and its construction method for precast shear wall | |
| CN220414205U (en) | Prefabricated prestressing force pressure formula anti-floating pile | |
| CN219527643U (en) | An Existing Gravity Retaining Wall Reinforcement Structure | |
| CN112095586A (en) | Prestressed post-inserted composite anchor cable uplift pile and preparation method thereof | |
| CN111335350A (en) | A Wafer Type Prestressed Cable-stayed Foundation | |
| CN111910671A (en) | Prestressed anchor rod combined excavation composite foundation and construction method thereof | |
| CN208072439U (en) | A kind of assembly concrete cushion cap and micro-pile combined basis | |
| CN117988376A (en) | Column bottom structure of full-field pile net composite foundation of transformer substation | |
| CN216339716U (en) | Anti-floating anchor rod structure | |
| CN216075270U (en) | Anti installation coupling assembling that floats of newly-built basement | |
| CN213061997U (en) | Pre-tensioned pre-stressed anti-floating anchor cable construction structure | |
| CN116716870A (en) | A kind of prefabricated prestressed pressure-type pull-out pile |
Legal Events
| Date | Code | Title | Description |
|---|---|---|---|
| PB01 | Publication | ||
| PB01 | Publication | ||
| SE01 | Entry into force of request for substantive examination | ||
| SE01 | Entry into force of request for substantive examination |
