CN114632587A - 一种室外耐候型磨石树脂地面及其加工装置、施工工艺 - Google Patents
一种室外耐候型磨石树脂地面及其加工装置、施工工艺 Download PDFInfo
- Publication number
- CN114632587A CN114632587A CN202210267131.0A CN202210267131A CN114632587A CN 114632587 A CN114632587 A CN 114632587A CN 202210267131 A CN202210267131 A CN 202210267131A CN 114632587 A CN114632587 A CN 114632587A
- Authority
- CN
- China
- Prior art keywords
- parts
- crushing
- resistant
- grindstone
- resin
- Prior art date
- Legal status (The legal status is an assumption and is not a legal conclusion. Google has not performed a legal analysis and makes no representation as to the accuracy of the status listed.)
- Pending
Links
- 239000011347 resin Substances 0.000 title claims abstract description 51
- 229920005989 resin Polymers 0.000 title claims abstract description 51
- 238000000034 method Methods 0.000 title claims description 15
- 238000010276 construction Methods 0.000 title claims description 10
- 238000007599 discharging Methods 0.000 claims abstract description 17
- 239000002699 waste material Substances 0.000 claims abstract description 10
- 239000003795 chemical substances by application Substances 0.000 claims description 34
- XUIMIQQOPSSXEZ-UHFFFAOYSA-N Silicon Chemical compound [Si] XUIMIQQOPSSXEZ-UHFFFAOYSA-N 0.000 claims description 18
- 229910052710 silicon Inorganic materials 0.000 claims description 18
- 239000010703 silicon Substances 0.000 claims description 18
- 229920003229 poly(methyl methacrylate) Polymers 0.000 claims description 15
- 239000004926 polymethyl methacrylate Substances 0.000 claims description 15
- SUPCQIBBMFXVTL-UHFFFAOYSA-N ethyl 2-methylprop-2-enoate Chemical compound CCOC(=O)C(C)=C SUPCQIBBMFXVTL-UHFFFAOYSA-N 0.000 claims description 14
- 239000000463 material Substances 0.000 claims description 11
- 238000005498 polishing Methods 0.000 claims description 11
- 239000006004 Quartz sand Substances 0.000 claims description 8
- VYPSYNLAJGMNEJ-UHFFFAOYSA-N Silicium dioxide Chemical compound O=[Si]=O VYPSYNLAJGMNEJ-UHFFFAOYSA-N 0.000 claims description 8
- 239000011521 glass Substances 0.000 claims description 8
- 239000000428 dust Substances 0.000 claims description 7
- 239000004579 marble Substances 0.000 claims description 7
- XOJWAAUYNWGQAU-UHFFFAOYSA-N 4-(2-methylprop-2-enoyloxy)butyl 2-methylprop-2-enoate Chemical compound CC(=C)C(=O)OCCCCOC(=O)C(C)=C XOJWAAUYNWGQAU-UHFFFAOYSA-N 0.000 claims description 6
- 239000004744 fabric Substances 0.000 claims description 5
- UICXTANXZJJIBC-UHFFFAOYSA-N 1-(1-hydroperoxycyclohexyl)peroxycyclohexan-1-ol Chemical compound C1CCCCC1(O)OOC1(OO)CCCCC1 UICXTANXZJJIBC-UHFFFAOYSA-N 0.000 claims description 4
- WFUGQJXVXHBTEM-UHFFFAOYSA-N 2-hydroperoxy-2-(2-hydroperoxybutan-2-ylperoxy)butane Chemical compound CCC(C)(OO)OOC(C)(CC)OO WFUGQJXVXHBTEM-UHFFFAOYSA-N 0.000 claims description 4
- 239000004342 Benzoyl peroxide Substances 0.000 claims description 4
- OMPJBNCRMGITSC-UHFFFAOYSA-N Benzoylperoxide Chemical compound C=1C=CC=CC=1C(=O)OOC(=O)C1=CC=CC=C1 OMPJBNCRMGITSC-UHFFFAOYSA-N 0.000 claims description 4
- 235000019400 benzoyl peroxide Nutrition 0.000 claims description 4
- 238000005096 rolling process Methods 0.000 claims description 3
- 239000013530 defoamer Substances 0.000 claims description 2
- 238000003754 machining Methods 0.000 claims description 2
- 230000032683 aging Effects 0.000 abstract description 6
- 239000010410 layer Substances 0.000 description 7
- 239000004575 stone Substances 0.000 description 5
- XLYOFNOQVPJJNP-UHFFFAOYSA-N water Substances O XLYOFNOQVPJJNP-UHFFFAOYSA-N 0.000 description 5
- 239000004593 Epoxy Substances 0.000 description 4
- 239000002518 antifoaming agent Substances 0.000 description 4
- 239000004568 cement Substances 0.000 description 4
- 238000002425 crystallisation Methods 0.000 description 4
- 230000008025 crystallization Effects 0.000 description 4
- 230000035515 penetration Effects 0.000 description 4
- 239000004814 polyurethane Substances 0.000 description 4
- 229920002635 polyurethane Polymers 0.000 description 4
- 238000007789 sealing Methods 0.000 description 4
- 239000011083 cement mortar Substances 0.000 description 3
- 239000012535 impurity Substances 0.000 description 3
- 230000009286 beneficial effect Effects 0.000 description 2
- 238000009472 formulation Methods 0.000 description 2
- 239000000203 mixture Substances 0.000 description 2
- 238000012216 screening Methods 0.000 description 2
- 239000002893 slag Substances 0.000 description 2
- RYGMFSIKBFXOCR-UHFFFAOYSA-N Copper Chemical compound [Cu] RYGMFSIKBFXOCR-UHFFFAOYSA-N 0.000 description 1
- XAGFODPZIPBFFR-UHFFFAOYSA-N aluminium Chemical compound [Al] XAGFODPZIPBFFR-UHFFFAOYSA-N 0.000 description 1
- 229910052782 aluminium Inorganic materials 0.000 description 1
- 239000011230 binding agent Substances 0.000 description 1
- 239000010949 copper Substances 0.000 description 1
- 229910052802 copper Inorganic materials 0.000 description 1
- 238000005336 cracking Methods 0.000 description 1
- 230000000694 effects Effects 0.000 description 1
- 230000003628 erosive effect Effects 0.000 description 1
- 230000002349 favourable effect Effects 0.000 description 1
- 238000012986 modification Methods 0.000 description 1
- 230000004048 modification Effects 0.000 description 1
- 125000001997 phenyl group Chemical group [H]C1=C([H])C([H])=C(*)C([H])=C1[H] 0.000 description 1
- 239000000049 pigment Substances 0.000 description 1
- 239000002344 surface layer Substances 0.000 description 1
- 238000004018 waxing Methods 0.000 description 1
Images
Classifications
-
- B—PERFORMING OPERATIONS; TRANSPORTING
- B02—CRUSHING, PULVERISING, OR DISINTEGRATING; PREPARATORY TREATMENT OF GRAIN FOR MILLING
- B02C—CRUSHING, PULVERISING, OR DISINTEGRATING IN GENERAL; MILLING GRAIN
- B02C13/00—Disintegrating by mills having rotary beater elements ; Hammer mills
- B02C13/02—Disintegrating by mills having rotary beater elements ; Hammer mills with horizontal rotor shaft
- B02C13/04—Disintegrating by mills having rotary beater elements ; Hammer mills with horizontal rotor shaft with beaters hinged to the rotor; Hammer mills
-
- B—PERFORMING OPERATIONS; TRANSPORTING
- B02—CRUSHING, PULVERISING, OR DISINTEGRATING; PREPARATORY TREATMENT OF GRAIN FOR MILLING
- B02C—CRUSHING, PULVERISING, OR DISINTEGRATING IN GENERAL; MILLING GRAIN
- B02C13/00—Disintegrating by mills having rotary beater elements ; Hammer mills
- B02C13/02—Disintegrating by mills having rotary beater elements ; Hammer mills with horizontal rotor shaft
- B02C13/06—Disintegrating by mills having rotary beater elements ; Hammer mills with horizontal rotor shaft with beaters rigidly connected to the rotor
-
- B—PERFORMING OPERATIONS; TRANSPORTING
- B02—CRUSHING, PULVERISING, OR DISINTEGRATING; PREPARATORY TREATMENT OF GRAIN FOR MILLING
- B02C—CRUSHING, PULVERISING, OR DISINTEGRATING IN GENERAL; MILLING GRAIN
- B02C13/00—Disintegrating by mills having rotary beater elements ; Hammer mills
- B02C13/13—Disintegrating by mills having rotary beater elements ; Hammer mills with horizontal rotor shaft and combined with sifting devices, e.g. for making powdered fuel
-
- B—PERFORMING OPERATIONS; TRANSPORTING
- B02—CRUSHING, PULVERISING, OR DISINTEGRATING; PREPARATORY TREATMENT OF GRAIN FOR MILLING
- B02C—CRUSHING, PULVERISING, OR DISINTEGRATING IN GENERAL; MILLING GRAIN
- B02C13/00—Disintegrating by mills having rotary beater elements ; Hammer mills
- B02C13/26—Details
- B02C13/28—Shape or construction of beater elements
-
- B—PERFORMING OPERATIONS; TRANSPORTING
- B02—CRUSHING, PULVERISING, OR DISINTEGRATING; PREPARATORY TREATMENT OF GRAIN FOR MILLING
- B02C—CRUSHING, PULVERISING, OR DISINTEGRATING IN GENERAL; MILLING GRAIN
- B02C23/00—Auxiliary methods or auxiliary devices or accessories specially adapted for crushing or disintegrating not provided for in preceding groups or not specially adapted to apparatus covered by a single preceding group
- B02C23/08—Separating or sorting of material, associated with crushing or disintegrating
- B02C23/16—Separating or sorting of material, associated with crushing or disintegrating with separator defining termination of crushing or disintegrating zone, e.g. screen denying egress of oversize material
-
- C—CHEMISTRY; METALLURGY
- C04—CEMENTS; CONCRETE; ARTIFICIAL STONE; CERAMICS; REFRACTORIES
- C04B—LIME, MAGNESIA; SLAG; CEMENTS; COMPOSITIONS THEREOF, e.g. MORTARS, CONCRETE OR LIKE BUILDING MATERIALS; ARTIFICIAL STONE; CERAMICS; REFRACTORIES; TREATMENT OF NATURAL STONE
- C04B20/00—Use of materials as fillers for mortars, concrete or artificial stone according to more than one of groups C04B14/00 - C04B18/00 and characterised by shape or grain distribution; Treatment of materials according to more than one of the groups C04B14/00 - C04B18/00 specially adapted to enhance their filling properties in mortars, concrete or artificial stone; Expanding or defibrillating materials
- C04B20/02—Treatment
- C04B20/026—Comminuting, e.g. by grinding or breaking; Defibrillating fibres other than asbestos
-
- C—CHEMISTRY; METALLURGY
- C04—CEMENTS; CONCRETE; ARTIFICIAL STONE; CERAMICS; REFRACTORIES
- C04B—LIME, MAGNESIA; SLAG; CEMENTS; COMPOSITIONS THEREOF, e.g. MORTARS, CONCRETE OR LIKE BUILDING MATERIALS; ARTIFICIAL STONE; CERAMICS; REFRACTORIES; TREATMENT OF NATURAL STONE
- C04B26/00—Compositions of mortars, concrete or artificial stone, containing only organic binders, e.g. polymer or resin concrete
- C04B26/02—Macromolecular compounds
- C04B26/04—Macromolecular compounds obtained by reactions only involving carbon-to-carbon unsaturated bonds
- C04B26/06—Acrylates
-
- C—CHEMISTRY; METALLURGY
- C08—ORGANIC MACROMOLECULAR COMPOUNDS; THEIR PREPARATION OR CHEMICAL WORKING-UP; COMPOSITIONS BASED THEREON
- C08F—MACROMOLECULAR COMPOUNDS OBTAINED BY REACTIONS ONLY INVOLVING CARBON-TO-CARBON UNSATURATED BONDS
- C08F265/00—Macromolecular compounds obtained by polymerising monomers on to polymers of unsaturated monocarboxylic acids or derivatives thereof as defined in group C08F20/00
- C08F265/04—Macromolecular compounds obtained by polymerising monomers on to polymers of unsaturated monocarboxylic acids or derivatives thereof as defined in group C08F20/00 on to polymers of esters
- C08F265/06—Polymerisation of acrylate or methacrylate esters on to polymers thereof
-
- E—FIXED CONSTRUCTIONS
- E01—CONSTRUCTION OF ROADS, RAILWAYS, OR BRIDGES
- E01C—CONSTRUCTION OF, OR SURFACES FOR, ROADS, SPORTS GROUNDS, OR THE LIKE; MACHINES OR AUXILIARY TOOLS FOR CONSTRUCTION OR REPAIR
- E01C7/00—Coherent pavings made in situ
- E01C7/08—Coherent pavings made in situ made of road-metal and binders
- E01C7/30—Coherent pavings made in situ made of road-metal and binders of road-metal and other binders, e.g. synthetic material, i.e. resin
-
- E—FIXED CONSTRUCTIONS
- E04—BUILDING
- E04F—FINISHING WORK ON BUILDINGS, e.g. STAIRS, FLOORS
- E04F15/00—Flooring
- E04F15/12—Flooring or floor layers made of masses in situ, e.g. seamless magnesite floors, terrazzo gypsum floors
-
- C—CHEMISTRY; METALLURGY
- C04—CEMENTS; CONCRETE; ARTIFICIAL STONE; CERAMICS; REFRACTORIES
- C04B—LIME, MAGNESIA; SLAG; CEMENTS; COMPOSITIONS THEREOF, e.g. MORTARS, CONCRETE OR LIKE BUILDING MATERIALS; ARTIFICIAL STONE; CERAMICS; REFRACTORIES; TREATMENT OF NATURAL STONE
- C04B2111/00—Mortars, concrete or artificial stone or mixtures to prepare them, characterised by specific function, property or use
- C04B2111/20—Resistance against chemical, physical or biological attack
-
- C—CHEMISTRY; METALLURGY
- C04—CEMENTS; CONCRETE; ARTIFICIAL STONE; CERAMICS; REFRACTORIES
- C04B—LIME, MAGNESIA; SLAG; CEMENTS; COMPOSITIONS THEREOF, e.g. MORTARS, CONCRETE OR LIKE BUILDING MATERIALS; ARTIFICIAL STONE; CERAMICS; REFRACTORIES; TREATMENT OF NATURAL STONE
- C04B2111/00—Mortars, concrete or artificial stone or mixtures to prepare them, characterised by specific function, property or use
- C04B2111/20—Resistance against chemical, physical or biological attack
- C04B2111/2038—Resistance against physical degradation
-
- C—CHEMISTRY; METALLURGY
- C04—CEMENTS; CONCRETE; ARTIFICIAL STONE; CERAMICS; REFRACTORIES
- C04B—LIME, MAGNESIA; SLAG; CEMENTS; COMPOSITIONS THEREOF, e.g. MORTARS, CONCRETE OR LIKE BUILDING MATERIALS; ARTIFICIAL STONE; CERAMICS; REFRACTORIES; TREATMENT OF NATURAL STONE
- C04B2111/00—Mortars, concrete or artificial stone or mixtures to prepare them, characterised by specific function, property or use
- C04B2111/60—Flooring materials
Landscapes
- Engineering & Computer Science (AREA)
- Chemical & Material Sciences (AREA)
- Food Science & Technology (AREA)
- Architecture (AREA)
- Ceramic Engineering (AREA)
- Structural Engineering (AREA)
- Organic Chemistry (AREA)
- Materials Engineering (AREA)
- Chemical Kinetics & Catalysis (AREA)
- Civil Engineering (AREA)
- Health & Medical Sciences (AREA)
- Medicinal Chemistry (AREA)
- Polymers & Plastics (AREA)
- Disintegrating Or Milling (AREA)
Abstract
本发明涉及磨石技术领域,特别涉及一种室外耐候型磨石树脂地面的加工装置,包括用于将该室外耐候型磨石树脂骨料破碎的加工组件;所述加工组件包括:破碎箱以及位于所述破碎箱内部的破碎件,所述破碎箱的顶部和底部设有投料口和排料组件。本发明通过加工组件对骨料进行破碎,加工组件主要由破碎箱、破碎件、排料组件构成,其中,破碎件由网筛、破碎杆构成,通过破碎杆和网筛的配合,可以有效的对骨料进行破碎,保持骨料大小的均匀性,排料组件由排料管、废渣收集组件构成,在破碎的同时进行清理残渣,提高骨料的质量,从而利于提高地面的质量,提高地面耐老化、耐候性。
Description
技术领域
本发明属于磨石技术领域,特别涉及一种室外耐候型磨石树脂地面及其加工装置、施工工艺。
背景技术
水磨石地面是指在水泥砂浆找平层上面铺水泥白石子,面层达到一定强度后加水用磨石机磨光、打蜡而成。为了适应地面变形,防止开裂,在做法上要注意的是在做好找平层后,用玻璃、铜条、铝条将地面分隔成若干小块(1000mm×1000mm)或各种图案,然后用水泥砂浆将嵌条固定,固定用水泥砂浆不宜过高,以免嵌条两侧仅有水泥而无石子,影响美观。也可以用白水泥替代普通水泥,并掺入颜料,形成美术水磨石地面,但造价较高。
现有技术中的磨石地面长期暴露在外界环境中,容易受到雨水、灰尘的侵蚀和风化,使得地面容易老化、耐候性差,而且磨石地面中的骨料在处理时大小不均匀,杂质较多,不便于对骨料进行破碎、筛选和去除杂质。
发明内容
针对上述问题,本发明提供了一种室外耐候型磨石树脂地面加工装置,包括用于将该室外耐候型磨石树脂骨料破碎的加工组件;
所述加工组件包括:破碎箱以及位于所述破碎箱内部的破碎件,所述破碎箱的顶部和底部设有投料口和排料组件;
所述破碎件包括:
连接在所述破碎箱内部的网筛和破碎杆;其中,网筛活动连接于所述破碎箱的内部,所述破碎杆包括转轴和曲杆,所述曲杆的外部套接有破碎头,且曲杆的端部固定连接于所述转轴的端部,所述转轴转动安装于所述破碎箱的内侧,且转轴的端部连接有驱动电机,且破碎头位于所述网筛的内部。
优选的,所述网筛的两端均固定连接有滑块,所述破碎箱内侧壁开设有与所述滑块相匹配的滑槽,所述滑块滑动连接于所述滑槽的内部。
优选的,所述滑块的顶部和底部均开设有凹槽,所述凹槽的内部安装有万向球,所述万向球滚动连接于所述滑槽的内部。
优选的,所述转轴的外部安装有偏心轴套,所述偏心轴套的外部套接有轴套,所述轴套通过双球头杆与所述网筛活动连接。
优选的,所述排料组件包括:连通在所述破碎箱底部的排料管,所述排料管上横向连通有废渣收集组件。
优选的,所述废渣收集组件包括收集管,所述收集管的两端分别设有鼓风机和除尘布袋。
采用加工组件加工成的一种室外耐候型磨石树脂地面包括耐候型树脂。
优选的,所述耐候型树脂包括主剂100份、固化剂0.5-8份;
所述主剂组成材料为:聚甲基丙烯酸甲酯5-50份、甲基丙烯酸乙酯5-50份、二甲基丙烯酸1,4-丁二醇酯5-50份、改性有机硅消泡剂0.2-1份、改性有机硅流平剂0.2-1份、色粉10-20份、硅微粉20-30份;
所述骨料为石英砂4-6份、透明玻璃6-8份、天然贝壳10-20份、天然大理石20-40份、石英砂70-140份。
优选的,所述固化剂为过氧化苯甲酰、过氧化甲乙酮、过氧化环己酮中的一种。
本发明还提出一种室外耐候型磨石树脂地面的施工工艺,包括如下步骤:
在混凝土基层上铺设底涂;
耐候型树脂每平方6公斤,骨料每平方30公斤,混合均匀后摊铺,摊铺厚度10-25mm,固化后经研磨、补孔、抛光工序加工;
在抛光后的地面铺设罩面层。
本发明的有益效果是:
1、本发明通过加工组件对骨料进行破碎,加工组件主要由破碎箱、破碎件、排料组件构成,其中,破碎件由网筛、破碎杆构成,通过破碎杆和网筛的配合,可以有效的对骨料进行破碎,保持骨料大小的均匀性,排料组件由排料管、废渣收集组件构成,在破碎的同时进行清理残渣,提高骨料的质量,从而利于提高地面的质量,提高地面耐老化、耐候性。
2、本发明中的耐候型磨石树脂地面的主要骨料为耐候型树脂和骨料,耐候型磨石粘结剂主要成分聚甲基丙烯酸甲酯,分子结构稳定,无变色基团,改变了传统环氧材料分子结构含有苯环和自由基等变色基团,使得地面具有室外耐候好、抗老化优异、粘接强度高,色感均匀、整体无缝的优异性能。
本发明的其它特征和优点将在随后的说明书中阐述,并且,部分地从说明书中变得显而易见,或者通过实施本发明而了解。本发明的目的和其他优点可通过在说明书、权利要求书以及附图中所指出的结构来实现和获得。
附图说明
为了更清楚地说明本发明实施例或现有技术中的技术方案,下面将对实施例或现有技术描述中所需要使用的附图作一简单地介绍,显而易见地,下面描述中的附图是本发明的一些实施例,对于本领域普通技术人员来讲,在不付出创造性劳动的前提下,还可以根据这些附图获得其他的附图。
图1示出了本发明加工组件的爆炸图;
图2示出了本发明破碎箱的剖面结构示意图;
图3示出了本发明破碎杆的结构示意图;
图4示出了本发明排料组件的结构示意图;
图5示出了本发明加工组件的结构示意图。
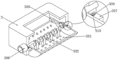
图中:1、加工组件;2、破碎箱;3、破碎件;301、网筛;302、破碎杆;303、转轴;304、曲杆;305、破碎头;306、驱动电机;307、滑块;308、滑槽;309、凹槽;310、万向球;311、偏心轴套;312、轴套;313、双球头杆;4、排料组件;401、排料管;402、废渣收集组件;403、收集管;404、鼓风机;405、除尘布袋。
具体实施方式
为便于本领域技术人员理解本发明技术方案,现结合说明书附图对本发明技术方案做进一步的说明。
术语“第一”、“第二”仅用于描述目的,而不能理解为指示或暗示相对重要性或者隐含指明所指示的技术特征的数量。由此,限定有“第一”、“第二”的特征可以明示或者隐含地包括一个或者更多个该特征。在本申请的描述中,“多个”的含义是两个或两个以上,除非另有明确具体的限定。
实施例一
一种室外耐候型磨石树脂地面,包括以下组分:
耐候型树脂1份、骨料6份;其中耐候型树脂包括主剂100份、固化剂0.5份;
主剂组成材料为:聚甲基丙烯酸甲酯5份、甲基丙烯酸乙酯20份、二甲基丙烯酸1,4-丁二醇酯35份;改性有机硅消泡剂0.2份;改性有机硅流平剂0.2份;色粉10份;硅微粉20份;
骨料为透明玻璃6份;天然贝壳10份;天然大理石20份;石英砂70份;
固化剂为过氧化苯甲酰;
以上配比均按重量比计。
一种室外耐候型磨石树脂地面施工工艺,包括以下步骤:
步骤一:在混凝土基层上铺设底涂,底涂为聚甲基丙烯酸甲酯:甲基丙烯酸乙酯=100:3,聚甲基丙烯酸甲酯、甲基丙烯酸乙酯二者共100份,上述配比均按重量比计,底涂渗透深度2-5mm;
步骤二:耐候型树脂每平方6公斤,骨料每平方30公斤,混合均匀后摊铺,摊铺厚度10-25mm,固化后经研磨、补孔、抛光工序加工;
步骤三:在抛光后的地面铺设罩面层,地面抛光至1500目表面即可做罩面层,罩面层为水性聚氨酯罩面或封闭剂结晶处理。
实施例二
一种室外耐候型磨石树脂地面,包括以下组分:
耐候型树脂1份、骨料6份;其中耐候型树脂包括主剂100份、固化剂8份;
主剂组成材料为:聚甲基丙烯酸甲酯15份、甲基丙烯酸乙酯15份、二甲基丙烯酸1,4-丁二醇酯40份;改性有机硅消泡剂1份;改性有机硅流平剂1份;色粉20份;硅微粉30份;
骨料透明玻璃8份;天然贝壳20份;天然大理石40份;石英砂140份;
固化剂为过氧化甲乙酮;
以上配比均按重量比计。
一种室外耐候型磨石树脂地面施工工艺,包括以下步骤:
步骤一:在混凝土基层上铺设底涂,底涂为聚甲基丙烯酸甲酯:甲基丙烯酸乙酯=100:3,聚甲基丙烯酸甲酯、甲基丙烯酸乙酯二者共100份,底涂渗透深度2-5mm,上述配比均按重量比计;
步骤二:耐候型树脂每平方6公斤,骨料每平方30公斤,混合均匀后摊铺,摊铺厚度10-25mm,固化后经研磨、补孔、抛光工序加工;
步骤三:在抛光后的地面铺设罩面层,地面抛光至1500目表面即可做罩面层,罩面层为水性聚氨酯罩面或封闭剂结晶处理。
实施例三
一种室外耐候型磨石树脂地面,包括以下组分:
耐候型树脂1份、骨料6份;其中耐候型树脂包括主剂100份、固化剂4份;
主剂组成材料为:聚甲基丙烯酸甲酯20份、甲基丙烯酸乙酯30份、二甲基丙烯酸1,4-丁二醇酯15份;改性有机硅消泡剂0.7份;改性有机硅流平剂0.7份;色粉15份;硅微粉25份;
骨料透明玻璃7份;天然贝壳15份;天然大理石30份;石英砂110份;
固化剂为过氧化环己酮;
以上配比均按重量比计。
一种室外耐候型磨石树脂地面施工工艺,包括以下步骤:
步骤一:在混凝土基层上铺设底涂,底涂为聚甲基丙烯酸甲酯:甲基丙烯酸乙酯=100:3,聚甲基丙烯酸甲酯、甲基丙烯酸乙酯二者共100份,底涂渗透深度2-5mm,上述配比均按重量比计;
步骤二:耐候型树脂每平方6公斤,骨料每平方30公斤,混合均匀后摊铺,摊铺厚度10-25mm,固化后经研磨、补孔、抛光工序加工;
步骤三:在抛光后的地面铺设罩面层,地面抛光至1500目表面即可做罩面层,罩面层为水性聚氨酯罩面或封闭剂结晶处理。
实施例四
一种室外耐候型磨石树脂地面,包括以下组分:
耐候型树脂1份、骨料6份;其中耐候型树脂包括主剂100份、固化剂0.5-8份;
主剂组成材料为:聚甲基丙烯酸甲酯30份、甲基丙烯酸乙酯30份、二甲基丙烯酸1,4-丁二醇酯30份;改性有机硅消泡剂0.5份;改性有机硅流平剂0.5份;色粉12份;硅微粉23份;
骨料为透明玻璃7份;天然贝壳12份;天然大理石25份;石英砂98份;
固化剂为过氧化苯甲酰、过氧化甲乙酮、过氧化环己酮中的一种;
以上配比均按重量比计。
一种室外耐候型磨石树脂地面施工工艺,包括以下步骤:
步骤一:在混凝土基层上铺设底涂,底涂为聚甲基丙烯酸甲酯:甲基丙烯酸乙酯=100:3,聚甲基丙烯酸甲酯、甲基丙烯酸乙酯二者共100份,底涂渗透深度2-5mm,上述配比均按重量比计。;
步骤二:耐候型树脂每平方6公斤,骨料每平方30公斤,混合均匀后摊铺,摊铺厚度10-25mm,固化后经研磨、补孔、抛光工序加工;
步骤三:在抛光后的地面铺设罩面层,地面抛光至1500目表面即可做罩面层,罩面层为水性聚氨酯罩面或封闭剂结晶处理。
在实施实施例1-4时,其配方组成如下表:
在采用实施例1-4的配方进行施工时,其耐老化程度与普通环氧磨石地面的地面相比,得出下表:
| 普通环氧磨石地面 | 一种室外耐候型磨石树脂地面 | |
| 实施例1 | 3.8% | 0.6% |
| 实施例2 | 3.6% | 0.7% |
| 实施例3 | 3.6% | 0.4% |
| 实施例4 | 3.5% | 0.5% |
由上表可知,本发明提出的一种室外耐候型磨石树脂地面,其耐老化成都相比普通环氧磨石地面的地面,其抗老化程度更高。
实施例5
如图1-5所示,本实施例中提出了一种室外耐候型磨石树脂地面的加工装置。
该所述加工组件1包括:破碎箱2以及位于所述破碎箱2内部的破碎件3,所述破碎箱2的顶部和底部设有投料口5和排料组件4。其中,投料口5用于向破碎箱2中投放透明玻璃、天然贝壳、天然大理石等骨料,用于对其进行破碎筛选,破碎后的骨料经由排料组件4排出,同时对骨料中的杂质、灰尘进行收集清理,提高骨料大小的均匀性。
进一步的,所述破碎件3包括:连接在所述破碎箱2内部的网筛301和破碎杆302。其中,网筛301活动连接于所述破碎箱2的内部,所述破碎杆302包括转轴303和曲杆304,所述曲杆304的外部套接有破碎头305,且曲杆304的端部固定连接于所述转轴303的端部,所述转轴303转动安装于所述破碎箱2的内侧,且转轴303的端部连接有驱动电机306,且破碎头305位于所述网筛301的内部。
具体的,破碎头305设置有多组,活动套接在曲杆304的外部,在将骨料投入到破碎箱2中之后,骨料落入到网筛301中,网筛301设置为弧形结构,可以兜住骨料,由驱动电机306带动曲杆304转动,使得破碎头305不断的锤击骨料,将其从网筛301排出,可以筛选出均匀的骨料。
进一步的,所述网筛301的两端均固定连接有滑块307,所述破碎箱2内侧壁开设有与所述滑块307相匹配的滑槽308,所述滑块307滑动连接于所述滑槽308的内部。
具体的,通过滑块307和滑槽308的配合,利于限制住网筛301在破碎箱2中的位置,并保持其可以在破碎箱2中位移。另外,所述滑块307的顶部和底部均开设有凹槽309,所述凹槽309的内部安装有万向球310,所述万向球310滚动连接于所述滑槽308的内部。通过万向球310的设置,利于减少滑块307和滑槽308之间的摩擦力,利于网筛301的来回移动。
具体的,所述转轴303的外部安装有偏心轴套311,所述偏心轴套311的外部套接有轴套312,所述轴套312通过双球头杆313与所述网筛301活动连接。在转轴303转动的时候,可以通过偏心轴套311、双球头杆313带动网筛301来回的晃动,利于对骨料的破碎和排出。
进一步的,所述排料组件4包括:连通在所述破碎箱2底部的排料管401,所述排料管401上横向连通有废渣收集组件402。其中,排料管401用于将破碎后的骨料排出,废渣收集组件402对较小的骨料、或者碎渣进行收集,保持骨料的清洁。
具体的,所述废渣收集组件402包括收集管403,所述收集管403的两端分别设有鼓风机404和除尘布袋405。在破碎后的骨料在排料管401下落时,由鼓风机404对排料管401中进行吹风,可以将较小的骨料、或者碎渣吹入到收集管403中,并由除尘布袋405进行收集,方便了在破碎骨料的同时对其进行清理。
对于本领域技术人员而言,显然本发明不限于上述示范性实施例的细节,而且在不背离本发明的精神或基本特征的情况下,能够以其他的具体形式实现本发明。因此,无论从哪一点来看,均应将实施例看作是示范性的,而且是非限制性的,本发明的范围由所附权利要求而不是上述说明限定,因此旨在将落在权利要求的等同要件的含义和范围内的所有变化囊括在本发明内,不应将权利要求中的任何附图标记视为限制所涉及的权利要求。
以上所述实施例仅表示发明的实施方式,本发明的保护范围不仅局限于上述实施例,对于本领域的技术人员来说,在不脱离本发明构思的前提下,还可以做出若干变形和改进,这些都属于本发明保护范围。
Claims (10)
1.一种室外耐候型磨石树脂地面的加工装置,其特征在于,包括:用于将该室外耐候型磨石树脂骨料破碎的加工组件(1);
所述加工组件(1)包括:破碎箱(2)以及位于所述破碎箱(2)内部的破碎件(3),所述破碎箱(2)的顶部和底部设有投料口(5)和排料组件(4);
所述破碎件(3)包括:
连接在所述破碎箱(2)内部的网筛(301)和破碎杆(302);其中,网筛(301)活动连接于所述破碎箱(2)的内部,所述破碎杆(302)包括转轴(303)和曲杆(304),所述曲杆(304)的外部套接有破碎头(305),且曲杆(304)的端部固定连接于所述转轴(303)的端部,所述转轴(303)转动安装于所述破碎箱(2)的内侧,且转轴(303)的端部连接有驱动电机(306),且破碎头(305)位于所述网筛(301)的内部。
2.根据权利要求1所述的一种室外耐候型磨石树脂地面的加工装置,其特征在于:所述网筛(301)的两端均固定连接有滑块(307),所述破碎箱(2)内侧壁开设有与所述滑块(307)相匹配的滑槽(308),所述滑块(307)滑动连接于所述滑槽(308)的内部。
3.根据权利要求2所述的一种室外耐候型磨石树脂地面的加工装置,其特征在于:所述滑块(307)的顶部和底部均开设有凹槽(309),所述凹槽(309)的内部安装有万向球(310),所述万向球(310)滚动连接于所述滑槽(308)的内部。
4.根据权利要求2所述的一种室外耐候型磨石树脂地面的加工装置,其特征在于:所述转轴(303)的外部安装有偏心轴套(311),所述偏心轴套(311)的外部套接有轴套(312),所述轴套(312)通过双球头杆(313)与所述网筛(301)活动连接。
5.根据权利要求1所述的一种室外耐候型磨石树脂地面的加工装置,其特征在于:所述排料组件(4)包括:连通在所述破碎箱(2)底部的排料管(401),所述排料管(401)上横向连通有废渣收集组件(402)。
6.根据权利要求5所述的一种室外耐候型磨石树脂地面的加工装置,其特征在于:所述废渣收集组件(402)包括收集管(403),所述收集管(403)的两端分别设有鼓风机(404)和除尘布袋(405)。
7.采用权利要求1加工成的一种室外耐候型磨石树脂地面,其特征在于:包括耐候型树脂。
8.根据权利要求7所述的一种室外耐候型磨石树脂地面,其特征在于:所述耐候型树脂包括主剂100份、固化剂0.5-8份;
所述主剂组成材料为:聚甲基丙烯酸甲酯5-50份、甲基丙烯酸乙酯5-50份、二甲基丙烯酸1,4-丁二醇酯5-50份、改性有机硅消泡剂0.2-1份、改性有机硅流平剂0.2-1份、色粉10-20份、硅微粉20-30份;
所述骨料为石英砂4-6份、透明玻璃6-8份、天然贝壳10-20份、天然大理石20-40份、石英砂70-140份。
9.根据权利要求8所述的一种室外耐候型磨石树脂地面,其特征在于:所述固化剂为过氧化苯甲酰、过氧化甲乙酮、过氧化环己酮中的一种。
10.采用权利要求1加工成的一种室外耐候型磨石树脂地面的施工工艺,其特征在于,包括如下步骤:
在混凝土基层上铺设底涂;
耐候型树脂每平方6公斤,骨料每平方30公斤,混合均匀后摊铺,摊铺厚度10-25mm,固化后经研磨、补孔、抛光工序加工;
在抛光后的地面铺设罩面层。
Priority Applications (1)
| Application Number | Priority Date | Filing Date | Title |
|---|---|---|---|
| CN202210267131.0A CN114632587A (zh) | 2022-03-18 | 2022-03-18 | 一种室外耐候型磨石树脂地面及其加工装置、施工工艺 |
Applications Claiming Priority (1)
| Application Number | Priority Date | Filing Date | Title |
|---|---|---|---|
| CN202210267131.0A CN114632587A (zh) | 2022-03-18 | 2022-03-18 | 一种室外耐候型磨石树脂地面及其加工装置、施工工艺 |
Publications (1)
| Publication Number | Publication Date |
|---|---|
| CN114632587A true CN114632587A (zh) | 2022-06-17 |
Family
ID=81949617
Family Applications (1)
| Application Number | Title | Priority Date | Filing Date |
|---|---|---|---|
| CN202210267131.0A Pending CN114632587A (zh) | 2022-03-18 | 2022-03-18 | 一种室外耐候型磨石树脂地面及其加工装置、施工工艺 |
Country Status (1)
| Country | Link |
|---|---|
| CN (1) | CN114632587A (zh) |
Cited By (1)
| Publication number | Priority date | Publication date | Assignee | Title |
|---|---|---|---|---|
| CN117091378A (zh) * | 2023-10-17 | 2023-11-21 | 河南晶研智造科技有限公司 | 一种超细金刚石微粉用分散干燥装置及其操作方法 |
Citations (11)
| Publication number | Priority date | Publication date | Assignee | Title |
|---|---|---|---|---|
| CN2875034Y (zh) * | 2006-01-20 | 2007-03-07 | 刘文彪 | 机载花生摘果机 |
| CN205128070U (zh) * | 2015-11-16 | 2016-04-06 | 弥勒堉丰生物肥业有限公司 | 一种有机肥原料粉碎机 |
| CN205435861U (zh) * | 2015-12-16 | 2016-08-10 | 云南善施化工有限公司 | 一种锤片式有机肥粉碎机 |
| CN208115846U (zh) * | 2018-01-12 | 2018-11-20 | 靖江鑫润再生资源有限公司 | 一种高炉冶炼铁矿石破碎装置 |
| CN209174340U (zh) * | 2018-11-05 | 2019-07-30 | 武汉竹禾农业机械有限公司 | 一种单体谷糙分离机 |
| CN211367483U (zh) * | 2019-12-27 | 2020-08-28 | 辽宁宝来生物能源有限公司 | 一种劣质重油溶剂脱沥青装置 |
| CN111760639A (zh) * | 2020-07-06 | 2020-10-13 | 台州四强新型建材有限公司 | 一种废弃混凝土制备再生砂的系统装置 |
| CN111847984A (zh) * | 2020-07-29 | 2020-10-30 | 宿州典跃新型建筑材料有限公司 | 一种室外耐候型磨石树脂地面及施工工艺 |
| CN212092513U (zh) * | 2020-04-08 | 2020-12-08 | 山东联合王晁水泥有限公司 | 一种机制砂用于建筑材料的装置 |
| CN214974760U (zh) * | 2021-04-21 | 2021-12-03 | 辽宁东正商品检验服务有限公司 | 一种用于铁矿石粉碎的锤式破碎机 |
| CN215029465U (zh) * | 2021-01-26 | 2021-12-07 | 云南科斯特机械设备有限公司 | 一种新型单段重型锤式破碎机 |
-
2022
- 2022-03-18 CN CN202210267131.0A patent/CN114632587A/zh active Pending
Patent Citations (11)
| Publication number | Priority date | Publication date | Assignee | Title |
|---|---|---|---|---|
| CN2875034Y (zh) * | 2006-01-20 | 2007-03-07 | 刘文彪 | 机载花生摘果机 |
| CN205128070U (zh) * | 2015-11-16 | 2016-04-06 | 弥勒堉丰生物肥业有限公司 | 一种有机肥原料粉碎机 |
| CN205435861U (zh) * | 2015-12-16 | 2016-08-10 | 云南善施化工有限公司 | 一种锤片式有机肥粉碎机 |
| CN208115846U (zh) * | 2018-01-12 | 2018-11-20 | 靖江鑫润再生资源有限公司 | 一种高炉冶炼铁矿石破碎装置 |
| CN209174340U (zh) * | 2018-11-05 | 2019-07-30 | 武汉竹禾农业机械有限公司 | 一种单体谷糙分离机 |
| CN211367483U (zh) * | 2019-12-27 | 2020-08-28 | 辽宁宝来生物能源有限公司 | 一种劣质重油溶剂脱沥青装置 |
| CN212092513U (zh) * | 2020-04-08 | 2020-12-08 | 山东联合王晁水泥有限公司 | 一种机制砂用于建筑材料的装置 |
| CN111760639A (zh) * | 2020-07-06 | 2020-10-13 | 台州四强新型建材有限公司 | 一种废弃混凝土制备再生砂的系统装置 |
| CN111847984A (zh) * | 2020-07-29 | 2020-10-30 | 宿州典跃新型建筑材料有限公司 | 一种室外耐候型磨石树脂地面及施工工艺 |
| CN215029465U (zh) * | 2021-01-26 | 2021-12-07 | 云南科斯特机械设备有限公司 | 一种新型单段重型锤式破碎机 |
| CN214974760U (zh) * | 2021-04-21 | 2021-12-03 | 辽宁东正商品检验服务有限公司 | 一种用于铁矿石粉碎的锤式破碎机 |
Non-Patent Citations (1)
| Title |
|---|
| 高月辉,战忠秋主编: "《自动化生产线安装与调试》", 天津科学技术出版社, pages: 12 - 13 * |
Cited By (2)
| Publication number | Priority date | Publication date | Assignee | Title |
|---|---|---|---|---|
| CN117091378A (zh) * | 2023-10-17 | 2023-11-21 | 河南晶研智造科技有限公司 | 一种超细金刚石微粉用分散干燥装置及其操作方法 |
| CN117091378B (zh) * | 2023-10-17 | 2024-01-05 | 河南晶研智造科技有限公司 | 一种超细金刚石微粉用分散干燥装置及其操作方法 |
Similar Documents
| Publication | Publication Date | Title |
|---|---|---|
| CN205288547U (zh) | 一种陶瓷生产用高寿命粉碎机 | |
| CN108970680A (zh) | 一种建筑幕墙玻璃回收用多级粉碎装置 | |
| CN109046666B (zh) | 一种真石漆涂料生产工艺 | |
| CN114632587A (zh) | 一种室外耐候型磨石树脂地面及其加工装置、施工工艺 | |
| CN211755476U (zh) | 一种磨盘式砂石骨料整形装置 | |
| CN113458960A (zh) | 一种环形工件加工用卧式磨砂机 | |
| US6070817A (en) | Pulverizer | |
| CN111450942B (zh) | 一种石灰石干磨制粉加工工艺 | |
| CN102728435B (zh) | 一种采用高强度岩石制砂的方法 | |
| CN216704553U (zh) | 一种建筑工程制砂装置 | |
| CN112090511A (zh) | 一种高效节能砂石同出成套装置 | |
| CN207709137U (zh) | 一种新型立轴冲击式制砂机 | |
| CN217910825U (zh) | 一种用于精品机制砂用破碎装置 | |
| CN216538664U (zh) | 一种高破碎能力的砂石用粉碎制砂设备 | |
| CN216368326U (zh) | 一种具有筛分功能的制砂装置 | |
| CN203862324U (zh) | 制砂机 | |
| CN215612178U (zh) | 一种沥青混凝土生产用破碎装置 | |
| CN220573657U (zh) | 一种出沙粒度可调式碎石制沙机 | |
| CN108525786A (zh) | 具有除尘功能的环保型磨矿装置 | |
| CN2654279Y (zh) | 一种人造卵石成型机 | |
| CN218308411U (zh) | 一种砂石研磨装置 | |
| CN220197125U (zh) | 一种金刚砂地坪磨削装置 | |
| CN114405593B (zh) | 一种新型节能磨砂机 | |
| CN207605805U (zh) | 一种高效高产能转子 | |
| CN205462666U (zh) | 辊切磨碎机送料及下料组件 |
Legal Events
| Date | Code | Title | Description |
|---|---|---|---|
| PB01 | Publication | ||
| PB01 | Publication | ||
| SE01 | Entry into force of request for substantive examination | ||
| SE01 | Entry into force of request for substantive examination | ||
| RJ01 | Rejection of invention patent application after publication |
Application publication date: 20220617 |
|
| RJ01 | Rejection of invention patent application after publication |
