CN114615816B - 板材曝光设备 - Google Patents
板材曝光设备 Download PDFInfo
- Publication number
- CN114615816B CN114615816B CN202210377261.XA CN202210377261A CN114615816B CN 114615816 B CN114615816 B CN 114615816B CN 202210377261 A CN202210377261 A CN 202210377261A CN 114615816 B CN114615816 B CN 114615816B
- Authority
- CN
- China
- Prior art keywords
- assembly
- plate
- conveying
- magnetic wheel
- module
- Prior art date
- Legal status (The legal status is an assumption and is not a legal conclusion. Google has not performed a legal analysis and makes no representation as to the accuracy of the status listed.)
- Active
Links
- 230000007246 mechanism Effects 0.000 claims abstract description 84
- 238000012546 transfer Methods 0.000 claims abstract description 54
- 230000007306 turnover Effects 0.000 claims abstract description 28
- 239000000463 material Substances 0.000 claims description 60
- 230000005540 biological transmission Effects 0.000 claims description 33
- 230000009471 action Effects 0.000 claims description 20
- 230000033001 locomotion Effects 0.000 claims description 19
- 230000000903 blocking effect Effects 0.000 claims description 13
- 238000004140 cleaning Methods 0.000 claims description 3
- 239000000428 dust Substances 0.000 description 35
- 238000010586 diagram Methods 0.000 description 12
- 238000000034 method Methods 0.000 description 9
- 230000008569 process Effects 0.000 description 7
- 230000008275 binding mechanism Effects 0.000 description 4
- 230000002950 deficient Effects 0.000 description 4
- 239000000969 carrier Substances 0.000 description 3
- 238000013459 approach Methods 0.000 description 2
- 230000006835 compression Effects 0.000 description 2
- 238000007906 compression Methods 0.000 description 2
- 230000000712 assembly Effects 0.000 description 1
- 238000000429 assembly Methods 0.000 description 1
- 230000009286 beneficial effect Effects 0.000 description 1
- 230000000694 effects Effects 0.000 description 1
- 230000017525 heat dissipation Effects 0.000 description 1
- 239000012535 impurity Substances 0.000 description 1
- 238000009434 installation Methods 0.000 description 1
- 238000012986 modification Methods 0.000 description 1
- 230000004048 modification Effects 0.000 description 1
- 230000000149 penetrating effect Effects 0.000 description 1
- 238000012545 processing Methods 0.000 description 1
Images
Classifications
-
- H—ELECTRICITY
- H05—ELECTRIC TECHNIQUES NOT OTHERWISE PROVIDED FOR
- H05K—PRINTED CIRCUITS; CASINGS OR CONSTRUCTIONAL DETAILS OF ELECTRIC APPARATUS; MANUFACTURE OF ASSEMBLAGES OF ELECTRICAL COMPONENTS
- H05K3/00—Apparatus or processes for manufacturing printed circuits
- H05K3/02—Apparatus or processes for manufacturing printed circuits in which the conductive material is applied to the surface of the insulating support and is thereafter removed from such areas of the surface which are not intended for current conducting or shielding
- H05K3/06—Apparatus or processes for manufacturing printed circuits in which the conductive material is applied to the surface of the insulating support and is thereafter removed from such areas of the surface which are not intended for current conducting or shielding the conductive material being removed chemically or electrolytically, e.g. by photo-etch process
-
- G—PHYSICS
- G03—PHOTOGRAPHY; CINEMATOGRAPHY; ANALOGOUS TECHNIQUES USING WAVES OTHER THAN OPTICAL WAVES; ELECTROGRAPHY; HOLOGRAPHY
- G03F—PHOTOMECHANICAL PRODUCTION OF TEXTURED OR PATTERNED SURFACES, e.g. FOR PRINTING, FOR PROCESSING OF SEMICONDUCTOR DEVICES; MATERIALS THEREFOR; ORIGINALS THEREFOR; APPARATUS SPECIALLY ADAPTED THEREFOR
- G03F7/00—Photomechanical, e.g. photolithographic, production of textured or patterned surfaces, e.g. printing surfaces; Materials therefor, e.g. comprising photoresists; Apparatus specially adapted therefor
- G03F7/20—Exposure; Apparatus therefor
-
- H—ELECTRICITY
- H05—ELECTRIC TECHNIQUES NOT OTHERWISE PROVIDED FOR
- H05K—PRINTED CIRCUITS; CASINGS OR CONSTRUCTIONAL DETAILS OF ELECTRIC APPARATUS; MANUFACTURE OF ASSEMBLAGES OF ELECTRICAL COMPONENTS
- H05K3/00—Apparatus or processes for manufacturing printed circuits
- H05K3/02—Apparatus or processes for manufacturing printed circuits in which the conductive material is applied to the surface of the insulating support and is thereafter removed from such areas of the surface which are not intended for current conducting or shielding
- H05K3/06—Apparatus or processes for manufacturing printed circuits in which the conductive material is applied to the surface of the insulating support and is thereafter removed from such areas of the surface which are not intended for current conducting or shielding the conductive material being removed chemically or electrolytically, e.g. by photo-etch process
- H05K3/068—Apparatus for etching printed circuits
Landscapes
- Engineering & Computer Science (AREA)
- Manufacturing & Machinery (AREA)
- Microelectronics & Electronic Packaging (AREA)
- Physics & Mathematics (AREA)
- General Physics & Mathematics (AREA)
- Sheets, Magazines, And Separation Thereof (AREA)
- Exposure And Positioning Against Photoresist Photosensitive Materials (AREA)
Abstract
本发明提供一种板材曝光设备,包括上料机构、第一曝光机、翻转机构用于将完成第一面曝光后的所述板材进行翻转、第二曝光机、移载机构用于对所述板材进行拾取并传送和下料机构;翻转机构包括第一载台、第一驱动组件、第一传送层、第二传送层和磁力轮组件,第一传送层与第二传送层在第一驱动组件的驱动力下跟随第一载台进行翻转运动,磁力轮组件连接第一传送层或第二传送层,第一传送层与第二传送层在磁力轮组件的作用下分别对板材进行传送;该设备不仅降低了驱动板材翻转的第一驱动组件的驱动压力且降低了翻转机构的翻转成本。
Description
技术领域
本发明涉及一种板材曝光领域,尤其涉及板材曝光设备。
背景技术
板材曝光是板材加工的重要工艺之一,比如:PCB(Printed Circuit Board,印刷电路板)是各个电子元器件的重要载体,PCB板的两面需要分别进行曝光。
基于需要对PCB板的两面分别进行曝光,因此在完成板材的一面曝光后,需要利用翻转机构将板材进行翻转,以对其另一面进行曝光。
一般的,需要将用于传送板材的上下方传送装置的驱动装置一起进行翻转,大大增加翻转机构的驱动装置的驱动压力。
发明内容
有鉴于此,本发明提供板材曝光设备,该设备使得驱动第一传送层或第二传送层传送的磁力轮组件无需跟随板材一起进行翻转,大大降低第一驱动组件的驱动压力。
为解决上述技术问题,本发明采用以下技术方案:
根据本发明实施例的板材曝光设备,包括:
上料机构,其用于将板材进行上料;
第一曝光机,其用于对所述板材的第一面进行曝光操作;
翻转机构,其用于将完成第一面曝光后的所述板材进行翻转;
第二曝光机,其用于对翻转后的所述板材的第二面进行曝光;
移载机构,其用于对所述板材进行拾取并传送,以使得所述板材在所述上料机构、第一曝光机之间、翻转机构和第二曝光机之间进行转移;
下料机构,其用于将完成曝光操作的所述板材进行下料;其中,
所述翻转机构包括第一载台、第一驱动组件、第一传送层、第二传送层和磁力轮组件,所述第一传送层与第二传送层活动安装于所述第一载台上,并用于传送所述板材,所述第一载台安装于所述第一驱动组件上,所述第一传送层与第二传送层在所述第一驱动组件的驱动力下跟随所述第一载台进行翻转运动,所述磁力轮组件连接所述第一传送层或第二传送层,所述第一传送层与第二传送层在所述磁力轮组件的作用下分别对所述板材进行传送。
优选地,所述磁力轮组件包括:
第一磁力轮;
第二磁力轮,其与所述第一磁力轮均固定安装于所述第一载台的一侧并分别连接所述第二传送层与第一传送层,且所述第二磁力轮与第一磁力轮呈中心对称;
第二驱动组件;
第三磁力轮,其安装于所述第二驱动组件上,并匹配所述第一磁力轮或第二磁力轮;
当所述第一传送层位于所述第二传送层的下方时,所述第三磁力轮匹配所述第一磁力轮,所述第一传送层在所述第二驱动组件的作用下跟随所述第一磁力轮进行转动;当所述第一载台进行翻转运动后,所述第三磁力轮匹配所述第二磁力轮,所述第二传送层在所述第二驱动组件的作用下跟随所述第二磁力轮进行转动。
优选地,所述第一传送层和第二传送层包括若干平行设置的第一滚轴,位于所述第一滚轴上的板材在所述第二驱动组件的驱动下进行传送;
所述翻转机构还包括压紧模组,所述压紧模组包括:
第一支撑架,其固定安装于所述第一载台上;
第三驱动组件,其固定安装于所述第一支撑架上;
压紧件,其连接所述第三驱动组件,所述压紧件在所述第三驱动组件的驱动力下穿过相邻的所述第一滚轴之间的间隙并抵接于所述板材表面。
优选地,还包括第一粘尘机构与第二粘尘机构,所述第一粘尘机构与第二粘尘机构分别安装于所述第一曝光机与第二曝光机的入口处,并用于对所述板材表面进行清洁。
优选地,所述下料机构包括:
载具,其用于容置完成曝光的所述板材;
第一传送模组,其与所述载具相邻设置,并用于将完成曝光的所述板材进行传送,所述第一传送模组包括第一挡板与输送组件,所述第一挡板位于所述输送组件的末端,以阻停所述输送组件上传送的曝光合格的板材;
第一搬运模组,其位于所述第一传送模组的上方并用于将第一传送模组上的所述板材拾取并移至所述载具上;
阻停模组,其安装于接近所述第一挡板的所述输送组件上,并用于阻停所述输送组件上传送的曝光不合格的板材,以使得曝光不合格的板材移至所述载具上后与曝光合格的板材错位堆叠。
优选地,所述输送组件包括第二载台、第四驱动组件和辊轮,所述第四驱动组件固定安装于所述第二载台上,所述辊轮连接所述第四驱动组件,所述板材位于放置于所述辊轮上,所述板材在所述第四驱动组件的驱动力下跟随所述辊轮进行运动。
优选地,所述阻停模组包括第五驱动组件、档杆和固定支架,所述固定支架与所述第二载台固定连接,所述第五驱动组件固定安装于所述固定支架上,所述档杆安装于所述第五驱动组件上,所述档杆位于相邻的所述辊轮之间,所述档杆在所述第五驱动组件的驱动力下沿竖直方向做往复运动,以使得所述档杆运动至所述辊轮的上方或下方。
优选地,所述载具包括一体成型的第一载面与第二载面,所述第一载面与第二载面形成用于放置所述板材的容置槽,且若干所述板材堆叠于所述第一载面上;其中,所述第一载面与第二载面之间的角度为钝角。
优选地,所述第一搬运模组包括第一拾取头组件与二轴搬运组件,所述第一拾取头组件安装于二轴搬运组件上,所述第一拾取头组件在所述二轴搬运组件的作用下将所述载具上的板材移至所述第一传送模组上。
优选地,所述二轴搬运组件包括旋转组件与伸缩组件,所述伸缩组件安装于所述旋转组件上,所述伸缩组件在所述旋转组件的作用下进行旋转运动,以使得所述第一拾取头组件进行旋转运动。
本发明的上述技术方案至少具有如下有益效果之一:
本发明公开的板材曝光设备,该设备利用磁力轮组件分别驱动翻转之前位于下方的传送层与翻转之后位于下方的传送层,磁力轮组件无需跟随第一传送层与第二传送层一起进行翻转,且用于驱动第一传送层与第二传送层的驱动只需要一个,不仅降低了驱动板材翻转的第一驱动组件的驱动压力且降低了翻转机构的翻转成本。
附图说明
图1为本发明实施例提供的板材曝光设备的整体结构示意图;
图2为本发明实施例提供的板材曝光设备中翻转机构的结构示意图;
图3为图2中A处的放大图;
图4为本发明实施例提供的板材曝光设备中的第三磁力轮与第二驱动组件的结构示意图;
图5为本发明实施例提供的板材曝光设备中压紧模组的结构示意图;
图6为本发明实施例提供的板材曝光设备中第一粘尘机构或第二粘尘机构的结构示意图;
图7为本发明实施例提供的板材曝光设备中下料机构的结构示意图;
图8为本发明实施例提供的板材曝光设备中的合格板材与不合格板材交错堆叠的结构示意图;
图9为本发明实施例提供的板材曝光设备中阻停模组的结构示意图;
图10为本发明实施例提供的板材曝光设备中载具的结构示意图;
图11为本发明实施例提供的板材曝光设备中的第一搬运模组的结构示意图;
图12为本发明实施例提供的板材曝光设备中的第一搬运模组的具体结构示意图;
图13为本发明实施例提供的板材曝光设备中的移载机构的结构示意图;
图14为本发明实施例提供的板材曝光设备中第二传送模组与定位模组的结构示意图;
图15为本发明实施例提供的板材曝光设备中定位模组的具体结构示意图;
图16为本发明实施例提供的板材曝光设备中第三框体的结构示意图;
图17为图16中B处的放大图。
附图标记:
10、上料机构;20、第一粘尘机构;210、第一粘尘棍;220、第二粘尘棍;
30、移载机构;m、接收板;31、第二传送模组;311、第三载台;312、第二滚轴;313、第二挡板;32、第二搬运模组;321、第一方向组件;322、第二方向组件;323、第二拾取头组件;3231、第四支撑架;3232、吸头;324、第四载台;33、定位模组;331、第十驱动组件;332、第五载台;333、传送带;334、固定件;335、移动板;3351、限位齿;
40、第一曝光机;
50、翻转机构;51、第一载台;52、第一传送层;521、第一滚轴;53、第二传送层;54、第二驱动组件;55、第一驱动组件;56、压紧模组;561、第一支撑架;562、第三驱动组件;563、压紧件;5631、第二支撑架;5632、压头;57、限位模组;571、第三支撑架;572、第六驱动组件;573、限位杆;59a、第一磁力轮;59b、第二磁力轮;59c、第三磁力轮;
60、第二粘尘机构;70、第二曝光机;
80、下料机构;b、板材;b1、合格板材;b2、不合格板材;
81、载具;811、第一载面;812、第二载面;82、第一传送模组;821、第二载台;822、第四驱动组件;823、第一挡板;824、辊轮;
83、第一搬运模组;831、伸缩组件;8311、第八驱动组件;8312、第二框体;8313、滑块;8314、滑轨;832、旋转组件;8321、第七驱动组件;8322、第一框体;8323、旋转轴;833、第一拾取头组件;86、阻停模组;861、第五驱动组件;862、固定支架;863、档杆;90、第三框体;910、卡槽;920、卡板。
具体实施方式
为使本发明实施例的目的、技术方案和优点更加清楚,下面将结合本发明实施例的附图,对本发明实施例的技术方案进行清楚、完整地描述。显然,所描述的实施例是本发明的一部分实施例,而不是全部的实施例。基于所描述的本发明的实施例,本领域普通技术人员所获得的所有其他实施例,都属于本发明保护的范围。
下面首先结合附图具体描述根据本发明实施例的板材曝光设备。
具体的,如图1和图2所示,本发明实施例提供的一种板材曝光设备,包括上料机构10、第一曝光机40、翻转机构50、第二曝光机70、移载机构30和下料机构80,其中,上料机构10用于将板材进行上料;第一曝光机40用于对板材的第一面进行曝光操作;翻转机构50用于将完成第一面曝光后的板材进行翻转;第二曝光机70用于对翻转后的板材的第二面进行曝光;移载机构30用于将上料后的板材进行拾取并移至第一曝光机40上或者将完成翻转后的板材拾取并移至第二曝光机70上;下料机构80用于将完成曝光操作的板材进行下料;其中,翻转机构50包括第一载台51、第一驱动组件55、第一传送层52、第二传送层53和磁力轮组件,第一传送层52与第二传送层53活动安装于第一载台51上,并用于传送板材,第一载台51安装于第一驱动组件55上,第一传送层52与第二传送层53在第一驱动组件55的驱动力下跟随第一载台51进行翻转运动,磁力轮组件连接第一传送层52或第二传送层53,第一传送层52与第二传送层53在磁力轮组件的作用下分别对板材进行传送。第一驱动组件55优选为旋转电机驱动组件,当然并不仅限于此。
也就是说,上料机构10将板材进行上料后,利用移载机构30将上料后的板材移至第一曝光机40上,以使得第一曝光机40对板材的第一面进行曝光。移载机构30将完成第一面曝光的板材从第一曝光机40上移至翻转机构50上,以使得翻转机构50将板材进行翻转,移载机构30将翻转后的板材移至第二曝光机70上,以对板材的第二面进行曝光。
移载机构30可以是贯穿上料机构10、第一曝光机40、翻转机构50、第二曝光机70和下料机构80;也可以是几个独立的移载机构30,本实施例不做限定。
具体的,第一载台51、第一传送层52和第二传送层53在第一驱动组件55的驱动力下进行翻转运动,而用于驱动第一传送层52或第二传送层53进行传送的磁力轮组件无需跟随其一起进行翻转运动,大大降低了第一驱动组件55的驱动要求并提高了翻转机构50的翻转效率。
在一实施例中,如图3和图4所示,磁力轮组件包括第一磁力轮59a、第二磁力轮59b、第三磁力轮59c和第二驱动组件54,第二磁力轮59b与第一磁力轮59a均固定安装于第一载台51的一侧并分别连接第二传送层53与第一传送层52,且第二磁力轮59b与第一磁力轮59a呈中心对称;第三磁力轮59c安装于第二驱动组件54上,并匹配第一磁力轮59a或第二磁力轮59b;当第一传送层52位于第二传送层53的下方时,第三磁力轮59c匹配第一磁力轮59a,第一传送层52在第二驱动组件54的作用下跟随第一磁力轮59a进行转动;当第一载台51进行翻转运动后,第三磁力轮59c匹配第二磁力轮59b,第二传送层53在第二驱动组件54的作用下跟随第二磁力轮59b进行转动。第二驱动组件54优选为旋转电机驱动组件,当然并不仅限于此。
也就是说,第二驱动组件54上安装的第三磁力轮59c匹配位于下方的第一传送层52或第二传送层53。板材在进行翻转运动的整个过程中,第三磁力轮59c从先匹配第一磁力轮59a后再匹配第二磁力轮59b,或者从先匹配第二磁力轮59b后再匹配第一磁力轮59a。利用第二驱动组件54与第三磁力轮59c不仅避免用于驱动第一传送层52或第二传送层53的驱动组件跟随一起进行翻转且用于驱动第一传送层52或第二传送层53的驱动组件只需要一个,即不仅提高了翻转机构的翻转效率且降低了翻转成本。
在一实施例中,如图2所示,第一传送层52和第二传送层53包括若干平行设置的第一滚轴521,位于第一滚轴521上的板材在第二驱动组件54的驱动下进行传送。
进一步的,第一滚轴521上设有若干滚轮,滚轮上设有弹性层,弹性层用于增加板材与滚轮之间的摩擦力,一方面该增加的摩擦力降低板材在翻转的过程中移动的风险;另一方面,当第一滚轴521停止转动时位于其上的板材具有一定的惯性,该增加的摩擦力可减小该惯性对板材的移动距离。
在一实施例中,如图5所示,压紧模组56包括第一支撑架561、第三驱动组件562和压紧件563,第一支撑架561固定安装于第一载台51上;第三驱动组件562固定安装于第一支撑架561上;压紧件563连接第三驱动组件562,压紧件563在第三驱动组件562的驱动力下穿过相邻的第一滚轴521之间的间隙并抵接于板材表面。
也就是说,在板材翻转之前压紧模组56位于第一滚轴521的上方,当板材进行翻转时压紧件563对板材的位置进行固定,以避免其在翻转的过程中发生位置移动甚至掉落。
在一实施例中,如图2所示,两个压紧模组56分别安装于第一载台51的两侧并分别位于第一传送层52与第二传送层53的上方;两个压紧件563分别在第三驱动组件562的驱动力下穿过相邻的第一滚轴521之间的间隙,并分别抵接于板材的正反面上。
也就是说,在第一滚轴521的上方与下方均设有压紧模组56,在板材翻转过程中通上下两侧同时对板材的位置进行固定,进一步提高板材翻转过程中的位置稳定性。
作为可替换的,压紧模组56安装于第一载台51的一侧并位于第一传送层52或第二传送层53的上方,压紧件563在第三驱动组件562的驱动力下穿过相邻的第一滚轴521之间的间隙抵接于板材的一侧表面,并使得板材的另一侧表面抵接于第二传送层53或第一传送层52上。
也就是说,只在第一滚轴521的上方或下方设有压紧模组56,压紧件563将板材抵压在第一滚轴521上,以固定翻转过程中板材的位置。本实施例中的一个压紧模组56可降低第一驱动组件55的驱动压力,但其固定板材的位置稳定性低于上述实施例。
具体的,压紧件563包括第二支撑架5631与若干压头5632,若干压头5632固定安装于第二支撑架5631上,若干压头5632在第三驱动组件562的驱动力下均匀盖压于板材表面。
也就是说,通过将若干压头5632均匀于板材表面,使得板材均匀受力,提高固定板材位置的稳定性。压头5632的末端为弹性层,避免其与板材接触时对板材造成损伤。
在一实施例中,如图2所示,该翻转机构还包括限位模组57,限位模组57用于从板材的侧边对其进行位置限定。
也就是说,压紧模组56从板材的上下方对其进行位置固定,限位模组57从板材的左右侧进一步对其进行固定,以提高板材在翻转过程中位置的固定性与稳定性。
进一步的,限位模组57包括第六驱动组件572、限位杆573和第三支撑架571,第三支撑架571与第一载台51固定连接,限位杆573安装于第六驱动组件572上,第六驱动组件572固定安装于第三支撑架571上;
当压紧模组56抵接于板材表面后,限位杆573在第六驱动组件572的驱动力下穿过相邻的第一滚轴521之间的间隙,以使得板材位于两个限位杆573之间。
也就是说,两个限位杆573穿过第一滚轴521之间的间隙后置于板材的两侧边,以限定板材在其传送方向上的位置。
在一实施例中,如图1和图6所示,还包括第一粘尘机构20与第二粘尘机构60,第一粘尘机构20与第二粘尘机构60分别安装于第一曝光机40与第二曝光机70的入口处,并用于对板材表面进行清洁。
也就是说,在对板材进行曝光之前先利用第一粘尘机构20与第二粘尘机构60对板材表面进行清洁处理,以提高板材的曝光质量。
进一步的,第一粘尘机构20与第二粘尘机构60包括第一粘尘组件与第二粘尘组件,第一粘尘组件包括第一升降粘尘驱动与第一粘尘棍210,第二粘尘组件包括第二升降粘尘驱动与第二粘尘辊,第一粘尘棍210与第二粘尘辊分别在第一升降粘尘驱动与第二升降粘尘驱动的驱动力下进行升降运动。当板材移至第一粘尘棍210与第二粘尘棍220之间时,第一粘尘棍210与第二粘尘棍220分别在第一升降粘尘驱动与第二升降粘尘驱动的驱动力下相对运动,并抵接于板材的表面,以将板材表面的异物进行清洁。第一粘尘棍210与第二粘尘棍220表面贴附有用于转移灰尘杂质的集尘纸。
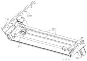
接下来,本发明实施例具体对下料机构进行详述,如图7至图12所示。
在现有技术中,一般利用第一搬运模组将传送模组上的完成曝光的合格板材与不合格板材进行分别下料且放置于不同的载具内,一方面增加载具的数量则增加设备的占用空间,另一方面位于不同位置的载具增加第一搬运模组搬运板材的行程。
基于上述技术问题,本发明实施例提供利用下料机构80解决上述技术问题,该下料机构通过将阻停模组86安装于输送组件上,分别利用阻停模组86与阻第一挡板823将不合格板材b2与合格板材b1阻停于输送组件上的不同位置,以使得第一搬运模组83在将不同位置的板材b移至载具81上后呈现错位堆叠,便于将不合格板材b2从载具81上堆叠的板材b中取出;且本发明实施例只利用了一个载具81即完成板材的下料,不仅减小设备的占用空间,且降低了第一搬运模组83的搬运要求,进一步提高下料装置的下料效率。
具体的,如图7所示,下料机构80包括载具81、第一传送模组82、第一搬运模组83和阻停模组86,载具81用于容置完成曝光的板材b;第一传送模组82与载具81相邻设置并用于将完成曝光的板材b进行传送,第一传送模组82包括第一挡板823与输送组件,第一挡板823位于输送组件的末端,以阻停输送组件上传送的曝光合格的板材;第一搬运模组83位于第一传送模组82的上方并用于将第一传送模组82上的板材拾取并移至载具81上;阻停模组86安装于接近第一挡板823的输送组件上,并用于阻停输送组件上传送的曝光不合格的板材,以使得曝光不合格的板材移至载具81上后与曝光合格的板材错位堆叠。
也就是说,第一搬运模组83位于输送组件上方,第一搬运模组83每次从输送组件上的同一位置处拾取板材b,当输送组件上的板材b出现位置差异时,则放置于载具81上的板材b将出现位置错位即图11中所示的错位堆叠的合格板材b1与不合格板材b2。
应当理解为:利用阻挡模组将位于输送组件的板材阻停后,与利用第一挡板823将输送组件上的板材阻停后的位置不同,两种方式阻停的板材之间的差距越大则位于载具81上的板材之间错位的距离越大,该错位的距离可根据具体情况进行设定,本发明实施例不做限定。
需要说明的是:板材通过曝光后存在不合格品板材,但是不合格板材占总的板材的比例极低,因此载具81上错位堆叠的合格板材与不合格板材容易进行区分。
在一实施例中,如图7所示,输送组件包括第二载台821、第四驱动组件822和辊轮824,第四驱动组件822固定安装于第二载台821上,辊轮824连接第四驱动组件822,板材位于放置于辊轮824上,板材在第四驱动组件822的驱动力下跟随辊轮824进行运动。第四驱动组件822优选为电机驱动,当然并不仅限于此。
在一实施例中,如图9所示,阻停模组86包括第五驱动组件861、档杆863和固定支架862,固定支架862与第二载台821固定连接,第五驱动组件861固定安装于固定支架862上,档杆863安装于第五驱动组件861上,档杆863位于相邻的辊轮824之间,档杆863在第五驱动组件861的驱动力下沿竖直方向做往复运动,以使得档杆863运动至辊轮824的上方或下方。第五驱动组件861优选为气缸驱动,当然并不仅限于此。
也就是说,固定支架862位于辊轮824下方并与第二载台821固定连接,档杆863在第五驱动组件861的驱动力下穿过相邻辊轮824之间的间隙运动至辊轮824的上方,以阻挡辊轮824上输送的板材。
阻停模组86还包括传感器,当曝光机检测到不合格板材时,曝光机发送信号给传感器,传感器基于该信号利用第五驱动组件861驱动档杆863向上运动以阻挡不合格板材,以使得搬运至载具81上的不合格板材位置区别于合格板材。
在一实施例中,如图10所示,载具81包括一体成型的第一载面811与第二载面812,第一载面811与第二载面812形成用于放置板材的容置槽,且若干板材堆叠于第一载面811上;其中,第一载面811与第二载面812之间的角度为钝角。
也就是说,当若干板材放置于容置槽内后第一载面811受力,并使得若干板材与水平方向呈一定倾斜角度。该倾斜角度范围优选为小于70°且大于45°,该角度范围使得载具81的第一载面811与第二载面812受力均匀且避免载具81承载大量板材时位于底端的板材出现受损情况。
进一步的,第一载面811与第二载面812之间呈角度a,a的角度范围为大于90°且小于120°。
也就是说,设有该角度范围的载具81使得第一载面811与第二载具81承载板材的压力较为均匀。反过来说,当该角度大于120°时,第一载面811将承载较大的压力,降低该载具81容置大批量板材时的稳定性。
在一实施例中,如图11所示,第一搬运模组83包括第一拾取头组件833与二轴搬运组件,第一拾取头组件833安装于二轴搬运组件上,第一拾取头组件833在二轴搬运组件的作用下将载具81上的板材移至第一传送模组82上。
也就是说,第一拾取头组件833在二轴搬运组件的作用下将位于输送组件上的板材移至具有一定倾斜角度的第一载面811上进行堆叠。
一般的,在对板材进行搬运的过程中利用四轴机械手进行移载,而四轴机械手成本较大。本发明实施例利用二轴搬运组件即可完成板材的搬运,在保证搬运效率的同时降低搬运成本。
进一步的,如图11所示,二轴搬运组件包括旋转组件832与伸缩组件831,伸缩组件831安装于旋转组件832上,伸缩组件831在旋转组件832的作用下进行旋转运动,以使得第一拾取头组件833进行旋转运动。
也就是说,旋转组件832固定不动,伸缩组件831在旋转组件832的作用下在竖直方向上沿如图11所示的e方向做往复旋转运动,第一拾取头组件833跟随伸缩组件831做旋转运动,以使得第一拾取头组件833将第一传送模组82上的板材移至载具81上。
进一步的,如图12所示,旋转组件832包括第一框体8322、第七驱动组件8321和旋转轴8323,第七驱动组件8321固定安装于第一框体8322上,旋转轴8323安装于第七驱动组件8321上,旋转轴8323与伸缩组件831固定连接,伸缩组件831在第七驱动组件8321的驱动力下绕旋转轴8323做旋转运动。第七驱动组件8321优选为旋转电机,当然并不仅限于此。
也就是说,第一拾取头组件833在第七驱动组件8321的驱动力下沿如图11所示的e方向运动,以将辊轮824上的板材移至载具81上。
进一步的,伸缩组件831包括第八驱动组件8311、第二框体8312、滑轨8314和滑块8313,第八驱动组件8311与滑轨8314固定安装于第二框体8312上,滑轨8314与滑块8313滑动连接,滑块8313与第一拾取头组件833固定连接,第一拾取头组件833在第八驱动组件8311的驱动力下沿滑轨8314方向跟随滑块8313做往复运动,以接近或远离板材。第八驱动组件8311优选为直线电机,当然并不仅限于此。
也就是说,第一拾取头组件833在旋转组件832的作用下运动至接近辊轮824上方的板材上时,第一拾取头组件833在第八驱动组件8311的作用下接触辊轮824上的板材并将其拾取。当第一拾取头组件833拾取的板材向载具81处运动时,第一拾取头组件833在第八驱动组件8311的作用下做伸长运动,以使得第一拾取头组件833拾取的板材能够放置于载具81内。
本发明实施例中的二轴搬运组件结构简单,二轴搬运组件配合第一传送模组82与载具81,在保证下料效率的同时降低了下料成本;另外,利用具有倾斜角度的载具81使其能够容置大批量的板材且不易发生倾倒。、
上料机构10与下料机构80结构类似,区别在于上料机构10不包括阻停模组86,其他部分结构相同。
接下来,本发明实施例对移载模组进行详细说明,如图13至图15所示。
本发明实施例中的移载机构包括第二传送模组31、第二搬运模组32和定位模组33,第二传送模组31用于对板材进行传送;第二搬运模组32用于将第二传送模组31上传送的板材进行拾取并传送;定位模组33安装于第二传送模组31上,并用于对第二传送模组31上的板材进行位置定位,以使得第二搬运模组32拾取不同板材上的同一位置。
也就是说,不同板材在第二传送模组31的传送下移至第二搬运模组32对应位置时,不同板材相对于第二搬运模组32的位置不相同,利用定位模组33将第二传送模组31上的板材沿垂直于板材运动方向进行移动,以使得第二搬运模组32拾取不同板材上的同一位置。
在一优选实施例中,第二传送模组31包括第二挡板313,第二挡板313安装于第二传送模组31的末端。也就是说,板材在第二挡板313的阻挡下停止于第二传送模组31上,停止运动的板材在定位模组33的作用下移至第二传送模组31上的预设位置,该预设位置可根据需求进行设定。预设位置优选为板材一侧边接触第二传送模组31的边缘,提高板材位置移动的精度。
在一实施例中,如图14所示,第二传送模组31包括第三载台311、第九驱动组件和若干第二滚轴312,第九驱动组件固定安装于第三载台311上,第二滚轴312的两端分别连接第三载台311,板材在第九驱动组件的驱动力下在第二滚轴312上进行传送。第九驱动组件优选为电机驱动,当然并不仅限于此。本发明实施例利用第二滚轴312进行传送,便于定位模组33的安装。
在一实施例中,如图13所示,第二搬运模组32包括第四载台324、第一方向组件321、第二方向组件322和第二拾取头组件323,第四载台324与第三载台311固定连接,第一方向组件321安装于第四载台324上,第二方向组件322安装于第一方向组件321上,第二拾取头组件323与第二方向组件322固定连接,第二拾取头组件323在第一方向组件321与第二方向组件322的作用下分别沿竖直方向与水平方向进行往复运动。
也就是说,当板材在定位模组33的作用下移至预设位置后,第二拾取头组件323移至板材的上方对其进行拾取,以将拾取的板材移至曝光机的接收板m上。
在一实施例中,包括两个第二搬运模组32与两个第二传送模组31,两个第二搬运模组32共用第一方向组件321,曝光机位于两个第二搬运模组32之间,接收板m位于两个第二传送模组31之间。也就是说,一个第二拾取头组件323拾取板材后在第一方向组件321的传送下将板材放置于接收板m上,待曝光机完成接收板m上的板材的曝光操作后,另一个第二拾取头组件323拾取接收板m上的板材并在第一方向组件321与第二方向组件322的作用下将板材放置于另一个第二传送模组31上。在另一个第二拾取头组件323拾取接收板m上完成曝光的板材同时一个第二拾取头组件323拾取第二传送模组31上的板材并向接收板m进行传送,即两个第二搬运模组32与第二传送模组31同时进行拾取传送操作,提高板材的传送效率,进一步提高板材的曝光效率。
进一步的,第二拾取头组件323包括第四支撑架3231与若干吸头3232,若干吸头3232固定安装于第四支撑架3231上,若干吸头3232在第一方向组件321与第二方向组件322的传送下均匀吸附于板材表面。根据板材的面积与重量设定吸头3232的数量,本实施例对吸头3232的数量不做限定。
进一步的,第四支撑架3231包括横杆与若干竖杆,若干竖杆可拆卸的安装于横杆上,若干吸头3232固定安装于竖杆上。相邻竖杆之间的距离基于板材的面积与重量可进行调节,即横杆与竖杆之间的相对位置可进行调节,以提高该第二拾取头组件323的适应性。
在一实施例中,如图14所示,定位模组33包括第五载台332、第十驱动组件331和拍板组件,第五载台332与第三载台311固定连接,第十驱动组件331固定安装于第五载台332上,拍板组件连接第十驱动组件331并用于将停止的板材进行位置移动,拍板组件在第十驱动组件331的驱动力下沿垂直于板材运动方向移动,以使得板材移至第二传送模组31上的预设位置处。第十驱动组件331优选为电机驱动,当然并不仅限于此。也就是说,拍板组件在第十驱动组件331的驱动力下将第二滚轴312上的板材推至预设位置。
进一步的,如图15所示,拍板组件包括传送带333、固定件334和移动板335,传送带333连接第十驱动组件331,固定件334与移动板335固定连接,固定件334固定连接于传送带333上,移动板335位于第二滚轴312的上方,移动板335在第十驱动组件331的驱动力下跟随传送带333沿垂直于板材传送方向进行运动,以使得移动板335将第二滚轴312上的板材推至预设位置。
也就是说,传送带333在第十驱动组件331的驱动力下进行传送,并带动固定件334进行移动,固定件334与移动板335固定连接,固定件334位于第二滚轴312的下方,移动板335位于第二滚轴312的上方。移动板335在第十驱动组件331的驱动力下将第二滚轴312上的板材推至预设位置。
进一步的,固定件334与移动板335之间通过可在相邻第二滚轴312之间的间隙内移动的连接杆进行连接,即连接杆的外径小于第二滚轴312之间的间隙,该拍板组件的结构简单且提高定位模组33的定位效率。
进一步的,如图15所示,移动板335上设有若干限位齿3351,限位齿3351位于相邻第二滚轴312之间间隙处。相邻限位齿3351之间的距离即相邻第二滚轴312间隙之间的距离,也就是说,移动板335在推板材移动的过程中,限位齿3351在相邻第二滚轴312之间的间隙内移动,设有若干限位齿3351的移动板335提高其移动精度与稳定性。
进一步的,相邻限位齿3351之间的凹槽的弧度匹配第二滚轴312的外形。也就是,移动板335下方的结构匹配若干第二滚轴312形成的结构,设有限位齿3351与凹槽的移动板335沿第二滚轴312的长度方向移动,保证移动板335的移动方向的一致性,进一步提高该移动板335的移动精度。
在一实施例中,如图16和图17所示,该曝光设备还包括第三框体90,翻转机构50安装于第三框体90上,第三框体90上设有卡槽910,卡槽910位于翻转机构50下方,卡槽910内卡接有可拆卸的卡板920。当翻转机构在进行翻转操作的过程中,卡板承载翻转机构上掉落的灰尘、小零件等。在第三框体90的底端安装有供电模组,一般利用罩体将供电模组进行覆盖,罩体结构不利用供电模组散热且不便于工作人员进行检修等操作。通过卡板920插入卡槽910的方式便于操作人员进行检修等操作且散热效果佳。
以上所述是本发明的优选实施方式,应当指出,对于本技术领域的普通技术人员来说,在不脱离本发明所述原理的前提下,还可以作出若干改进和润饰,这些改进和润饰也应视为本发明的保护范围。
Claims (10)
1.一种板材曝光设备,其特征在于,包括:
上料机构(10),其用于将板材进行上料;
第一曝光机(40),其用于对所述板材的第一面进行曝光操作;
翻转机构(50),其用于将完成第一面曝光后的所述板材进行翻转;
第二曝光机(70),其用于对翻转后的所述板材的第二面进行曝光;
移载机构(30),其用于对所述板材进行拾取并传送,以使得所述板材在所述上料机构(10)、第一曝光机(40)之间、翻转机构(50)和第二曝光机(70)之间进行转移;
下料机构(80),其用于将完成曝光操作的所述板材进行下料;其中,
所述翻转机构(50)包括第一载台(51)、第一驱动组件(55)、第一传送层(52)、第二传送层(53)和磁力轮组件,所述第一传送层(52)与第二传送层(53)活动安装于所述第一载台(51)上,并用于传送所述板材,所述第一载台(51)安装于所述第一驱动组件(55)上,所述第一传送层(52)与第二传送层(53)在所述第一驱动组件(55)的驱动力下跟随所述第一载台(51)进行翻转运动,所述磁力轮组件连接所述第一传送层(52)或第二传送层(53),所述第一传送层(52)与第二传送层(53)在所述磁力轮组件的作用下分别对所述板材进行传送。
2.如权利要求1所述的板材曝光设备,其特征在于,所述磁力轮组件包括:
第一磁力轮(59a);
第二磁力轮(59b),其与所述第一磁力轮(59a)均固定安装于所述第一载台(51)的一侧,所述第二磁力轮(59b)与第一磁力轮(59a)分别连接所述第二传送层(53)与第一传送层(52),且所述第二磁力轮(59b)与第一磁力轮(59a)呈中心对称;
第二驱动组件(54);
第三磁力轮(59c),其安装于所述第二驱动组件(54)上,并匹配所述第一磁力轮(59a)或第二磁力轮(59b);
当所述第一传送层(52)位于所述第二传送层(53)的下方时,所述第三磁力轮(59c)匹配所述第一磁力轮(59a),所述第一传送层(52)在所述第二驱动组件(54)的作用下跟随所述第一磁力轮(59a)进行转动;当所述第一载台(51)进行翻转运动后,所述第三磁力轮(59c)匹配所述第二磁力轮(59b),所述第二传送层(53)在所述第二驱动组件(54)的作用下跟随所述第二磁力轮(59b)进行转动。
3.如权利要求2所述的板材曝光设备,其特征在于,所述第一传送层(52)和第二传送层(53)包括若干平行设置的第一滚轴(521),位于所述第一滚轴(521)上的板材在所述第二驱动组件(54)的驱动下进行传送;
所述翻转机构(50)还包括压紧模组(56),所述压紧模组(56)包括:
第一支撑架(561),其固定安装于所述第一载台(51)上;
第三驱动组件(562),其固定安装于所述第一支撑架(561)上;
压紧件(563),其连接所述第三驱动组件(562),所述压紧件(563)在所述第三驱动组件(562)的驱动力下穿过相邻的所述第一滚轴(521)之间的间隙并抵接于所述板材表面。
4.如权利要求1所述的板材曝光设备,其特征在于,还包括第一粘尘机构(20)与第二粘尘机构(60),所述第一粘尘机构(20)与第二粘尘机构(60)分别安装于所述第一曝光机(40)与第二曝光机(70)的入口处,并用于对所述板材表面进行清洁。
5.如权利要求1所述的板材曝光设备,其特征在于,所述下料机构(80)包括:
载具(81),其用于容置完成曝光的所述板材;
第一传送模组(82),其与所述载具(81)相邻设置,并用于将完成曝光的所述板材进行传送,所述第一传送模组(82)包括第一挡板(823)与输送组件,所述第一挡板(823)位于所述输送组件的末端,以阻停所述输送组件上传送的曝光合格的板材;
第一搬运模组(83),其位于所述第一传送模组(82)的上方并用于将第一传送模组(82)上的所述板材拾取并移至所述载具(81)上;
阻停模组(86),其安装于接近所述第一挡板(823)的所述输送组件上,并用于阻停所述输送组件上传送的曝光不合格的板材,以使得曝光不合格的板材移至所述载具(81)上后与曝光合格的板材错位堆叠。
6.如权利要求5所述的板材曝光设备,其特征在于,所述输送组件包括第二载台(821)、第四驱动组件(822)和辊轮(824),所述第四驱动组件(822)固定安装于所述第二载台(821)上,所述辊轮(824)连接所述第四驱动组件(822),所述板材位于放置于所述辊轮(824)上,所述板材在所述第四驱动组件(822)的驱动力下跟随所述辊轮(824)进行运动。
7.如权利要求6所述的板材曝光设备,其特征在于,所述阻停模组(86)包括第五驱动组件(861)、档杆(863)和固定支架(862),所述固定支架(862)与所述第二载台(821)固定连接,所述第五驱动组件(861)固定安装于所述固定支架(862)上,所述档杆(863)安装于所述第五驱动组件(861)上,所述档杆(863)位于相邻的所述辊轮(824)之间,所述档杆(863)在所述第五驱动组件(861)的驱动力下沿竖直方向做往复运动,以使得所述档杆(863)运动至所述辊轮(824)的上方或下方。
8.如权利要求5所述的板材曝光设备,其特征在于所述载具(81)包括一体成型的第一载面(811)与第二载面(812),所述第一载面(811)与第二载面(812)形成用于放置所述板材的容置槽,且若干所述板材堆叠于所述第一载面(811)上;其中,所述第一载面(811)与第二载面(812)之间的角度为钝角。
9.如权利要求5所述的板材曝光设备,其特征在于,所述第一搬运模组(83)包括第一拾取头组件(833)与二轴搬运组件,所述第一拾取头组件(833)安装于二轴搬运组件上,所述第一拾取头组件(833)在所述二轴搬运组件的作用下将所述载具(81)上的板材移至所述第一传送模组(82)上。
10.如权利要求9所述的板材曝光设备,其特征在于,所述二轴搬运组件包括旋转组件(832)与伸缩组件(831),所述伸缩组件(831)安装于所述旋转组件(832)上,所述伸缩组件(831)在所述旋转组件(832)的作用下进行旋转运动,以使得所述第一拾取头组件(833)进行旋转运动。
Priority Applications (1)
| Application Number | Priority Date | Filing Date | Title |
|---|---|---|---|
| CN202210377261.XA CN114615816B (zh) | 2022-04-12 | 2022-04-12 | 板材曝光设备 |
Applications Claiming Priority (1)
| Application Number | Priority Date | Filing Date | Title |
|---|---|---|---|
| CN202210377261.XA CN114615816B (zh) | 2022-04-12 | 2022-04-12 | 板材曝光设备 |
Publications (2)
| Publication Number | Publication Date |
|---|---|
| CN114615816A CN114615816A (zh) | 2022-06-10 |
| CN114615816B true CN114615816B (zh) | 2022-12-23 |
Family
ID=81869570
Family Applications (1)
| Application Number | Title | Priority Date | Filing Date |
|---|---|---|---|
| CN202210377261.XA Active CN114615816B (zh) | 2022-04-12 | 2022-04-12 | 板材曝光设备 |
Country Status (1)
| Country | Link |
|---|---|
| CN (1) | CN114615816B (zh) |
Families Citing this family (2)
| Publication number | Priority date | Publication date | Assignee | Title |
|---|---|---|---|---|
| CN118004724B (zh) * | 2024-03-22 | 2024-11-05 | 苏州天准科技股份有限公司 | 一种自定位的流线载物站和板材双面曝光设备 |
| CN120922603A (zh) * | 2025-10-11 | 2025-11-11 | 苏州八零七智能科技有限公司 | 一种pcb搬运移栽对接曝光机上下料装置 |
Citations (6)
| Publication number | Priority date | Publication date | Assignee | Title |
|---|---|---|---|---|
| JP2008300389A (ja) * | 2007-05-29 | 2008-12-11 | Orc Mfg Co Ltd | 基板搬送装置 |
| JP2013007821A (ja) * | 2011-06-23 | 2013-01-10 | Dainippon Printing Co Ltd | パターン焼付方法及び装置 |
| CN106547174A (zh) * | 2016-12-19 | 2017-03-29 | 浙江欧视达科技有限公司 | 全自动双面曝光机 |
| KR20200125485A (ko) * | 2019-04-26 | 2020-11-04 | 가부시키가이샤 아도텟쿠 엔지니아린구 | 직접묘화식 노광 장치 |
| CN112822857A (zh) * | 2021-01-05 | 2021-05-18 | 合肥芯碁微电子装备股份有限公司 | 非接触磁力输送板件翻转设备及其控制方法 |
| CN113314445A (zh) * | 2021-07-28 | 2021-08-27 | 苏州天准科技股份有限公司 | Cob自动组装设备 |
-
2022
- 2022-04-12 CN CN202210377261.XA patent/CN114615816B/zh active Active
Patent Citations (6)
| Publication number | Priority date | Publication date | Assignee | Title |
|---|---|---|---|---|
| JP2008300389A (ja) * | 2007-05-29 | 2008-12-11 | Orc Mfg Co Ltd | 基板搬送装置 |
| JP2013007821A (ja) * | 2011-06-23 | 2013-01-10 | Dainippon Printing Co Ltd | パターン焼付方法及び装置 |
| CN106547174A (zh) * | 2016-12-19 | 2017-03-29 | 浙江欧视达科技有限公司 | 全自动双面曝光机 |
| KR20200125485A (ko) * | 2019-04-26 | 2020-11-04 | 가부시키가이샤 아도텟쿠 엔지니아린구 | 직접묘화식 노광 장치 |
| CN112822857A (zh) * | 2021-01-05 | 2021-05-18 | 合肥芯碁微电子装备股份有限公司 | 非接触磁力输送板件翻转设备及其控制方法 |
| CN113314445A (zh) * | 2021-07-28 | 2021-08-27 | 苏州天准科技股份有限公司 | Cob自动组装设备 |
Also Published As
| Publication number | Publication date |
|---|---|
| CN114615816A (zh) | 2022-06-10 |
Similar Documents
| Publication | Publication Date | Title |
|---|---|---|
| CN210171833U (zh) | 一种lcd屏全自动点胶设备 | |
| CN109178534B (zh) | 一种自动总装线生产线 | |
| CN114615816B (zh) | 板材曝光设备 | |
| CN219484584U (zh) | 一种双头芯片打标检测设备 | |
| CN116652395B (zh) | 一种ic芯片条带单台车自动上下料与高精度激光打标设备 | |
| CN115973549B (zh) | 一种智能穿戴检测流水线 | |
| CN112051449A (zh) | 一种检测装置及生产线 | |
| CN115373165A (zh) | 一种包边机 | |
| CN208133774U (zh) | 多层物料全自动贴装生产线 | |
| CN114772278B (zh) | 板材曝光设备 | |
| CN115069571B (zh) | 一种外观检测装置及检测分拣系统 | |
| CN218024192U (zh) | 一种玻璃下料收集装置 | |
| CN113182700B (zh) | 一种pcb板激光打码设备 | |
| CN215238592U (zh) | 一种pcb板激光打码设备 | |
| CN214824777U (zh) | 一种连线剥单机 | |
| CN211968829U (zh) | 一种移印自动化生产设备 | |
| CN221848991U (zh) | 激光打标除胶装置 | |
| CN116002153A (zh) | 编带机构及相应的在线模块包装转换机 | |
| CN116441191B (zh) | 一种自动扫码分料设备 | |
| CN219904976U (zh) | 扫描包装和打印贴标自动化设备 | |
| CN118175830A (zh) | 异形fpc供料装置和方法 | |
| CN216747464U (zh) | 一种电路板检测装置 | |
| CN219468841U (zh) | 全自动植板机 | |
| CN210480168U (zh) | 带夹隔纸功能的放板机 | |
| CN222873827U (zh) | 一种马达全自动性能机 |
Legal Events
| Date | Code | Title | Description |
|---|---|---|---|
| PB01 | Publication | ||
| PB01 | Publication | ||
| SE01 | Entry into force of request for substantive examination | ||
| SE01 | Entry into force of request for substantive examination | ||
| GR01 | Patent grant | ||
| GR01 | Patent grant |