CN114512938A - Stripping machine - Google Patents
Stripping machine Download PDFInfo
- Publication number
- CN114512938A CN114512938A CN202011287366.3A CN202011287366A CN114512938A CN 114512938 A CN114512938 A CN 114512938A CN 202011287366 A CN202011287366 A CN 202011287366A CN 114512938 A CN114512938 A CN 114512938A
- Authority
- CN
- China
- Prior art keywords
- wire
- groove
- longitudinal
- knife
- seat
- Prior art date
- Legal status (The legal status is an assumption and is not a legal conclusion. Google has not performed a legal analysis and makes no representation as to the accuracy of the status listed.)
- Withdrawn
Links
- 238000003825 pressing Methods 0.000 claims abstract description 35
- 238000005520 cutting process Methods 0.000 claims abstract description 33
- 238000003754 machining Methods 0.000 claims abstract description 21
- 239000000463 material Substances 0.000 claims description 6
- 238000002788 crimping Methods 0.000 abstract description 11
- 238000000034 method Methods 0.000 description 8
- 238000009413 insulation Methods 0.000 description 5
- 239000002184 metal Substances 0.000 description 5
- 230000005540 biological transmission Effects 0.000 description 2
- 238000005516 engineering process Methods 0.000 description 2
- 238000010438 heat treatment Methods 0.000 description 2
- 238000013021 overheating Methods 0.000 description 1
Images
Classifications
-
- H—ELECTRICITY
- H02—GENERATION; CONVERSION OR DISTRIBUTION OF ELECTRIC POWER
- H02G—INSTALLATION OF ELECTRIC CABLES OR LINES, OR OF COMBINED OPTICAL AND ELECTRIC CABLES OR LINES
- H02G1/00—Methods or apparatus specially adapted for installing, maintaining, repairing or dismantling electric cables or lines
- H02G1/12—Methods or apparatus specially adapted for installing, maintaining, repairing or dismantling electric cables or lines for removing insulation or armouring from cables, e.g. from the end thereof
- H02G1/1202—Methods or apparatus specially adapted for installing, maintaining, repairing or dismantling electric cables or lines for removing insulation or armouring from cables, e.g. from the end thereof by cutting and withdrawing insulation
- H02G1/1248—Machines
- H02G1/1251—Machines the cutting element not rotating about the wire or cable
- H02G1/1253—Machines the cutting element not rotating about the wire or cable making a transverse cut
- H02G1/1256—Machines the cutting element not rotating about the wire or cable making a transverse cut using wire or cable-clamping means
Landscapes
- Removal Of Insulation Or Armoring From Wires Or Cables (AREA)
Abstract
本申请提供一种剥线机台,包括有横向刀座、压线座、横向刀具、横向刀具致动器以及压线座致动器。横向刀座具有置线平台以及容刀部;置线平台上设置加工凹槽以及导线槽,加工凹槽中设有辅助线槽,辅助线槽的两端连接导线槽。容刀部邻接于置线平台,且容刀部具有刀孔,连通加工凹槽。压线座可移动地设置于置线平台上方,且压线座的底面设置压线凸部,对应于加工凹槽。横向刀具穿置于刀孔,且横向刀具的刀刃可移动于加工凹槽的底部上。横向刀具致动器连接于横向刀具,用以沿进刀路径推动横向刀具,使刀刃于加工凹槽的底面上移动。压线座致动器连接于压线座,用以于高度方向推动压线座,使压线凸部进入加工凹槽。
The present application provides a wire stripping machine, which includes a transverse tool holder, a wire crimping base, a transverse cutter, a transverse cutter actuator, and a wire crimping base actuator. The transverse tool seat has a wire setting platform and a tool accommodating part; the wire setting platform is provided with a processing groove and a wire groove, an auxiliary wire groove is arranged in the processing groove, and both ends of the auxiliary wire groove are connected with the wire groove. The knife accommodating part is adjacent to the wire setting platform, and the knife accommodating part has a knife hole, which is connected with the processing groove. The wire pressing seat is movably arranged above the wire setting platform, and the bottom surface of the wire pressing seat is provided with a wire pressing convex portion corresponding to the processing groove. The transverse cutter is passed through the tool hole, and the cutting edge of the transverse cutter can move on the bottom of the machining groove. The transverse cutter actuator is connected to the transverse cutter, and is used for pushing the transverse cutter along the feed path, so that the cutting edge moves on the bottom surface of the machining groove. The wire-pressing seat actuator is connected to the wire-pressing seat, and is used for pushing the wire-pressing seat in the height direction, so that the wire-pressing convex part enters the processing groove.
Description
技术领域technical field
本发明有关于电线的绝缘层局部剥除的技术,特别是关于一种剥线机台,用于剥除局部的绝缘层。The present invention relates to the technology of partial stripping of the insulation layer of electric wires, in particular to a wire stripping machine, which is used for stripping the partial insulation layer.
背景技术Background technique
在线灯等装置上,需要对电线的绝缘层进行局部剥除,使得电线上形成多个间隔排列的裸露区,以裸露出内部的金属芯。如此一来就可以在此电线上连续焊接多个光源(例如发光二极体、小型灯泡),形成长线状的线灯。On devices such as line lights, it is necessary to partially strip off the insulating layer of the wire, so that a plurality of exposed areas arranged at intervals are formed on the wire to expose the inner metal core. In this way, a plurality of light sources (such as light emitting diodes, small light bulbs) can be continuously welded on the wire to form a long linear line lamp.
现有的绝缘层剥除技术主要有两种。第一种方式是在对绝缘层环切一道缺口后,由缺口两侧向外推挤绝缘层,使得金属芯外露。此种方式实际上并没有移除绝缘层,而是将绝缘层向两侧推挤变形从而形成裸露区。但是此种方式在需要的裸露区数量多时,容易发生绝缘层滑动,而使得已经产生的裸露区又被覆盖;或是,厚度较大的绝缘层难以推挤产生裸露区;或是推挤过程使得金属芯严重变形。There are two main types of existing insulation stripping techniques. The first method is to push the insulating layer outwards from both sides of the notch after cutting a notch in the insulating layer, so that the metal core is exposed. This method does not actually remove the insulating layer, but pushes and deforms the insulating layer to both sides to form exposed areas. However, in this way, when the required number of exposed areas is large, the sliding of the insulating layer is likely to occur, so that the exposed areas that have already been generated are covered again; or, it is difficult for a thicker insulating layer to push the exposed areas; or the pushing process The metal core is seriously deformed.
另一种方式是加热烧除,例如以激光烧灼绝缘层。此种方式只适合用于薄的绝缘层,对于厚的塑胶皮绝缘层而言,很难确实烧除绝缘层。同时,持续的加热也会致使金属芯不当受热而产生材质变化,影响强度并改变导电特性。Another way is to burn off by heating, for example by laser burning the insulating layer. This method is only suitable for thin insulating layers. For thick plastic skin insulating layers, it is difficult to burn off the insulating layers. At the same time, continuous heating will also cause the metal core to be improperly heated, resulting in material changes, affecting strength and changing electrical conductivity.
有些电线的绝缘层外表平滑,并无区隔导电芯的纵向沟。因此,这种形态的电线的绝缘层整体厚度大,可以抵抗导电芯被向外拉扯的拉力,避免绝缘层被剥离成两部分,更有利于应用于线灯。相对地,绝缘层更难应用前述的两种剥线方式进行局部剥除。The insulation of some wires has a smooth surface and no longitudinal grooves that separate the conductive cores. Therefore, the overall thickness of the insulating layer of the wire in this form is large, which can resist the pulling force of the conductive core being pulled outward, avoid the insulating layer being peeled off into two parts, and is more conducive to the application of the wire lamp. In contrast, it is more difficult for the insulating layer to be partially stripped using the aforementioned two wire stripping methods.
发明内容SUMMARY OF THE INVENTION
现有技术中的局部剥线技术,存在着挤压电线或对金属芯过度加热的问题,导致不利于应用在具有厚绝缘层的电线上。The partial wire stripping technology in the prior art has the problem of squeezing the wire or overheating the metal core, which makes it unfavorable to be applied to the wire with a thick insulating layer.
为了解决上述技术问题,本发明提出一种剥线机台,包括有横向刀座、压线座、横向刀具、横向刀具致动器以及压线座致动器。横向刀座具有置线平台以及容刀部;置线平台上设置加工凹槽以及导线槽;导线槽沿送线方向延伸,连通置线平台的相对二侧边,并穿过加工凹槽;加工凹槽中设有辅助线槽,辅助线槽的两端连接导线槽;容刀部邻接于置线平台,且容刀部具有刀孔,连通加工凹槽,并且刀孔沿进刀路径延伸,进刀路径垂直于送线方向。压线座可移动地设置于置线平台上方,且压线座的底面设置压线凸部,对应于加工凹槽,且压线座具有上刀槽,平行于进刀路径,且对应于刀孔。横向刀具穿置于刀孔,且横向刀具的刀刃可移动于加工凹槽的底部上。横向刀具致动器连接于横向刀具,用以沿进刀路径推动横向刀具,使刀刃于加工凹槽的底面上移动。压线座致动器连接于压线座,用以于高度方向推动压线座,使压线凸部进入加工凹槽。In order to solve the above technical problems, the present invention proposes a wire stripping machine, which includes a transverse tool holder, a wire crimping base, a transverse cutter, a transverse cutter actuator and a wire crimping base actuator. The transverse tool holder has a wire setting platform and a tool accommodating part; the wire setting platform is provided with a processing groove and a wire groove; the wire groove extends along the wire feeding direction, connects the opposite sides of the wire setting platform, and passes through the processing groove; processing An auxiliary wire groove is arranged in the groove, and both ends of the auxiliary wire groove are connected to the wire groove; the knife accommodating part is adjacent to the wire setting platform, and the knife accommodating part has a knife hole, which is connected with the processing groove, and the knife hole extends along the cutting path. The feed path is perpendicular to the wire feed direction. The wire pressing seat is movably arranged above the wire setting platform, and the bottom surface of the wire pressing seat is provided with a wire pressing convex portion, which corresponds to the machining groove, and the wire pressing seat has an upper tool groove, which is parallel to the tool feed path and corresponds to the cutting tool. hole. The transverse cutter is passed through the tool hole, and the cutting edge of the transverse cutter can move on the bottom of the machining groove. The transverse cutter actuator is connected to the transverse cutter, and is used for pushing the transverse cutter along the feed path, so that the cutting edge moves on the bottom surface of the machining groove. The wire-pressing seat actuator is connected to the wire-pressing seat, and is used to push the wire-pressing seat in the height direction, so that the wire-pressing convex part enters the processing groove.
较佳地,置线平台还包括有退料沟,连通加工凹槽的以及置线平台的远离容刀部的一侧;退料沟以及刀孔位于进刀路径上,且横向刀具致动器使刀刃于加工凹槽的底面上朝向退料沟移动。Preferably, the wire setting platform also includes a material withdrawal groove, which is connected to the machining groove and the side of the wire setting platform that is far away from the knife receiving part; the material withdrawal groove and the knife hole are located on the feed path, and the transverse tool actuator Move the cutting edge on the bottom surface of the machining groove toward the discharge groove.
较佳地,剥线机台还包括有辅助线座,可拆卸地设置于加工凹槽,辅助线槽设置辅助线座。Preferably, the wire stripping machine also includes an auxiliary wire seat, which is detachably arranged in the processing groove, and the auxiliary wire groove is provided with an auxiliary wire seat.
较佳地,剥线机台还包括有纵向切割装置,相邻于横向刀座设置,纵向切割装置包括有砧台、纵向刀座以及二个纵向刀具。砧台,具有贯通孔以及容线槽,贯通孔贯通砧台的上表面以及下表面,且容线槽设置于上表面,并且连通砧台的相对二侧边;其中,容线槽于送线方向上位于导线槽的下游;纵向刀座,设置于砧台上方,用以朝向砧台进行线性移动;以及二个纵向刀具,设置于纵向刀座的下端,并且互相平行设置,以被纵向刀座带动进入容线槽,并且二个纵向刀具垂直于送线方向。Preferably, the wire stripping machine table further includes a longitudinal cutting device, which is arranged adjacent to the transverse knife seat, and the longitudinal cutting device includes an anvil, a longitudinal knife seat and two longitudinal knives. The anvil has a through hole and a wire accommodating groove, the through hole penetrates the upper surface and the lower surface of the anvil, and the wire accommodating groove is arranged on the upper surface and communicates with two opposite sides of the anvil; wherein, the wire accommodating groove is used for the wire feeding The longitudinal knife seat is arranged above the anvil for linear movement toward the anvil; and two longitudinal knives are arranged at the lower end of the longitudinal knife seat and are arranged parallel to each other, so as to be moved by the longitudinal knife The seat is driven into the wire accommodating groove, and the two longitudinal cutters are perpendicular to the wire feeding direction.
较佳地,二个纵向刀具分别具有多个上刀口。Preferably, the two longitudinal cutters respectively have a plurality of upper cutting edges.
较佳地,每一纵向刀具的长度,小于或等于容线槽的宽度。Preferably, the length of each longitudinal tool is less than or equal to the width of the wire-accommodating groove.
较佳地,二个纵向刀具之间的距离,等于或小于横向刀具的宽度。Preferably, the distance between the two longitudinal knives is equal to or less than the width of the transverse knives.
较佳地,剥线机台还包括有第一纵向致动器,连接于纵向刀座,用以推动纵向刀座朝向砧台移动。Preferably, the wire stripping machine table further includes a first longitudinal actuator connected to the longitudinal knife seat for pushing the longitudinal knife seat to move toward the anvil.
较佳地,剥线机台还包括有顶抵件,可移动地设置于纵向刀座的下端,且位于二个纵向刀具之间,且顶抵件的一端对应于多个导电芯之间的间隙以及砧台的贯通孔。Preferably, the wire stripping machine also includes an abutting member, which is movably arranged at the lower end of the longitudinal knife seat and is located between the two longitudinal knives, and one end of the abutting member corresponds to the gap between the plurality of conductive cores. Clearance and through hole of the anvil.
较佳地,剥线机台还包括有第二纵向致动器,连接于顶抵件,用以推动顶抵件朝向砧台的贯通孔移动。Preferably, the wire stripping machine also includes a second longitudinal actuator connected to the abutting member for pushing the abutting member to move toward the through hole of the anvil.
通过上述技术手段,对于绝缘层外表平滑,并无区隔导电芯的纵向沟的电线,本发明可对部分的绝缘层切割出完整的切口,使得需要外露的导电芯部分可以由切口外露。再透过纵向刀具以及顶抵件的配合,残余的绝缘层下半部也可以快速剥除,解决此种形态的电线不易剥线的问题。Through the above technical means, for a wire with a smooth surface of the insulating layer and no longitudinal grooves separating the conductive cores, the present invention can cut a complete incision on a part of the insulating layer, so that the part of the conductive core that needs to be exposed can be exposed by the incision. Through the cooperation of the longitudinal cutter and the abutting member, the lower half of the residual insulating layer can also be quickly stripped, which solves the problem that the wire in this form is not easy to strip.
附图说明Description of drawings
附图用于更好地理解本申请,不构成对本申请的不当限定。其中:The accompanying drawings are used for a better understanding of the present application, and do not constitute an improper limitation of the present application. in:
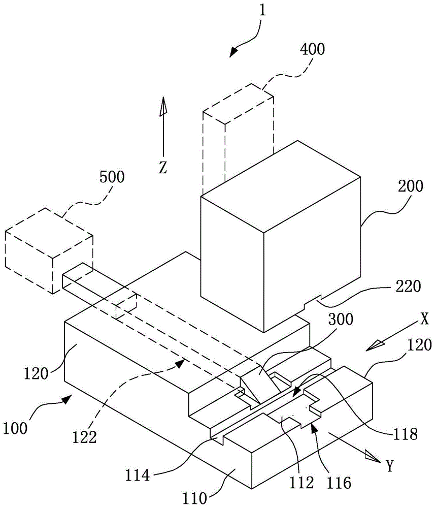
图1是本发明第一实施例的立体图。FIG. 1 is a perspective view of a first embodiment of the present invention.
图2是本发明第一实施例的立体图,揭示电线传送至剥线机台。FIG. 2 is a perspective view of the first embodiment of the present invention, showing that the wires are conveyed to the stripping machine.
图3是本发明第一实施例的立体图,揭示对绝缘层进行切割。FIG. 3 is a perspective view of the first embodiment of the present invention, showing the cutting of the insulating layer.
图4是本发明第一实施例的立体图,揭示完成对绝缘层的切割。FIG. 4 is a perspective view of the first embodiment of the present invention, showing that the cutting of the insulating layer is completed.
图5是本发明第一实施例中,部分元件的局部立体图,揭示对绝缘层的上半部进行切割。5 is a partial perspective view of some components in the first embodiment of the present invention, showing that the upper half of the insulating layer is cut.
图6是本发明第一实施例中,部分元件的局部立体图,揭示完成对绝缘层的上半部的切割。6 is a partial perspective view of some components in the first embodiment of the present invention, showing that the upper half of the insulating layer has been cut.
图7是本发明第一实施例的剖面示意图,揭示电线传送至剥线机台。7 is a schematic cross-sectional view of the first embodiment of the present invention, showing that the wires are conveyed to the wire stripping machine.
图8是本发明第一实施例的剖面示意图,揭示压制电线于剥线机台。FIG. 8 is a schematic cross-sectional view of the first embodiment of the present invention, showing that the wire is pressed on the wire stripping machine.
图9是本发明第二实施例中,横向刀座的局部分解立体图。FIG. 9 is a partially exploded perspective view of the transverse tool holder in the second embodiment of the present invention.
图10是本发明第二实施例中,横向刀座的局部立体图。FIG. 10 is a partial perspective view of the transverse tool holder in the second embodiment of the present invention.
图11是本发明第三实施例的立体图。11 is a perspective view of a third embodiment of the present invention.
图12是本发明第三实施例中,纵向切割装置的立体图。12 is a perspective view of a longitudinal cutting device in a third embodiment of the present invention.
图13是本发明第三实施例中,纵向切割装置的立体图,揭示电线传送至剥线机台。13 is a perspective view of the longitudinal cutting device in the third embodiment of the present invention, showing that the wires are conveyed to the wire stripping machine.
图14是本发明第三实施例中,纵向切割装置的剖面示意图,揭示电线传送至纵向切割装置。14 is a schematic cross-sectional view of the longitudinal cutting device according to the third embodiment of the present invention, showing that the wires are conveyed to the longitudinal cutting device.
图15是本发明第三实施例中,纵向切割装置的剖面示意图,揭示对绝缘层的下半部进行切割。15 is a schematic cross-sectional view of the longitudinal cutting device in the third embodiment of the present invention, showing that the lower half of the insulating layer is cut.
图16是本发明第三实施例中,部分元件的局部立体图,揭示预备对绝缘层的下半部进行切割。16 is a partial perspective view of some components in the third embodiment of the present invention, showing that the lower half of the insulating layer is prepared to be cut.
图17是本发明第三实施例中,部分元件的局部立体图,揭示对绝缘层的下半部进行切割。17 is a partial perspective view of some components in the third embodiment of the present invention, showing that the lower half of the insulating layer is cut.
附图标记列表List of reference signs
1:剥线机台1: Stripping machine
2:电线2: Wire
21:绝缘层21: Insulation layer
21a:绝缘层的上半部21a: upper half of insulating layer
21b:绝缘层的下半部21b: Bottom half of insulating layer
22:导电芯22: Conductive core
100:横向刀座100: Lateral tool holder
110:置线平台110: Setting Line Platform
112:加工凹槽112: Machining grooves
114:导线槽114: Wireway
116:退料沟116: Rejection ditch
118:辅助线槽118: Auxiliary trunking
120:容刀部120: Rong Knife Department
122:刀孔122: Knife hole
200:压线座200: crimping seat
210:压线凸部210: crimping convex part
220:上刀槽220: Upper groove
300:横向刀具300: Lateral cutter
310:刀刃310: Blade
400:压线座致动器400: Crimp seat actuator
500:横向刀具致动器500: Lateral Knife Actuator
600:辅助线座600: Auxiliary wire seat
700:纵向切割装置700: Longitudinal cutting device
710:砧台710: Anvil
712:贯通孔712: Through hole
714:容线槽714: Wire Slot
720:纵向刀座720: Longitudinal tool holder
730:纵向刀具730: Longitudinal tool
732:上刀口732: Upper Knife
740:第一纵向致动器740: First longitudinal actuator
750:顶抵件750: Abutment pieces
760:第二纵向致动器760: Second longitudinal actuator
X:送线方向X: Feeding direction
Y:进刀路径Y: feed path
Z:高度方向。Z: height direction.
具体实施方式Detailed ways
请参阅图1、图2、图3以及图4所示,是本发明第一实施例所揭示的一种剥线机台1,用以剥除电线2的绝缘层21,以暴露电线2的多个导电芯22。Please refer to FIG. 1 , FIG. 2 , FIG. 3 and FIG. 4 , which is a
如图3、图4、图5以及图6所示,电线2具有至少二个导电芯22,如图6所示的三个导电芯22。三个导电芯22被绝缘层21包覆并结合成电线2,且三个导电芯22平行并列。此外,绝缘层21外表平滑,并无区隔导电芯22的纵向沟。因此,这种形态的电线2可以抵抗导电芯22被向外拉扯的拉力,避免绝缘层21被剥离成两部分。相对地,此种形态的电线2也不易采用传统的剥线工具进行剥线。As shown in FIG. 3 , FIG. 4 , FIG. 5 and FIG. 6 , the
如图1、图2、图3以及图4所示,剥线机台1包括有横向刀座100、压线座200、横向刀具300、压线座致动器400以及横向刀具致动器500。As shown in FIG. 1 , FIG. 2 , FIG. 3 and FIG. 4 , the
如图1、图2、图3以及图4所示,横向刀座100具有置线平台110以及容刀部120。如图5以及图6所示,置线平台110上设置加工凹槽112以及导线槽114。导线槽114沿送线方向X延伸,连通置线平台110的相对二侧边,并且穿过加工凹槽112,加工凹槽112中设有辅助线槽118,辅助线槽118的两端连接导线槽114。容刀部120邻接于置线平台110,且容刀部120具有刀孔122,连通加工凹槽112,并且刀孔122沿进刀路径Y延伸,进刀路径Y垂直于送线方向X。As shown in FIG. 1 , FIG. 2 , FIG. 3 and FIG. 4 , the
如图5以及图6所示,置线平台110还包括有退料沟116,连通加工凹槽112的以及置线平台110的远离容刀部120的一侧;退料沟116以及刀孔122位于进刀路径Y上。As shown in FIG. 5 and FIG. 6 , the
如图1、图2、图3以及图4所示,压线座200可移动地设置于置线平台110上方。如图7以及图8所示,压线座200的底面设置压线凸部210,对应于加工凹槽112,且压线座200具有上刀槽220,平行于进刀路径Y,且对应于刀孔122以及退料沟116。上刀槽220将压线座200的底面以及压线凸部210分隔成二部分。As shown in FIG. 1 , FIG. 2 , FIG. 3 and FIG. 4 , the
如图5以及图6所示,横向刀具300穿置于刀孔122,且横向刀具300的刀刃310可移动于加工凹槽112的底部上;亦即,进刀路径Y平行于加工凹槽112的底部配置。As shown in FIG. 5 and FIG. 6 , the
如图1、图2以及图3所示,横向刀具致动器500连接于横向刀具300,用以沿进刀路径Y推动横向刀具300,使刀刃310于加工凹槽112的底部上朝向退料沟116移动。As shown in FIG. 1 , FIG. 2 and FIG. 3 , the
如图1、图2、图3以及图4所示,压线座致动器400连接于压线座200,用以于高度方向Z推动压线座200,使压线凸部210进入加工凹槽112。As shown in FIG. 1 , FIG. 2 , FIG. 3 and FIG. 4 , the wire pressing
本发明的具体运作说明如下。The specific operation of the present invention is described below.
如图2以及图8所示,电线2是连接于送线机构(图未示),以透过送线机构沿着送线方向X传送电线2,使电线2通过导线槽114以及辅助线槽118。依据剥线区域所需要的间隔,传送电线2的过程是每移动预定长度后停留一个预定的作业时间,再执行下一次传送。例如剥线区域所需要的间隔是5厘米,剥线机台1需要5秒完成作业,则送线的方式就是每传送5厘米之后停留5秒,再执行下一次传送。As shown in FIG. 2 and FIG. 8 , the
接着,如图6以及图7所示,压线座致动器400以于高度方向Z推动压线座200朝向置线平台110移动,使压线凸部210进入加工凹槽112,而压制电线2。此时,刀孔122、上刀槽220以及退料沟116形成刀具管道,使得横向刀座100可以沿着进刀路径Y移动。Next, as shown in FIG. 6 and FIG. 7 , the wire pressing
如图5、图6以及图8所示,三个导电芯22平行并列,导电芯22所在的高度略高于加工凹槽112的底部。压线凸部210会压制于电线2的绝缘层21,并且使待剥线的区域暴露于刀具管道中。As shown in FIG. 5 , FIG. 6 and FIG. 8 , the three
如图5以及图6所示,接着,横向刀具致动器500沿进刀路径Y推动横向刀具300,使刀刃310于加工凹槽112的底部上朝向退料沟116移动,切削过绝缘层21的上半部21a以及局部的导电芯22,使得上半部21a被削除且导电芯22形成局部外露的形态。As shown in FIG. 5 and FIG. 6 , then, the
参阅图9以及图10所示,是本发明第二实施例所揭示的一种剥线机台1。第二实施例的剥线机台1还包括有辅助线座600。如前所述,导电芯22所在的高度需略高于加工凹槽112的底部,使得横向刀具300刚好切削过绝缘层21以及局部的导电芯22,让导电芯22的局部外露。但不同的电线2的绝缘层21厚度不同,使得单一规格的辅助线槽118。Referring to FIG. 9 and FIG. 10 , it is a
参阅图9以及图10所示,辅助线座600是可拆卸地设置于加工凹槽112,辅助线槽118设置辅助线座600。透过辅助线座600的置换,可以改变辅助线槽118的深度,使得多个导电芯22所在的高度可以位于适当的高度,以利横向刀具300的切削。Referring to FIG. 9 and FIG. 10 , the
参阅图11、图12以及图13所示,是本发明第三实施例所揭示的一种剥线机台1。第二实施例的剥线机台1还包括有纵向切割装置700,相邻于横向刀座100设置。Referring to FIG. 11 , FIG. 12 and FIG. 13 , it is a
如图12、图13以及图14所示,纵向切割装置700包括有砧台710、纵向刀座720、二个纵向刀具730、第一纵向致动器740、顶抵件750以及第二纵向致动器760。As shown in FIGS. 12 , 13 and 14 , the
参阅图12、图14以及图15所示,砧台710具有贯通孔712以及容线槽714。贯通孔712贯通砧台710的上表面以及下表面,且容线槽714设置于上表面,并且连通砧台710的相对二侧边。容线槽714于送线方向X上位于导线槽114的下游。Referring to FIGS. 12 , 14 and 15 , the
如图12、图14以及图15所示,纵向刀座720设置于砧台710上方,用以朝向砧台710进行线性移动。二个纵向刀具730设置于纵向刀座720的下端,并且互相平行设置以被纵向刀座720带动进入容线槽714。二个纵向刀具730垂直于送线方向X,并且纵向刀具730之间的距离等于或小于横向刀具300的宽度,以配合剥线区域。As shown in FIGS. 12 , 14 and 15 , the
如图12、图14以及图15所示,第一纵向致动器740连接于纵向刀座720,用以推动纵向刀座720朝向砧台710移动,使二个纵向刀具730进入容线槽714,以切割电线2的绝缘层21的下半部21b。As shown in FIG. 12 , FIG. 14 and FIG. 15 , the first
如图16以及图17所示,具体而言,二个纵向刀具730分别具有至少二个上刀口732,如图所示的三个。每一个上刀口732的宽度配合导电芯22的直径,且相对位置匹配多个导电芯22之间的相对位置,藉以使得纵向刀具730不会切割到导电芯22。As shown in FIG. 16 and FIG. 17 , specifically, the two
参阅图14、图15、图16以及图17所示,顶抵件750可移动地设置于纵向刀座720的下端,且位于二个纵向刀具730之间,且顶抵件750的一端对应于多个导电芯22之间的间隙以及砧台710的贯通孔712。第二纵向致动器760连接于顶抵件750,用以推动顶抵件750朝向砧台710的贯通孔712移动,以插入多个导电芯22之间的间隙而推抵残余的绝缘层21,以剥离绝缘层21的下半部21b。具体而言,第二纵向致动器760可以穿过纵向刀座720,而在纵向刀座720的下端连接于顶抵件750。顶抵件750的数量不限于一个,也可以是多个并列,并且插入不同的间隙中。Referring to FIGS. 14 , 15 , 16 and 17 , the abutting
纵向切割装置700的具体运作说明如下。The specific operation of the
参阅图11、图14以及图16所示,于横向刀具300剥离绝缘层21的上半部21a之后,电线2被沿着送线方向X传送,使得剥线区域进入容线槽714,并且移动至贯通孔712上方,并且对应于二个纵向刀具730。Referring to FIGS. 11 , 14 and 16 , after the
参阅图13、图15以及图17所示,第一纵向致动器740推动纵向刀座720朝向砧台710移动,使得纵向刀具730进入容线槽714对绝缘层21的下半部21b进行切割。13 , 15 and 17 , the first
如图13、图15以及图17所示,接着,第二纵向致动器760推动顶抵件750朝向砧台710的贯通孔712移动,以插入多个导电芯22之间的间隙,并推抵残余的绝缘层21的下半部21b。由于绝缘层21的下半部21b已经被纵向刀具730切断,经过顶抵件750的推抵,残余的下半部21b可以轻易的脱落掉入贯通孔712。因此,多个间隙之中,只要有一个被顶抵件750插入,就可以剥离残余的下半部21b,不必然需要多个顶抵件750同时插入不同的间隙中。As shown in FIG. 13 , FIG. 15 and FIG. 17 , then, the second
在本发明一或多个实施例中,所述压线座致动器400、横向刀具致动器500、第一纵向致动器740以及第二纵向致动器760可以分别是气压缸、油压缸、导螺杆或是线性马达。In one or more embodiments of the present invention, the wire crimping
通过上述技术手段,对于绝缘层21外表平滑,并无区隔导电芯22的纵向沟的电线2,本发明可对部分的绝缘层21切割出完整的切口,使得需要外露的导电芯22部分可以由切口外露。再透过纵向刀具730以及顶抵件750的配合,残余的绝缘层21下半部21b也可以快速剥除,解决此种形态的电线2不易剥线的问题。Through the above-mentioned technical means, for the
Claims (10)
Priority Applications (1)
| Application Number | Priority Date | Filing Date | Title |
|---|---|---|---|
| CN202011287366.3A CN114512938A (en) | 2020-11-17 | 2020-11-17 | Stripping machine |
Applications Claiming Priority (1)
| Application Number | Priority Date | Filing Date | Title |
|---|---|---|---|
| CN202011287366.3A CN114512938A (en) | 2020-11-17 | 2020-11-17 | Stripping machine |
Publications (1)
| Publication Number | Publication Date |
|---|---|
| CN114512938A true CN114512938A (en) | 2022-05-17 |
Family
ID=81546469
Family Applications (1)
| Application Number | Title | Priority Date | Filing Date |
|---|---|---|---|
| CN202011287366.3A Withdrawn CN114512938A (en) | 2020-11-17 | 2020-11-17 | Stripping machine |
Country Status (1)
| Country | Link |
|---|---|
| CN (1) | CN114512938A (en) |
Citations (7)
| Publication number | Priority date | Publication date | Assignee | Title |
|---|---|---|---|---|
| JP2013165583A (en) * | 2012-02-10 | 2013-08-22 | Aisin Aw Co Ltd | Peeling device |
| CN103594907A (en) * | 2013-11-07 | 2014-02-19 | 安徽理士电池技术有限公司 | Device for stripping insulating layer of cable |
| CN108134304A (en) * | 2016-12-01 | 2018-06-08 | 无锡华昊电器股份有限公司 | A kind of automatic wire stripping apparatus |
| CN208386034U (en) * | 2018-07-30 | 2019-01-15 | 深圳市和力泰智能制造有限公司 | Conducting wire dejacketer and power cord plug peeling riveting device |
| CN110416926A (en) * | 2018-04-27 | 2019-11-05 | 鸿盛国际有限公司 | Punck-down block |
| CN211296004U (en) * | 2019-12-25 | 2020-08-18 | 南昌八一电缆有限公司 | Cable sheath stripping off device |
| CN213717482U (en) * | 2020-11-17 | 2021-07-16 | 鸿盛国际有限公司 | Wire stripping machine |
-
2020
- 2020-11-17 CN CN202011287366.3A patent/CN114512938A/en not_active Withdrawn
Patent Citations (7)
| Publication number | Priority date | Publication date | Assignee | Title |
|---|---|---|---|---|
| JP2013165583A (en) * | 2012-02-10 | 2013-08-22 | Aisin Aw Co Ltd | Peeling device |
| CN103594907A (en) * | 2013-11-07 | 2014-02-19 | 安徽理士电池技术有限公司 | Device for stripping insulating layer of cable |
| CN108134304A (en) * | 2016-12-01 | 2018-06-08 | 无锡华昊电器股份有限公司 | A kind of automatic wire stripping apparatus |
| CN110416926A (en) * | 2018-04-27 | 2019-11-05 | 鸿盛国际有限公司 | Punck-down block |
| CN208386034U (en) * | 2018-07-30 | 2019-01-15 | 深圳市和力泰智能制造有限公司 | Conducting wire dejacketer and power cord plug peeling riveting device |
| CN211296004U (en) * | 2019-12-25 | 2020-08-18 | 南昌八一电缆有限公司 | Cable sheath stripping off device |
| CN213717482U (en) * | 2020-11-17 | 2021-07-16 | 鸿盛国际有限公司 | Wire stripping machine |
Similar Documents
| Publication | Publication Date | Title |
|---|---|---|
| CN104836095B (en) | Automatic continuous terminal machine | |
| US2497112A (en) | Wire cutting and stripping apparatus | |
| US5622425A (en) | Miniature light set | |
| EP2260548B1 (en) | Termination tool | |
| CN110416926B (en) | Wire stripping device | |
| US11152772B2 (en) | Cut-away cutting tool | |
| CN104025403A (en) | Jig for processing end of wire and method for the same | |
| CN113783142B (en) | A cable stripping machine | |
| JPH02278679A (en) | Cutting method of shield ribbon cable in automatic pressure-welding machine and apparatus thereof | |
| CN213717482U (en) | Wire stripping machine | |
| US4365398A (en) | Method of and apparatus for assembling intermediate-web held terminal pins | |
| CN108701977A (en) | Stripping device and method | |
| CN114512938A (en) | Stripping machine | |
| CN108134289A (en) | Electric connector and its application method with removable external loading item | |
| US3420086A (en) | Hand tool for crimping terminals | |
| JP5830355B2 (en) | Electric wire processing apparatus and electric wire processing method | |
| CN208190137U (en) | Stripping device | |
| EP0375458A1 (en) | The stripping and terminating of conductors in multi core cables | |
| CN218123938U (en) | Terminal inputting device | |
| US5109590A (en) | Multi core cable stripping | |
| JP2003077610A (en) | Wire crimper device having wire tip aligning mechanism | |
| US3895434A (en) | Assembling electrical connecting device to cordage | |
| CN118232130A (en) | Full-automatic single-head insertion machine | |
| JP2007311062A (en) | Terminal crimping device | |
| JP7496390B2 (en) | Apparatus and method for stripping coating from rectangular conductor |
Legal Events
| Date | Code | Title | Description |
|---|---|---|---|
| PB01 | Publication | ||
| PB01 | Publication | ||
| SE01 | Entry into force of request for substantive examination | ||
| SE01 | Entry into force of request for substantive examination | ||
| WW01 | Invention patent application withdrawn after publication | ||
| WW01 | Invention patent application withdrawn after publication |
Application publication date: 20220517 |
