CN114483487A - 用于风力涡轮的机舱及在该机舱中支承转矩的方法 - Google Patents
用于风力涡轮的机舱及在该机舱中支承转矩的方法 Download PDFInfo
- Publication number
- CN114483487A CN114483487A CN202111266846.6A CN202111266846A CN114483487A CN 114483487 A CN114483487 A CN 114483487A CN 202111266846 A CN202111266846 A CN 202111266846A CN 114483487 A CN114483487 A CN 114483487A
- Authority
- CN
- China
- Prior art keywords
- nacelle
- torque arms
- torque
- drive train
- axis
- Prior art date
- Legal status (The legal status is an assumption and is not a legal conclusion. Google has not performed a legal analysis and makes no representation as to the accuracy of the status listed.)
- Pending
Links
- 238000000034 method Methods 0.000 title claims abstract description 32
- 238000010586 diagram Methods 0.000 description 5
- 239000000463 material Substances 0.000 description 5
- 230000008901 benefit Effects 0.000 description 3
- 230000007246 mechanism Effects 0.000 description 3
- 239000006096 absorbing agent Substances 0.000 description 2
- 238000013461 design Methods 0.000 description 2
- 238000009434 installation Methods 0.000 description 2
- 238000012986 modification Methods 0.000 description 2
- 230000004048 modification Effects 0.000 description 2
- 230000035939 shock Effects 0.000 description 2
- 230000009286 beneficial effect Effects 0.000 description 1
- 230000000903 blocking effect Effects 0.000 description 1
- 230000008859 change Effects 0.000 description 1
- 238000006243 chemical reaction Methods 0.000 description 1
- 229920001971 elastomer Polymers 0.000 description 1
- 239000000806 elastomer Substances 0.000 description 1
- 230000006870 function Effects 0.000 description 1
- 238000012545 processing Methods 0.000 description 1
- 230000004044 response Effects 0.000 description 1
- 238000012546 transfer Methods 0.000 description 1
Images
Classifications
-
- F—MECHANICAL ENGINEERING; LIGHTING; HEATING; WEAPONS; BLASTING
- F03—MACHINES OR ENGINES FOR LIQUIDS; WIND, SPRING, OR WEIGHT MOTORS; PRODUCING MECHANICAL POWER OR A REACTIVE PROPULSIVE THRUST, NOT OTHERWISE PROVIDED FOR
- F03D—WIND MOTORS
- F03D80/00—Details, components or accessories not provided for in groups F03D1/00 - F03D17/00
- F03D80/80—Arrangement of components within nacelles or towers
- F03D80/88—Arrangement of components within nacelles or towers of mechanical components
-
- F—MECHANICAL ENGINEERING; LIGHTING; HEATING; WEAPONS; BLASTING
- F03—MACHINES OR ENGINES FOR LIQUIDS; WIND, SPRING, OR WEIGHT MOTORS; PRODUCING MECHANICAL POWER OR A REACTIVE PROPULSIVE THRUST, NOT OTHERWISE PROVIDED FOR
- F03D—WIND MOTORS
- F03D80/00—Details, components or accessories not provided for in groups F03D1/00 - F03D17/00
-
- F—MECHANICAL ENGINEERING; LIGHTING; HEATING; WEAPONS; BLASTING
- F03—MACHINES OR ENGINES FOR LIQUIDS; WIND, SPRING, OR WEIGHT MOTORS; PRODUCING MECHANICAL POWER OR A REACTIVE PROPULSIVE THRUST, NOT OTHERWISE PROVIDED FOR
- F03D—WIND MOTORS
- F03D15/00—Transmission of mechanical power
-
- F—MECHANICAL ENGINEERING; LIGHTING; HEATING; WEAPONS; BLASTING
- F03—MACHINES OR ENGINES FOR LIQUIDS; WIND, SPRING, OR WEIGHT MOTORS; PRODUCING MECHANICAL POWER OR A REACTIVE PROPULSIVE THRUST, NOT OTHERWISE PROVIDED FOR
- F03D—WIND MOTORS
- F03D7/00—Controlling wind motors
- F03D7/02—Controlling wind motors the wind motors having rotation axis substantially parallel to the air flow entering the rotor
- F03D7/0204—Controlling wind motors the wind motors having rotation axis substantially parallel to the air flow entering the rotor for orientation in relation to wind direction
-
- F—MECHANICAL ENGINEERING; LIGHTING; HEATING; WEAPONS; BLASTING
- F03—MACHINES OR ENGINES FOR LIQUIDS; WIND, SPRING, OR WEIGHT MOTORS; PRODUCING MECHANICAL POWER OR A REACTIVE PROPULSIVE THRUST, NOT OTHERWISE PROVIDED FOR
- F03D—WIND MOTORS
- F03D1/00—Wind motors with rotation axis substantially parallel to the air flow entering the rotor
- F03D1/101—Nacelles
-
- F—MECHANICAL ENGINEERING; LIGHTING; HEATING; WEAPONS; BLASTING
- F05—INDEXING SCHEMES RELATING TO ENGINES OR PUMPS IN VARIOUS SUBCLASSES OF CLASSES F01-F04
- F05B—INDEXING SCHEME RELATING TO WIND, SPRING, WEIGHT, INERTIA OR LIKE MOTORS, TO MACHINES OR ENGINES FOR LIQUIDS COVERED BY SUBCLASSES F03B, F03D AND F03G
- F05B2240/00—Components
- F05B2240/10—Stators
- F05B2240/14—Casings, housings, nacelles, gondels or the like, protecting or supporting assemblies there within
-
- F—MECHANICAL ENGINEERING; LIGHTING; HEATING; WEAPONS; BLASTING
- F16—ENGINEERING ELEMENTS AND UNITS; GENERAL MEASURES FOR PRODUCING AND MAINTAINING EFFECTIVE FUNCTIONING OF MACHINES OR INSTALLATIONS; THERMAL INSULATION IN GENERAL
- F16C—SHAFTS; FLEXIBLE SHAFTS; ELEMENTS OR CRANKSHAFT MECHANISMS; ROTARY BODIES OTHER THAN GEARING ELEMENTS; BEARINGS
- F16C2360/00—Engines or pumps
- F16C2360/31—Wind motors
-
- Y—GENERAL TAGGING OF NEW TECHNOLOGICAL DEVELOPMENTS; GENERAL TAGGING OF CROSS-SECTIONAL TECHNOLOGIES SPANNING OVER SEVERAL SECTIONS OF THE IPC; TECHNICAL SUBJECTS COVERED BY FORMER USPC CROSS-REFERENCE ART COLLECTIONS [XRACs] AND DIGESTS
- Y02—TECHNOLOGIES OR APPLICATIONS FOR MITIGATION OR ADAPTATION AGAINST CLIMATE CHANGE
- Y02E—REDUCTION OF GREENHOUSE GAS [GHG] EMISSIONS, RELATED TO ENERGY GENERATION, TRANSMISSION OR DISTRIBUTION
- Y02E10/00—Energy generation through renewable energy sources
- Y02E10/70—Wind energy
- Y02E10/72—Wind turbines with rotation axis in wind direction
Landscapes
- Engineering & Computer Science (AREA)
- Life Sciences & Earth Sciences (AREA)
- Sustainable Development (AREA)
- Sustainable Energy (AREA)
- Chemical & Material Sciences (AREA)
- Combustion & Propulsion (AREA)
- Mechanical Engineering (AREA)
- General Engineering & Computer Science (AREA)
- Wind Motors (AREA)
Abstract
本发明涉及用于风力涡轮的机舱及在该机舱中支承转矩的方法。具体而言,一种用于风力涡轮的机舱,该机舱包括:带有传动系轴线的传动系、围绕传动系轴线定位并附接到传动系的部件的至少两个转矩臂,以及附接到偏航轴承的框架。传动系的转矩臂由框架支承,并且转矩臂中的至少一个具有至少显著偏离水平的定向。
Description
技术领域
本主题大体上涉及风力涡轮,并且更具体地涉及一种用于风力涡轮的机舱,该机舱包括固定地附接到机舱的传动系的部件的至少两个转矩臂。
背景技术
风力被认为是目前可获得的最清洁、最环保的能源之一,并且在这方面,风力涡轮已经获得增加的关注。现代风力涡轮通常包括塔架、发电机、齿轮箱、机舱和一个或多个转子叶片。转子叶片使用已知的翼型件原理从风获得动能,且通过旋转能传送动能来使轴转动,轴将转子叶片联接到齿轮箱,或如果未使用齿轮箱则直接联接到发电机。然后,发电机将机械能转化为可部署到公用电网的电能。
通常,机舱包括转矩臂,以用于传递力以支承风力涡轮的转矩。转矩臂附接到传动系的部件,例如附接到齿轮箱。转矩臂可减少机舱内可用于走道、出口路线和材料处理的空间。这可导致机舱具有较大体积,具体是具有较大宽度或高度。
因此,本公开针对用于风力涡轮的机舱,该机舱包括固定地附接到机舱的传动系的部件的至少两个转矩臂。
发明内容
本发明的方面和优点将在以下描述中部分地阐明,或可从描述清楚,或可通过实施本发明学习到。
一方面,本公开针对一种用于风力涡轮的机舱。机舱包括:带有传动系轴线的传动系、围绕传动系轴线定位并附接到传动系的部件的至少两个转矩臂,以及附接到偏航轴承的框架。传动系的转矩臂由框架支承,并且转矩臂中的至少一个具有至少显著偏离水平的定向。在典型的实施例中,转矩臂使用减振器由框架支承。应当理解,机舱可进一步包括如本文所述的任何附加特征。
另一方面,本公开针对一种在具有带有传动系轴线的传动系的风力涡轮的机舱中支承转矩的方法。该方法包括:提供围绕传动系轴线定位并附接到传动系的部件的至少两个转矩臂,以及提供附接到偏航轴承的框架。传动系的转矩臂由框架支承,并且转矩臂中的至少一个具有至少显著偏离水平的定向。应当理解,该方法还可包括如本文所述的任何附加步骤和/或特征。
将参考以下描述和所附权利要求书来进一步支持和描述本发明的这些和其它特征、方面和优点。并入且构成本说明书的一部分的附图示出了本发明的实施例,且连同描述用于阐释本发明的原理。
技术方案1. 一种用于风力涡轮的机舱,所述机舱包括:
带有传动系轴线的传动系;
围绕所述传动系轴线定位并附接到所述传动系的部件的至少两个转矩臂;以及
附接到偏航轴承的框架,其中
所述传动系的转矩臂由所述框架支承,并且其中所述转矩臂中的至少一个具有至少显著偏离水平的定向。
技术方案2. 根据技术方案1所述的机舱,其中,所述转矩臂中的至少一个具有偏离水平至少10°的角度的定向。
技术方案3. 根据前述技术方案中任一项所述的机舱,其中,所述转矩臂中的两个至少显著偏离与彼此平行。
技术方案4. 根据技术方案1或技术方案2中任一项所述的机舱,其中,所述转矩臂中的至少一个是非线性的。
技术方案5. 根据技术方案1或技术方案2中任一项所述的机舱,其中,所述转矩臂中的至少一个包括沿第一方向从所述部件延伸的第一区段和沿第二方向从所述第一区段延续的第二区段,其中所述第一方向和所述第二方向之间的角度大于10°。
技术方案6. 根据技术方案1或技术方案2中任一项所述的机舱,其中,所述转矩臂中的至少一个由所述框架从上方支承。
技术方案7. 根据技术方案1或技术方案2中任一项所述的机舱,其中,所述转矩臂中的至少一个沿相对于所述传动系轴线的横向方向和纵向方向中的至少一个支承。
技术方案8. 根据技术方案1或技术方案2中任一项所述的机舱,构造成使得在安装状态下,所述传动系轴线和偏航轴线之间的距离大于1cm。
技术方案9. 一种在具有带有传动系轴线的传动系的风力涡轮的机舱中支承转矩的方法,所述方法包括:
提供围绕所述传动系轴线定位并附接到所述传动系的部件的至少两个转矩臂;以及
提供附接到偏航轴承的框架,其中所述传动系的转矩臂由所述框架支承,并且其中所述转矩臂中的至少一个具有至少显著偏离水平的定向。
技术方案10. 根据技术方案9所述的方法,其中,所述转矩臂中的至少一个具有偏离水平至少10°的角度的定向。
技术方案11. 根据技术方案9至技术方案10中任一项所述的方法,其中,所述转矩臂中的两个至少显著偏离与彼此平行。
技术方案12. 根据技术方案9至技术方案10中任一项所述的方法,其中,所述转矩臂中的至少一个包括沿第一方向从所述部件延伸的第一区段和沿第二方向从所述第一区段延续的第二区段,其中所述第一方向和所述第二方向之间的角度大于10°。
技术方案13. 根据技术方案9至技术方案10中任一项所述的方法,其中,所述转矩臂中的至少一个由所述框架从下方支承。
技术方案14. 根据技术方案9至技术方案10中任一项所述的方法,其中,所述转矩臂中的至少一个由所述框架从上方支承。
技术方案15. 根据技术方案9至技术方案10中任一项所述的方法,其中,所述转矩臂中的至少一个沿相对于所述传动系轴线的横向方向和纵向方向中的至少一个支承。
附图说明
在参考附图的说明书中阐明针对本领域普通技术人员的包括其最佳模式的本发明完整且充分的公开,在附图中:
图1示出了风力涡轮的透视图;
图2示出了风力涡轮的机舱的简化内部视图,具体地示出了在正常操作期间的机舱;
图3A-B分别示出了根据现有技术的机舱的一部分的示意图;
图4A-E分别示出了根据本公开的实施例的机舱的一部分的示意图;
图5示出了根据本公开的实施例的机舱的一部分的示意图;以及
图6示出了根据本公开的在风力涡轮的机舱中支承转矩的方法的实施例的流程图。
具体实施方式
现在将详细参考本发明的实施例,其一个或多个示例在附图中示出。每个示例通过阐释本发明而不限制本发明的方式提供。实际上,对于本领域的技术人员将清楚,可在本发明中制作出各种改型和变型,而不会脱离本发明的范围或精神。例如,示为或描述为一个实施例的一部分的特征可结合另一个实施例使用以产生又一个实施例。因此,意图是本发明覆盖如归入所附权利要求书和其等同物的范围内的此类改型和变型。
现在参考附图,图1示出了风力涡轮10的透视图。如图所示,风力涡轮10大体上包括从支承表面14延伸的塔架12、安装在塔架12上的机舱16,以及联接到机舱16的转子18。因此,机舱16对应于整个壳体结构,并且具有底壁、相对的侧壁、前壁、后壁和顶壁。此外,前壁可具有主轴开口,该主轴开口构造成接收穿过其中的主轴34(图2),该主轴可连接到转子18。
如图1中所示,转子18包括可旋转的毂20和联接到毂20并从毂20向外延伸的至少一个转子叶片22。例如,在图1中,转子18包括三个转子叶片22。然而,在备选风力涡轮中,转子18可包括多于或少于三个转子叶片22。每个转子叶片22可围绕毂20间隔开,以便于使转子18旋转,从而使动能能够从风转化成可用的机械能,并随后转化成电能。例如,毂20可以可旋转地联接到定位于机舱16内的发电机24(图2)以允许产生电能。
风力涡轮10还可包括集中在机舱16内的风力涡轮控制器26。然而,在其它风力涡轮中,控制器26可位于风力涡轮10的任何其它构件内或位于风力涡轮10外部的位置处。此外,控制器26可通信地联接到风力涡轮10的任何数量的构件以便控制这些构件。因此,控制器26可包括计算机或其它合适的处理单元。因此,在若干风力涡轮中,控制器26可包括合适的计算机可读指令,其在实施时配置控制器26以执行各种不同的功能,如接收、发送和/或执行风力涡轮控制信号。
现在参考图2,示出了图1中所示的风力涡轮10的示例性机舱16的简化内部视图,具体地示出其传动系构件。更确切地说,如图所示,发电机24可联接到转子18,以用于从由转子18生成的旋转能产生电力。转子18可联接到主轴34,主轴34可经由主轴承(未示出)旋转。主轴34继而可通过齿轮箱30可旋转地联接到发电机24的齿轮箱输出轴36。齿轮箱30可包括齿轮箱壳体38,该齿轮箱壳体38由一个或多个转矩臂48连接到底板46。更确切地说,在某些风力涡轮中,底板46可为锻造构件,其中主轴承(未示出)位于该锻造构件中,并且主轴34延伸穿过该锻造构件。如大体所理解的,响应于转子叶片22和毂20的旋转,主轴34向齿轮箱30提供低速高转矩输入。因此,齿轮箱30因此将低速高转矩输入转化为高速低转矩输出,以驱动齿轮箱输出轴36,并因此驱动发电机24。
每个转子叶片22还可包括变桨调整机构32,其构造成经由变桨轴承40使每个转子叶片22围绕其变桨轴线28旋转。类似地,风力涡轮10可包括通信地联接到控制器26的一个或多个偏航驱动机构42,其中每个偏航驱动机构42构造成改变机舱16相对于风的角度(例如,通过接合风力涡轮10的偏航轴承44)。
在一些实施例中,风力涡轮可为陆上风力涡轮。在若干实施例中,风力涡轮可为离岸风力涡轮。
在一些实施例中,风力涡轮的构件可包括具体与能量产生或转化相关联的机械、电气或机电装置。在实施例中,构件可包括传动系、传动系构件和变压器中的至少一者。具体而言,传动系构件可包括齿轮箱、主轴、主轴承和/或发电机。
在一些实施例中,机舱可包括联接到风力涡轮的塔架的基座。基座可包括底板和/或机舱的底壁的至少一部分。在一些实施例中,顶板可构造成具体使用可释放的连接装置来安装到机舱的基座,例如通过顶板和基座的主动锁定或经由诸如螺栓的紧固件。
图3A-B分别示出了根据现有技术的机舱的一部分的示意图。为清楚起见,仅示出了转矩臂48和齿轮箱38。例如,机舱的其余构造可如以上关于图2所述。
在图3A中,转矩臂48直接地附接到齿轮箱38。转矩臂48经由弹性体50由机舱的框架支承。具体而言,弹性体50布置在每个转矩臂和框架之间。
在图3B中,弹性体(未示出)布置在转矩臂48和齿轮箱38之间作为减振器。在此示例中,转矩臂由框架直接地支承。在框架和转矩臂之间使用减振器通常也理解为直接支承。在图3A-B中,支承区域由阴影区域表示。
如可看出,图3A-B中的转矩臂48的定向至少基本上是水平的。具体而言,转矩臂48围绕机舱的传动系轴线对称地定位。更具体地,对称平面竖直定向并平行于传动系轴线。在本公开的上下文中,水平定向具体应相对于机舱的安装状态来理解。在安装状态下,机舱可安装在塔架上,塔架从支承表面延伸。水平定向可理解为垂直于塔架轴线的定向,具体是垂直于塔架的主延伸方向的定向。水平定向可平行于支承表面。
图4A-E分别示出了根据本公开的实施例的机舱的一部分的示意图。为了清楚起见,仅示出了转矩臂48和传动系的构件。在所示实施例中,传动系的构件是齿轮箱38。至于机舱的其余构造,例如可参考以上关于图2的描述。
根据本公开的用于风力涡轮的机舱包括带有传动系轴线的传动系。机舱进一步包括围绕传动系轴线定位的至少两个转矩臂。在图4A-E中所示的实施例中,机舱包括两个转矩臂48。转矩臂48附接到传动系的部件,具体是附接到齿轮箱38。大体上,传动系的部件可为例如齿轮箱或发电机。转矩臂可固定地附接到传动系的部件。
齿轮箱轴线可与传动系轴线重合。具体而言,齿轮箱轴线与齿轮箱的输入轴的轴线重合。输入轴具体是低速轴。更具体地,低速轴连接到机舱的毂。在图4A-E中所示的示例性实施例中,转矩臂垂直于传动系轴线定向。
在本公开的上下文中,转矩臂的定向具体应理解为平行于将传动系轴线与转矩臂的结构支承的点(具体是理想化的点)连接的线的方向。机舱进一步包括附接到偏航轴承的框架。传动系的转矩臂48由框架支承。在图4A-D中,支承区域由阴影区域指示。
转矩臂中的至少一个具有至少显著偏离水平的定向。至少显著偏离水平的定向的优点在于可增加传动系旁边的可用空间量。具体而言,可用于例如走道、出口路线或材料处理的空间可更大。附加地或备选地,与常规机舱相比,机舱可构造成更小,具体是更窄。与常规机舱相比,根据本公开的机舱还可具有减小的高度。
具体关于机舱的运输的后勤要求可降低。此外,可降低关于现场安装的工作量。可提高材料利用效率。此外,可减小传动系本身的大小,具体是运输尺寸。这在传动系要与机舱分开运输的情况下可能是特别有益的。
从图3A-B中所示的常规设计中可看出,传动系旁边的空间由转矩臂48阻挡。与此相比,例如在图4A中所示的根据本公开的机舱中,减少或消除了由左侧描绘的转矩臂48对传动系旁边的空间的阻挡。传动系旁边的空余空间可用于例如走道、出口路线或材料处理。因此,由于传动系上方或转矩臂旁边的空间不需要用于此目的,故可潜在地减小机舱的宽度或高度。具体而言,技术人员和材料可在其旁边,而不是在其上方经过传动系或传动系的构件。在此方面,传动系的构件可为例如齿轮箱、齿轮箱支承结构或发电机。
换言之,转矩臂的设计至少主要由空间要求或负载路径而不是对称考虑所驱使。大体上,在风力涡轮的操作期间出现的负载不一定是对称的。转矩臂上的相应负载不一定相等。具体而言,来自转矩的负载可相对于风力涡轮的旋转方向而不同。
在实施例中,例如如图4A中所示,转矩臂中的两个至少显著偏离与彼此平行。两个转矩臂之间的角度可小于例如175°、160°或145°。
在实施例中,转矩臂中的至少一个具有偏离水平至少10°的角度的定向。该定向可偏离水平至少例如5°、15°或25°的角度。在本公开的上下文中,至少显著偏离水平的定向可理解为偏离水平至少10°的角度。
在实施例中,例如如图4B中所示,两个转矩臂48可具有至少显著偏离水平的定向。可进一步增加如上所述的机舱中的空间节省。
在实施例中,转矩臂的形状可具体取决于负载而彼此不同。转矩臂的形状可基于风力涡轮在操作状态下的旋转方向。具体而言,可鉴于大小和负载要求,同时至少大部分忽略对称考虑来选择转矩臂的形状。
在实施例中,机舱可包括至少三个转矩臂。例如,机舱可包括三个、四个或五个转矩臂。具体而言,可鉴于大小和负载要求,同时至少大部分忽略对称考虑来选择转矩臂的数量。
在实施例中,例如如图4C-4D中所示,转矩臂中的至少一个是非线性的。具体而言,转矩臂中的至少一个包括沿第一方向从部件延伸的第一区段和沿第二方向从第一区段延续的第二区段。换言之,转矩臂中的至少一个可例如具有至少一个扭结或可为弯曲的。第一方向和第二方向之间的角度可大于例如10°、15°或20°。可进一步优化空间利用率或负载路径分布。
在实施例中,例如如图4A中所示,转矩臂中的至少一个由框架从下方支承。从下方支承要具体相对于机舱的安装状态来理解。在安装状态下,机舱可安装在塔架上,塔架从支承表面延伸。更具体地,从下方支承可理解为从面向塔架或支承表面的一侧支承转矩臂。在图4A中,从下方支承右侧描绘的转矩臂48。
在实施例中,转矩臂中的至少一个由框架从上方支承。从上方支承可理解为从与面向塔架或塔架的支承表面的一侧相对的一侧支承转矩臂。
在实施例中,例如如图4D-4E中所示,转矩臂中的至少一个沿相对于传动系轴线的横向方向和纵向方向中的至少一个支承。在图4D中所示的实施例中,相对于传动系轴线从横向方向支承左侧描绘的转矩臂48。在图4E中所示的实施例中,相对于传动系轴线从纵向方向支承描绘的两个转矩臂48。例如,可经由插入图4E中描绘的转矩臂48上指示的孔中的螺栓来提供沿纵向方向的支承。
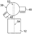
图5示出了根据本公开的实施例的机舱的一部分的示意图。此外,示出了风力涡轮的塔架12的包括偏航轴线54的区段。在所示的实施例中,机舱的中心轴线52与传动系轴线相交并且平行于偏航轴线54延伸。
在实施例中,如图5中所示,机舱构造成使得在安装状态下,传动系轴线和偏航轴线54之间的距离大于1cm。传动系轴线与偏航轴线之间的距离可大于例如1cm、2cm、4cm或8cm。提供传动系轴线与偏航轴线之间的距离可改进机舱中的负载分布或空间利用。
在实施例中,第一转矩臂48的主轴线在与偏航轴线54具有的距离大于1cm、2cm、4cm或8cm的点处与第二转矩臂48的主轴线交叉。
图6示出了根据本公开的在风力涡轮的机舱中支承转矩的方法的实施例的流程图。在具有带有传动系轴线的传动系的风力涡轮的机舱中支承转矩的方法100开始于框110。该方法包括:在框120中,提供围绕传动系轴线定位并附接到传动系的部件的至少两个转矩臂。转矩臂可固定地附接到传动系的部件。
该方法进一步包括:在框130中,提供附接到偏航轴承的框架,其中传动系的转矩臂由框架支承。转矩臂中的至少一个具有至少显著偏离水平的定向。该方法在框140中结束。
本书面描述使用了示例来公开本发明,包括最佳模式,且还使本领域的任何技术人员能够实施本发明,包括制作和使用任何装置或系统,以及执行任何并入的方法。本发明的专利范围由权利要求书限定,且可包括本领域的技术人员想到的其它示例。如果此类其它示例包括并非不同于权利要求书的书面语言的结构元件,或如果它们包括与权利要求书的书面语言无实质差别的等同结构元件,则此类其它示例意图在权利要求书的范围内。
本公开可由以下条款另外概括。
条款1. 一种用于风力涡轮的机舱,该机舱包括:带有传动系轴线的传动系、围绕传动系轴线定位并附接到传动系的部件的至少两个转矩臂,以及附接到偏航轴承的框架,其中传动系的转矩臂由框架支承,并且其中转矩臂中的至少一个具有至少显著偏离水平的定向。
条款2. 条款1所述的机舱,其中转矩臂中的至少一个具有偏离水平至少10°的角度的定向。
条款3. 前述条款中的任何所述的机舱,其中转矩臂中的两个至少显著偏离与彼此平行。
条款4. 前述条款中的任何所述的机舱,其中转矩臂中的至少一个是非线性的。
条款5. 前述条款中的任何所述的机舱,其中转矩臂中的至少一个包括沿第一方向从该部件延伸的第一区段和沿第二方向从第一区段延续的第二区段,其中第一方向和第二方向之间的角度大于10°。
条款6. 前述条款中的任何所述的机舱,其中转矩臂中的至少一个由框架从上方支承。
条款7. 前述条款中的任何所述的机舱,其中转矩臂中的至少一个沿相对于传动系轴线的横向方向和纵向方向中的至少一个支承。
条款8. 前述条款中的任何所述的机舱,构造成使得在安装状态下,传动系轴线和偏航轴线之间的距离大于1cm。
条款9. 一种在具有带有传动系轴线的传动系的风力涡轮的机舱中支承转矩的方法,该方法包括:提供围绕传动系轴线定位并附接到传动系的部件的至少两个转矩臂,以及提供附接到偏航轴承的框架,其中传动系的转矩臂由框架支承,并且其中转矩臂中的至少一个具有至少显著偏离水平的定向。
条款10. 条款9所述的方法,其中转矩臂中的至少一个具有偏离水平至少10°的角度的定向。
条款11. 条款9至10中的任何所述的方法,其中转矩臂中的两个至少显著偏离与彼此平行。
条款12. 条款9至11中的任何所述的方法,其中转矩臂中的至少一个包括沿第一方向从该部件延伸的第一区段和沿第二方向从第一区段延续的第二区段,其中第一方向和第二方向之间的角度大于10°。
条款13. 条款9至12中的任何所述的方法,其中转矩臂中的至少一个由框架从下方支承。
条款14. 条款9至13中的任何所述的方法,其中转矩臂中的至少一个由框架从上方支承。
条款15. 条款9至14中的任何所述的方法,其中转矩臂中的至少一个沿相对于传动系轴线的横向方向和纵向方向中的至少一个支承。
Claims (10)
1.一种用于风力涡轮的机舱,所述机舱包括:
带有传动系轴线的传动系;
围绕所述传动系轴线定位并附接到所述传动系的部件的至少两个转矩臂;以及
附接到偏航轴承的框架,其中
所述传动系的转矩臂由所述框架支承,并且其中所述转矩臂中的至少一个具有至少显著偏离水平的定向。
2.根据权利要求1所述的机舱,其中,所述转矩臂中的至少一个具有偏离水平至少10°的角度的定向。
3.根据前述权利要求中任一项所述的机舱,其中,所述转矩臂中的两个至少显著偏离与彼此平行。
4.根据权利要求1或权利要求2中任一项所述的机舱,其中,所述转矩臂中的至少一个是非线性的。
5.根据权利要求1或权利要求2中任一项所述的机舱,其中,所述转矩臂中的至少一个包括沿第一方向从所述部件延伸的第一区段和沿第二方向从所述第一区段延续的第二区段,其中所述第一方向和所述第二方向之间的角度大于10°。
6.根据权利要求1或权利要求2中任一项所述的机舱,其中,所述转矩臂中的至少一个由所述框架从上方支承。
7.根据权利要求1或权利要求2中任一项所述的机舱,其中,所述转矩臂中的至少一个沿相对于所述传动系轴线的横向方向和纵向方向中的至少一个支承。
8.根据权利要求1或权利要求2中任一项所述的机舱,构造成使得在安装状态下,所述传动系轴线和偏航轴线之间的距离大于1cm。
9.一种在具有带有传动系轴线的传动系的风力涡轮的机舱中支承转矩的方法,所述方法包括:
提供围绕所述传动系轴线定位并附接到所述传动系的部件的至少两个转矩臂;以及
提供附接到偏航轴承的框架,其中所述传动系的转矩臂由所述框架支承,并且其中所述转矩臂中的至少一个具有至少显著偏离水平的定向。
10.根据权利要求9所述的方法,其中,所述转矩臂中的至少一个具有偏离水平至少10°的角度的定向。
Applications Claiming Priority (2)
| Application Number | Priority Date | Filing Date | Title |
|---|---|---|---|
| EP20204397.2A EP3992452A1 (en) | 2020-10-28 | 2020-10-28 | A nacelle for a wind turbine |
| EP20204397.2 | 2020-10-28 |
Publications (1)
| Publication Number | Publication Date |
|---|---|
| CN114483487A true CN114483487A (zh) | 2022-05-13 |
Family
ID=73037808
Family Applications (1)
| Application Number | Title | Priority Date | Filing Date |
|---|---|---|---|
| CN202111266846.6A Pending CN114483487A (zh) | 2020-10-28 | 2021-10-28 | 用于风力涡轮的机舱及在该机舱中支承转矩的方法 |
Country Status (5)
| Country | Link |
|---|---|
| US (2) | US11608816B2 (zh) |
| EP (1) | EP3992452A1 (zh) |
| CN (1) | CN114483487A (zh) |
| BR (1) | BR102021021116A2 (zh) |
| CA (1) | CA3135062A1 (zh) |
Families Citing this family (1)
| Publication number | Priority date | Publication date | Assignee | Title |
|---|---|---|---|---|
| DE102022204901B3 (de) * | 2022-05-17 | 2023-09-07 | Zf Friedrichshafen Ag | Platzsparende Gehäuselagerung |
Family Cites Families (9)
| Publication number | Priority date | Publication date | Assignee | Title |
|---|---|---|---|---|
| US5810558A (en) * | 1996-01-16 | 1998-09-22 | Dresser-Rand Company | Bearing case support arrangement |
| EP1197677B1 (de) * | 2000-10-14 | 2005-09-21 | Franz Mitsch | Getriebelagerung für Windkraftanlagen |
| DE102010044297B4 (de) * | 2010-09-03 | 2022-07-14 | Zf Friedrichshafen Ag | Drehmomentstütze |
| EP2434154A1 (en) * | 2010-09-28 | 2012-03-28 | Siemens Aktiengesellschaft | Wind turbine active damping arrangement |
| PL2508754T3 (pl) * | 2011-04-04 | 2016-10-31 | System napędowy dla siłowni wiatrowej | |
| US10626850B2 (en) | 2015-12-22 | 2020-04-21 | Vestas Wind Systems A/S | Load carrying structure for a multirotor wind turbine |
| US10495210B2 (en) * | 2017-11-09 | 2019-12-03 | General Electric Company | Integral ring gear and torque arm for a wind turbine gearbox |
| EP3880955B1 (en) * | 2018-11-15 | 2023-04-19 | Vestas Wind Systems A/S | A yaw arrangement for a multirotor wind turbine |
| ES3046683T3 (en) * | 2019-03-27 | 2025-12-02 | Gen Electric | System and method for reducing the transport width of a gearbox for a wind turbine |
-
2020
- 2020-10-28 EP EP20204397.2A patent/EP3992452A1/en active Pending
-
2021
- 2021-10-20 CA CA3135062A patent/CA3135062A1/en active Pending
- 2021-10-21 BR BR102021021116-4A patent/BR102021021116A2/pt unknown
- 2021-10-27 US US17/511,796 patent/US11608816B2/en active Active
- 2021-10-28 CN CN202111266846.6A patent/CN114483487A/zh active Pending
-
2023
- 2023-03-20 US US18/186,385 patent/US12188454B2/en active Active
Also Published As
| Publication number | Publication date |
|---|---|
| BR102021021116A2 (pt) | 2022-05-10 |
| US20230228256A1 (en) | 2023-07-20 |
| US12188454B2 (en) | 2025-01-07 |
| US11608816B2 (en) | 2023-03-21 |
| US20220128037A1 (en) | 2022-04-28 |
| EP3992452A1 (en) | 2022-05-04 |
| CA3135062A1 (en) | 2022-04-28 |
Similar Documents
| Publication | Publication Date | Title |
|---|---|---|
| CN102639867B (zh) | 风力机 | |
| CN109219701B (zh) | 多转子风轮机 | |
| US8011887B2 (en) | Rotor blade assembly | |
| US9041239B2 (en) | Vertical axis wind turbine with cambered airfoil blades | |
| US20090224555A1 (en) | Load Supporting Frame Multi-Level Wind Turbine Generator | |
| US11867158B2 (en) | Back-up power supply for wind turbines | |
| WO2011106919A1 (zh) | 风力发电装置 | |
| KR101180860B1 (ko) | 풍력, 태양광 및 운동기구를 이용한 복합발전시스템 | |
| CN219827035U (zh) | 一种风向跟踪发电装置 | |
| CN114623046A (zh) | 用于塔架的塔架节段的系统、相应的塔架节段及风力涡轮 | |
| CN114483487A (zh) | 用于风力涡轮的机舱及在该机舱中支承转矩的方法 | |
| US20150118053A1 (en) | High efficiency vertical axis wind turbine apparatus | |
| JP2006077747A (ja) | 複式一枚羽根風力発電装置 | |
| WO2024119658A1 (zh) | 一种用于兆瓦级的风力发电机组 | |
| US20230323860A1 (en) | Wind turbine frame with flexible coupling | |
| US20240360815A1 (en) | Compact power generator for wind turbine system | |
| KR20250155708A (ko) | 모터를 이용한 회전동력장치 | |
| CN217300764U (zh) | 一种球墨铸铁风力发电机组机座 | |
| US12078149B2 (en) | Cross-flow wind turbine with twin blades and inclined rotation axes | |
| KR101250260B1 (ko) | 멀티형 풍력 발전 장치 | |
| JP2022045298A (ja) | 風力発電機 | |
| CN112012876A (zh) | 风力发电系统 | |
| CN101514688A (zh) | 水平串式垂直轴风力发电系统及方法 |
Legal Events
| Date | Code | Title | Description |
|---|---|---|---|
| PB01 | Publication | ||
| PB01 | Publication | ||
| SE01 | Entry into force of request for substantive examination | ||
| SE01 | Entry into force of request for substantive examination |