CN114474868A - 一种水性革生产的离型纸压纹装置及其工作方法 - Google Patents
一种水性革生产的离型纸压纹装置及其工作方法 Download PDFInfo
- Publication number
- CN114474868A CN114474868A CN202111578515.6A CN202111578515A CN114474868A CN 114474868 A CN114474868 A CN 114474868A CN 202111578515 A CN202111578515 A CN 202111578515A CN 114474868 A CN114474868 A CN 114474868A
- Authority
- CN
- China
- Prior art keywords
- bevel gear
- release paper
- movable
- block
- belt pulley
- Prior art date
- Legal status (The legal status is an assumption and is not a legal conclusion. Google has not performed a legal analysis and makes no representation as to the accuracy of the status listed.)
- Granted
Links
- 238000004049 embossing Methods 0.000 title claims abstract description 112
- 238000004519 manufacturing process Methods 0.000 title claims abstract description 30
- 238000000034 method Methods 0.000 title claims abstract description 29
- 239000010985 leather Substances 0.000 title claims abstract description 28
- XLYOFNOQVPJJNP-UHFFFAOYSA-N water Substances O XLYOFNOQVPJJNP-UHFFFAOYSA-N 0.000 title claims abstract description 18
- 230000005540 biological transmission Effects 0.000 claims description 39
- 238000009434 installation Methods 0.000 claims description 21
- 238000007789 sealing Methods 0.000 claims description 13
- 238000007599 discharging Methods 0.000 claims description 6
- 230000001681 protective effect Effects 0.000 claims description 4
- 230000000712 assembly Effects 0.000 claims description 2
- 238000000429 assembly Methods 0.000 claims description 2
- 238000010923 batch production Methods 0.000 abstract description 3
- 230000008859 change Effects 0.000 description 6
- 230000000694 effects Effects 0.000 description 6
- 238000010586 diagram Methods 0.000 description 4
- 230000008569 process Effects 0.000 description 4
- 230000009471 action Effects 0.000 description 3
- 239000002649 leather substitute Substances 0.000 description 3
- 230000009286 beneficial effect Effects 0.000 description 1
- 239000011247 coating layer Substances 0.000 description 1
- 230000007547 defect Effects 0.000 description 1
- 238000012986 modification Methods 0.000 description 1
- 230000004048 modification Effects 0.000 description 1
Images
Classifications
-
- B—PERFORMING OPERATIONS; TRANSPORTING
- B31—MAKING ARTICLES OF PAPER, CARDBOARD OR MATERIAL WORKED IN A MANNER ANALOGOUS TO PAPER; WORKING PAPER, CARDBOARD OR MATERIAL WORKED IN A MANNER ANALOGOUS TO PAPER
- B31F—MECHANICAL WORKING OR DEFORMATION OF PAPER, CARDBOARD OR MATERIAL WORKED IN A MANNER ANALOGOUS TO PAPER
- B31F1/00—Mechanical deformation without removing material, e.g. in combination with laminating
- B31F1/07—Embossing, i.e. producing impressions formed by locally deep-drawing, e.g. using rolls provided with complementary profiles
-
- H—ELECTRICITY
- H02—GENERATION; CONVERSION OR DISTRIBUTION OF ELECTRIC POWER
- H02K—DYNAMO-ELECTRIC MACHINES
- H02K7/00—Arrangements for handling mechanical energy structurally associated with dynamo-electric machines, e.g. structural association with mechanical driving motors or auxiliary dynamo-electric machines
- H02K7/10—Structural association with clutches, brakes, gears, pulleys or mechanical starters
- H02K7/1004—Structural association with clutches, brakes, gears, pulleys or mechanical starters with pulleys
-
- H—ELECTRICITY
- H02—GENERATION; CONVERSION OR DISTRIBUTION OF ELECTRIC POWER
- H02K—DYNAMO-ELECTRIC MACHINES
- H02K7/00—Arrangements for handling mechanical energy structurally associated with dynamo-electric machines, e.g. structural association with mechanical driving motors or auxiliary dynamo-electric machines
- H02K7/10—Structural association with clutches, brakes, gears, pulleys or mechanical starters
- H02K7/116—Structural association with clutches, brakes, gears, pulleys or mechanical starters with gears
- H02K7/1163—Structural association with clutches, brakes, gears, pulleys or mechanical starters with gears where at least two gears have non-parallel axes without having orbital motion
Landscapes
- Engineering & Computer Science (AREA)
- Power Engineering (AREA)
- Mechanical Engineering (AREA)
- Machines For Manufacturing Corrugated Board In Mechanical Paper-Making Processes (AREA)
Abstract
本发明公开了一种水性革生产的离型纸压纹装置及其工作方法,包括基座,所述基座上端外表面的左侧固定安装有第一侧板,所述基座上端外表面的右侧固定安装有第二侧板,所述第一侧板、第二侧板之间设置有第二压纹辊、第一压纹辊,且所述第二压纹辊位于第一压纹辊的上部,所述第二侧板的一侧外表面固定安装有防护壳,所述第一侧板、第二侧板的中部均开设有活动腔,所述第一压纹辊的两端外表面设置有第一固定块,所述第二压纹辊的两端外表面设置有活动块,所述活动块与第一侧板、第二侧板之间均设置有升降组件。本发明所述的一种水性革生产的离型纸压纹装置及其工作方法,具备便于对离型纸进行压纹,效率高,便于批量生产。
Description
技术领域
本发明涉及离型纸压纹技术领域,具体为一种水性革生产的离型纸压纹装置及其工作方法。
背景技术
离型纸是用于人造皮革的一种特殊防粘纸,其涂层一般具有凹凸状花纹结构,它在人造革与合成革中被大量的使用,现有技术中,申请号为CN202110298974.2的一篇中国专利文件中,记载了一种水性革生产的离型纸压纹装置及其工作方法,该专利通过滑块位于滑动槽内滑动,使得压板主体与压纹底板主体配合对离型纸进行压纹,压纹后,驱动件反向驱动,滑块与一侧的滑动槽脱离,是的第一齿轮与齿条配合,转动件发生转动,第一齿轮与齿条脱离后,滑块通过导向槽进行导向后,滑块与另一侧的滑动槽配合,压板主体与另一侧的压纹底板主体配合对离型纸进行压纹,虽然可以实现压纹,但是,紧能够一次压一片区域,且在压纹的过程中离型纸必须停止不动,不适合批量生产,影响工作效率,为此,我们提出一种水性革生产的离型纸压纹装置及其工作方法。
发明内容
(一)解决的技术问题
针对现有技术的不足,本发明提供了一种水性革生产的离型纸压纹装置及其工作方法,具备便于对离型纸进行压纹,效率高,便于批量生产,可以有效解决背景技术中的问题。
(二)技术方案
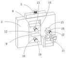
为实现上述目的,本发明采取的技术方案为:一种水性革生产的离型纸压纹装置及其工作方法,包括基座,所述基座上端外表面的左侧固定安装有第一侧板,所述基座上端外表面的右侧固定安装有第二侧板,所述第一侧板、第二侧板之间设置有第二压纹辊、第一压纹辊,且所述第二压纹辊位于第一压纹辊的上部,所述第二侧板的一侧外表面固定安装有防护壳,所述第一侧板、第二侧板的中部均开设有活动腔,所述第一压纹辊的两端外表面设置有第一固定块,所述第二压纹辊的两端外表面设置有活动块,所述活动块与第一侧板、第二侧板之间均设置有升降组件,所述第二侧板的一侧外表面设置有传动组件,所述传动组件与第二侧板之间设置有调节组件。
作为一种优选的技术方案,所述第二压纹辊与活动块之间、第一压纹辊与第一固定块之间均设置有活动轴,所述第二压纹辊、第一压纹辊的两端外表面均通过活动轴与活动块、第一固定块连接,且所述活动轴与活动块、第一固定块之间均设置有密封轴承,所述活动轴与活动块、第一固定块活动连接,且所述传动组件包括第一传动轴、第一皮带轮、变频电机、主动轴、第二皮带轮、第二传动轴与第三皮带轮,且所述第一皮带轮固定安装于第一传动轴的一端外表面,所述第三皮带轮固定安装于第二传动轴的一端外表面。
作为一种优选的技术方案,所述第一传动轴位于活动块的一侧外表面,所述第二传动轴位于第一固定块一侧外表面去,且所述第一传动轴、第二传动轴均与活动轴固定连接。
作为一种优选的技术方案,所述变频电机位于第二侧板的一侧,所述主动轴位于变频电机的一端外表面,所述第二皮带轮固定安装于主动轴的一端外表面,且所述第一皮带轮、第三皮带轮与第二皮带轮之间设置有皮带,所述第一皮带轮、第三皮带轮与第二皮带轮之间通过皮带传动连接,所述调节组件包括固定座、第一安装板、第二安装板、移动块、双轴气缸、滑孔、安装块、连接杆与导杆。
作为一种优选的技术方案,所述固定座固定安装于基座上端外表面的右侧,所述第一安装板固定安装于固定座的一端外表面,所述第二安装板固定安装于固定座的另一端外表面,所述安装块固定安装于变频电机的下端外表面,所述双轴气缸固定安装于第二安装板一侧外表面的上部,所述导杆固定安装于第一安装板与第二安装板之间。
作为一种优选的技术方案,所述滑孔开设于移动块的中部,所述滑孔的一侧外表面与双轴气缸的一端外表面固定连接,所述连接杆固定安装于移动块上端外表面的两端,所述安装块固定安装于连接杆的上端外表面,且所述移动块通过滑孔与导杆的外壁滑动连接。
作为一种优选的技术方案,所述升降组件包括滑槽、滚珠螺母、滑块、滚珠丝杆、活动槽、第一伞齿轮、第二伞齿轮、转动轴、第三伞齿轮、正反电机、转轴、第四伞齿轮、第二固定块与安装箱,且所述安装箱固定安装于第二侧板、第一侧板的上端外表面,所述滑块、滚珠螺母、滚珠丝杆第一伞齿轮、第二伞齿轮、转动轴、第三伞齿轮的数量均为两组,所述滑槽开设于活动腔的两侧,所述活动槽开设于滑槽的一侧,所述滑块固定安装于活动块的两侧外表面。
作为一种优选的技术方案,所述正反电机固定安装于安装箱的上端外表面,所述转轴位于正反电机的下端外表面,所述第四伞齿轮固定安装于转轴的下端外表面,两组所述的转动轴位于活动腔内部的左右两侧,且所述第二固定块位于转动轴中部的外壁,所述第二伞齿轮固定安装于转动轴的一端外表面,所述第三伞齿轮固定安装于转动轴的另一端外表面,两组所述的滚珠丝杆位于活动槽的内部,所述第一伞齿轮固定安装于滚珠丝杆的上端外表面,所述滚珠螺母位于滚珠丝杆的外壁,所述滑块固定安装于滚珠螺母的一侧外表面。
作为一种优选的技术方案,所述第四伞齿轮与第三伞齿轮之间、第二伞齿轮与第一伞齿轮之间相互啮合,所述滚珠螺母与滚珠丝杆之间为螺纹连接,所述滑块与滑槽之间为滑动连接,所述滚珠丝杆与第二侧板之间设置有密封轴承,所述滚珠丝杆通过密封轴承与第二侧板活动连接,所述转动轴与第二固定块之间设置有密封轴承,所述转动轴通过密封轴承与第二固定块活动连接,所述转轴与安装箱之间设置有密封轴承,所述转轴通过密封轴承与安装箱活动连接。
作为一种优选的技术方案的使用方法,包括以下操作步骤:
S1:首先,将待压纹的离型纸通过放料辊放料,将离型纸穿过第二压纹辊与第一压纹辊之间,另一端连接成品收料辊;S2:然后,通过设置的升降组件与调节组件调节第二压纹辊与第一压纹辊之间的间隙大小与皮带的松紧度;S3:最后,通过传动组件带动第二压纹辊与第一压纹辊转动,对离型纸进行压纹处理。
(三)有益效果
与现有技术相比,本发明提供了一种水性革生产的离型纸压纹装置及其工作方法,具备以下有益效果:
1、该一种水性革生产的离型纸压纹装置及其工作方法,首先将待压纹的离型纸穿过第二压纹辊与第一压纹辊之间,将皮带安装在第一皮带轮、第三皮带轮与第二皮带轮之间,通过变频电机的运转带动主动轴的转动,主动轴带动第二皮带轮进行转动,第二皮带轮通过皮带带动第一皮带轮与第三皮带轮进行转动,第一皮带轮与第三皮带轮带动第一压纹辊与第二压纹辊进行转动对穿过的离型纸进行压纹处理,压纹时,不需要离型纸停止传送,生产效率高。
2、该一种水性革生产的离型纸压纹装置及其工作方法,设置的升降组件,为了调节压纹的深度以及根据产品的型号调节第一压纹辊与第二压纹辊之间的间距,通过正反电机的转动带动转轴的转动,转轴带动第四伞齿轮进行转动,第四伞齿轮通过第三伞齿轮带动第二伞齿轮转动,第二伞齿轮带动滚珠丝杆进行转动,滚珠丝杆所述滚珠螺母进行升降,滚珠螺母通过滑块带动活动块在活动腔中升降,且通过丝杆传动,使得升降更加稳定,且活动块带动第二压纹辊进行移动,因此实现第二压纹辊与第一压纹辊之间的间隙便于调节。
3、该一种水性革生产的离型纸压纹装置及其工作方法,在第二压纹辊进行升降时,第一皮带轮的高度就会发生变化,第一皮带轮、第三皮带轮与第二皮带轮之间的皮带的松紧度就会发生变化,为了应对此变化,设置的调节组件,通过双轴气缸的运转推动移动块进行移动,移动块通过连接杆带动变频电机进行移动,变频电机带动第二皮带轮进行移动,便于根据第一皮带轮的位置发生改变时而调节,且通过设置的导杆与滑孔,进一步增加稳定性。
附图说明
图1为本发明一种水性革生产的离型纸压纹装置及其工作方法的整体结构示意图。
图2为本发明一种水性革生产的离型纸压纹装置及其工作方法的局部结构示意图。
图3为本发明一种水性革生产的离型纸压纹装置及其工作方法图2中的局部结构示意图。
图4为本发明一种水性革生产的离型纸压纹装置及其工作方法中调节组件的结构示意图。
图5为本发明一种水性革生产的离型纸压纹装置及其工作方法中升降组件的结构示意图。
图中:1、基座;2、第一侧板;3、第二侧板;4、第一压纹辊;5、升降组件;6、第二压纹辊;7、防护壳;8、活动块;9、第一固定块;10、传动组件;11、调节组件;12、活动腔;13、第一传动轴;14、第一皮带轮;15、变频电机;16、主动轴;17、第二皮带轮;18、第二传动轴;19、第三皮带轮;20、固定座;21、第一安装板;22、第二安装板;23、移动块;24、双轴气缸;25、滑孔;26、安装块;27、连接杆;28、导杆;29、滑槽;30、滚珠螺母;31、滑块;32、滚珠丝杆;33、活动槽;34、第一伞齿轮;35、第二伞齿轮;36、转动轴;37、第三伞齿轮;38、正反电机;39、转轴;40、第四伞齿轮;41、第二固定块;42、安装箱。
具体实施方式
为使本发明实现的技术手段、创作特征、达成目的与功效易于明白了解,下面结合具体实施方式,进一步阐述本发明。
如图1-5所示,一种水性革生产的离型纸压纹装置及其工作方法,包括基座1,基座1上端外表面的左侧固定安装有第一侧板2,基座1上端外表面的右侧固定安装有第二侧板3,第一侧板2、第二侧板3之间设置有第二压纹辊6、第一压纹辊4,且第二压纹辊6位于第一压纹辊4的上部,第二侧板3的一侧外表面固定安装有防护壳7,第一侧板2、第二侧板3的中部均开设有活动腔12,第一压纹辊4的两端外表面设置有第一固定块9,第二压纹辊6的两端外表面设置有活动块8,活动块8与第一侧板2、第二侧板3之间均设置有升降组件5,第二侧板3的一侧外表面设置有传动组件10,传动组件10与第二侧板3之间设置有调节组件11。
进一步的,第二压纹辊6与活动块8之间、第一压纹辊4与第一固定块9之间均设置有活动轴,第二压纹辊6、第一压纹辊4的两端外表面均通过活动轴与活动块8、第一固定块9连接,且活动轴与活动块8、第一固定块9之间均设置有密封轴承,活动轴与活动块8、第一固定块9活动连接,且传动组件10包括第一传动轴13、第一皮带轮14、变频电机15、主动轴16、第二皮带轮17、第二传动轴18与第三皮带轮19,且第一皮带轮14固定安装于第一传动轴13的一端外表面,第三皮带轮19固定安装于第二传动轴18的一端外表面。
进一步的,第一传动轴13位于活动块8的一侧外表面,第二传动轴18位于第一固定块9一侧外表面去,且第一传动轴13、第二传动轴18均与活动轴固定连接。
进一步的,变频电机15位于第二侧板3的一侧,主动轴16位于变频电机15的一端外表面,第二皮带轮17固定安装于主动轴16的一端外表面,且第一皮带轮14、第三皮带轮19与第二皮带轮17之间设置有皮带,第一皮带轮14、第三皮带轮19与第二皮带轮17之间通过皮带传动连接,调节组件11包括固定座20、第一安装板21、第二安装板22、移动块23、双轴气缸24、滑孔25、安装块26、连接杆27与导杆28。
进一步的,固定座20固定安装于基座1上端外表面的右侧,第一安装板21固定安装于固定座20的一端外表面,第二安装板22固定安装于固定座20的另一端外表面,安装块26固定安装于变频电机15的下端外表面,双轴气缸24固定安装于第二安装板22一侧外表面的上部,导杆28固定安装于第一安装板21与第二安装板22之间。
进一步的,滑孔25开设于移动块23的中部,滑孔25的一侧外表面与双轴气缸24的一端外表面固定连接,连接杆27固定安装于移动块23上端外表面的两端,安装块26固定安装于连接杆27的上端外表面,且移动块23通过滑孔25与导杆28的外壁滑动连接。
进一步的,升降组件5包括滑槽29、滚珠螺母30、滑块31、滚珠丝杆32、活动槽33、第一伞齿轮34、第二伞齿轮35、转动轴36、第三伞齿轮37、正反电机38、转轴39、第四伞齿轮40、第二固定块41与安装箱42,且安装箱42固定安装于第二侧板3、第一侧板2的上端外表面,滑块31、滚珠螺母30、滚珠丝杆32第一伞齿轮34、第二伞齿轮35、转动轴36、第三伞齿轮37的数量均为两组,滑槽29开设于活动腔12的两侧,活动槽33开设于滑槽29的一侧,滑块31固定安装于活动块8的两侧外表面。
进一步的,正反电机38固定安装于安装箱42的上端外表面,转轴39位于正反电机38的下端外表面,第四伞齿轮40固定安装于转轴39的下端外表面,两组的转动轴36位于活动腔12内部的左右两侧,且第二固定块41位于转动轴36中部的外壁,第二伞齿轮35固定安装于转动轴36的一端外表面,第三伞齿轮37固定安装于转动轴36的另一端外表面,两组的滚珠丝杆32位于活动槽33的内部,第一伞齿轮34固定安装于滚珠丝杆32的上端外表面,滚珠螺母30位于滚珠丝杆32的外壁,滑块31固定安装于滚珠螺母30的一侧外表面。
进一步的,第四伞齿轮40与第三伞齿轮37之间、第二伞齿轮35与第一伞齿轮34之间相互啮合,滚珠螺母30与滚珠丝杆32之间为螺纹连接,滑块31与滑槽29之间为滑动连接,滚珠丝杆32与第二侧板3之间设置有密封轴承,滚珠丝杆32通过密封轴承与第二侧板3活动连接,转动轴36与第二固定块41之间设置有密封轴承,转动轴36通过密封轴承与第二固定块41活动连接,转轴39与安装箱42之间设置有密封轴承,转轴39通过密封轴承与安装箱42活动连接。
进一步的,包括以下操作步骤:
S1:首先,将待压纹的离型纸通过放料辊放料,将离型纸穿过第二压纹辊6与第一压纹辊4之间,另一端连接成品收料辊;S2:然后,通过设置的升降组件5与调节组件11调节第二压纹辊6与第一压纹辊4之间的间隙大小与皮带的松紧度;S3:最后,通过传动组件10带动第二压纹辊6与第一压纹辊4转动,对离型纸进行压纹处理。
工作原理
首先将待压纹的离型纸穿过第二压纹辊6与第一压纹辊4之间,将皮带安装在第一皮带轮14、第三皮带轮19与第二皮带轮17之间,通过变频电机15的运转带动主动轴16的转动,主动轴16带动第二皮带轮17进行转动,第二皮带轮17通过皮带带动第一皮带轮14与第三皮带轮19进行转动,第一皮带轮14与第三皮带轮19带动第一压纹辊4与第二压纹辊6进行转动对穿过的离型纸进行压纹处理,压纹时,不需要离型纸停止传送,生产效率高;设置的升降组件5,为了调节压纹的深度以及根据产品的型号调节第一压纹辊4与第二压纹辊6之间的间距,通过正反电机38的转动带动转轴39的转动,转轴39带动第四伞齿轮40进行转动,第四伞齿轮40通过第三伞齿轮37带动第二伞齿轮35转动,第二伞齿轮35带动滚珠丝杆32进行转动,滚珠丝杆32滚珠螺母30进行升降,滚珠螺母30通过滑块31带动活动块8在活动腔12中升降,且通过丝杆传动,使得升降更加稳定,且活动块8带动第二压纹辊6进行移动,因此实现第二压纹辊6与第一压纹辊4之间的间隙便于调节;在第二压纹辊6进行升降时,第一皮带轮14的高度就会发生变化,第一皮带轮14、第三皮带轮19与第二皮带轮17之间的皮带的松紧度就会发生变化,为了应对此变化,设置的调节组件11,通过双轴气缸24的运转推动移动块23进行移动,移动块23通过连接杆27带动变频电机15进行移动,变频电机15带动第二皮带轮17进行移动,便于根据第一皮带轮14的位置发生改变时而调节,且通过设置的导杆28与滑孔25,进一步增加稳定性。
需要说明的是,在本文中,诸如第一和第二(一号、二号)等之类的关系术语仅仅用来将一个实体或者操作与另一个实体或操作区分开来,而不一定要求或者暗示这些实体或操作之间存在任何这种实际的关系或者顺序。而且,术语“包括”、“包含”或者其任何其他变体意在涵盖非排他性的包含,从而使得包括一系列要素的过程、方法、物品或者设备不仅包括那些要素,而且还包括没有明确列出的其他要素,或者是还包括为这种过程、方法、物品或者设备所固有的要素。在没有更多限制的情况下,由语句“包括一个……”限定的要素,并不排除在包括所述要素的过程、方法、物品或者设备中还存在另外的相同要素。
以上显示和描述了本发明的基本原理和主要特征和本发明的优点。本行业的技术人员应该了解,本发明不受上述实施例的限制,上述实施例和说明书中描述的只是说明本发明的原理,在不脱离本发明精神和范围的前提下,本发明还会有各种变化和改进,这些变化和改进都落入要求保护的本发明范围内。本发明要求保护范围由所附的权利要求书及其等效物界定。
Claims (10)
1.一种水性革生产的离型纸压纹装置,包括基座(1),其特征在于:所述基座(1)上端外表面的左侧固定安装有第一侧板(2),所述基座(1)上端外表面的右侧固定安装有第二侧板(3),所述第一侧板(2)、第二侧板(3)之间设置有第二压纹辊(6)、第一压纹辊(4),且所述第二压纹辊(6)位于第一压纹辊(4)的上部,所述第二侧板(3)的一侧外表面固定安装有防护壳(7),所述第一侧板(2)、第二侧板(3)的中部均开设有活动腔(12),所述第一压纹辊(4)的两端外表面设置有第一固定块(9),所述第二压纹辊(6)的两端外表面设置有活动块(8),所述活动块(8)与第一侧板(2)、第二侧板(3)之间均设置有升降组件(5),所述第二侧板(3)的一侧外表面设置有传动组件(10),所述传动组件(10)与第二侧板(3)之间设置有调节组件(11)。
2.根据权利要求1所述的一种水性革生产的离型纸压纹装置,其特征在于:所述第二压纹辊(6)与活动块(8)之间、第一压纹辊(4)与第一固定块(9)之间均设置有活动轴,所述第二压纹辊(6)、第一压纹辊(4)的两端外表面均通过活动轴与活动块(8)、第一固定块(9)连接,且所述活动轴与活动块(8)、第一固定块(9)之间均设置有密封轴承,所述活动轴与活动块(8)、第一固定块(9)活动连接,且所述传动组件(10)包括第一传动轴(13)、第一皮带轮(14)、变频电机(15)、主动轴(16)、第二皮带轮(17)、第二传动轴(18)与第三皮带轮(19),且所述第一皮带轮(14)固定安装于第一传动轴(13)的一端外表面,所述第三皮带轮(19)固定安装于第二传动轴(18)的一端外表面。
3.根据权利要求2所述的一种水性革生产的离型纸压纹装置,其特征在于:所述第一传动轴(13)位于活动块(8)的一侧外表面,所述第二传动轴(18)位于第一固定块(9)一侧外表面去,且所述第一传动轴(13)、第二传动轴(18)均与活动轴固定连接。
4.根据权利要求2所述的一种水性革生产的离型纸压纹装置,其特征在于:所述变频电机(15)位于第二侧板(3)的一侧,所述主动轴(16)位于变频电机(15)的一端外表面,所述第二皮带轮(17)固定安装于主动轴(16)的一端外表面,且所述第一皮带轮(14)、第三皮带轮(19)与第二皮带轮(17)之间设置有皮带,所述第一皮带轮(14)、第三皮带轮(19)与第二皮带轮(17)之间通过皮带传动连接,所述调节组件(11)包括固定座(20)、第一安装板(21)、第二安装板(22)、移动块(23)、双轴气缸(24)、滑孔(25)、安装块(26)、连接杆(27)与导杆(28)。
5.根据权利要求4所述的一种水性革生产的离型纸压纹装置,其特征在于:所述固定座(20)固定安装于基座(1)上端外表面的右侧,所述第一安装板(21)固定安装于固定座(20)的一端外表面,所述第二安装板(22)固定安装于固定座(20)的另一端外表面,所述安装块(26)固定安装于变频电机(15)的下端外表面,所述双轴气缸(24)固定安装于第二安装板(22)一侧外表面的上部,所述导杆(28)固定安装于第一安装板(21)与第二安装板(22)之间。
6.根据权利要求4所述的一种水性革生产的离型纸压纹装置,其特征在于:所述滑孔(25)开设于移动块(23)的中部,所述滑孔(25)的一侧外表面与双轴气缸(24)的一端外表面固定连接,所述连接杆(27)固定安装于移动块(23)上端外表面的两端,所述安装块(26)固定安装于连接杆(27)的上端外表面,且所述移动块(23)通过滑孔(25)与导杆(28)的外壁滑动连接。
7.根据权利要求1所述的一种水性革生产的离型纸压纹装置,其特征在于:所述升降组件(5)包括滑槽(29)、滚珠螺母(30)、滑块(31)、滚珠丝杆(32)、活动槽(33)、第一伞齿轮(34)、第二伞齿轮(35)、转动轴(36)、第三伞齿轮(37)、正反电机(38)、转轴(39)、第四伞齿轮(40)、第二固定块(41)与安装箱(42),且所述安装箱(42)固定安装于第二侧板(3)、第一侧板(2)的上端外表面,所述滑块(31)、滚珠螺母(30)、滚珠丝杆(32)第一伞齿轮(34)、第二伞齿轮(35)、转动轴(36)、第三伞齿轮(37)的数量均为两组,所述滑槽(29)开设于活动腔(12)的两侧,所述活动槽(33)开设于滑槽(29)的一侧,所述滑块(31)固定安装于活动块(8)的两侧外表面。
8.根据权利要求7所述的一种水性革生产的离型纸压纹装置,其特征在于:所述正反电机(38)固定安装于安装箱(42)的上端外表面,所述转轴(39)位于正反电机(38)的下端外表面,所述第四伞齿轮(40)固定安装于转轴(39)的下端外表面,两组所述的转动轴(36)位于活动腔(12)内部的左右两侧,且所述第二固定块(41)位于转动轴(36)中部的外壁,所述第二伞齿轮(35)固定安装于转动轴(36)的一端外表面,所述第三伞齿轮(37)固定安装于转动轴(36)的另一端外表面,两组所述的滚珠丝杆(32)位于活动槽(33)的内部,所述第一伞齿轮(34)固定安装于滚珠丝杆(32)的上端外表面,所述滚珠螺母(30)位于滚珠丝杆(32)的外壁,所述滑块(31)固定安装于滚珠螺母(30)的一侧外表面。
9.根据权利要求7所述的一种水性革生产的离型纸压纹装置,其特征在于:所述第四伞齿轮(40)与第三伞齿轮(37)之间、第二伞齿轮(35)与第一伞齿轮(34)之间相互啮合,所述滚珠螺母(30)与滚珠丝杆(32)之间为螺纹连接,所述滑块(31)与滑槽(29)之间为滑动连接,所述滚珠丝杆(32)与第二侧板(3)之间设置有密封轴承,所述滚珠丝杆(32)通过密封轴承与第二侧板(3)活动连接,所述转动轴(36)与第二固定块(41)之间设置有密封轴承,所述转动轴(36)通过密封轴承与第二固定块(41)活动连接,所述转轴(39)与安装箱(42)之间设置有密封轴承,所述转轴(39)通过密封轴承与安装箱(42)活动连接。
10.根据权利要求1所述的一种水性革生产的离型纸压纹装置的使用方法,其特征在于:包括以下操作步骤:S1:首先,将待压纹的离型纸通过放料辊放料,将离型纸穿过第二压纹辊(6)与第一压纹辊(4)之间,另一端连接成品收料辊;S2:然后,通过设置的升降组件(5)与调节组件(11)调节第二压纹辊(6)与第一压纹辊(4)之间的间隙大小与皮带的松紧度;S3:最后,通过传动组件(10)带动第二压纹辊(6)与第一压纹辊(4)转动,对离型纸进行压纹处理。
Priority Applications (1)
| Application Number | Priority Date | Filing Date | Title |
|---|---|---|---|
| CN202111578515.6A CN114474868B (zh) | 2021-12-22 | 2021-12-22 | 一种水性革生产的离型纸压纹装置及其工作方法 |
Applications Claiming Priority (1)
| Application Number | Priority Date | Filing Date | Title |
|---|---|---|---|
| CN202111578515.6A CN114474868B (zh) | 2021-12-22 | 2021-12-22 | 一种水性革生产的离型纸压纹装置及其工作方法 |
Publications (2)
| Publication Number | Publication Date |
|---|---|
| CN114474868A true CN114474868A (zh) | 2022-05-13 |
| CN114474868B CN114474868B (zh) | 2024-02-27 |
Family
ID=81494642
Family Applications (1)
| Application Number | Title | Priority Date | Filing Date |
|---|---|---|---|
| CN202111578515.6A Active CN114474868B (zh) | 2021-12-22 | 2021-12-22 | 一种水性革生产的离型纸压纹装置及其工作方法 |
Country Status (1)
| Country | Link |
|---|---|
| CN (1) | CN114474868B (zh) |
Cited By (2)
| Publication number | Priority date | Publication date | Assignee | Title |
|---|---|---|---|---|
| CN115748169B (zh) * | 2022-12-30 | 2024-09-10 | 东阳市金茂塑胶有限公司 | 一种精准可调式压纹设备 |
| CN118893872A (zh) * | 2024-10-09 | 2024-11-05 | 上海赢发医用复合材料有限公司 | 一种离型纸加工用压合装置 |
Citations (21)
| Publication number | Priority date | Publication date | Assignee | Title |
|---|---|---|---|---|
| JPH0518447A (ja) * | 1991-07-09 | 1993-01-26 | Mazda Motor Corp | エンジンのベルト張力制御装置 |
| KR100209773B1 (ko) * | 1994-06-22 | 1999-07-15 | 정몽규 | 자동차용 엔진의 벨트장력 조절장치 |
| KR20030096945A (ko) * | 2002-06-18 | 2003-12-31 | 현대자동차주식회사 | 상용차용 동력전달벨트의 장력조정장치 |
| JP2005220945A (ja) * | 2004-02-03 | 2005-08-18 | Mitsubishi Fuso Truck & Bus Corp | エンジンのベルト張力調整装置 |
| CN201894252U (zh) * | 2010-11-16 | 2011-07-13 | 陈聿丰 | 拉链机 |
| CN203040604U (zh) * | 2013-01-21 | 2013-07-10 | 湖南城头山红薯食品科技有限公司 | 红薯粉丝自动烘干系统 |
| CN203827106U (zh) * | 2014-04-09 | 2014-09-10 | 梁仙标 | 一种用于变频励磁发电机组的升降装置 |
| CN104043726A (zh) * | 2014-05-21 | 2014-09-17 | 法拉达汽车散热器(天津)有限公司 | 散热器芯体主片的加工设备 |
| CN109322102A (zh) * | 2018-09-30 | 2019-02-12 | 惠州南镁丝带制品有限公司 | 一种方便使用的彩带压纹装置 |
| CN109941793A (zh) * | 2019-03-26 | 2019-06-28 | 惠州南镁丝带制品有限公司 | 一种丝带自动压纹生产线及其压纹工艺 |
| CN111844918A (zh) * | 2020-07-13 | 2020-10-30 | 湖南康洁母婴用品股份有限公司 | 一种用于纸巾生产的便于调节纹路深浅度的压花机构 |
| CN212183317U (zh) * | 2020-06-15 | 2020-12-18 | 青岛港国际股份有限公司 | 牵引铁牛自控用电的发电装置 |
| CN212168236U (zh) * | 2019-11-08 | 2020-12-18 | 西安德创自动化工程有限公司 | 一种触摸屏生产用输送设备 |
| CN212472607U (zh) * | 2020-06-01 | 2021-02-05 | 福建谐和合成革有限公司 | 一种具有升降结构便于调节的压纹机 |
| CN212865315U (zh) * | 2020-05-14 | 2021-04-02 | 安庆丰格无纺布有限公司 | 一种无纺布生产用压花机 |
| CN213322018U (zh) * | 2020-09-24 | 2021-06-01 | 湖北德力兴食品股份有限公司 | 一种自动化压平机 |
| CN113059862A (zh) * | 2021-03-20 | 2021-07-02 | 浙江博力莫新材料科技有限公司 | 一种水性革生产的离型纸压纹装置及其工作方法 |
| CN113334753A (zh) * | 2021-05-31 | 2021-09-03 | 安徽嘉阳新材料科技有限公司 | 装饰膜在线一次性压纹装置 |
| CN214179070U (zh) * | 2020-12-22 | 2021-09-14 | 太原市博诚康德生物科技有限公司 | 一种便于移动的饲料原料生产装置 |
| CN113417854A (zh) * | 2021-08-10 | 2021-09-21 | 唐子怡 | 一种螺杆式压缩机用皮带传动装置 |
| CN215203448U (zh) * | 2021-06-15 | 2021-12-17 | 佛山市威仕达新材料有限公司 | 一种人造革压纹装置 |
-
2021
- 2021-12-22 CN CN202111578515.6A patent/CN114474868B/zh active Active
Patent Citations (22)
| Publication number | Priority date | Publication date | Assignee | Title |
|---|---|---|---|---|
| JPH0518447A (ja) * | 1991-07-09 | 1993-01-26 | Mazda Motor Corp | エンジンのベルト張力制御装置 |
| KR100209773B1 (ko) * | 1994-06-22 | 1999-07-15 | 정몽규 | 자동차용 엔진의 벨트장력 조절장치 |
| KR20030096945A (ko) * | 2002-06-18 | 2003-12-31 | 현대자동차주식회사 | 상용차용 동력전달벨트의 장력조정장치 |
| JP2005220945A (ja) * | 2004-02-03 | 2005-08-18 | Mitsubishi Fuso Truck & Bus Corp | エンジンのベルト張力調整装置 |
| CN1657753A (zh) * | 2004-02-03 | 2005-08-24 | 三菱扶桑卡客车株式会社 | 皮带张力的调节装置 |
| CN201894252U (zh) * | 2010-11-16 | 2011-07-13 | 陈聿丰 | 拉链机 |
| CN203040604U (zh) * | 2013-01-21 | 2013-07-10 | 湖南城头山红薯食品科技有限公司 | 红薯粉丝自动烘干系统 |
| CN203827106U (zh) * | 2014-04-09 | 2014-09-10 | 梁仙标 | 一种用于变频励磁发电机组的升降装置 |
| CN104043726A (zh) * | 2014-05-21 | 2014-09-17 | 法拉达汽车散热器(天津)有限公司 | 散热器芯体主片的加工设备 |
| CN109322102A (zh) * | 2018-09-30 | 2019-02-12 | 惠州南镁丝带制品有限公司 | 一种方便使用的彩带压纹装置 |
| CN109941793A (zh) * | 2019-03-26 | 2019-06-28 | 惠州南镁丝带制品有限公司 | 一种丝带自动压纹生产线及其压纹工艺 |
| CN212168236U (zh) * | 2019-11-08 | 2020-12-18 | 西安德创自动化工程有限公司 | 一种触摸屏生产用输送设备 |
| CN212865315U (zh) * | 2020-05-14 | 2021-04-02 | 安庆丰格无纺布有限公司 | 一种无纺布生产用压花机 |
| CN212472607U (zh) * | 2020-06-01 | 2021-02-05 | 福建谐和合成革有限公司 | 一种具有升降结构便于调节的压纹机 |
| CN212183317U (zh) * | 2020-06-15 | 2020-12-18 | 青岛港国际股份有限公司 | 牵引铁牛自控用电的发电装置 |
| CN111844918A (zh) * | 2020-07-13 | 2020-10-30 | 湖南康洁母婴用品股份有限公司 | 一种用于纸巾生产的便于调节纹路深浅度的压花机构 |
| CN213322018U (zh) * | 2020-09-24 | 2021-06-01 | 湖北德力兴食品股份有限公司 | 一种自动化压平机 |
| CN214179070U (zh) * | 2020-12-22 | 2021-09-14 | 太原市博诚康德生物科技有限公司 | 一种便于移动的饲料原料生产装置 |
| CN113059862A (zh) * | 2021-03-20 | 2021-07-02 | 浙江博力莫新材料科技有限公司 | 一种水性革生产的离型纸压纹装置及其工作方法 |
| CN113334753A (zh) * | 2021-05-31 | 2021-09-03 | 安徽嘉阳新材料科技有限公司 | 装饰膜在线一次性压纹装置 |
| CN215203448U (zh) * | 2021-06-15 | 2021-12-17 | 佛山市威仕达新材料有限公司 | 一种人造革压纹装置 |
| CN113417854A (zh) * | 2021-08-10 | 2021-09-21 | 唐子怡 | 一种螺杆式压缩机用皮带传动装置 |
Cited By (2)
| Publication number | Priority date | Publication date | Assignee | Title |
|---|---|---|---|---|
| CN115748169B (zh) * | 2022-12-30 | 2024-09-10 | 东阳市金茂塑胶有限公司 | 一种精准可调式压纹设备 |
| CN118893872A (zh) * | 2024-10-09 | 2024-11-05 | 上海赢发医用复合材料有限公司 | 一种离型纸加工用压合装置 |
Also Published As
| Publication number | Publication date |
|---|---|
| CN114474868B (zh) | 2024-02-27 |
Similar Documents
| Publication | Publication Date | Title |
|---|---|---|
| CN114474868A (zh) | 一种水性革生产的离型纸压纹装置及其工作方法 | |
| CN110355611B (zh) | 方管生产线 | |
| CN220825733U (zh) | 一种日用陶瓷加工用滚压机 | |
| CN111229519A (zh) | 一种用于温锻作业的石墨喷涂装置及其使用方法 | |
| CN111842621A (zh) | 一种回转式轮毂垫片生产用高效冲压机 | |
| CN220298180U (zh) | 一种压花模具 | |
| CN210255596U (zh) | 一种锻压模具触头打磨装置 | |
| CN220837428U (zh) | 一种可调节的冲压装置 | |
| CN219769512U (zh) | 一种铝板压花的压花深度调节结构 | |
| CN215705392U (zh) | 压纹机构及压纹机 | |
| CN211389305U (zh) | 钢模旋压陶瓷成型机 | |
| CN210876915U (zh) | 一种能够适应多种厚度原材料的卷圆机 | |
| CN2528558Y (zh) | 可控制罐体折边长度及角度的制罐折边机 | |
| CN219009068U (zh) | 一种喇叭底盘连续冲裁模的送料装置 | |
| CN212148199U (zh) | 一种用于门板生产的新型压花机 | |
| CN206230963U (zh) | 用于水性油墨印刷的柔性纸压花机构 | |
| CN216443055U (zh) | 一种提高压花效果的塑料制品加工用压花辊 | |
| CN220841550U (zh) | 一种锂电池生产辊压机 | |
| CN215435005U (zh) | 一种用于聚酯纤维吸音板生产的压花装置 | |
| CN218619342U (zh) | 一种金属放料机用放料机构 | |
| CN222040096U (zh) | 一种不锈钢板压花装置 | |
| CN212499431U (zh) | 一种预辊涂铝卷印花装置 | |
| CN222984470U (zh) | 一种腻子粉细化设备 | |
| CN222175557U (zh) | 一种汽车零部件冲压用废料回收结构 | |
| CN214872949U (zh) | 下模浮动支撑机构及碳刷成型机下模装置 |
Legal Events
| Date | Code | Title | Description |
|---|---|---|---|
| PB01 | Publication | ||
| PB01 | Publication | ||
| SE01 | Entry into force of request for substantive examination | ||
| SE01 | Entry into force of request for substantive examination | ||
| GR01 | Patent grant | ||
| GR01 | Patent grant |