CN114459247A - A cast aluminum smelting furnace head - Google Patents
A cast aluminum smelting furnace head Download PDFInfo
- Publication number
- CN114459247A CN114459247A CN202210097025.2A CN202210097025A CN114459247A CN 114459247 A CN114459247 A CN 114459247A CN 202210097025 A CN202210097025 A CN 202210097025A CN 114459247 A CN114459247 A CN 114459247A
- Authority
- CN
- China
- Prior art keywords
- fixedly connected
- bevel gear
- long shaft
- furnace
- motor
- Prior art date
- Legal status (The legal status is an assumption and is not a legal conclusion. Google has not performed a legal analysis and makes no representation as to the accuracy of the status listed.)
- Granted
Links
Images
Classifications
-
- F—MECHANICAL ENGINEERING; LIGHTING; HEATING; WEAPONS; BLASTING
- F27—FURNACES; KILNS; OVENS; RETORTS
- F27D—DETAILS OR ACCESSORIES OF FURNACES, KILNS, OVENS OR RETORTS, IN SO FAR AS THEY ARE OF KINDS OCCURRING IN MORE THAN ONE KIND OF FURNACE
- F27D3/00—Charging; Discharging; Manipulation of charge
- F27D3/14—Charging or discharging liquid or molten material
-
- F—MECHANICAL ENGINEERING; LIGHTING; HEATING; WEAPONS; BLASTING
- F27—FURNACES; KILNS; OVENS; RETORTS
- F27M—INDEXING SCHEME RELATING TO ASPECTS OF THE CHARGES OR FURNACES, KILNS, OVENS OR RETORTS
- F27M2001/00—Composition, conformation or state of the charge
- F27M2001/01—Charges containing mainly non-ferrous metals
- F27M2001/012—Aluminium
-
- F—MECHANICAL ENGINEERING; LIGHTING; HEATING; WEAPONS; BLASTING
- F27—FURNACES; KILNS; OVENS; RETORTS
- F27M—INDEXING SCHEME RELATING TO ASPECTS OF THE CHARGES OR FURNACES, KILNS, OVENS OR RETORTS
- F27M2003/00—Type of treatment of the charge
- F27M2003/13—Smelting
-
- Y—GENERAL TAGGING OF NEW TECHNOLOGICAL DEVELOPMENTS; GENERAL TAGGING OF CROSS-SECTIONAL TECHNOLOGIES SPANNING OVER SEVERAL SECTIONS OF THE IPC; TECHNICAL SUBJECTS COVERED BY FORMER USPC CROSS-REFERENCE ART COLLECTIONS [XRACs] AND DIGESTS
- Y02—TECHNOLOGIES OR APPLICATIONS FOR MITIGATION OR ADAPTATION AGAINST CLIMATE CHANGE
- Y02P—CLIMATE CHANGE MITIGATION TECHNOLOGIES IN THE PRODUCTION OR PROCESSING OF GOODS
- Y02P10/00—Technologies related to metal processing
- Y02P10/20—Recycling
Landscapes
- Engineering & Computer Science (AREA)
- Mechanical Engineering (AREA)
- General Engineering & Computer Science (AREA)
- Vertical, Hearth, Or Arc Furnaces (AREA)
- Manufacture And Refinement Of Metals (AREA)
Abstract
本发明涉及铸铝熔炼领域,具体的说是一种铸铝熔炼炉头,所述炉头本体上方且中心位置与电机通过升降机构固定连接,所述炉头本体下方转动连接有长轴,所述长轴通过锥齿轮与传动杆和涡轮蜗杆相配合,所述传动杆底部固定连接有滑块,安装时通过电机旋转带动长轴配合锥齿轮传动,带动传动杆底端的滑块与炉身固定,便于安装拆卸,关闭电机并重新启动,升降机构推动电机上移,锥齿轮脱离啮合状态,从而带动进料装置高速旋转,相对于现有的熔炼炉头,节省经济成本,节约安装时间,通过进料装置和炉头内的刮壁板以及出料口绞龙配合,大大提高单位时间内铝液的出入量。
The invention relates to the field of cast aluminum smelting, in particular to a cast aluminum smelting furnace head. The upper and central position of the furnace head body is fixedly connected with a motor through a lifting mechanism, and a long shaft is rotatably connected under the furnace head body, so The long shaft is matched with the transmission rod and the turbine worm through the bevel gear, and the bottom of the transmission rod is fixedly connected with a slider. During installation, the motor is rotated to drive the long shaft to cooperate with the bevel gear to drive the slider at the bottom of the transmission rod to be fixed with the furnace body. , easy to install and disassemble, turn off the motor and restart, the lifting mechanism pushes the motor up, the bevel gear disengages from the meshing state, thereby driving the feeding device to rotate at a high speed, compared with the existing melting furnace head, saving economic costs and installation time, by The feeding device cooperates with the scraper wall plate in the furnace head and the auger at the discharge port, which greatly improves the intake and output of molten aluminum per unit time.
Description
技术领域technical field
本发明涉及铸铝熔炼领域,具体的说是一种铸铝熔炼炉头。The invention relates to the field of cast aluminum smelting, in particular to a cast aluminum smelting furnace head.
背景技术Background technique
铸铝是一种将纯铝或铝合金锭按标准的成份比例配制后,经过人工加热将其变成铝合金液体或熔融状态后再通过专业的模具或相应工艺将铝液或熔融状态的铝合金浇注进型腔,经冷却形成所需要形状铝件的一种工艺方法。铸铝所用的铝,称为铸造铝合金在熔炼铝锭的过程中,需要将融化的铝液通过炉头倒在铝锭模具中;Cast aluminum is a kind of pure aluminum or aluminum alloy ingot prepared according to the standard composition ratio, artificially heated to turn it into aluminum alloy liquid or molten state, and then the aluminum liquid or molten aluminum is converted into molten aluminum or molten aluminum through professional molds or corresponding processes. A process method in which the alloy is poured into the cavity and cooled to form an aluminum part of the desired shape. The aluminum used for casting aluminum is called cast aluminum alloy. In the process of smelting aluminum ingots, the molten aluminum needs to be poured into the aluminum ingot mold through the furnace head;
现有的炉头整体化,不便于安装,支撑效果差,一但发生损坏需要更换整个炉头,成本太高,且炉头内部铝液流动速度缓慢,无法提高单位时间内铝液的出入量。The existing furnace head is integrated, which is inconvenient to install and has poor supporting effect. Once the damage occurs, the entire furnace head needs to be replaced, which is too expensive, and the flow speed of the molten aluminum inside the furnace head is slow, which cannot increase the amount of molten aluminum in and out per unit time. .
鉴于此,为了克服上述技术问题,本发明设计了一种,解决了上述技术问题。In view of this, in order to overcome the above-mentioned technical problems, the present invention has designed a method to solve the above-mentioned technical problems.
发明内容SUMMARY OF THE INVENTION
本发明所要解决的技术问题是:现有的炉头整体化,不便于安装,支撑效果差,一但发生损坏需要更换整个炉头,成本太高,且炉头内部铝液流动速度缓慢,无法提高单位时间内铝液的出入量的问题。The technical problems to be solved by the present invention are: the existing furnace head is integrated, which is inconvenient to install and has poor supporting effect. Once the damage occurs, the entire furnace head needs to be replaced, which is too expensive, and the flow speed of the molten aluminum inside the furnace head is slow, which cannot be The problem of increasing the amount of molten aluminum in and out per unit time.
本发明提供的一种铸铝熔炼炉头,包括炉头本体,所述炉头本体上方且中心位置与电机通过升降机构固定连接,所述炉头本体内部中心位置开设有通孔,所述炉头本体下方转动连接有长轴且位于通孔内,所述电机下方设有进料装置且与长轴固定连接,所述长轴贯穿炉头本体内部,所述长轴顶端固定连接有一号锥齿轮,所述一号锥齿轮左右两侧均配合有二号锥齿轮,所述炉头本体内部位于二号锥齿轮远离电机一端开设有一号传动槽,所述一号传动槽内壁通过一号轴承转动连接有一号传动杆,所述一号传动杆远离长轴的一端均固定连接有涡轮,所述炉头本体内部且位于一号传动杆远离长轴的一端下方开设有二号传动槽,所述二号传动槽内壁通过两个二号轴承转动连接二号传动杆,所述二号传动杆上方固定连接有蜗杆,所述蜗杆与涡轮相啮合,所述二号传动杆下端固定连接有固定装置。The present invention provides a cast aluminum smelting furnace head, including a furnace head body, the upper part of the furnace head body and the central position are fixedly connected with a motor through a lifting mechanism, a through hole is opened in the inner center of the furnace head body, and the furnace head body A long shaft is rotatably connected to the bottom of the head body and is located in the through hole. A feeding device is arranged below the motor and is fixedly connected to the long shaft. The long shaft runs through the interior of the furnace head body, and a number cone is fixedly connected to the top of the long shaft. Gears, the left and right sides of the No. 1 bevel gear are equipped with No. 2 bevel gears, and the inside of the furnace head body is located at the end of the No. 2 bevel gear away from the motor with a No. 1 transmission groove, and the inner wall of the No. 1 transmission groove passes through the No. 1 bearing. A No. 1 transmission rod is rotatably connected, and one end of the No. 1 transmission rod away from the long axis is fixedly connected with a turbine, and a No. 2 transmission groove is opened inside the furnace head body and below the end of the No. 1 transmission rod away from the long axis, so The inner wall of the No. 2 transmission groove is rotatably connected to the No. 2 transmission rod through two No. 2 bearings, a worm is fixedly connected above the No. 2 transmission rod, the worm is meshed with the turbine, and the lower end of the No. 2 transmission rod is fixedly connected with a fixed device.
优选的,所述进料装置包括环形进料管、一号进料管和二号进料管,所述环形进料管上方外表面开设有环形槽,所述一号进料管底端与环形槽相连通,所述二号进料管为多个且呈阵列固定连接在环形槽下端且位于炉头本体内部,所述长轴中端且位于炉头本体内部固定连接有刮壁板,所述炉头本体内部且位于刮壁板下方开设有出料口,所述长轴末端固定连接绞龙且位于出料口内部。Preferably, the feeding device includes an annular feeding pipe, a No. 1 feeding pipe and a No. 2 feeding pipe, an annular groove is formed on the upper outer surface of the annular feeding pipe, and the bottom end of the No. 1 feeding pipe is connected to the bottom end of the No. 1 feeding pipe. The annular grooves are communicated with each other, the No. 2 feeding pipes are multiple and are fixedly connected to the lower end of the annular groove and located inside the furnace head body in an array, and the middle end of the long shaft is fixedly connected with a scraper wall plate located inside the furnace head body. A discharge port is opened inside the burner body and below the scraper, and the end of the long shaft is fixedly connected to the auger and located inside the discharge port.
优选的,所述刮壁板呈阶梯状固定连接长轴上,所述刮壁板外表面开设有导流槽。Preferably, the scraper wall plate is fixedly connected to the long axis in a stepped shape, and a diversion groove is formed on the outer surface of the scraper wall plate.
优选的,所述固定装置包括二号传动杆和滑块,所述滑块为弧形,所述滑块固定连接在二号传动杆下端,所述在炉身上表面开设有弧形槽。Preferably, the fixing device includes a No. 2 transmission rod and a sliding block, the sliding block is arc-shaped, the sliding block is fixedly connected to the lower end of the No. 2 transmission rod, and an arc-shaped groove is formed on the surface of the furnace body.
优选的,所述升降机构包括底板和推动杆,所述底板与炉头本体通过推动杆固定连接。Preferably, the lifting mechanism includes a bottom plate and a push rod, and the bottom plate and the burner body are fixedly connected by the push rod.
优选的,所述炉头本体上表面固定连接有吊耳,所述吊耳中间开设有圆孔。Preferably, a lifting lug is fixedly connected to the upper surface of the burner body, and a circular hole is opened in the middle of the lifting lug.
本发明的有益效果如下:The beneficial effects of the present invention are as follows:
1.本发明通过在炉头本体上设有电机,安装时,电机能通过锥齿轮传动带动二号传动杆旋转,从而将二号传动杆底端的滑块与炉身上表面的弧形槽配合,固定整个炉身的平稳,相对于现有的熔炼炉头,更便于安装与拆卸。1. The present invention is provided with a motor on the furnace head body. During installation, the motor can drive the No. 2 transmission rod to rotate through bevel gear transmission, so that the slider at the bottom of the No. 2 transmission rod is matched with the arc groove on the surface of the furnace body. The stability of the entire furnace body is fixed, and compared with the existing melting furnace head, it is more convenient to install and disassemble.
2.本发明通过在炉头本体内部安装进料装置,当安装固定好炉头本体时,电机下方的电动推杆推动电机上移,使得二号锥齿轮与一号锥齿轮脱离啮合状态,长轴带动进料装置高速旋转,旋转产生的离心力使铝液加快进入炉头本体内部,通过炉头本体内部的刮壁板和出料口绞龙的配合,加快流速提高单位时间内铝液的灌注量。2. The present invention installs the feeding device inside the burner body. When the burner body is installed and fixed, the electric push rod under the motor pushes the motor to move up, so that the No. 2 bevel gear and the No. 1 bevel gear are disengaged, and the long The shaft drives the feeding device to rotate at a high speed, and the centrifugal force generated by the rotation accelerates the entry of the molten aluminum into the furnace head body. quantity.
附图说明Description of drawings
为了更清楚地说明本发明具体实施方式或现有技术中的技术方案,下面将对具体实施方式或现有技术描述中所需要使用的附图作简单地介绍,显而易见地,下面描述中的附图是本发明的一些实施方式,对于本领域普通技术人员来讲,在不付出创造性劳动的前提下,还可以根据这些附图获得其他的附图。In order to illustrate the specific embodiments of the present invention or the technical solutions in the prior art more clearly, the following briefly introduces the accompanying drawings that need to be used in the description of the specific embodiments or the prior art. Obviously, the accompanying drawings in the following description The drawings are some embodiments of the present invention. For those of ordinary skill in the art, other drawings can also be obtained based on these drawings without creative efforts.
图1是本发明的工作状态示意图;Fig. 1 is the working state schematic diagram of the present invention;
图2是本发明的整体结构示意图;Fig. 2 is the overall structure schematic diagram of the present invention;
图3是本发明图2中的A-A方向剖视图;Fig. 3 is the A-A direction sectional view in Fig. 2 of the present invention;
图4是本发明的进料装置结构示意图;Fig. 4 is the structural representation of the feeding device of the present invention;
图5是本发明图2中的B-B方向剖视图;Fig. 5 is the B-B direction sectional view in Fig. 2 of the present invention;
图6是本发明的炉身22上表面示意图。FIG. 6 is a schematic view of the upper surface of the
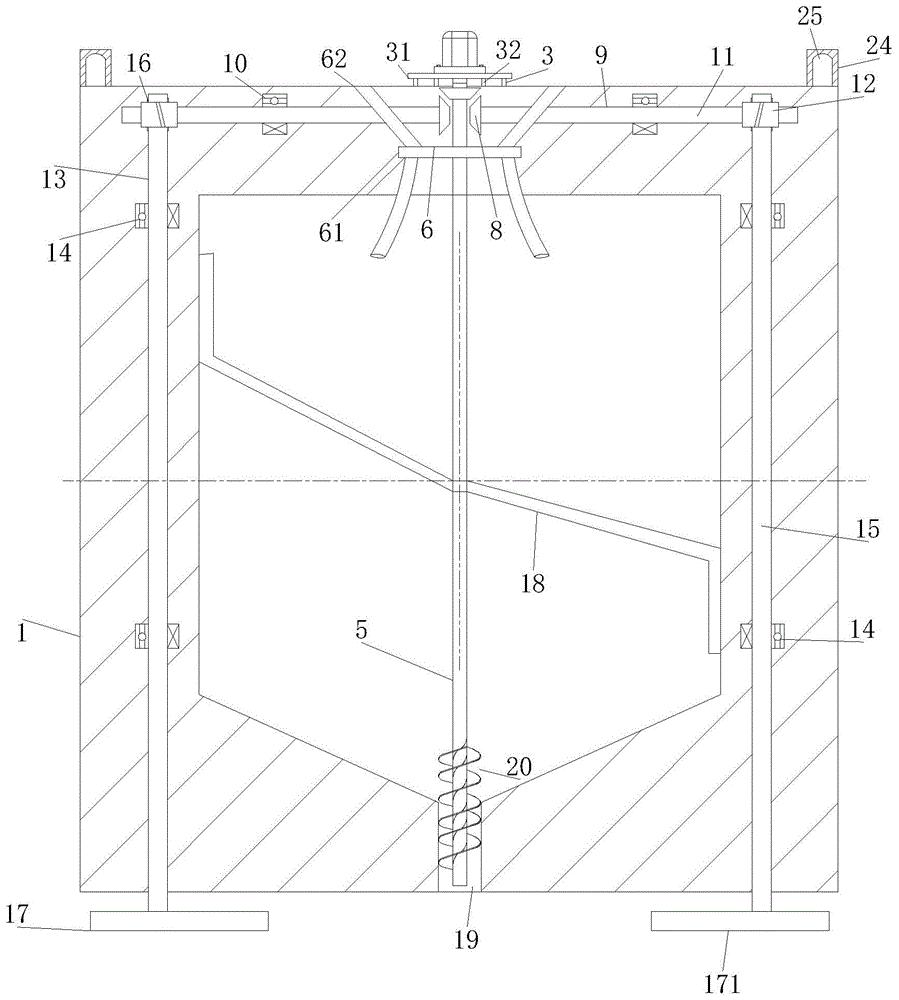
图中:炉头本体1、电机2、升降机构3、通孔4、长轴5、进料装置6、一号锥齿轮7、二号锥齿轮8、一号传动槽9、一号轴承10、一号传动杆11、涡轮12、二号传动槽13、二号轴承14、二号传动杆15、蜗杆16、固定装置17、环形进料管61、一号进料管62、二号进料管63、环形槽611、刮壁板18、出料口19、绞龙20、导流槽21、滑块171、底板31、电动推杆32、炉身22、弧形槽23、吊耳24、圆孔25。In the figure: furnace head body 1, motor 2,
具体实施方式Detailed ways
为了使本发明实现的技术手段、创作特征、达成目的与功效易于明白了解,下面结合具体实施方式,进一步阐述本发明。In order to make it easy to understand the technical means, creation features, achieved goals and effects of the present invention, the present invention will be further described below with reference to the specific embodiments.
本发明提供了一种铸铝熔炼炉头,包括炉头本体1,所述炉头本体1上方且中心位置与电机2通过升降机构3固定连接,所述炉头本体1内部中心位置开设有通孔4,所述炉头本体1下方转动连接有长轴5且位于通孔4内,所述电机2下方设有进料装置6且与长轴5固定连接,所述长轴5贯穿炉头本体1内部,所述长轴5顶端固定连接有一号锥齿轮7,所述一号锥齿轮7左右两侧均配合有二号锥齿轮8,所述炉头本体1内部位于二号锥齿轮8远离电机2一端开设有一号传动槽9,所述一号传动槽9内壁通过一号轴承10转动连接有一号传动杆11,所述一号传动杆11远离长轴5的一端均固定连接有涡轮12,所述炉头本体1内部且位于一号传动杆11远离长轴5的一端下方开设有二号传动槽13,所述二号传动槽13内壁通过两个二号轴承14转动连接二号传动杆15,所述二号传动杆15上方固定连接有蜗杆16,所述蜗杆16与涡轮12相啮合,所述二号传动杆15下端固定连接有固定装置17。The present invention provides a cast aluminum smelting furnace head, comprising a furnace head body 1, the upper part of the furnace head body 1 and the central position of the furnace head body 1 are fixedly connected with the motor 2 through a
本发明所述的一种铸铝熔炼炉头,在炉头本体1上方固定连接电机2,安装时,使用者打开电机2,电机2转动带动下方连接的长轴5旋转,长轴5位于炉头本体1通孔4内,长轴5旋转带动固定连接在外表面的进料装置6转动,且长轴5贯穿炉头本体1内部,在安装炉头本体1时,电机2转动带动整个长轴5旋转于炉头本体1内部,在长轴5的顶端固定连接有一号锥齿轮7,长轴5转动时一号锥齿轮7跟着运动,与之相啮合的二号锥齿轮8也转动,在二号锥齿轮8远离长轴5的一侧开设有一号传动槽9,二号锥齿轮8远离长轴5的一侧固定连接一号传动杆11且与一号传动槽9内壁的一号轴承10转动连接,二号锥齿轮8转动时,一号传动杆11随之转动,从而带动固定连接在一号传动杆11末端的涡轮12,涡轮12继而带动与之啮合的蜗杆16运动,炉头本体1内部且位于一号传动杆11远离长轴5的一端下方开设有二号传动槽13,蜗杆16下方固定连接有二号传动杆15,并与位于二号传动槽13内壁的两个二号轴承14转动连接,当蜗杆16运动时,带动二号传动杆15转动,从而使得固定连接在二号传动杆15末端的固定装置17固定在炉身22上表面,使用时,升降机构3上升,二号锥齿轮8与一号锥齿轮7脱离啮合状态,电机2带动长轴5旋转,从而带动进料装置6工作。In the cast aluminum smelting furnace head of the present invention, a motor 2 is fixedly connected above the furnace head body 1. During installation, the user turns on the motor 2, and the motor 2 rotates to drive the
作为本发明的一种具体实施方式,所述进料装置6包括环形进料管61、一号进料管62和二号进料管63,所述环形进料管61上方外表面开设有环形槽611,所述一号进料管62底端与环形槽611相连通,所述二号进料管63为多个且呈阵列固定连接在环形槽611下端且位于炉头本体1内部,所述长轴5中端且位于炉头本体1内部固定连接有刮壁板18,所述炉头本体1内部且位于刮壁板18下方开设有出料口19,所述长轴5末端固定连接绞龙20且位于出料口19内部。As a specific embodiment of the present invention, the
使用者打开电机2使用时,长轴5外表面的进料装置6随之运动,铝液从一号进料管62中进入,随即经过环形槽611从二号进料管63进入炉头本体1内部,为了防止铝液从环形槽611内部溢出,本发明在输送铝液时严格控制铝液的单位时间内的流量,当长轴5转动时,阵列布置在炉头本体1内部的二号进料管63会高速旋转,可以使二号进料管63中的铝液经过高速旋转产生的离心力加快进入炉头本体1内部,相对于传统的管道运输,本发明通过旋转产生的离心力能够加速铝液的流动,提高单位时间内铝液的灌注量,铝液进入本体内部后会经过随长轴5旋转的绞龙20加快流速,从底部出料口19流出。When the user turns on the motor 2 for use, the
作为本发明的一种具体实施方式,所述刮壁板18呈阶梯状固定连接长轴5上,所述刮壁板18外表面开设有导流槽21。As a specific embodiment of the present invention, the
当铝液受二号进料口63高速旋转时,会通过离心力甩到炉头本体1内部的内壁上,所以在长轴5中段固定连接刮壁板18,随长轴5旋转,继而刮掉残留在内壁的铝液,刮壁板18呈阶梯状,能够使得部分落在刮壁板18表面的铝液快速的流落,防止在刮壁板18表面沉积,刮壁板18外表面开设有导流槽21,刮下来的铝液可经过导流槽21随着绞龙20加快流出。When the molten aluminum is rotated at a high speed by the No. 2
作为本发明的一种具体实施方式,所述固定装置17包括二号传动杆15和滑块171,所述滑块171为弧形,所述滑块171固定连接在二号传动杆15下端,所述在炉身22上表面开设有弧形槽23。As a specific embodiment of the present invention, the fixing
在二号转动杆15的末端固定连接滑块171,滑块171为弧形,在安装时,将炉头本体1吊在炉身22上方且将滑块171与炉身22上表面的弧形槽23相对应,电机2旋转带动一号锥齿轮7运动,与之啮合的二号锥齿轮8带动一号传动杆11和涡轮12蜗杆16与二号传动杆15旋转,二号传动杆15转动滑块171配合炉身22上表面的环形凹槽从而固定整个炉身22的平稳,也便于安装拆卸。A sliding
作为本发明的一种具体实施方式,所述升降机构3包括底板31和电动推杆32,所述底板31与炉头本体1通过电动推杆32固定连接。As a specific embodiment of the present invention, the
电机2停止后启动升降机构3,电动推杆32推动底板31,底板31上端电机2上移,带动下方一号锥齿轮7和二号锥齿轮8脱离啮合状态,电机2带动长轴5旋转,从而带动进料装置6工作。After the motor 2 stops, start the
作为本发明的一种具体实施方式,所述炉头本体1上表面固定连接有吊耳24,所述吊耳24中间开设有圆孔25。As a specific embodiment of the present invention, a lifting
在整个炉头本体1的外表面固定有两个吊耳24,吊耳24的中间设为圆孔25形状,方便于定位安装。Two lifting lugs 24 are fixed on the outer surface of the entire burner body 1 , and the middle of the lifting lugs 24 is formed in the shape of a
工作原理:本发明所述的一种铸铝熔炼炉头,在炉头本体1上方固定连接电机2,安装时,使用者打开电机2,电机2转动带动下方连接的长轴5旋转,长轴5位于炉头本体1通孔4内,长轴5旋转带动固定连接在外表面的进料装置6转动,且长轴5贯穿炉头本体1内部,在安装炉头本体1时,电机2转动带动整个长轴5旋转于炉头本体1内部,在长轴5的顶端固定连接有一号锥齿轮7,长轴5转动时一号锥齿轮7跟着运动,与之相啮合的二号锥齿轮8也转动,在二号锥齿轮8右侧开设有一号传动槽9,二号锥齿轮8右侧固定连接一号传动杆11且与一号传动槽9内壁的一号轴承10转动连接,二号锥齿轮8转动时,一号传动杆11随之转动,从而带动固定连接在一号传动杆11末端的涡轮12,涡轮12继而带动与之啮合的蜗杆16运动,炉头本体1内部且位于一号传动杆11远离长轴5的一端下方开设有二号传动槽13,蜗杆16下方固定连接有二号传动杆15,并与位于二号传动槽13内壁的两个二号轴承14转动连接,当蜗杆16运动时,带动二号传动杆15转动,从而使得固定连接在二号传动杆15末端的固定装置17固定在炉身22上表面,使用时,升降机构3上升,二号锥齿轮8与一号锥齿轮7脱离啮合状态,电机2带动长轴5旋转,从而带动进料装置6工作。Working principle: The cast aluminum smelting furnace head of the present invention is fixedly connected to the motor 2 above the furnace head body 1. During installation, the user turns on the motor 2, and the motor 2 rotates to drive the
使用者打开电机2使用时,长轴5外表面的进料装置6随之运动,铝液从一号进料管62中进入,随即经过环形槽611从二号进料管63进入炉头本体1内部,为了防止铝液从环形槽611内部溢出,本发明在输送铝液时严格控制铝液的单位时间内的流量,当长轴5转动时,阵列布置在炉头本体1内部的二号进料管63会高速旋转,可以使管内铝液经过高速旋转产生的离心力加快进入炉头本体1内部,相对于传统的管道运输,本发明通过旋转产生的离心力能够加速铝液的流动,提高单位时间内铝液的灌注量,铝液进入本体内部后会经过随长轴5旋转的绞龙20加快流速,从底部出料口19流出。When the user turns on the motor 2 for use, the
当铝液受二号进料口高速旋转时,会通过离心力甩到炉头本体1内部的内壁上,所以在长轴5中段固定连接刮壁板18,随长轴5旋转,继而刮掉残留在内壁的铝液,刮壁板18呈阶梯状,能够使得部分落在刮壁板表面的铝业快速的流落,防止在刮壁板18表面沉积,刮壁板18外表面开设有导流槽21,刮下来的铝液可经过导流槽21随着绞龙20加快流出。When the molten aluminum is rotated at a high speed by the No. 2 feeding port, it will be thrown onto the inner wall of the furnace head body 1 by centrifugal force, so the
在二号转动杆的末端固定连接滑块171,滑块171为弧形,在安装时,将炉头本体1吊在炉身22上方且将滑块171与炉身22上表面的弧形槽23相对应,电机2旋转带动一号锥齿轮7运动,与之啮合的二号锥齿轮8带动一号传动杆11和涡轮12蜗杆16与二号传动杆15旋转,二号传动杆15转动滑块171配合炉身22的弧形槽23从而固定整个炉身22的平稳,也便于安装拆卸。A sliding
电机2停止后打开升降机构3,电动推杆32推动底板31,底板31上端电机2上移,带动下方一号锥齿轮7和二号锥齿轮8脱离啮合状态,电机2带动长轴5旋转,从而带动进料装置6工作。After the motor 2 stops, the
在整个炉头本体1的外表面固定有两个吊耳24,固定架的中间设为圆孔25形状,方便于定位安装。Two lifting lugs 24 are fixed on the outer surface of the entire burner body 1 , and the middle of the fixing frame is formed in the shape of a
以上显示和描述了本发明的基本原理、主要特征和优点。本行业的技术人员应该了解,本发明不受上述实施例的限制,上述实施例和说明书中描述的只是说明本发明的原理,在不脱离本发明精神和范围的前提下,本发明还会有各种变化和改进,这些变化和改进都落入要求保护的本发明范围内。本发明要求保护范围由所附的权利要求书及其等效物界定。The foregoing has shown and described the basic principles, main features and advantages of the present invention. Those skilled in the art should understand that the present invention is not limited by the above-mentioned embodiments, and the descriptions in the above-mentioned embodiments and the description are only to illustrate the principle of the present invention. Without departing from the spirit and scope of the present invention, the present invention will have Various changes and modifications fall within the scope of the claimed invention. The claimed scope of the present invention is defined by the appended claims and their equivalents.
Claims (6)
Priority Applications (1)
| Application Number | Priority Date | Filing Date | Title |
|---|---|---|---|
| CN202210097025.2A CN114459247B (en) | 2022-01-26 | 2022-01-26 | Aluminum casting smelting furnace head |
Applications Claiming Priority (1)
| Application Number | Priority Date | Filing Date | Title |
|---|---|---|---|
| CN202210097025.2A CN114459247B (en) | 2022-01-26 | 2022-01-26 | Aluminum casting smelting furnace head |
Publications (2)
| Publication Number | Publication Date |
|---|---|
| CN114459247A true CN114459247A (en) | 2022-05-10 |
| CN114459247B CN114459247B (en) | 2025-05-09 |
Family
ID=81410902
Family Applications (1)
| Application Number | Title | Priority Date | Filing Date |
|---|---|---|---|
| CN202210097025.2A Active CN114459247B (en) | 2022-01-26 | 2022-01-26 | Aluminum casting smelting furnace head |
Country Status (1)
| Country | Link |
|---|---|
| CN (1) | CN114459247B (en) |
Citations (7)
| Publication number | Priority date | Publication date | Assignee | Title |
|---|---|---|---|---|
| WO2009092672A1 (en) * | 2008-01-23 | 2009-07-30 | Paul-Heinz Wagner | Screwdriver |
| CN104646655A (en) * | 2013-11-25 | 2015-05-27 | 泰州市稳兴冶金电力机械厂 | Cast aluminum smelting furnace end |
| CN208806681U (en) * | 2018-09-11 | 2019-04-30 | 海禾动力科技(天津)有限公司 | A kind of servo motor facilitating installation |
| CN111322865A (en) * | 2020-03-04 | 2020-06-23 | 赵纪明 | Cast aluminum smelting furnace end |
| CN112108638A (en) * | 2020-08-26 | 2020-12-22 | 金文应 | Cast aluminum smelting furnace end |
| CN212957547U (en) * | 2020-06-04 | 2021-04-13 | 陕西欣朗建设工程有限公司 | Ascending device for house internal and external decoration |
| CN113294655A (en) * | 2021-05-25 | 2021-08-24 | 盐城工业职业技术学院 | Multi-functional preparation industrial chemicals's chemical industry equipment |
-
2022
- 2022-01-26 CN CN202210097025.2A patent/CN114459247B/en active Active
Patent Citations (7)
| Publication number | Priority date | Publication date | Assignee | Title |
|---|---|---|---|---|
| WO2009092672A1 (en) * | 2008-01-23 | 2009-07-30 | Paul-Heinz Wagner | Screwdriver |
| CN104646655A (en) * | 2013-11-25 | 2015-05-27 | 泰州市稳兴冶金电力机械厂 | Cast aluminum smelting furnace end |
| CN208806681U (en) * | 2018-09-11 | 2019-04-30 | 海禾动力科技(天津)有限公司 | A kind of servo motor facilitating installation |
| CN111322865A (en) * | 2020-03-04 | 2020-06-23 | 赵纪明 | Cast aluminum smelting furnace end |
| CN212957547U (en) * | 2020-06-04 | 2021-04-13 | 陕西欣朗建设工程有限公司 | Ascending device for house internal and external decoration |
| CN112108638A (en) * | 2020-08-26 | 2020-12-22 | 金文应 | Cast aluminum smelting furnace end |
| CN113294655A (en) * | 2021-05-25 | 2021-08-24 | 盐城工业职业技术学院 | Multi-functional preparation industrial chemicals's chemical industry equipment |
Also Published As
| Publication number | Publication date |
|---|---|
| CN114459247B (en) | 2025-05-09 |
Similar Documents
| Publication | Publication Date | Title |
|---|---|---|
| CN212634234U (en) | Mould convenient to wear-resisting tup casting is used | |
| CN220304229U (en) | Discharging structure for matte smelting converter | |
| CN114459247A (en) | A cast aluminum smelting furnace head | |
| CN220717762U (en) | Ductile iron casting cooling device | |
| CN220462203U (en) | Collecting structure and gypsum type investment casting quantitative pouring device | |
| CN217941246U (en) | A clean mechanism fast for aluminium cistern | |
| CN215237782U (en) | Zinc alloy automatic casting device | |
| CN117139606A (en) | A sand casting pouring system and pouring method for double-channel pump body parts | |
| CN214148808U (en) | Intermediate frequency smelting furnace with adjustable discharge port size | |
| CN115711532A (en) | Novel casting furnace with detachable base and using method thereof | |
| CN222846606U (en) | Glass melting device | |
| CN222660069U (en) | Aluminum liquid pouring device for aluminum ingot production | |
| CN109226700B (en) | U-shaped water-cooled stirring device and method for preparing semi-solid metal slurry | |
| CN118482576A (en) | Molten slag removing device in smelting for producing aluminum slab ingot and working method | |
| CN218168652U (en) | A Continuous Casting Crystal Mold Flux Baking Device | |
| CN207806614U (en) | Prevent clinker from entering cavity device during a kind of casting pouring | |
| CN210966956U (en) | Casting device of small-size steel casting | |
| CN220970739U (en) | High-efficiency aluminum alloy ingot rapid cooling device | |
| CN221695246U (en) | A parallel casting device for refining recycled copper | |
| CN218310790U (en) | Molten aluminum filling mechanism for die casting machine | |
| CN222761362U (en) | A non-ferrous metal smelting furnace with built-in regulating device | |
| CN223210464U (en) | Automatic supply device for die-casting raw materials of aluminum shells of lamps | |
| CN223255366U (en) | Sulfur oxygen inoculant adding device for casting | |
| CN222934449U (en) | Thermal insulation mortar storage device | |
| CN222499215U (en) | Automatic spheroidizing machine for processing ductile cast iron castings |
Legal Events
| Date | Code | Title | Description |
|---|---|---|---|
| PB01 | Publication | ||
| PB01 | Publication | ||
| SE01 | Entry into force of request for substantive examination | ||
| SE01 | Entry into force of request for substantive examination | ||
| TA01 | Transfer of patent application right | ||
| TA01 | Transfer of patent application right |
Effective date of registration: 20250410 Address after: 533000 Poverty Alleviation Standard Factory Building Project in Quyang Town Aluminum Industrial Park (Tangma Village Industrial Park, Quyang Town), Jingxi City, Baise City, Guangxi Zhuang Autonomous Region Applicant after: Guangxi Tianmai New Material Technology Co.,Ltd. Country or region after: China Address before: 213000 room 1201, building 21, nanlongjiayuan, Wujin District, Changzhou City, Jiangsu Province Applicant before: Li Pengcheng Country or region before: China |
|
| GR01 | Patent grant | ||
| GR01 | Patent grant |
