CN114375700A - Reed and straw broken wall reducing mechanism - Google Patents

Reed and straw broken wall reducing mechanism Download PDF

Info

Publication number
CN114375700A
CN114375700A CN202210130748.8A CN202210130748A CN114375700A CN 114375700 A CN114375700 A CN 114375700A CN 202210130748 A CN202210130748 A CN 202210130748A CN 114375700 A CN114375700 A CN 114375700A
Authority
CN
China
Prior art keywords
crushing
rotating
pulverizing
cylinder
blade
Prior art date
Legal status (The legal status is an assumption and is not a legal conclusion. Google has not performed a legal analysis and makes no representation as to the accuracy of the status listed.)
Granted
Application number
CN202210130748.8A
Other languages
Chinese (zh)
Other versions
CN114375700B (en
Inventor
刘晓红
辛小辉
Current Assignee (The listed assignees may be inaccurate. Google has not performed a legal analysis and makes no representation or warranty as to the accuracy of the list.)
Zhongnongweiye Beijing Food Co ltd
Original Assignee
Zhongnongweiye Beijing Food Co ltd
Priority date (The priority date is an assumption and is not a legal conclusion. Google has not performed a legal analysis and makes no representation as to the accuracy of the date listed.)
Filing date
Publication date
Application filed by Zhongnongweiye Beijing Food Co ltd filed Critical Zhongnongweiye Beijing Food Co ltd
Priority to CN202210130748.8A priority Critical patent/CN114375700B/en
Priority claimed from CN202210130748.8A external-priority patent/CN114375700B/en
Publication of CN114375700A publication Critical patent/CN114375700A/en
Application granted granted Critical
Publication of CN114375700B publication Critical patent/CN114375700B/en
Active legal-status Critical Current
Anticipated expiration legal-status Critical

Links

Images

Classifications

    • AHUMAN NECESSITIES
    • A01AGRICULTURE; FORESTRY; ANIMAL HUSBANDRY; HUNTING; TRAPPING; FISHING
    • A01FPROCESSING OF HARVESTED PRODUCE; HAY OR STRAW PRESSES; DEVICES FOR STORING AGRICULTURAL OR HORTICULTURAL PRODUCE
    • A01F29/00Cutting apparatus specially adapted for cutting hay, straw or the like
    • A01F29/02Cutting apparatus specially adapted for cutting hay, straw or the like having rotating knives with their cutting edges in a plane perpendicular to their rotational axis
    • AHUMAN NECESSITIES
    • A01AGRICULTURE; FORESTRY; ANIMAL HUSBANDRY; HUNTING; TRAPPING; FISHING
    • A01FPROCESSING OF HARVESTED PRODUCE; HAY OR STRAW PRESSES; DEVICES FOR STORING AGRICULTURAL OR HORTICULTURAL PRODUCE
    • A01F15/00Baling presses for straw, hay or the like
    • AHUMAN NECESSITIES
    • A01AGRICULTURE; FORESTRY; ANIMAL HUSBANDRY; HUNTING; TRAPPING; FISHING
    • A01FPROCESSING OF HARVESTED PRODUCE; HAY OR STRAW PRESSES; DEVICES FOR STORING AGRICULTURAL OR HORTICULTURAL PRODUCE
    • A01F29/00Cutting apparatus specially adapted for cutting hay, straw or the like
    • A01F29/09Details

Landscapes

  • Life Sciences & Earth Sciences (AREA)
  • Environmental Sciences (AREA)
  • Crushing And Pulverization Processes (AREA)

Abstract

本发明提出涉及农业设备领域,一种芦苇及秸秆破壁粉碎装置,其中粉碎组件为筒状,导入通道主体横置,导入通道的第一端为入料端,导入通道的第二端为出料端,导入通道的第二端与粉碎组件的入料口对接,导入通道的入料口设置在导入通道第一端的顶部,粉碎组件内部具有用于破碎杆状农作物的刀片组件,该刀片组件切斜设置形成扇叶状态,杆状农作物由入料口投入导入通道后,经负压吸入到粉碎组件中完成杆状农作物的破碎。该装置可对杆状农作物进行粉碎处理,同时可除去杂物,粉碎杆状农作物后可打包粉碎颗粒。

Figure 202210130748

The invention proposes a reed and straw wall-breaking and pulverizing device related to the field of agricultural equipment, wherein the pulverizing component is cylindrical, the main body of the introduction channel is placed horizontally, the first end of the introduction channel is the input end, and the second end of the introduction channel is the outlet At the material end, the second end of the introduction channel is butted with the feeding port of the crushing component. The feeding port of the introduction channel is arranged on the top of the first end of the introduction channel. Inside the crushing component, there is a blade component for crushing rod-shaped crops. The components are set obliquely to form a fan blade state. After the rod-shaped crops are put into the introduction channel from the feeding port, they are sucked into the crushing components by negative pressure to complete the crushing of the rod-shaped crops. The device can pulverize rod-shaped crops, remove sundries, and can pack and pulverize the rod-shaped crops after crushing the rod-shaped crops.

Figure 202210130748

Description

Reed and straw broken wall reducing mechanism
Technical Field
The invention relates to the field of agricultural equipment, in particular to a device for breaking walls of reeds and straws.
Background
The biological quantity of the reed is high, and the reed leaves, the reed flowers, the reed stems, the reed roots and the asparagus can be used in animal husbandry, and the feeding value is high. The domestic animals like to eat the tender stems and leaves of the reed, and the reed land can be used as a cutting lawn or used for both grazing and mowing, and is suitable for large horses and cattle grazing. Besides grazing, the pasture can also be used for sun-curing hay and silage, and after silage, the pasture has strong fragrance. Similarly, the straw can also be used as feed for animal husbandry. In addition, the reed and the straw have wide application in the field of fermented bacterial manure and organic fertilizer.
In the prior art, both the harvested reeds and the harvested straws are rod-shaped crops, and how to crush the reeds and the straws into smaller particles and strips on a large scale and then pack the particles and the straws becomes a problem to be solved in the field.
In the prior art, some agricultural crushers can finish crushing work of rod-shaped crops, the crushers in the prior art are not suitable for large-scale operation due to weak processing capacity, and if sundries which are difficult to crush, such as stones and the like are mixed in the rod-shaped crops, the sundries can be mixed into crushed particles and damage equipment. The field also urgently needs an integrated device for quickly packaging the crushed particles.
Disclosure of Invention
In order to solve the problems, the invention provides a reed and straw wall-breaking smashing device which can smash rod-shaped crops, can remove sundries, and can pack and smash particles after smashing the rod-shaped crops.
In order to achieve the purpose, the invention adopts the technical scheme that:
the utility model provides a reed and straw broken wall reducing mechanism, includes leading-in passageway and crushing unit, and wherein crushing unit is the tube-shape, leading-in passageway main part is horizontal, and the first end of leading-in passageway is the pan feeding end, and the second end of leading-in passageway is the discharge end, and the second end of leading-in passageway docks with crushing unit's pan feeding mouth, the pan feeding mouth of leading-in passageway sets up the top at the first end of leading-in passageway, crushing unit is inside to have a blade subassembly that is used for broken rod-shaped crops, and this blade subassembly cuts oblique setting and forms the flabellum state, rod-shaped crops throw into leading-in passageway by the pan feeding mouth after, accomplish the breakage of rod-shaped crops in the crushing unit through the negative pressure suction.
Preferably, the leading-in channel body is obliquely arranged, the angle of inclination of the leading-in channel body is 1-10 degrees, and the second end of the leading-in channel is higher than the first end of the leading-in channel.
Preferably, the end surface of the first end of the introduction channel is covered with a first breathable net; and impurity isolating bulges for preventing impurities from entering the crushing assembly are arranged on the inner wall of the bottom side of the leading-in channel at positions close to the second end.
As preferred, crushing unit includes crushing barrel, driving motor, drive shaft, smashes blade group, crushing blade group and support, and wherein the first end of crushing barrel is sealed and the second end is opened, the support mounting is held at the second of crushing barrel, and driving motor sets up the outside of the first end of crushing barrel, and driving motor's output and the first end power connection of drive shaft, the drive shaft pass crushing barrel first end and main part setting in the inside axle center department of crushing barrel, the second end and the support rotatable coupling of drive shaft, driving motor can drive the drive shaft and rotate in crushing barrel, smash the middle part that blade group set up at the drive shaft, crushing blade group sets up and is close to second end department at the drive shaft.
Preferably, the crushing cutter group set comprises a first crushing cutter group, a second crushing cutter group and a third crushing cutter group, the first crushing cutter group, the second crushing cutter group and the third crushing cutter group are respectively provided with at least three blades, and the free tail ends of the blades in the first crushing cutter group, the second crushing cutter group and the third crushing cutter group are close to the inner wall of the rotating cylinder; the projections of the blades in the first crushing cutter group, the second crushing cutter group and the third crushing cutter group in the axial direction of the rotating cylinder are staggered;
the roots of blades in the first crushing cutter group, the second crushing cutter group and the third crushing cutter group are connected with the driving shaft, and the tail ends of the blades in the first crushing cutter group are bent towards the first end of the rotating cylinder; the blades in the second breaking cutter group incline towards the first end of the rotating cylinder; the end of the blade in the third crushing cutter group bends towards the second end of the rotating cylinder, and the blades in the first crushing cutter group, the second crushing cutter group and the third crushing cutter group can overturn when the rod-shaped crops are primarily crushed.
Preferably, the inner wall of the rotating cylinder is further provided with a guide convex ring, the guide convex ring is arranged between the smashing blade group and the first end of the rotating cylinder and close to the smashing blade group, and the guide convex ring is used for guiding the rod-shaped crops to enter an effective smashing interval of the smashing blade group; the inner wall that rotates a section of thick bamboo still is equipped with two sets of leak protection bulge loops, and is two sets of the leak protection bulge loop sets up respectively and smashes between the section of gyration of knife tackle blade end with the second at first smashing between the section of gyration of knife tackle blade end and the second smashes between the section of gyration of knife tackle blade end and the third smashes between the section of gyration of knife tackle blade end, the leak protection bulge loop is arranged in preventing that shaft-like crops from smashing the clearance department between the free end of blade and the rotation section of thick bamboo inner wall in the knife tackle and leaking.
Preferably, the crushing blade set comprises two fixed crushing blades and two rotary crushing blades, the outer ring end of each fixed crushing blade is fixedly connected with the inner wall of the crushing barrel, the middle part of each fixed crushing blade is rotatably connected with the driving shaft, the root part of each rotary crushing blade is connected with the driving shaft, the two fixed crushing blades and the two rotary crushing blades are alternately arranged in the rotary barrel, and the opposite cutting edges of the fixed crushing blades and the rotary crushing blades are acting surfaces for crushing rod-shaped crops; the fixed crushing knife and the rotary crushing knife are obliquely arranged from one side close to the driving shaft to the direction far away from the driving shaft and towards the second end of the rotary drum, so that the rod-shaped crops are guided to the outer ring direction of the fixed crushing knife and the rotary crushing knife.
Preferably, the rotating cylinder is arranged obliquely, and the position of the first end of the rotating cylinder is lower than that of the second end of the rotating cylinder; the driving shaft is also provided with a fan blade for driving the gas in the rotating cylinder to flow from the first end of the rotating cylinder to the second end of the rotating cylinder; the rotating shaft is also provided with an anti-sinking deflector rod, the root of the anti-sinking deflector rod is connected with the rotating shaft, and the front end of the anti-sinking deflector rod main body extends to an included angle between the annular wall of the rotating cylinder and the first end surface of the rotating cylinder; the front end of the anti-sinking deflector rod is bent towards the circumferential direction of the rotating cylinder to form a bending section, and the anti-sinking deflector rod is used for pulling up rod-shaped crops immersed at the included angle between the annular wall of the cylinder and the first end face of the rotating cylinder and guiding the rod-shaped crops to an effective air flowing interval.
Preferably, the reed and straw wall breaking and crushing device further comprises a communicating pipe and a buffering material guide cylinder, wherein the first end of the communicating pipe is in butt joint with the discharge end of the crushing assembly, the buffering material guide cylinder is in a vertical cylindrical shape, the second end of the communicating pipe is in butt joint with the position, close to the lower end, of the annular wall of the buffering material guide cylinder, the lower end of the buffering material guide cylinder is open, and a second breathable net covers the upper end of the buffering material guide cylinder.
Preferably, the reed and straw wall breaking and crushing device further comprises a briquetting and packaging device, the briquetting and packaging device comprises a stepping motor, a turntable device and a paper pressing device, the turntable device is provided with a rotating disc, the power end of the feeding motor is connected to the rotating disc and can drive the rotating disc to rotate in a stepping mode, the rotating disc is provided with four working positions, the four working positions on the rotating disc are respectively a paper pressing working position, a material discharging working position, a compacting working position and a material returning working position which are sequentially arranged from the rotating direction of the rotating disc, the lower end of the buffering material guide cylinder is opposite to the material discharging working position, and the paper pressing device is arranged at the paper pressing working position;
the paper pressing device comprises a vertical driving assembly, a rotary pendulum driving assembly, a sleeve, a swing rod guide rail, a linear slider, a tightly rolled sheet-shaped steel bar and a rotating shaft, wherein the power end of the vertical driving assembly is connected with the rotary pendulum driving assembly, the sleeve is vertically arranged, the upper end of the sleeve is fixed at the rotary pendulum driving assembly, the rotating shaft is rotatably arranged in the sleeve, the power end of the rotary pendulum driving assembly is connected with the upper end of the rotating shaft, the lower end of the rotating shaft is connected with the first end of the swing rod guide rail, the swing rod guide rail is horizontally arranged, the rotary pendulum driving assembly can drive the rotating shaft to rotate in the sleeve and drive the swing rod guide rail to rotate along the axis of the rotating shaft, the linear slider is arranged in the swing rod guide rail and can linearly slide along the swing rod guide rail, the top of the linear slider is positioned outside the top surface of the swing rod guide rail, the tightly rolled sheet-shaped sleeve is sleeved outside the steel bar sleeve and close to the swing rod guide rail, and the end part of the inner ring of the tightly rolled sheet-shaped steel bar is fixedly connected on the sleeve, the outer ring end part of the rolled sheet steel bar is hinged with the linear sliding block; the swing driving assembly can drive the swing rod guide rail to rotate and drive the rolled sheet steel bar to be rolled or expanded through the sliding block, so that the outer diameter of the rolled sheet steel bar is enlarged or reduced.
The beneficial effects of the invention are as follows:
1. the crushing device can suck rod-shaped crops into the crushing assembly for crushing without an external pushing device by arranging the guide channel and the crushing assembly and simultaneously utilizing the negative pressure effect generated when the cutter set in the crushing assembly rotates; due to the inclined arrangement of the guide channel, sundries in the rod-shaped crops can be separated to the maximum extent; meanwhile, the arrangement mode of the guide-in channel, the crushing assembly and the buffering material guide barrel can reduce the overall height of the crushing device.
2. Crushing unit is inside to be optimized, smashes the knife tackle through the smashing sword of three different structures of group, after rod-shaped crops entered into smashing the knife tackle, can smash rod-shaped crops into short massive crops, simultaneously because the cooperation of blade shape in first smashing knife tackle, second smashing knife tackle and the third smashing knife tackle forms the upset at the in-process that crops were smashed, is favorable to next a set of crushing knife tackle once more broken, also is favorable to smashing the crops after the crushing knife tackle. The guide convex ring and the leakage-proof convex ring can further optimize the position of crops entering the breaking cutter set, and are beneficial to effective breaking of the crops.
3. This reducing mechanism still attaches packing briquetting part, and wherein press the paper device and can impress packing paper in the feed cylinder, through the tight slice billet outside end pivoted mode adjustment of book outside the slice billet external diameter, can press packing paper into the feed cylinder, can be with packing paper again in the complete general book of feed cylinder inner wall and attached at the feed cylinder inner wall, the structure is ingenious, low cost, has the advantage that maintenance-free efficiency is high simultaneously concurrently.
The smashing device provides industrial equipment with extremely high integrated completeness for smashing, packing and compacting of reeds and straws, and can provide convenience for a plurality of fields such as the livestock breeding industry, the fermented bacterial manure industry and the organic fertilizer industry in subsequent use.
Drawings
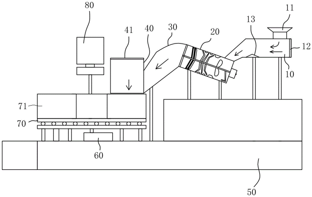
Fig. 1 is a schematic structural diagram of a device for breaking walls of reeds and straws.
Fig. 2 is a schematic diagram of a crushing assembly in the device for breaking the wall of the reed and the straw.
Fig. 3 is a schematic view of a rotary disc device of the device for breaking wall of reed and straw.
Fig. 4 is a schematic view of a paper pressing device in the device for breaking walls of reeds and straws.
Fig. 5 is a cross-sectional view taken along line a-a of fig. 4.
Fig. 6 is a cross-sectional view taken along line B-B of fig. 4.
Fig. 7 is a cross-sectional view taken along line C-C of fig. 4.
Fig. 8 is a schematic view showing different working states of the rolled sheet steel strip in the device for breaking the wall of the reed and the straw.
The reference numerals include:
10-a leading-in channel, 11-a feeding pipe, 12-a first breathable net, 13-a foreign matter separation protrusion, 20-a crushing assembly, 21-a crushing barrel, 22-a driving motor, 23-a driving shaft, 24-fan blades, 251-a first crushing cutter set, 252-a second crushing cutter set, 253-a third crushing cutter set, 254-a guide convex ring, 255-a leakage-proof convex ring, 26-a rotating crushing cutter, 27-a fixed crushing cutter, 28-a bracket, 29-an anti-sinking deflector rod, 291-a bending section, 30-a communicating pipe, 40-a buffer guide cylinder, 41-a second breathable net, 50-a base, 60-a stepping motor, 70-a turntable device, 71-a pressing cylinder, 80-a pressing paper device, 81-a linear driving device and 82-a rotating and swinging driving assembly, 83-a guide upright post, 84-a sleeve, 841-a sleeve bearing, 85-a swing rod guide rail, 86-a linear slide block, 87-a winding sheet steel strip, 87A-a first state, 87B-a second state, 87C-a third state, 88-a rotating shaft, P1-a paper pressing working position, P2-a material discharging working position, P3-a compacting working position and P4-a material returning working position.
Detailed Description
In order to make the purpose, technical solution and advantages of the present technical solution more clear, the present technical solution is further described in detail below with reference to specific embodiments. It should be understood that the description is intended to be exemplary only, and is not intended to limit the scope of the present teachings.
As shown in fig. 1-8, the embodiment provides a reed and straw wall breaking and crushing device, which includes an introduction channel 10 and a crushing assembly 20, wherein the crushing assembly 20 is cylindrical, a main body of the introduction channel 10 is horizontal, a first end of the introduction channel 10 is a feeding end, a second end of the introduction channel 10 is a discharging end, the second end of the introduction channel 10 is in butt joint with a feeding port of the crushing assembly 20, the feeding port of the introduction channel 10 is disposed on a top portion of the first end of the introduction channel 10, a blade assembly for crushing rod-shaped crops is disposed inside the crushing assembly 20, the blade assembly is obliquely disposed to form a guiding fan state, and after being put into the introduction channel 10 from the feeding port, the rod-shaped crops are sucked into the crushing assembly 20 through negative pressure to complete crushing of the rod-shaped crops.
The main body of the leading-in channel 10 is obliquely arranged, the inclination angle of the main body of the leading-in channel 10 is 1-10 degrees, and the second end of the leading-in channel 10 is higher than the first end of the leading-in channel 10. The end surface of the first end of the leading-in channel 10 is covered with a first breathable net 12; the inner wall of the bottom side of the introduction passage 10 near the second end is provided with an impurity-isolating protrusion 13 for preventing impurities from entering the pulverizing assembly 20.
Specifically, in this embodiment, the reed and the straw are collectively referred to as the rod-shaped crop, before the rod-shaped crop is fed into the feeding pipe 11 of the introducing passage 10, the rod-shaped crop is first cut into a short rod shape of 8CM to 15CM by the cutting device at the front end, and after the rod-shaped crop is fed into the feeding pipe 11, the blade assembly is cut obliquely to form a guiding fan state, so that the blade assembly rotates to form air flow inside the crushing assembly 20 and the introducing passage 10 communicated with the crushing assembly 20. Part of the gas in the inlet channel 10 enters the inlet channel 10 from the inlet pipe 11, part of the gas passes through the first gas-permeable mesh 12 and is sucked into the inlet channel 10 by the first gas-permeable mesh 12, and the flow direction of the gas is shown by the arrow in fig. 1.
In the process, if stones or other impurities with higher density, such as metal products, are mixed in the rod-shaped crops, the impurities fall into the inner bottom surface of the introducing channel 10 and are separated by the impurity separating bulges 13, and the rod-shaped crops with lower density and lighter weight are sucked into the crushing assembly 20 through the introducing channel 10 to be crushed.
The crushing assembly 20 in this embodiment is an inclined cylindrical structure, the crushing assembly 20 is arranged to reduce the overall height of the crushing device, and the flow of the rod-shaped crops can be driven pneumatically, and the inclined crushing assembly 20 can also achieve the purpose of removing impurities similar to the above-mentioned introduction channel 10. In this embodiment, the first end of the crushing assembly 20 is a feeding end, the second end is a discharging end, the height of the first end of the crushing assembly 20 is lower than that of the second end, and the output end of the guiding-in channel 10 is connected to the position on which the first end of the crushing assembly 20 leans.
In other embodiments, the crushing unit 20 may be vertically disposed, which is advantageous in that the crushed rod-shaped crops can be rapidly discharged, in this embodiment, the upper end of the crushing unit 20 is a feeding end, the lower end of the crushing unit 20 is a discharging end, and the output end of the introducing passage 10 is connected to the outer circumferential surface of the crushing unit 20 at a position near the upper end.
As shown in fig. 2, the crushing assembly 20 includes a crushing cylinder 21, a driving motor 22, a driving shaft 23, a crushing blade set and a support 28, wherein the first end of the crushing cylinder 21 is closed and the second end is open, the support 28 is installed at the second end of the crushing cylinder 21, the driving motor 22 is disposed at the outer side of the first end of the crushing cylinder 21, the output end of the driving motor 22 is in power connection with the first end of the driving shaft 23, the driving shaft 23 penetrates through the first end of the crushing cylinder 21 and the main body of the crushing cylinder 21 and is disposed at the inner axial center of the crushing cylinder 21, the second end of the driving shaft 23 is rotatably connected with the support 28, the driving motor 22 can drive the driving shaft 23 to rotate in the crushing cylinder 21, the crushing blade set is disposed at the middle of the driving shaft 23, and the crushing blade set is disposed at the position of the driving shaft 23 close to the second end.
Specifically, the crushing cutter group set comprises a first crushing cutter group 251, a second crushing cutter group 252 and a third crushing cutter group 253, the first crushing cutter group 251, the second crushing cutter group 252 and the third crushing cutter group 253 are respectively provided with at least three blades, and the free tail ends of the blades in the first crushing cutter group 251, the second crushing cutter group 252 and the third crushing cutter group 253 are close to the inner wall of the rotating cylinder; the projections of the blades in the first smashing blade group 251, the second smashing blade group 252 and the third smashing blade group 253 in the axial direction of the rotating cylinder are staggered; the roots of the blades in the first crushing blade group 251, the second crushing blade group 252 and the third crushing blade group 253 are connected with the driving shaft 23, and the tail ends of the blades in the first crushing blade group 251 are bent towards the first end of the rotating cylinder; the blades in the second breaking blade group 252 are inclined towards the first end of the rotating cylinder; the tail ends of the blades in the third crushing blade group 253 are bent towards the second end of the rotating cylinder, and the blades in the first crushing blade group 251, the second crushing blade group 252 and the third crushing blade group 253 can overturn when the rod-shaped crops are crushed preliminarily.
In this embodiment, the driving motor 22 can drive the driving shaft 23 to rotate, and the driving shaft 23 and the first crushing cutter set 251, the second crushing cutter set 252 and the third crushing cutter set 253 on the driving shaft 23 can rotate to realize the preliminary crushing of the rod-shaped crops. The inner wall of the rotating cylinder is also provided with a guide convex ring 254, the guide convex ring 254 is arranged between the smashing blade group and the first end of the rotating cylinder and is close to the smashing blade group, and the guide convex ring 254 is used for guiding the rod-shaped crops to enter an effective smashing interval of the smashing blade group.
When the rod-shaped crops enter the guide convex ring 254, the rod-shaped crops are guided by the guide convex ring 254 to enter the crushing range of the first crushing cutter group 251, after the rod-shaped crops cross the guide convex ring 254, the rod-shaped crops are easier to guide to the front bending part of the first crushing cutter group 251 due to fluid mechanics, the rotating speed of the front bending section 291 of the first crushing cutter group 251 is higher, meanwhile, a certain included angle is formed between the bending direction of the front bending part of the first crushing cutter group 251 and the axial direction of the crushing cylinder 21, so that the rod-shaped crops form quick turnover of the rotation center of the non-crushing cylinder 21 in the crushing process, and when the subsequent rod-shaped crops pass through the second crushing cutter group 252 and the third crushing cutter group 253, the second crushing cutter group 252 and the third crushing cutter group 253 have better crushing effect on the rod-shaped crops. In this embodiment, the second breaking blade group 252 is a breaking blade in a general sense. Similar to the first crushing cutter set 251, when the subsequent rod-shaped crop passes through the third crushing cutter set 253, the rod-shaped crop passes through the crushing again. The first crushing blade group 251, the second crushing blade group 252 and the third crushing blade group 253 have a very excellent effect of crushing the rod-shaped crops.
The first crushing cutter group 251, the second crushing cutter group 252 and the third crushing cutter group 253 can crush long-strip-shaped rod-shaped crops into short sections, and part of the rod-shaped crops are respectively crushed, so that the rear rotary crushing cutter 26 and the rear fixed crushing cutter 27 can be conveniently matched to crush the rod-shaped crops, and the rod-shaped crops can more easily enter an effective crushing interval of the rotary crushing cutter 26 and the fixed crushing cutter 27.
Preferably, since the free ends of the second breaking blade group 252 and the third breaking blade group 253 form a certain gap with the inner wall of the crushing cylinder 21, in order to prevent rod-shaped crops from being missed from the gap, the inner wall of the rotating cylinder is further provided with two sets of anti-leakage convex rings 255, the two sets of anti-leakage convex rings 255 are respectively arranged between the rotation interval of the tail ends of the blades of the first breaking blade group 251 and the rotation interval of the tail ends of the blades of the second breaking blade group 252, and between the rotation interval of the tail ends of the blades of the second breaking blade group 252 and the rotation interval of the tail ends of the blades of the third breaking blade group 253, and the anti-leakage convex rings 255 are used for preventing the rod-shaped crops from being missed from the gap between the free ends of the blades in the breaking blade groups and the inner wall of the rotating cylinder.
The crushing blade group comprises two fixed crushing blades 27 and two rotary crushing blades 26, the outer ring end of each fixed crushing blade 27 is fixedly connected with the inner wall of the crushing barrel 21, the middle part of each fixed crushing blade 27 is rotatably connected with the driving shaft 23, the root part of each rotary crushing blade 26 is connected with the driving shaft 23, the two fixed crushing blades 27 and the two rotary crushing blades 26 are alternately arranged in the rotary barrel, the opposite cutting edges of the fixed crushing blades 27 and the rotary crushing blades 26 are action surfaces for crushing rod-shaped crops, and the fixed crushing blades 27 and the rotary crushing blades 26 crush the rod-shaped crops through opposite shearing forces.
Preferably, the fixed crushing blades 27 and the rotating crushing blades 26 are arranged to be inclined toward the second end of the rotating cylinder from the side close to the driving shaft 23 to the side far from the driving shaft 23 so that the rod-shaped crop is guided toward the outer circumferential direction of the fixed crushing blades 27 and the rotating crushing blades 26. The rotating speed of the outer ring direction of the fixed crushing cutter 27 and the rotating crushing cutter 26 is fast, the efficiency of crushing rod-shaped crops is higher, and meanwhile, the rod-shaped crops can more easily enter the crushing effective area of the outer ring direction of the crushing cutter and the rotating crushing cutter 26.
In order to promote the crushing effect and the efficiency of the crushing device, the crushing device also optimizes the following steps. 1. The rotating cylinder is obliquely arranged, and the position of the first end of the rotating cylinder is lower than that of the second end of the rotating cylinder, so that partial sundries can be separated. 2. The driving shaft 23 is further provided with a fan 24 for driving the air in the rotary cylinder to flow from the first end of the rotary cylinder to the second end of the rotary cylinder, so as to further accelerate the flow of the air in the rotary cylinder. 3. When the rotating cylinder is obliquely arranged, the rotating shaft 88 is also provided with an anti-sinking deflector rod 29, the root of the anti-sinking deflector rod 29 is connected with the rotating shaft 88, the front end of the main body of the anti-sinking deflector rod 29 extends to the included angle between the annular wall of the rotating cylinder and the first end surface of the rotating cylinder, the front end of the anti-sinking deflector rod 29 is bent towards the circumferential direction of the rotating cylinder to form a bending section 291, and the anti-sinking deflector rod 29 is used for pulling up rod-shaped crops sinking into the included angle between the annular wall of the rotating cylinder and the first end surface of the rotating cylinder and guiding the rod-shaped crops to an effective interval where air flows. When some rod-shaped crops fall into the included angle between the annular wall of the rotating cylinder and the first end surface of the rotating cylinder, the anti-sinking deflector rod 29 and the bending section 291 can drive the rod-shaped crops to be deflected, and the gas flowing from the annular wall of the rotating cylinder close to the first end can suck the rod-shaped crops sinking into the crushing cutter group.
As shown in fig. 1, the device for breaking the wall of the reed and straw also includes a communicating tube 30 and a buffering material guiding cylinder 40, wherein a first end of the communicating tube 30 is butted with a discharging end of the smashing component 20, the buffering material guiding cylinder 40 is in a vertical cylindrical shape, a second end of the communicating tube 30 is butted with a position close to a lower end of an annular wall of the buffering material guiding cylinder 40, a lower end of the buffering material guiding cylinder 40 is open, and an upper end of the buffering material guiding cylinder 40 is covered with a second air permeable net 41. After the crushed small-grained crops enter the buffer material guiding cylinder 40 through the communicating pipe 30, the pressure gas flows out from the lower end of the buffer material guiding cylinder 40 and the second air permeable net 41, and the second air permeable net 41 can filter the small-grained crops, so that the small-grained crops are output from the open position of the lower end of the buffer material guiding cylinder 40.
As shown in fig. 3-6, the reed and straw wall breaking and crushing device further includes a press block packing device, the press block packing device includes a stepping motor 60, a turntable device 70 and a paper pressing device 80, the turntable device 70 has a rotating disc, a power end of the feeding motor is connected to the rotating disc and can drive the rotating disc to rotate in a stepping manner, the rotating disc is provided with four working positions, the four working positions on the rotating disc are respectively a paper pressing working position P1, a material discharging working position P2, a pressing working position P3 and a material returning working position P4 which are sequentially arranged from the rotating direction of the rotating disc, wherein the lower end of the buffer material guiding cylinder 40 is opposite to the material discharging working position P2, and the paper pressing device 80 is arranged at the paper pressing working position P1.
Referring to fig. 1 and 3, in the present embodiment, a base 50 is disposed on a horizontal ground, a stepping motor 60 and a paper pressing device 80 are installed on the base 50, and a turntable device 70, a buffer material guiding cylinder 40, a crushing assembly 20 and a guide passage 10 are installed on the base 50 through a bracket 28.
The paper pressing working position P1, the material discharging working position P2, the compacting working position P3 and the material returning working position P4 are all provided with a material containing barrel 71, and the top of the material containing barrel 71 is open. After the packing paper and the crops are taken out of the material containing barrel 71 of the material returning working position P4 in the previous working cycle, workers put the packing paper on the top of the material containing barrel 71 on the material returning working position P4 and slightly press the packing paper, so that the preparation work of the packing paper is completed. The stepping motor 60 drives the turntable device 70 to rotate 90 degrees, the material containing barrel 71 enters a paper pressing working position P1, the paper pressing device 80 presses the packing paper downwards to press the packing paper into the material containing barrel 71, and the packing paper is paved at the inner bottom of the material containing barrel 71 and can cover the inner annular surface of the material containing barrel 71, so that the paving of the packing paper is completed. The stepping motor 60 drives the turntable device 70 to rotate 90 degrees again, the material containing barrel 71 enters the discharging working position P2, and the buffer material guiding barrel 40 outputs the crushed crops to enter the semi-enclosed area of the packing paper in the material containing barrel 71, so that the discharging step of the crushed crops is completed. The stepping motor 60 drives the turntable device 70 to rotate 90 degrees again, the material containing barrel 71 enters the compaction working position P3 to complete compaction of the crushed crops, the stepping motor 60 drives the turntable device 70 to rotate 90 degrees again, the material containing barrel 71 moves to the material returning working position P4, a worker takes out packing paper and the crushed crops compacted in the packing paper, puts the packing paper into the top surface of the empty material containing barrel 71, slightly presses down the packing paper, and a working procedure cycle is completed.
As shown in fig. 4-8, the paper pressing device 80 includes a vertical driving assembly, a swing driving assembly 82, a sleeve 84, a swing link guide 85, a linear slider 86, a rolled sheet steel bar 87 and a rotating shaft 88, wherein a power end of the vertical driving assembly is connected to the swing driving assembly 82, the sleeve 84 is vertically disposed, an upper end of the sleeve 84 is fixed to the swing driving assembly 82, the rotating shaft 88 is rotatably installed in the sleeve 84, the sleeve 84 and the rotating shaft 88 are rotatably connected through a sleeve bearing 841, a power end of the swing driving assembly 82 is connected to an upper end of the rotating shaft 88, a lower end of the rotating shaft 88 is connected to a first end of the swing link guide 85, the swing link guide 85 is horizontally disposed, the swing driving assembly 82 can drive the rotating shaft 88 to rotate in the sleeve 84 and drive the swing link guide 85 to rotate along an axis of the rotating shaft 88, the linear slider 86 is installed in the swing link guide 85 and can linearly slide along the swing link guide 85, the top of the linear sliding block 86 is positioned at the outer side of the top surface of the swing rod guide rail 85, the rolled sheet steel bar 87 is sleeved outside the sleeve 84 and is close to the swing rod guide rail 85, the inner ring end part of the rolled sheet steel bar 87 is fixedly connected to the sleeve 84, and the outer ring end part of the rolled sheet steel bar 87 is hinged with the linear sliding block 86; the swing driving assembly 82 can drive the swing rod guide rail 85 to rotate, and the rolled sheet steel bar 87 is driven by the slide block to be rolled or expanded, so that the outer diameter of the rolled sheet steel bar 87 is enlarged or reduced.
When the paper pressing device 80 needs to work, the linear driving device 81 drives the rotary pendulum driving assembly 82, the sleeve 84, the pendulum rod guide rail 85, the rolled sheet steel bar 87 and the rotating shaft 88 to descend simultaneously, the guide upright post 83 plays a role of guiding the rotary pendulum driving assembly 82, the rolled sheet steel bar 87 is in a rolling state, as shown in fig. 8, the rolled sheet steel bar 87 is in a first state 87A, and when in the first state 87A, the diameter of the rolled sheet steel bar 87 is smaller. After the rolled sheet steel bar 87 enters the material containing barrel 71, the lower end of the rolled sheet steel bar 87 and the bottom surface of the swing rod guide rail 85 press the packing paper at the bottom wall of the inner side of the material containing barrel 71.
The swing driving assembly 82 rotates, and at this time, the rotating shaft 88 rotates in the sleeve 84, the sleeve 84 is not rotatable, as shown in fig. 8, the rotating shaft 88 drives the swing link guide 85 to rotate clockwise, and the rolled sheet steel bar 87 is gradually unwound and forms the second state 87B. In this process, the outer end of the wind-up sheet steel bar 87 has a tendency to gradually move outward, and thus the linear slider 86 hinged to the outer end of the wind-up sheet steel bar 87 also moves outward in the pendulum guide 85.
After the linear slider 86 moves to the end of the swing link guide rail 85, the distance between the linear slider 86 and the lower end of the rotating shaft 88 is unchanged, but the outer diameter of the rolled sheet steel bar 87 continuously expands to form a third state 87C as shown in fig. 8 after the rotating shaft 88 is continuously rotated by a small amplitude, and at the moment, the outer diameter of the rolled sheet steel bar 87 becomes cylindrical, so that the packing paper can be extruded and attached to the inner annular wall of the material containing barrel 71.
Then, the rotating shaft 88 is rotated counterclockwise, and after the rolled sheet steel strip 87 retracts to the first state 87A, the linear driving device 81 drives the rolled sheet steel strip 87 to withdraw from the packing paper and the material containing barrel 71, so that the laying of the packing paper is completed, and the subsequent discharging and compacting processes are facilitated. In the process, even if the wrapping paper has partial wrinkles, the subsequent emptying and compacting processes are not influenced.
This reducing mechanism still attaches packing briquetting part, and wherein press paper device 80 can impress packing paper in the feed cylinder, through the tight slice billet 87 outside end pivoted mode adjustment of tight slice billet 87 external diameter, can press packing paper into the feed cylinder, can be with packing paper again in the complete general book of feed cylinder inner wall and attached at the feed cylinder inner wall, the structure is ingenious, low cost has the advantage that maintenance-free efficiency is high concurrently.
The foregoing is only a preferred embodiment of the present invention, and many variations in the specific embodiments and applications of the invention may be made by those skilled in the art without departing from the spirit of the invention, which falls within the scope of the claims of this patent.

Claims (10)

1.一种芦苇及秸秆破壁粉碎装置,其特征在于:包括导入通道和粉碎组件,其中粉碎组件为筒状,所述导入通道主体横置,导入通道的第一端为入料端,导入通道的第二端为出料端,导入通道的第二端与粉碎组件的入料口对接,所述导入通道的入料口设置在导入通道第一端的顶部,所述粉碎组件内部具有用于破碎杆状农作物的刀片组件,该刀片组件切斜设置形成扇叶状态,所述杆状农作物由入料口投入导入通道后,经负压吸入到粉碎组件中完成杆状农作物的破碎。1. A reed and straw wall-breaking pulverizing device is characterized in that: comprising an introduction channel and a pulverizing assembly, wherein the pulverizing assembly is cylindrical, the main body of the introduction channel is placed horizontally, and the first end of the introduction channel is the feeding end, and the introduction The second end of the channel is the discharge end, and the second end of the introduction channel is butted with the feeding port of the pulverizing component. The feeding port of the introducing channel is arranged on the top of the first end of the introducing channel. For the blade assembly for crushing rod-shaped crops, the blade assembly is set obliquely to form a fan blade state. After the rod-shaped crops are put into the introduction channel from the feeding port, they are sucked into the crushing assembly by negative pressure to complete the crushing of the rod-shaped crops. 2.根据权利要求1所述的芦苇及秸秆破壁粉碎装置,其特征在于:所述导入通道主体倾斜设置,导入通道主体倾斜角度为1°-10°,所述导入通道第二端高于导入通道第一端。2 . The reed and straw wall breaking and pulverizing device according to claim 1 , wherein the main body of the introduction channel is inclined, the inclination angle of the main body of the introduction channel is 1°-10°, and the second end of the introduction channel is higher than the second end of the introduction channel. 3 . Import the first end of the channel. 3.根据权利要求2所述的芦苇及秸秆破壁粉碎装置,其特征在于:所述导入通道第一端的端面覆盖有第一透气网;所述导入通道底侧内壁靠近第二端的位置设置有用于防止杂物进入粉碎组件的隔杂凸起。3 . The reed and straw wall breaking and pulverizing device according to claim 2 , wherein: the end face of the first end of the introduction channel is covered with a first ventilation net; the bottom inner wall of the introduction channel is set at a position close to the second end. 4 . There are trash bulges to prevent foreign matter from entering the shredding assembly. 4.根据权利要求1所述的芦苇及秸秆破壁粉碎装置,其特征在于:所述粉碎组件包括粉碎筒、驱动电机、驱动轴、打碎刀片组、粉碎刀片组和支架,其中粉碎筒的第一端封闭且第二端敞开,所述支架安装在粉碎筒的第二端,驱动电机设置粉碎筒第一端的外侧,驱动电机的输出端与驱动轴第一端动力连接,驱动轴穿过粉碎筒第一端且主体设置在粉碎筒内部轴心处,驱动轴的第二端与支架可转动连接,所述驱动电机可带动驱动轴在粉碎筒中转动,所述打碎刀片组设置在驱动轴的中部,所述粉碎刀片组设置在驱动轴靠近第二端处。4. The reed and straw wall-breaking and pulverizing device according to claim 1, wherein the pulverizing component comprises a pulverizing cylinder, a driving motor, a driving shaft, a smashing blade group, a pulverizing blade group and a bracket, wherein the pulverizing cylinder The first end is closed and the second end is open, the bracket is installed on the second end of the pulverizing cylinder, the drive motor is arranged outside the first end of the pulverizing cylinder, the output end of the drive motor is powered with the first end of the drive shaft, and the drive shaft passes through the cylinder. The first end of the crushing cylinder and the main body are arranged at the inner axis of the crushing cylinder, the second end of the drive shaft is rotatably connected to the bracket, the drive motor can drive the drive shaft to rotate in the crushing cylinder, and the crushing blade set is arranged in the crushing cylinder. In the middle of the drive shaft, the pulverizing blade group is disposed near the second end of the drive shaft. 5.根据权利要求4所述的芦苇及秸秆破壁粉碎装置,其特征在于:所述打碎刀组片组包括第一打碎刀组、第二打碎刀组和第三打碎刀组,所述第一打碎刀组、第二打碎刀组和第三打碎刀组分别有至少三个刀片,且所述第一打碎刀组、第二打碎刀组和第三打碎刀组中各个刀片的自由末端临近转动筒内壁;所述第一打碎刀组、第二打碎刀组和第三打碎刀组中各个刀片在转动筒轴向上的投影交错;5. The reed and straw wall-breaking and smashing device according to claim 4, wherein the smashing blade group comprises a first shattering blade group, a second shattering blade group and a third shattering blade group , the first breaking knife group, the second breaking knife group and the third breaking knife group have at least three blades respectively, and the first breaking knife group, the second breaking knife group and the third breaking knife group The free ends of each blade in the shredder group are adjacent to the inner wall of the rotating cylinder; the projections of the blades in the first shredder group, the second shredder group and the third shredder group on the axis of the rotating cylinder are staggered; 所述第一打碎刀组、第二打碎刀组和第三打碎刀组中的刀片根部与驱动轴连接,第一打碎刀组中的刀片的末端向转动筒第一端方向弯折;第二打碎刀组中的刀片向转动筒第一端倾斜;所述第三打碎刀组中的刀片的末端向转动筒第二端方向弯折,所述第一打碎刀组、第二打碎刀组和第三打碎刀组中的刀片可使杆状农作物初步破碎时形成翻转。The roots of the blades in the first, second, and third smashing knives are connected to the drive shaft, and the ends of the blades in the first smashing knives are bent toward the first end of the rotating cylinder. The blades in the second breaking knife group are inclined toward the first end of the rotating cylinder; the ends of the blades in the third breaking knife group are bent toward the second end of the rotating barrel, and the first breaking knife group The blades in the second breaking knife group and the third breaking knife group can make the rod-shaped crops turn over when they are initially broken. 6.根据权利要求5所述的芦苇及秸秆破壁粉碎装置,其特征在于:所述转动筒的内壁还设有导向凸环,所述导向凸环设置在打碎刀片组和转动筒第一端之间靠近打碎刀片组的位置,该导向凸环用于引导杆状农作物进入打碎刀片组的有效破碎区间;所述转动筒的内壁还设有两组防漏凸环,两组所述防漏凸环分别设置在第一打碎刀组刀片末端回转区间和第二打碎刀组刀片末端回转区间之间、以及第二打碎刀组刀片末端回转区间和第三打碎刀组刀片末端回转区间之间,所述防漏凸环用于防止杆状农作物从打碎刀片组中刀片自由末端和转动筒内壁之间的间隙处漏过。6. The reed and straw wall-breaking and pulverizing device according to claim 5, characterized in that: the inner wall of the rotating drum is further provided with a guiding convex ring, and the guiding convex ring is arranged on the first part of the crushing blade group and the rotating drum. The position between the ends is close to the crushing blade group, and the guide convex ring is used to guide the rod-shaped crops into the effective crushing area of the crushing blade group; The leak-proof convex ring is respectively arranged between the rotating section of the blade end of the first breaking knife group and the rotating section of the blade end of the second breaking knife group, as well as the rotating section of the blade end of the second breaking knife group and the third breaking knife group. Between the rotating sections of the blade ends, the leak-proof convex ring is used to prevent the rod-shaped crops from leaking through the gap between the free end of the blade and the inner wall of the rotating drum in the smashing blade set. 7.根据权利要求4所述的芦苇及秸秆破壁粉碎装置,其特征在于:所述粉碎刀片组包括两个固定粉碎刀和两个转动粉碎刀,固定粉碎刀外环端与粉碎筒的内壁固定连接,固定粉碎刀的中部与驱动轴转动连接,转动粉碎刀的根部与驱动轴连接,且两个固定粉碎刀和两个转动粉碎刀在转动筒内交替设置,固定粉碎刀和转动粉碎刀的相对刀刃为粉碎杆状农作物的作用面;所述固定粉碎刀和转动粉碎刀由靠近驱动轴一侧到远离驱动轴一侧向转动筒第二端方向倾斜设置,以使杆状农作物导向固定粉碎刀和转动粉碎刀的外环方向。7. The reed and straw wall-breaking pulverizing device according to claim 4, wherein the pulverizing blade set comprises two fixed pulverizing knives and two rotating pulverizing knives, the outer ring end of the fixed pulverizing knives and the inner wall of the pulverizing cylinder Fixed connection, the middle of the fixed pulverizing knife is rotatably connected with the drive shaft, the root of the rotating pulverizing knife is connected with the driving shaft, and two fixed pulverizing knives and two rotating pulverizing knives are alternately arranged in the rotating drum, the fixed pulverizing knife and the rotating pulverizing knife The opposite blade is the action surface for crushing the rod-shaped crops; the fixed crushing knife and the rotating crushing blade are inclined from the side close to the drive shaft to the side away from the drive shaft toward the second end of the rotating cylinder, so that the rod-shaped crops are guided and fixed. Shredding knives and turning the outer ring direction of the shredding knives. 8.根据权利要求4所述的芦苇及秸秆破壁粉碎装置,其特征在于:所述驱动轴上还安装有用于驱动转动筒内气体由转动筒第一端向转动筒第二端方向流动的扇叶;所述转轴上还安装有防沉拨杆,该防沉拨杆的根部与转轴连接,防沉拨杆主体的前端延伸至转动筒环形壁和转动筒第一端面的夹角处;所述防沉拨杆的前端向转动筒的周向弯折形成弯折段,所述防沉拨杆用于将沉入筒环形壁和转动筒第一端面的夹角处的杆状农作物拨起并引导至空气流动的有效区间。8 . The reed and straw wall breaking and pulverizing device according to claim 4 , wherein the drive shaft is also installed with a device for driving the gas in the rotating cylinder to flow from the first end of the rotating cylinder to the second end of the rotating cylinder. 9 . fan blade; an anti-sinking lever is also installed on the rotating shaft, the root of the anti-sinking lever is connected with the rotating shaft, and the front end of the main body of the anti-sinking lever extends to the angle between the annular wall of the rotating cylinder and the first end face of the rotating cylinder; The front end of the anti-sinking lever is bent to the circumferential direction of the rotating cylinder to form a bending section, and the anti-sinking lever is used to lift up the rod-shaped crops sunk into the angle between the annular wall of the cylinder and the first end face of the rotating cylinder and move it to the side. Guide to the effective area of air flow. 9.根据权利要求1所述的芦苇及秸秆破壁粉碎装置,其特征在于:所述芦苇及秸秆破壁粉碎装置还包括连通管和缓冲导料筒,其中连通管的第一端与粉碎组件的出料端对接,缓冲导料筒为竖立的圆筒状,连通管的第二端与缓冲导料筒环状壁靠近下端处对接,缓冲导料筒的下端敞开,缓冲导料筒的上端覆盖有第二透气网。9 . The reed and straw wall-breaking and pulverizing device according to claim 1 , wherein the reed and straw wall-breaking and pulverizing device further comprises a communication pipe and a buffer guide cylinder, wherein the first end of the communication pipe is connected to the pulverizing component. 10 . The discharge end of the buffer guide tube is a vertical cylindrical shape, the second end of the communication pipe is butted with the annular wall of the buffer guide tube near the lower end, the lower end of the buffer guide tube is open, and the upper end of the buffer guide tube is open. Covered with a second breathable mesh. 10.根据权利要求9所述的芦苇及秸秆破壁粉碎装置,其特征在于:所述芦苇及秸秆破壁粉碎装置还包括压块打包装置,所述压块打包装置包括步进电机、转盘装置和压纸装置,所述转盘装置具有转动盘,进电机的动力端连接在转动盘上并可带动转动盘步进式转动,转动盘上设有四个工作位,所述转动盘上的四个工位分别为由转动盘转动方向依次设置的压纸工作位、放料工作位、压实工作位和退料工作位,其中缓冲导料筒的下端与放料工作位相对,压纸工作位处设置有压纸装置;10 . The reed and straw wall-breaking and pulverizing device according to claim 9 , wherein the reed and straw wall-breaking and pulverizing device further comprises a briquetting and baling device, and the briquetting and baling device comprises a stepping motor and a turntable device. 11 . and paper pressing device, the turntable device has a rotating disk, the power end of the feeding motor is connected to the rotating disk and can drive the rotating disk to rotate step by step, the rotating disk is provided with four working positions, and the four working positions on the rotating disk are The working positions are the paper pressing work position, the discharging work position, the compacting work position and the discharging work position, which are set in sequence according to the rotation direction of the rotating disc. The lower end of the buffer guide cylinder is opposite to the discharging work position. The position is provided with a paper pressing device; 所述压纸装置包括垂向驱动组件、转摆驱动组件、套管、摆杆导轨、直线滑块、卷紧片状钢条和转轴,其中垂向驱动组件的动力端与转摆驱动组件连接,套管垂直设置,套管的上端固定在转摆驱动组件处,转轴可转动的安装在套管中,转摆驱动组件的动力端连接转轴的上端,所述转轴的下端连接摆杆导轨的第一端,摆杆导轨水平设置,所述转摆驱动组件可驱动转轴在套管中转动并带动摆杆导轨沿转轴的轴心旋转,所述直线滑块安装在摆杆导轨中并可沿摆杆导轨直线滑动,直线滑块的顶部位于摆杆导轨的顶面的外侧,所述卷紧片状钢条套装在套管外部并临近摆杆导轨,卷紧片状钢条的内环端部固定连接在套管上,卷紧片状钢条的外环端部与直线滑块铰接;所述转摆驱动组件可驱动摆杆导轨转动,并通过滑块驱动卷紧片状钢条收卷或扩展,以使卷紧片状钢条得外径扩大或缩小。The paper pressing device includes a vertical drive assembly, a swing drive assembly, a sleeve, a swing rod guide rail, a linear slider, a tightening sheet steel bar and a rotating shaft, wherein the power end of the vertical drive assembly is connected with the swing drive assembly , the casing is vertically arranged, the upper end of the casing is fixed at the swing drive assembly, the rotating shaft is rotatably installed in the casing, the power end of the swing drive assembly is connected to the upper end of the rotating shaft, and the lower end of the rotating shaft is connected to the swing rod guide rail. At the first end, the swing rod guide rail is horizontally arranged, the swing drive assembly can drive the rotating shaft to rotate in the sleeve and drive the swing rod guide rail to rotate along the axis of the rotating shaft, and the linear slider is installed in the swing rod guide rail and can be moved along the The pendulum rail slides in a straight line, the top of the linear slider is located outside the top surface of the pendulum rail, the coiled sheet steel is sleeved outside the casing and adjacent to the pendulum rail, and the inner ring end of the sheet steel is coiled The outer ring end of the coiled sheet steel bar is hinged with the linear slider; the swing drive assembly can drive the swing rod guide rail to rotate, and drive the coiled sheet steel bar to retract through the slider. Coiled or expanded to expand or contract the outer diameter of the coiled sheet steel.
CN202210130748.8A 2022-02-12 A reed and straw cell wall breaking and pulverizing device Active CN114375700B (en)

Priority Applications (1)

Application Number Priority Date Filing Date Title
CN202210130748.8A CN114375700B (en) 2022-02-12 A reed and straw cell wall breaking and pulverizing device

Applications Claiming Priority (1)

Application Number Priority Date Filing Date Title
CN202210130748.8A CN114375700B (en) 2022-02-12 A reed and straw cell wall breaking and pulverizing device

Publications (2)

Publication Number Publication Date
CN114375700A true CN114375700A (en) 2022-04-22
CN114375700B CN114375700B (en) 2026-01-02

Family

ID=

Cited By (1)

* Cited by examiner, † Cited by third party
Publication number Priority date Publication date Assignee Title
CN115568343A (en) * 2022-09-28 2023-01-06 北京市首发天人生态景观有限公司 Special crusher for soft reed and processing method thereof

Citations (10)

* Cited by examiner, † Cited by third party
Publication number Priority date Publication date Assignee Title
JPH09119082A (en) * 1995-10-24 1997-05-06 Aroota:Kk Apparatus for forming leather powder
CN2292611Y (en) * 1997-04-07 1998-09-30 徐州华绿环保机电工程设备厂 House refuse breaking disintegrator
CN103950083A (en) * 2014-05-15 2014-07-30 中南林业科技大学 Crop straw particle board pavement device
CN205196382U (en) * 2015-11-04 2016-05-04 四川农业大学 Novel straw cutting machine of removal of impurity
CN205700862U (en) * 2016-04-27 2016-11-23 青岛市房屋建设集团股份有限公司 A kind of rubbish quick treatment device for building
CN208113407U (en) * 2018-03-08 2018-11-20 武汉凯迪绿色能源开发运营有限公司 A kind of biomass straw crushing device
CN111101369A (en) * 2019-12-25 2020-05-05 晋江圣翔机械有限公司 Intelligent cloth cutting machine controlled by single gear
CN113383650A (en) * 2021-07-16 2021-09-14 李明波 Straw forage soil and dust removing and smashing and rubbing integrated machine
CN113442255A (en) * 2021-06-15 2021-09-28 厦门高甬雾贸易有限公司 Biomass wheat straw board manufacturing system
CN217523287U (en) * 2022-02-12 2022-10-04 中农伟业(北京)食品有限公司 Reed and straw broken wall reducing mechanism

Patent Citations (10)

* Cited by examiner, † Cited by third party
Publication number Priority date Publication date Assignee Title
JPH09119082A (en) * 1995-10-24 1997-05-06 Aroota:Kk Apparatus for forming leather powder
CN2292611Y (en) * 1997-04-07 1998-09-30 徐州华绿环保机电工程设备厂 House refuse breaking disintegrator
CN103950083A (en) * 2014-05-15 2014-07-30 中南林业科技大学 Crop straw particle board pavement device
CN205196382U (en) * 2015-11-04 2016-05-04 四川农业大学 Novel straw cutting machine of removal of impurity
CN205700862U (en) * 2016-04-27 2016-11-23 青岛市房屋建设集团股份有限公司 A kind of rubbish quick treatment device for building
CN208113407U (en) * 2018-03-08 2018-11-20 武汉凯迪绿色能源开发运营有限公司 A kind of biomass straw crushing device
CN111101369A (en) * 2019-12-25 2020-05-05 晋江圣翔机械有限公司 Intelligent cloth cutting machine controlled by single gear
CN113442255A (en) * 2021-06-15 2021-09-28 厦门高甬雾贸易有限公司 Biomass wheat straw board manufacturing system
CN113383650A (en) * 2021-07-16 2021-09-14 李明波 Straw forage soil and dust removing and smashing and rubbing integrated machine
CN217523287U (en) * 2022-02-12 2022-10-04 中农伟业(北京)食品有限公司 Reed and straw broken wall reducing mechanism

Cited By (1)

* Cited by examiner, † Cited by third party
Publication number Priority date Publication date Assignee Title
CN115568343A (en) * 2022-09-28 2023-01-06 北京市首发天人生态景观有限公司 Special crusher for soft reed and processing method thereof

Similar Documents

Publication Publication Date Title
CN201185574Y (en) Self-propelled cotton stalk combine-harvester
CN109197180B (en) raw material preparation device for preparing biomass organic fertilizer from straws
CN107996134A (en) Field corn straw in situ ensilage quantifies block processing and fabricating device
CN105493740A (en) Fully floating feeding and chopping device, method and harvester for corn stalks
CN113039946A (en) Chopping and rubbing combined cleaning type square bale bundling machine
CN109156183A (en) A kind of raw material draft machine of stalk biomass organic fertilizer
CN217523287U (en) Reed and straw broken wall reducing mechanism
CN114375700A (en) Reed and straw broken wall reducing mechanism
CN202799718U (en) A threshing and cleaning machine
CN114946425A (en) Crop straw reducing mechanism
CN205848063U (en) A kind of stalk pelleter group
CN2647424Y (en) Rubbing disintegrating machine
CN114375700B (en) A reed and straw cell wall breaking and pulverizing device
CN104303728B (en) Crushing square baler
CN112205184A (en) Straw crushing type bundling machine
CN215122256U (en) Threshing device with coaxial multiple rollers and turnable threshing cutter teeth
CN111837670B (en) Trailed heavy mobile straw shredder
CN216058360U (en) Straw rubbing crusher with sundry cleaning function
CN213427134U (en) Straw crushing type bundling machine
CN214439598U (en) Reducing mechanism for agricultural processing
CN211538078U (en) Domestic garbage treatment device
CN206866063U (en) A kind of wheat harvester of wheat straw returning to the field
CN207252238U (en) A kind of draining device of middle long-stalked crops cropper
CN208258485U (en) A kind of agricultural stalk cutting breaking means
CN207948241U (en) It is a kind of to recycle grinding device without native stalk

Legal Events

Date Code Title Description
PB01 Publication
PB01 Publication
SE01 Entry into force of request for substantive examination
SE01 Entry into force of request for substantive examination
GR01 Patent grant